![]() |
Sikkerhetsmerker og -instruksjoner er lett synlige for føreren og er plassert i nærheten av alle områder som representerer en potensiell fare. Skift ut alle merker som er ødelagte eller mangler. |

Note: Legg ledningssatsene ut gjennom maskinen for å avgjøre hvor du skal montere ledningssatskomponentene. Bruk de inkluderte kabelfestene til å holde på plass overflødig kabel. Hvis du trenger å justere lengden for en ledningssatsseksjon, bruk de inkluderte ledningsskjøtene. Varm opp det integrerte varmekrympingsrøret til det ligger tett på kablene.
Important: Hvis du forlenger ledningssatsen, sørg for at du bruker de korrekte ledningsmålene.
Parker trekkenheten og gjødselsprederen på en jevn overflate og senk tilbehøret (hvis utstyrt).
Koble inn parkeringsbremsen, slå av motoren og ta ut nøkkelen.
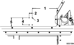
Før bryterledningssatsen vist i Figur 4 gjennom kjøretøyet, ved å begynne foran langs den eksisterende ledningssatsen.
Note: Kontakten til vibratorledningssatsen skal være bak på kjøretøyet, i nærheten av hydraulikkporten med høy strømning (Figur 1).

Sett bryteren inn i hullet på dashbordpanelet med den avrundede siden opp, og koble ledningssatsen til bryteren (Figur 2 og Figur 4).

Fest ledningssatsen med kabelfester, unna skarpe kanter.
Plasser merket på dashbordet ved siden av bryteren (Figur 3).

Koble kontakten for sikringsblokken (Figur 4) til kjøretøyets sikringsblokk og monter en sikring på 15 A.
Note: Hvis sikringsblokken er full, legger du til en ny sikringsblokk, kobler kontakten for sikringsblokken til den nye sikringsblokken, og legger deretter til en sikring på 15 A til den nye sikringsblokken.

Note: Du kan velge å koble settet direkte til batteriet istedenfor til kjøretøyets sikringsblokk. Bruk batteriledningssatsen som følger med settet (Figur 5).Hvis du bruker den valgfrie batteriledningssatsen, kobler du den positive klemmen til den positive batteriklemmen.

Koble jordklemmen til kjøretøyets jordingsblokk.
Sett den åpne kontakten (kontakten for bryterledningssatsen) på strømledningssatsen inn i den åpne kontakten (kontakten for strømledningssatsen) på bryterledningssatsen.
Fest ledningssatsen med kabelfester, unna skarpe kanter.
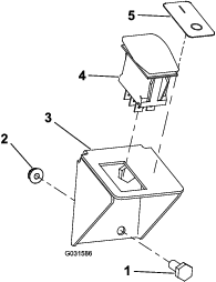
Bor fire monteringshull (7 mm) på siden av beholderen. Se Figur 6 for boredimensjonene.
Note: Finn ett hull, og bruk deretter monteringsplaten som en mal for å bore de gjenværende hullene.

Fest monteringsplaten og vibratoren til beholderen med fire låsebolter og fire muttere, som vist i Figur 7.
Note: Plasser vibratoren slik at kabelen er vendt nedover.

Koble vibratorledningssatsen til vibratoren.

Koble bryterledningssatsen til den andre enden av vibratorledningssatsen.
Note: På en slepemaskin kan du gjøre koblingen når du fester gjødselsprederen til trekkenheten.
Fest ledningssatsen med kabelfester, unna skarpe kanter.
Note: Legg ledningssatsene ut gjennom maskinen for å avgjøre hvor du skal montere ledningssatskomponentene. Bruk de inkluderte kabelfestene til å holde på plass overflødig kabel. Hvis du trenger å justere lengden for en ledningssatsseksjon, bruk de inkluderte ledningsskjøtene. Varm opp det integrerte varmekrympingsrøret til det ligger tett på kablene.
Important: Hvis du forlenger ledningssatsen, sørg for at du bruker de korrekte ledningsmålene.
Før ledningssatsen gjennom traktoren.
Note: Sørg for at bryterledningssatsen har nok lengde til å nå vibratorledningssatsen.
Fjern en utstøterplugg fra en tilgjengelig bryterplassering på dashbordet.
Hvis ingen bryterplasseringer er tilgjengelige, monter bryterbraketten på følgende måte:
Finn et tomt område på dashbordet for bryterbraketten, og bor to hull (7 mm) i dashbordet.
Note: Bruk bryterbraketten som en veiledning for å bore hullene.
Fest bryterbraketten til dashbordet med to bolter og to flensmuttere (Figur 9).

Sett bryteren, med den avrundede siden opp, inn i hullet i dashbordet eller i braketten.
Koble bryterledningssatsen til bryteren (Figur 9 og Figur 11).
Plasser merket ved siden av bryteren (Figur 9).
Fest ledningssatsen med kabelfester, unna skarpe kanter.
Monter én av strømledningssatsene på følgende måte:
Bruk ledningssatsen for sikringsblokken til å gi strøm til settet fra traktorens sikringsblokk (Figur 10). Fest kontakten for sikringsblokken til traktorens sikringsblokk og monter en sikring på 15 A.
Note: Hvis sikringsblokken er full, legger du til en ny sikringsblokk, kobler kontakten for sikringsblokken til den nye sikringsblokken, og legger deretter til en sikring på 15 A til den nye sikringsblokken.
Note: Det kan være du må endre klemmen og/eller ledningslengden, avhengig av traktormodellen.
Important: Hvis du forlenger ledningssatsen, sørg for at du bruker de korrekte ledningsmålene.

Bruk batteriledningssatsen til å gi strøm til settet direkte fra batteriet (Figur 11).
Koble den positive klemmen til den positive batteriklemmen.

Koble jordklemmen til kjøretøyets jordingsblokk.
Sett den åpne kontakten (kontakten for bryterledningssatsen) på strømledningssatsen inn i den åpne kontakten (kontakten for strømledningssatsen) på bryterledningssatsen.
Fest ledningssatsen med kabelfester, unna skarpe kanter.
Bor fire monteringshull (7 mm) på siden av beholderen. Se Figur 12 for boredimensjonene.
Note: Finn ett hull, og bruk deretter monteringsplaten som en mal for å bore de gjenværende hullene.

Fest monteringsplaten og vibratoren til kjøretøyet med fire låsebolter og fire muttere, som vist i Figur 13.
Note: Plasser vibratorkabelen så den er vendt nedover.

Koble vibratorledningssatsen til vibratoren.
Note: Før vibratorledningssatsen så den følger hydraulikkledningene, ettersom MH-400-materialhåndteringsenheten kan vippe oppover.

Bruk kabelfester til å feste alle ledningene langs hydraulikkledningene helt til kontakten for bryterledningssatsen.
Note: Påse at ledningssatsen ikke er i nærheten av skarpe kanter.
Koble bryterledningssatsen til den andre enden av vibratorledningssatsen.
Note: Du kan gjøre koblingen når du fester enheten for materialhåndterering til trekkenheten.
Deler som er nødvendige for dette trinnet:
| Ledningssatsen | 1 |
Note: Ved å følge disse instruksjonene, er det mulig å bruke tilbehørsbryteren som allerede er montert på instrumentbordet til Outcross 9060-trekkenheten og er lagt opp gjennom syvpinnerskontakten.
Hvis serienummeret til MH-400-materialhåndteringsenheten er 400 000 000 eller høyere, koble kontakten for bryterledningssatsen på settets ledningssats til MH-400-kontakten merket SHAKER.
Hvis serienummeret til MH-400-materialhåndteringsenheten er lavere enn 400 000 000, endre vibratorledningssatsen i settet som følger:
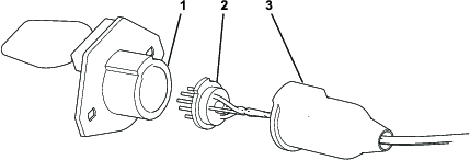
Klipp av og kast kontakten for bryterledningssatsen og slip 10 mm isolasjon av ledningene (Figur 15).

Få tilgang til syvpinnerskontakten på MH-400-materialhåndteringsenheten ved å dra hetten tilbake og fjern kontakten fra huset (Figur 16).

Løsne skruene i pinne 1- og i pinne 7-polene(Figur 17).

Før ledningene gjennom det lille hullet i hetten.
Monter den svarte ledningen til pinne 1-polen og den hvite ledningen til pinne 7-polen (Figur 17).
Stram til skruene for å feste ledningene.
Monter syvpinnerskontakten.
Bor fire monteringshull (7 mm) på siden av beholderen. Se Figur 18 for boredimensjonene.
Note: Finn ett hull, og bruk deretter monteringsplaten som en mal for å bore de gjenværende hullene.

Fest monteringsplaten og vibratoren til kjøretøyet med fire låsebolter og fire muttere, som vist i Figur 19.
Note: Plasser vibratorkabelen så den er vendt nedover.

Koble vibratorledningssatsen til vibratoren.
Note: Før vibratorledningssatsen så den følger hydraulikkledningene, ettersom MH-400-materialhåndteringsenheten kan vippe oppover.

Bruk kabelfester til å feste alle ledningene langs hydraulikkledningene helt til kontakten for bryterledningssatsen.
Note: Påse at ledningssatsen ikke er i nærheten av skarpe kanter.
Koble bryterledningssatsen til den andre enden av vibratorledningssatsen.
Note: Du kan gjøre koblingen når du fester enheten for materialhåndterering til trekkenheten.