![]() |
Os autocolantes de segurança e de instruções são facilmente visíveis e situam-se próximo das zonas de potencial perigo. Substitua todos os autocolantes danificados ou em falta. |

Note: Estenda a cablagem na máquina para determinar os locais de montagem dos componentes da cablagem. Utilize as braçadeiras de cabos fornecidas para prender cabo excedente. Se necessitar de encurtar ou acrescentar uma secção de cablagem, utilize as uniões incluídas. Aqueça a tubagem de retração por calor até que fique apertada nos fios.
Important: Se for acrescentado comprimento à cablagem, certifique-se de que utiliza o fio adequado.
Estacione a unidade de tração e o adubador numa superfície nivelada e desça os acessórios (se equipados).
Engate o travão de estacionamento, desligue o motor e retire a chave da ignição.
Encaminhe a cablagem do interruptor indicada na Figura 4 ao longo do veículo, iniciando na frente, ao longo da cablagem existente.
Note: O conector da cablagem do vibrador deve estar na traseira do veículo, próximo da porta de hidráulica de caudal elevado (Figura 1).

Insira o interruptor, com a parte arredondada para cima, no furo do painel de instrumentos e ligue a cablagem ao interruptor (Figura 2 e Figura 4).

Prenda a cablagem com braçadeiras de cabos, afastada de extremidades afiadas.
Coloque o autocolante no painel de instrumentos perto do interruptor (Figura 3).

Ligue o conector do bloco de fusíveis (Figura 4) ao bloco de fusíveis do veículo e instale um fusível de 15 A.
Note: Se o bloco de fusíveis estiver cheio, adicione um novo bloco de fusíveis, ligue o conector do bloco de fusíveis ao novo bloco de fusíveis e, em seguida, adicione um fusível de 15 amperes ao novo bloco.

Note: Como opção, pode ligar o kit diretamente à bateria em vez do ligar ao bloco de fusíveis do veículo; utilize a cablagem da bateria incluída no kit (Figura 5).Se estiver a utilizar a cablagem opcional da bateria, ligue o terminal positivo ao terminal positivo da bateria.

Ligue o terminal da ligação de massa ao bloco de terminal de massa do veículo.
Ligue o conector aberto (conector de cablagem do interruptor) da cablagem de alimentação ao conector aberto (conector de cablagem de alimentação) da cablagem do interruptor.
Prenda a cablagem com braçadeiras de cabos, afastada de extremidades afiadas.
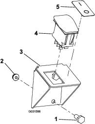
Faça quatro furos de montagem (7 mm) na parte lateral do dispositivo de recolha. Consulte a Figura 6 para obter as dimensões de perfuração.
Note: Localize um furo e, em seguida, utilize a placa de montagem como modelo para os restantes furos.

Prenda a placa de montagem e o vibrador no dispositivo de recolha com quatro parafusos de carroçaria e quatro porcas como se mostra na Figura 7.
Note: Posicione o vibrador de forma a que o cabo fique virado para baixo.

Ligue a cablagem do vibrador ao vibrador.

Ligue a cablagem do interruptor à outra extremidade da cablagem do vibrador.
Note: Numa máquina de reboque traseiro, pode fazer a ligação ao unir o adubador à unidade de tração.
Prenda a cablagem com braçadeiras de cabos, afastada de extremidades afiadas.
Note: Estenda a cablagem na máquina para determinar os locais de montagem dos componentes da cablagem. Utilize as braçadeiras de cabos fornecidas para prender cabo excedente. Se necessitar de encurtar ou acrescentar uma secção de cablagem, utilize as uniões incluídas. Aqueça a tubagem de retração por calor até que fique apertada nos fios.
Important: Se for acrescentado comprimento à cablagem, certifique-se de que utiliza o fio adequado.
Encaminhe a cablagem ao longo do trator.
Note: Certifique-se de que a cablagem do interruptor possui comprimento suficiente para alcançar a cablagem do vibrador.
Retire uma tampa extraível de um local disponível no painel de instrumentos.
Se não houver locais disponíveis para o interruptor, instale o suporte do interruptor da seguinte forma:
Localize um espaço vazio no painel de instrumentos para acomodar o suporte do interruptor e faça dois furos de 7 mm de diâmetro no painel.
Note: Utilize o suporte do interruptor como guia para fazer os furos.
Monte o suporte do interruptor no painel de instrumentos com dois parafusos e duas porcas flangeadas (Figura 9).

Insira o interruptor, com a parte arredondada para cima, no furo do painel de instrumentos ou suporte.
Ligue a cablagem do interruptor ao interruptor (Figura 9 e Figura 11).
Coloque o autocolante perto do interruptor (Figura 9).
Prenda a cablagem com braçadeiras de cabos, afastada de extremidades afiadas.
Instale uma das cablagens de alimentação da seguinte forma:
Para alimentar o kit a partir do bloco de fusíveis do trator, utilize a cablagem do bloco de fusíveis Figura 10. Ligue o conector do bloco de fusíveis ao bloco de fusíveis do trator e insira um fusível de 15 amperes.
Note: Se o bloco de fusíveis estiver cheio, adicione um novo bloco de fusíveis, ligue o conector do bloco de fusíveis ao novo bloco de fusíveis e, em seguida, adicione um fusível de 15 amperes ao novo bloco.
Note: Pode ter de alterar o terminal e/ou o comprimento dos cabos, dependendo do modelo do trator.
Important: Se for acrescentado comprimento à cablagem, certifique-se de que utiliza o fio adequado.

Para alimentar o kit diretamente da bateria, utilize a cablagem da bateria (Figura 11).
Ligue o terminal positivo ao terminal positivo da bateria.

Ligue o terminal da ligação de massa ao bloco de terminal de massa do veículo.
Ligue o conector aberto (conector de cablagem do interruptor) da cablagem de alimentação ao conector aberto (conector de cablagem de alimentação) da cablagem do interruptor.
Prenda a cablagem com braçadeiras de cabos, afastada de extremidades afiadas.
Faça quatro furos de montagem (7 mm) na parte lateral do dispositivo de recolha. Consulte a Figura 12 para obter as dimensões de perfuração.
Note: Localize um furo e, em seguida, utilize a placa de montagem como modelo para os restantes furos.

Prenda a placa de montagem e o vibrador no veículo com quatro parafusos de carroçaria e quatro porcas como se mostra na Figura 13.
Note: Posicione o cabo do vibrador de forma a que o cabo fique virado para baixo.

Ligue a cablagem do vibrador ao vibrador.
Note: Encaminhe a cablagem do vibrador de forma a seguir as linhas hidráulicas, uma vez que o equipamento de distribuição de material MH-400 pode inclinar para cima.

Utilize braçadeiras de cabos para prender todos os cabos ao longo das linhas hidráulicas até ao conector de cablagem do interruptor.
Note: Certifique-se de que a cablagem é mantida afastada de qualquer extremidade afiada.
Ligue a cablagem do interruptor à outra extremidade da cablagem do vibrador.
Note: Pode fazer a ligação ao unir o equipamento de distribuição de material à unidade de tração.
Peças necessárias para este passo:
| Cablagem | 1 |
Note: Seguir estas instruções permite-lhe utilizar o interruptor de acessórios que já está instalado no painel de instrumentos da unidade de tração Outcross 9060, ligado através da ligação de 7 pinos.
Se o número de série do seu equipamento de distribuição de material MH-400 for 400000000 ou superior, ligue o conector de cablagem do interruptor na cablagem do kit ao conector MH-400 rotulado SHAKER (agitador).
Se o número de série do seu equipamento de distribuição de material MH-400 for inferior a 400000000, modifique a cablagem do vibrador no kit da seguinte forma:
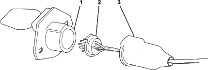
Corte e elimine o conector de cablagem do interruptor e descarne 10 mm do isolamento dos fios (Figura 15).

Aceda ao conector de 7 pinos no equipamento de distribuição de material MH-400 empurrando a cobertura para trás e removendo o conector da caixa (Figura 16).

Desaperte os parafusos nos terminais do pino 1 e pino 7 (Figura 17).

Insira os fios através do pequeno furo na cobertura.
Instale o fio preto no terminal do pino 1 e o fio branco no terminal do pino 7 (Figura 17).
Aperte os parafusos para prender os fios.
Monte o conector de 7 pinos.
Faça 4 furos de montagem (7 mm) na parte lateral do dispositivo de recolha. Consulte a Figura 18 para obter as dimensões de perfuração.
Note: Localize um furo e, em seguida, utilize a placa de montagem como modelo para os restantes furos.

Prenda a placa de montagem e o vibrador no veículo com quatro parafusos de carroçaria e quatro porcas como se mostra na Figura 19.
Note: Posicione o cabo do vibrador de forma a que o cabo fique virado para baixo.

Ligue a cablagem do vibrador ao vibrador.
Note: Encaminhe a cablagem do vibrador de forma a seguir as linhas hidráulicas, uma vez que o equipamento de distribuição de material MH-400 pode inclinar para cima.

Utilize braçadeiras de cabos para prender todos os cabos ao longo das linhas hidráulicas até ao conector de cablagem do interruptor.
Note: Certifique-se de que a cablagem é mantida afastada de qualquer extremidade afiada.
Ligue a cablagem do interruptor à outra extremidade da cablagem do vibrador.
Note: Pode fazer a ligação ao unir o equipamento de distribuição de material à unidade de tração.