![]() |
Veiligheidsstickers en veiligheidsinstructies zijn gemakkelijk zichtbaar voor de bestuurder en bevinden zich bij plaatsen waar gevaar kan ontstaan. Vervang alle beschadigde of ontbrekende stickers. |

Note: Spreid de kabelbomen uit op de machine om de montagelocaties van de onderdelen van de kabelboom te bepalen. Gebruik de bijgeleverde kabelbinders om overtollige eindjes kabel te bevestigen. Als u een kabelboom dient in te korten of te verlengen, gebruik dan de bijgeleverde draadlassen. Verhit de geïntegreerde krimpbuizen tot ze strak om de draden zitten.
Important: Als u de kabelboom verlengt, dient u ervoor te zorgen dat u het juiste draadkaliber gebruikt.
Parkeer de tractie-eenheid en de topdresser op een horizontaal oppervlak en laat de werktuigen neer (indien aanwezig).
Stel de parkeerrem in werking, zet de motor af en verwijder het contactsleuteltje.
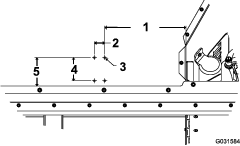
Leid de kabelboom van de schakelaar die afgebeeld is op Figuur 4 door het voertuig. Begin vooraan langs de aanwezige kabelboom.
Note: De kabelboomconnector van de trilset moet zich aan de achterkant van het voertuig bevinden, naast de poort voor het hydraulische systeem met hoge stroming (Figuur 1).

Steek de schakelaar met de ronde kant naar boven in de opening van het dashboardpaneel en sluit de kabelboom aan op de schakelaar (Figuur 2 en Figuur 4).

Bevestig de kabelboom met kabelbinders uit de buurt van scherpe randen.
Plak de sticker op het dashboard naast de schakelaar (Figuur 3).

Sluit de connector van de zekeringhouder (Figuur 4) aan op de zekeringhouder van het voertuig en monteer een zekering van 15 Amp.
Note: Als de zekeringhouder vol is, voeg dan een nieuwe zekeringhouder toe. Sluit de connector van de zekeringhouder aan op de nieuwe zekeringhouder. Steek vervolgens een zekering van 15 Amp in de nieuwe zekeringhouder.

Note: Optioneel kunt u de set direct aansluiten op de accu in plaats van op de zekeringhouder van het voertuig; gebruik de bij deze set geleverde accukabelboom (Figuur 5).Als u de optionele accukabelboom gebruikt, verbind dan de pluspool met de positieve accupool.

Verbind de aarding met het aardingsblok van het voertuig.
Sluit de ongebruikte connector (de kabelboomconnector van de schakelaar) van de voedingskabelboom aan op de ongebruikte connector (de connector van de voedingskabelboom) op de schakelaarkabelboom.
Bevestig de kabelboom met kabelbinders uit de buurt van scherpe randen.
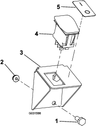
Boor 4 montageopeningen van 7 mm aan de zijkant van de hopper. Raadpleeg Figuur 6 voor de afmetingen voor het boren.
Note: Maak 1 opening en gebruik vervolgens de montageplaat als sjabloon voor het boren van de volgende openingen.

Bevestig de bevestigingsplaat en de trilset aan de hopper; gebruik hiervoor 4 slotbouten en 4 moeren zoals afgebeeld in Figuur 7.
Note: Plaats de trilset zo dat de kabel naar beneden gericht is.

Sluit de kabelboom van de trilset aan op de trilset.

Verbind de schakelaarkabelboom met het andere uiteinde van de kabelboom van de trilset.
Note: Als u een gesleepte machine gebruikt, kunt u de verbinding maken wanneer u de topdresser aansluit op de tractie-eenheid.
Bevestig de kabelboom met kabelbinders uit de buurt van scherpe randen.
Note: Spreid de kabelbomen uit op de machine om de montagelocaties van de onderdelen van de kabelboom te bepalen. Gebruik de bijgeleverde kabelbinders om overtollige eindjes kabel te bevestigen. Als u een kabelboom dient in te korten of te verlengen, gebruik dan de bijgeleverde draadlassen. Verhit de geïntegreerde krimpbuizen tot ze strak om de draden zitten.
Important: Als u de kabelboom verlengt, dient u ervoor te zorgen dat u het juiste draadkaliber gebruikt.
Leid de kabelboom door de tractor.
Note: Zorg ervoor dat de schakelaarkabelboom lang genoeg is om de kabelboom van de trilset te bereiken.
Verwijder een extra plug uit een ongebruikte locatie op het dashboard.
Als er geen ongebruikte schakelaarlocaties zijn, monteer dan de beugel voor de schakelaar en ga daarbij als volgt te werk:
Kies een lege plek op het dashboard voor de beugel voor de schakelaar en boor 2 gaten met een diameter van 7 mm in het dashboard.
Note: Gebruik de beugel voor de schakelaar als sjabloon bij het boren van de gaten.
Bevestig de beugel voor de schakelaar op het dashboard met behulp van de 2 bouten en 2 flensmoeren (Figuur 9).

Steek de schakelaar met de ronde kant naar boven in de opening van het dashboardpaneel of in de beugel.
Sluit de schakelaarkabelboom aan op de schakelaar (Figuur 9 en Figuur 11).
Plak de sticker naast de schakelaar (Figuur 9).
Bevestig de kabelboom met kabelbinders uit de buurt van scherpe randen.
Sluit 1 van de voedingskabelbomen aan; ga als volgt te werk:
Om de set van stroom te voorzien langs de zekeringhouder van de tractor, gebruikt u de kabelboom van de zekeringhouder Figuur 10 Bevestig de connector van de zekeringhouder aan de zekeringhouder van de tractor en steek er vervolgens een zekering van 15 Amp in.
Note: Als de zekeringhouder vol is, voeg dan een nieuwe zekeringhouder toe. Sluit de connector van de zekeringhouder aan op de nieuwe zekeringhouder. Steek vervolgens een zekering van 15 Amp in de nieuwe zekeringhouder.
Note: Mogelijk moet u de aansluiting en/of de lengte van de draad veranderen, afhankelijk van het tractormodel.
Important: Als u de kabelboom verlengt, dient u ervoor te zorgen dat u het juiste draadkaliber gebruikt.

Om de set direct van stroom te voorzien via de accu, dient u de accukabelboom te gebruiken (Figuur 11).
Sluit de ringconnector voor de pluspool aan op de pluspool van de accu.

Verbind de aarding met het aardingsblok van het voertuig.
Sluit de ongebruikte connector (de kabelboomconnector van de schakelaar) van de voedingskabelboom aan op de ongebruikte connector (de connector van de voedingskabelboom) op de schakelaarkabelboom.
Bevestig de kabelboom met kabelbinders uit de buurt van scherpe randen.
Boor 4 montageopeningen van 7 mm aan de zijkant van de hopper. Raadpleeg Figuur 12 voor de afmetingen voor het boren.
Note: Maak 1 opening en gebruik vervolgens de montageplaat als sjabloon voor het boren van de volgende openingen.

Bevestig de bevestigingsplaat en de trilset aan het voertuig met behulp van de 4 slotbouten en 4 moeren zoals afgebeeld in Figuur 13.
Note: Plaats de kabel van de trilset zo dat hij naar beneden gericht is.

Sluit de kabelboom van de trilset aan op de trilset.
Note: Leid de kabelboom van de trilset langs de hydraulische leidingen; de MH-400 materiaalverwerker kan immers omhoog scharnieren.

Bevestig alle bedrading met kabelbinders langs de hydraulische leidingen, helemaal tot aan de connector van de schakelaarkabelboom.
Note: Zorg ervoor dat de kabelboom niet in aanraking komt met scherpe randen.
Verbind de schakelaarkabelboom met het andere uiteinde van de kabelboom van de trilset.
Note: U kunt de verbinding maken wanneer u de materiaalverwerker aan de tractie-eenheid koppelt.
Benodigde onderdelen voor deze stap:
| Kabelboom | 1 |
Note: Door deze instructies op te volgen kunt u de werktuigschakelaar gebruiken die al is gemonteerd op het dashboard van de Outcross 9060 tractie-eenheid, bekabeld via de 7-polige stekker.
Als het serienummer van uw MH400 materiaalverwerker 400000000 of hoger is, moet u de kabelboomconnector van de schakelaar op de meegeleverde kabelboom in de MH-400 connector steken met de aanduiding SHAKER.
Als het serienummer van uw MH-400 materiaalverwerker lager is dan 400000000, moet u de kabelboom van de trilset als volgt aanpassen:
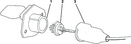
Snij de kabelboomconnector van de schakelaar af en gooi deze weg. Strip 10 mm van de isolatie van de draden (Figuur 15).

U verkrijgt toegang tot de connector met 7 pinnen op de MH-400 materiaalverwerker door het beschermkapje terug te trekken en de connector van de behuizing te verwijderen (Figuur 16).

Maak de schroeven in de pin 1 aansluiting en pin 7 aansluiting los (Figuur 17).

Steek de draden door de kleine opening in het beschermkapje.
Monteer de zwarte draad aan de pin 1 aansluiting en de witte draad aan de pin 7 aansluiting (Figuur 17).
Draai de schroeven vast om de draden te bevestigen.
Monteer de connector met 7 pinnen.
Boor 4 montageopeningen van 7 mm aan de zijkant van de hopper. Raadpleeg Figuur 18 voor de afmetingen voor het boren.
Note: Maak 1 opening en gebruik vervolgens de montageplaat als sjabloon voor het boren van de volgende openingen.

Bevestig de bevestigingsplaat en de trilset aan het voertuig met behulp van de 4 slotbouten en 4 moeren zoals afgebeeld in Figuur 19.
Note: Plaats de kabel van de trilset zo dat hij naar beneden gericht is.

Sluit de kabelboom van de trilset aan op de trilset.
Note: Leid de kabelboom van de trilset langs de hydraulische leidingen; de MH-400 materiaalverwerker kan immers omhoog scharnieren.

Bevestig alle bedrading met kabelbinders langs de hydraulische leidingen, helemaal tot aan de connector van de schakelaarkabelboom.
Note: Zorg ervoor dat de kabelboom niet in aanraking komt met scherpe randen.
Verbind de schakelaarkabelboom met het andere uiteinde van de kabelboom van de trilset.
Note: U kunt de verbinding maken wanneer u de materiaalverwerker aan de tractie-eenheid koppelt.