![]() |
任何潜在危险区附近均贴有操作员清晰可见的安全标贴和说明。更换受损或丢失的标贴。 |

Note: 在机器上布置线束,确定线束组件的安装位置。使用随附的扎带固定任何过长的线缆。此外,如果需要缩短或延长某段线束,请使用随附的线缆接头。加热一体式热缩套管,直到套管缩紧到电线。
Important: 如果要延长线束,应确保使用正确标号的电线。
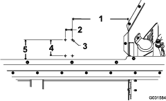
将主机和铺沙机停在水平地面上,放低附件(如配备)。
接合手刹,关闭发动机,然后拔下点火钥匙。
Note: 在机器上布置线束,确定线束组件的安装位置。使用随附的扎带固定任何过长的线缆。此外,如果需要缩短或延长某段线束,请使用随附的线缆接头。加热一体式热缩套管,直到套管缩紧到电线。
Important: 如果要延长线束,应确保使用正确标号的电线。
按照如下方式安装 1 组电源线束:
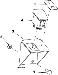
要从牵引机保险丝盒为套件供电,请使用保险丝盒线束 图10。 将保险丝盒接头连接到牵引机保险丝盒,然后接入 15A 保险丝。
Note: 如果保险丝盒已满,请添加新的保险丝盒,将保险丝盒接头连接到新保险丝盒,然后在新保险丝盒中增加一根 15A 的保险丝。
Note: 根据牵引机型号的不同,可能需要更换端子和/或电线长度
Important: 如果要延长线束,应确保使用正确标号的电线。

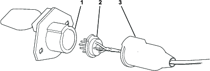
要直接从电池为套件供电,请使用电池线束 图11。
将正极端子连接到正极电池端子。

将接地端子连接至工作车的地线盒。
将电源线束上的开放式接头(开关线束接头)插入开关线束上的开放式接头(电源线束接头)。
用扎带固定线束,确保线束远离任何锐利边缘。
此程序中需要的物件:
| 线束 | 1 |
Note: 遵循这些说明,可以使用已安装在 Outcross 9060 主机仪表板上的附件开关,通过 7 针连接进行接线。
如果 MH-400 物料处理机的序列号是 400000000 或更大,请将套件线束上的开关线束接头插入标有 SHAKER 的 MH-400 接头。
如果 MH-400 物料处理机的序列号小于 400000000,请按照如下方式修改振动器线束: