![]() |
Die Sicherheits- und Bedienungsaufkleber sind gut sichtbar; sie befinden sich in der Nähe der möglichen Gefahrenbereiche. Tauschen Sie beschädigte oder verloren gegangene Aufkleber aus. |

Note: Legen Sie den Kabelbaum auf die Maschine, um die Befestigungsstellen für die Kabelbaumbestandteile zu ermitteln. Befestigen das überschüssige Kabel mit den beiliegenden Kabelbinden. Wenn Sie einen Kabelbaumabschnitt verkürzen oder verlängern müssen, verwenden Sie die beiliegenden Kabelverbindungen. Erwärmen Sie den integrierten Schrumpfmantel, bis er ganz auf den Drähten eingeschrumpft ist.
Important: Wenn Sie den Kabelbaum verlängern, achten Sie darauf, dass die richtige Drahtstärke verwenden.
Stellen Sie die Zugmaschine und den Topdresser auf einer ebenen Fläche ab und senken Sie die Anbaugeräte (falls vorhanden) ab.
Aktivieren Sie die Feststellbremse, stellen den Motor ab und ziehen den Zündschlüssel ab.
Verlegen Sie den Kabelbaum, siehe Bild 4, angefangen von der Front durch das Fahrzeug entlang des vorhandenen Kabelbaums.
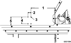
Note: Der Kabelbaumanschluss des Rüttlers sollte hinten am Fahrzeug in der Nähe des Hochflusshydraulik-Anschlusses sein (Bild 1).

Setzen Sie den Schalter mit der gerundeten Seite nach oben in das Loch im Armaturenbrett ein und schließen den Kabelbaum am Schalter an (Bild 2 und Bild 4).

Befestigen Sie den Kabelbaum mit Kabelbinden und stellen Sie sicher, dass der Kabelbaum keine scharfen Kanten berührt.
Bringen Sie den Aufkleber auf dem Armaturenbrett neben dem Schalter an (Bild 3).

Schließen Sie den Sicherungsblockanschluss (Bild 4) am Sicherungsblock des Fahrzeugs an und setzen Sie eine 15-Ampere-Sicherung ein.
Note: Wenn der Sicherungsblock keinen Steckplatz hat, fügen Sie einen neuen Sicherungsblock hinzu und schließen den Sicherungsblockanschluss am neuen Sicherungsblock an; setzen Sie dann eine 15-Ampere-Sicherung in den neuen Sicherungsblock ein.

Note: Sie können das Kit auch direkt an der Batterie statt an den Sicherungsblock des Fahrzeugs anschließen; verwenden Sie den Batteriekabelbaum im Kit (Bild 5).Wenn Sie den optionalen Batteriekabelbaum verwenden, schließen Sie die Plusklemme am Pluspol der Batterie an.

Schließen Sie die Erdungsklemme am Erdungsblock des Fahrzeugs an.
Stecken Sie den offenen Anschluss (Schalter-Kabelbaumanschluss) am Stromkabelbaum (Stromkabelbaumanschluss) in den offenen Anschluss am Schalterkabelbaum (Stromkabelbaumanschluss).
Befestigen Sie den Kabelbaum mit Kabelbinden und stellen Sie sicher, dass der Kabelbaum keine scharfen Kanten berührt.
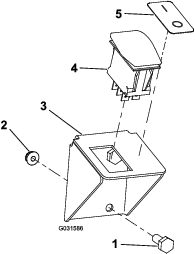
Bohren Sie vier Befestigungslöcher (7 mm) in die Seite des Füllkastens. Bohrabmessungen finden Sie unter Bild 6.
Note: Ermitteln Sie ein Loch und verwenden Sie dann die Befestigungsplatte als Schablone für das Bohren der restlichen Löcher.

Befestigen Sie die Befestigungsplatte und den Rüttler mit vier Schlossschrauben und vier Muttern am Füllkasten, wie in Bild 7 abgebildet.
Note: Positionieren Sie den Rüttler so, dass das Kabel nach unten zeigt.

Schließen Sie den Kabelbaum des Rüttlers am Rüttler an.

Schließen Sie den Schalterkabelbaum am anderen Ende des Rüttlerkabelbaums an.
Note: Bei geschleppten Maschinen können Sie die Verbindung herstellen, wenn der Topdresser an die Zugmaschine angeschlossen wird.
Befestigen Sie den Kabelbaum mit Kabelbinden und stellen Sie sicher, dass der Kabelbaum keine scharfen Kanten berührt.
Note: Legen Sie den Kabelbaum auf die Maschine, um die Befestigungsstellen für die Kabelbaumbestandteile zu ermitteln. Befestigen das überschüssige Kabel mit den beiliegenden Kabelbinden. Wenn Sie einen Kabelbaumabschnitt verkürzen oder verlängern müssen, verwenden Sie die beiliegenden Kabelverbindungen. Erwärmen Sie den integrierten Schrumpfmantel, bis er ganz auf den Drähten eingeschrumpft ist.
Important: Wenn Sie den Kabelbaum verlängern, achten Sie darauf, dass die richtige Drahtstärke verwenden.
Verlegen Sie den Kabelbaum durch den Traktor.
Note: Stellen Sie sicher, dass der Schalterkabelbaum genug Länge hat, um den Rüttlerkabelbaum zu erreichen.
Nehmen Sie eine Blende aus einer verfügbaren Schalterstelle am Armaturenbrett.
Wenn keine Schalterstellen verfügbar sind, bringen Sie die Schalterhalterung wie folgt an:
Finden Sie eine leere Stelle auf dem Armaturenbrett für die Schalterhalterung und bohren Sie zwei Löcher mit einem Durchmesser von 7 mm in das Armaturenbrett.
Note: Verwenden Sie die Schalterhalterung als Führung für das Bohren der Löcher.
Befestigen Sie die Schalterhalterung mit den zwei Schrauben und zwei Muttern am Armaturenbrett (Bild 9).

Setzen Sie den Schalter mit der abgerundeten Seite nach oben in das Loch im Armaturenbrett ein oder in der Halterung ein.
Schließen Sie den Schalterkabelbaum am Schalter an (Bild 9 und Bild 11).
Bringen Sie den Aufkleber neben dem Schalter an (Bild 9).
Befestigen Sie den Kabelbaum mit Kabelbinden und stellen Sie sicher, dass der Kabelbaum keine scharfen Kanten berührt.
Bringen Sie einen der Stromkabelbäume wie folgt an:
Verwenden Sie den Kabelbaum des Sicherungsblock, um das Kit über den Sicherungsblock des Traktors mit Strom zu versorgen Bild 10. Schließen Sie den Sicherungsblockanschluss am Sicherungsblock des Traktors an und setzen Sie eine 15-Ampere-Sicherung ein.
Note: Wenn der Sicherungsblock keinen Steckplatz hat, fügen Sie einen neuen Sicherungsblock hinzu und schließen den Sicherungsblockanschluss am neuen Sicherungsblock an; setzen Sie dann eine 15-Ampere-Sicherung in den neuen Sicherungsblock ein.
Note: Sie müssen die Anschlussklemme und/oder die Kabellänge ggf. je nach Traktormodell ändern.
Important: Wenn Sie den Kabelbaum verlängern, achten Sie darauf, dass die richtige Drahtstärke verwenden.

Verwenden Sie den Kabelbaum der Batterie, um das Kit über den Kabelbaum der Batterie mit Strom zu versorgen Bild 11.
Schließen Sie die Plusklemme am Pluspol der Batterie an.

Schließen Sie die Erdungsklemme am Erdungsblock des Fahrzeugs an.
Stecken Sie den offenen Anschluss (Schalter-Kabelbaumanschluss) am Stromkabelbaum (Stromkabelbaumanschluss) in den offenen Anschluss am Schalterkabelbaum (Stromkabelbaumanschluss).
Befestigen Sie den Kabelbaum mit Kabelbinden und stellen Sie sicher, dass der Kabelbaum keine scharfen Kanten berührt.
Bohren Sie vier Befestigungslöcher (7 mm) in die Seite des Füllkastens. Bohrabmessungen finden Sie unter Bild 12.
Note: Ermitteln Sie ein Loch und verwenden Sie dann die Befestigungsplatte als Schablone für das Bohren der restlichen Löcher.

Befestigen Sie die Befestigungsplatte und den Rüttler mit vier Schlossschrauben und vier Muttern am Fahrzeug, wie in Bild 13 abgebildet.
Note: Positionieren Sie das Rüttlerkabel so, dass es nach unten zeigt.

Schließen Sie den Kabelbaum des Rüttlers am Rüttler an.
Note: Verlegen Sie den Kabelbaum des Rüttlers so, dass er den Hydraulikleitungen folgt, da das MH-400 Materialtransportgerät nach oben gedreht werden kann.

Befestigen Sie alle Kabel mit Kabelbinden entlang der Hydraulikleitungen bis zum Kabelbaumanschluss des Schalters.
Note: Stellen Sie sicher, dass der Kabelbaum keine scharfen Kanten berührt.
Schließen Sie den Schalterkabelbaum am anderen Ende des Rüttlerkabelbaums an.
Note: Sie können die Verbindung herstellen, wenn Sie den Materialtransportgerät an der Zugmaschine anbringen.
Für diesen Arbeitsschritt erforderliche Teile:
| Kabelbaum | 1 |
Note: Wenn Sie diese Anweisungen befolgen, können Sie den Schalter für Anbaugeräte verwenden, der bereits auf dem Armaturenbrett der Zugmaschine Outcross 9060 installiert und über den 7-poligen Anschluss angeschlossen ist.
Wenn die Seriennummer Ihres MH-400 Materialtransportgeräts 40000000000 oder höher ist, stecken Sie den Anschluss des Steckerkabelbaums am Kit-Kabelbaum in den MH-400-Stecker mit der Bezeichnung SHAKER.
Wenn die Seriennummer Ihres MH-400 Materialtransportgerät kleiner als 4000000000000 ist, ändern Sie den Kabelbaum des Rüttlers im Kit wie folgt:
Schneiden Sie den Anschluss des Steckerkabelbaums ab und entsorgen Sie ihn und entfernen Sie 10 mm der Isolierung von den Kabeln (Bild 15).

Ziehen Sie auf den 7-poligen Stecker des MH-400 Materialtransportgeräts ab, indem Sie die Muffe zurückziehen und den Stecker aus dem Gehäuse entfernen (Bild 16).

Lösen Sie die Schrauben an den Klemmen Pin 1 und Pin 7 (Bild 17).

Stecken Sie die Kabel durch das kleine Loch in der Muffe.
Schließen Sie das schwarze Kabel an der Klemme Pin 1 und das weiße Kabel an der Klemme Pin 7 an (Bild 17).
Ziehen Sie die Schrauben fest und befestigen Sie die Kabel.
Montieren Sie den 7-poligen Stecker.
Bohren Sie vier Befestigungslöcher (7 mm) in die Seite des Füllkastens. Bohrabmessungen finden Sie unter Bild 18.
Note: Ermitteln Sie ein Loch und verwenden Sie dann die Befestigungsplatte als Schablone für das Bohren der restlichen Löcher.

Befestigen Sie die Befestigungsplatte und den Rüttler mit vier Schlossschrauben und vier Muttern am Fahrzeug, wie in Bild 19 abgebildet.
Note: Positionieren Sie das Rüttlerkabel so, dass es nach unten zeigt.

Schließen Sie den Kabelbaum des Rüttlers am Rüttler an.
Note: Verlegen Sie den Kabelbaum des Rüttlers so, dass er den Hydraulikleitungen folgt, da das MH-400 Materialtransportgerät nach oben gedreht werden kann.

Befestigen Sie alle Kabel mit Kabelbinden entlang der Hydraulikleitungen bis zum Kabelbaumanschluss des Schalters.
Note: Stellen Sie sicher, dass der Kabelbaum keine scharfen Kanten berührt.
Schließen Sie den Schalterkabelbaum am anderen Ende des Rüttlerkabelbaums an.
Note: Sie können die Verbindung herstellen, wenn Sie den Materialtransportgerät an der Zugmaschine anbringen.