Underhåll
Note: Vänster och höger sida på maskinen är lika med förarens vänstra respektive högra sida vid normal körning.
Stötta upp klippenheten
Om du behöver tippa klippenheten för att komma åt underkniven eller cylindern, ska du stötta upp klippenhetens bakdel så att muttrarna på bakre delen av underknivsstångens justerskruvar inte vilar mot arbetsytan (Figur 8).

Justera underknivens kontakt med cylindern
Justera underkniven dagligen
Kontrollera varje klippenhet före klippningen varje dag (eller så ofta som behövs) för att säkerställa korrekt kontakt mellan underkniv och cylinder. Denna kontroll ska genomföras även om klippkvaliteten är acceptabel.
-
Sänk ned klippenheterna på en hård yta.
-
Stäng av maskinen på följande sätt:
-
Bensindrivna enheter: Stäng av motorn och koppla bort tändkabeln.
-
Eldrivna enheter: Stäng av maskinen och koppla bort batterikontakten (T-formad).
-
-
Rotera cylindern långsamt i motsatt riktning och lyssna efter kontakten mellan cylindern och underkniven.
-
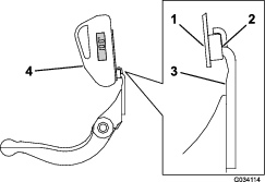
Om ingen kontakt kan märkas vrider du underknivsstångens justerskruvar medurs (Figur 9), ett klick i taget, tills du känner och hör att delarna precis vidrör varandra.

Note: Cylindern måste skära ett pappersark när den sitter i rak vinkel mot underkniven, vid båda ändarna och på mitten av cylindern.
Note: Underknivsstångens justerskruvar har klicklägen och varje klickläge motsvarar 0,018 mm förflyttning av underkniven.
-
Om kontakten/cylindern släpar för mycket slipar du om framsidan av underkniven eller fräser klippenheten för att få de vassa eggar som krävs för finklippning (se Toros bruksanvisning för slipning av cylinder- och rotorklippare, formulärnr 09168SL).
Important: Det är bäst om delarna precis vidrör varandra. Om inte underkniven/cylinderkanterna precis vidrör varandra kommer delarna inte att självslipas tillräckligt och då blir skäreggarna slöa efter en tids användning. Om delarna har för mycket kontakt kommer underkniven/cylindern att slitas snabbare, vilket kan leda till ojämnt slitage och försämrad klippkvalitet.
Note: För eFlex-klippenheter har kontakten mellan cylindern och underkniven stor påverkan på energiförbrukningen. Det är bäst för klipprestanda och batteriförbrukning om delarna precis vidrör varandra.
Note: Allteftersom cylinderbladen fortsätter att löpa längs underkniven kan sliprester (skägg) uppstå framtill på skäreggens yta, längs med hela underkniven. Dra en fil längs eggen då och då för att ta bort skägg och förbättra klippningen.När gräsklipparen har använts en längre tid uppstår till slut en räffla på bägge ändar av underkniven. Dessa skåror måste rundas av eller filas jämna med underknivens skäregg för att säkerställa jämn drift.
-
Justera underkniven efter fräsning, slipning eller demontering
Genomför denna procedur efter slipning eller demontering av cylindern. Detta är inte en daglig justering.
Note: För eFlex-klippenheter har kontakten mellan cylindern och underkniven stor påverkan på energiförbrukningen. Det är bäst för klipprestanda och batteriförbrukning om delarna precis vidrör varandra.
-
Placera klippenheten på en plan, jämn arbetsyta.
-
Luta klippenheten så att underkniven och cylindern exponeras.
Note: Kontrollera att muttrarna på justerskruvarna baktill på underknivsstången inte vilar mot arbetsytan (Figur 8).
-
Rotera cylindern så att ett av knivbladen korsar underknivens egg mellan underknivens första och andra skruvhuvud på högra sidan av klippenheten.
-
Gör en markering på knivbladet där det korsar underknivens egg.
Note: Det förenklar efterföljande justeringar.
-
För in mellanlägget (0,05 mm) mellan knivbladet och underknivens egg vid markeringen som gjordes i steg 4.
-
Vrid den högra underknivsstångens justerskruv (Figur 9) tills du känner ett lätt tryck i mellanlägget när du drar det från sida till sida. Ta bort mellanlägget.
-
Rotera långsamt cylindern så att det närmaste knivbladet korsar underknivens egg mellan det första och andra skruvhuvudet på vänstra sidan av klippenheten.
-
Upprepa steg 4 till 6 för vänster sida av klippenheten och den vänstra underknivsstångens justerskruv.
-
Upprepa steg 5 och 6 tills kontaktpunkterna på både vänster och höger sida av klippenheten precis vidrör varandra.
-
För att cylindern och underkniven precis ska vidröra varandra ska du vrida respektive underknivsstångs justerskruv tre klick medurs.
Note: För varje klick på underknivens justerskruv flyttas underkniven 0,018 mm. Dra inte åt justerskruvarna för hårt.Underknivens egg förs närmare cylindern när underknivens justerskruv vrids medurs. Underknivens egg förs bort från cylindern när underknivens justerskruv vrids moturs.
-
Testa klipprestandan genom att föra in en lång remsa av klipprestandapapper mellan cylindern och underkniven, i rät vinkel mot cylindern och underkniven (Figur 10). Rotera cylindern långsamt framåt och klipp papperet.

Note: Om kontakten/cylindern släpar för mycket kan du behöva slipa eller fräsa cylindern och underkniven för att få de vassa eggar som krävs för finklippning.
Slipa underkniven
Slipa cylinderns avbackning
Den nya cylindern har en anliggningsyta som är 0,76 till 1,27 mm bred och en avbackning på 30 grader.
Gör följande om anliggningsytans bredd överstiger 3 mm:
-
Applicera en avbackning 30 grader på alla cylinderknivar tills anliggningsytans bredd är 0,76 till 1,27 mm (Figur 11).

-
Rundslipa cylindern för att uppnå en precisionsminskning för cylindern på < 0,025 mm.
Note: Detta gör att landbredden ökar något.
Note: För att cylindereggen och underkniven ska vara vassa längre ska du – efter att ha slipat cylindern och/eller underkniven – kontrollera kontakten mellan cylindern och underkniven igen när du har klippt sex greener eftersom alla grader (”skägg”) tas bort, vilket kan leda till att ett felaktigt spel bildas mellan cylindern och underkniven och därmed få dem att slitas ut snabbare.
Kontrollera toppslipningsvinkeln
Det är viktigt vilken vinkel du använder när du slipar underknivarna.
Använd vinkelindikatorn och vinkelindikatorfästet för att kontrollera vinkeln som slipmaskinen skapar. Åtgärda vid felaktigt resultat.
-
Placera vinkelindikatorn på underknivens undersida enligt Figur 12.

-
Tryck på Alt Zero-knappen på vinkelindikatorn.
-
Placera vinkelindikatorfästet på underknivens egg så att magnetens kant får kontakt med underknivens kant (Figur 13).
Note: Den digitala displayen ska under detta steg vara synlig från samma sida som den var i steg 1.

-
Placera vinkelindikatorn på fästet enligt Figur 13.
Note: Detta är den vinkel som slipmaskinen skapar, och den ska ligga inom två grader från den rekommenderade toppslipningsvinkeln.
Specifikationer för cylinderslipning
| Cylinderdiameter (ny) | 128,5 mm |
| Servicegräns – cylinderdiameter | 114,3 mm |
| Cylinderaxelns ytterdiameter | 34,9 mm |
| Knivens ställvinkel | 25° till 35° |
| Bredd på knivens anliggningsyta | 0,76 till 1,27 mm |
| Bredd på knivens anliggningsyta, område | 0,8 till 1,2 mm |
| Servicegräns – cylinderdiameterns avsmalning | 0,25 mm |
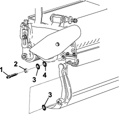
Justera den bakre rullens höjd
Beroende på önskad klipphöjd ska du justera de bakre rullfästena (Figur 14 eller Figur 15) till den höga eller låga positionen:
-
Placera distansbrickan över sidoplåtens monteringsfläns (fabriksinställning) när klipphöjdsinställningarna ligger inom området 1,5–6 mm enligt Figur 14.

-
Placera distansbrickan under sidoplåtens monteringsfläns när klipphöjdsinställningarna ligger inom området 3–25 mm enligt Figur 15.

-
Höj klippenhetens bakdel och placera en kloss under underkniven.
-
Lossa de två muttrarna som håller fast rullfästena och distansbrickorna på sidoplåtarnas monteringsflänsar.
-
Sänk rullen och skruvarna från sidoplåtens monteringsflänsar och distansbrickor.
-
Placera distansbrickorna på skruvarna ovanför eller nedanför rullfästena efter behov (Figur 14 eller Figur 15).
-
Fäst rullfästet och distansbrickorna på undersidan av monteringsflänsarna igen med de muttrar som du tog bort tidigare.
-
Kontrollera att kontakten mellan underkniven och cylindern är korrekt. Tippa klipparen för att exponera främre och bakre rullar och underkniven.
Note: Den bakre rullens läge i förhållande till cylindern kontrolleras av de sammansatta komponenternas maskintoleranser och parallelljustering är inte nödvändig. Du kan göra vissa justeringar genom att ställa klippenheten på en golvplatta och lossa sidoplåtens fästskruvar (Figur 16). Justera skruvarna och dra åt dem när du är klar.

Important: När du behöver tippa klippenheten för att komma åt underkniven eller cylindern ska du stötta upp klippenhetens bakdel så att muttrarna på bakre delen av underknivsstångens justerskruvar inte vilar mot arbetsytan (Figur 8).
Justera klipphöjden
Den här klippenheten levereras som standard med Edgemax-underkniv för finklippning och standardunderknivsstång. Den faktiska klipphöjden beror på tidigare klipparkonfigurationer och på gräsförhållandena (dvs. rulltyp, avståndet bakom mittlinjen för underkniven, mjukt eller hårt gräsunderlag och säsongsbetonade krav). Ställ till en början in klipphöjden så att den är 0,25–0,38 mm högre än den föregående greenklipparinställningen, och justera efter aktuella förhållanden.
Note: För klipphöjder över 13 mm ska du montera satsen för hög klipphöjd.
Använd följande tabell för att fastställa vilken underkniv som lämpar sig bäst för den önskade klipphöjden.
| Diagram med rekommenderad underkniv/klipphöjd | ||
| Underkniv | Artikelnummer | Klipphöjd |
| Edgemax finklippning (standard) | 115-1880 (2100)117-1530 (1800) | 1,5–4,7 mm |
| Edgemax Tournament (tillbehör) | 115-1881 (2100)117-1532 (1800) | 3,1–12,7 mm |
| Finklippning (tillval) | 93-4262 (2100)98-7261 (1800) | 1,5–4,7 mm |
| Tournament (tillval) | 93-4263 (2100)98-7260 (1800) | 3,1–12,7 mm |
| Förlängd finklippning (tillval) | 108-4303 (2100)110-2300 (1800) | 1,5–4,7 mm |
| Förlängd Tournament (tillval) | 108-4302 (2100) | 3,1–12,7 mm |
| Låg klipphöjd (tillval) | 93-4264 (2100)110-2301 (1800) | 4,7–25,4 mm |
-
Lossa de låsmuttrar som håller fast klipphöjdsarmarna på klippenhetens sidoplåtar (Figur 17).

-
Lossa muttern på mätstången och ställ in justerskruven på önskad klipphöjd (Figur 18).
Note: Avståndet mellan skruvhuvudets nedersta del och stångens ovansida är lika med klipphöjden.

-
Haka på skruvhuvudet på underknivens skäregg och vila stångens bakände på den bakre rullen (Figur 19).

-
Vrid justeringsskruven tills rullen kommer i kontakt med den främre delen av mätstången.
-
Justera båda ändar av rullen tills hela rullen är parallell med underkniven.
Important: Vid korrekt inställning är de bakre och främre rullarna i kontakt med mätstången och skruven sitter tätt mot underkniven. På så sätt blir klipphöjden identisk i båda ändar av underkniven.
-
Dra åt muttrarna för att säkra justeringen så mycket att spelet från brickan avlägsnas.
Justera klippinställningen
Det finns sex klippinställningar på klippenheten som du kan ställa in så att de motsvarar dina gräsförhållanden. Börja med att anpassa klippningen till klipphöjden, men testa sedan klippenheten och justera klippningen för att ställa in önskad klippning.
-
Stäng av maskinen på följande sätt:
-
Bensindrivna enheter: Stäng av motorn och koppla bort tändkabeln.
-
Eldrivna enheter: Stäng av maskinen och koppla bort batterikontakten (T-formad).
-
-
Lossa flänsskruven som håller fast remkåpan och ta bort remkåpan för att frilägga remmen (Figur 20).

-
Lossa lagerhusets mutter (Figur 21).

-
Vrid på lagerhuset med hjälp av en 5/8 tums skiftnyckel för att kontrollera att det löper fritt.
-
Ta bort remmen (Figur 21).
-
Använd tabellen på dekalen i Figur 22 för att bestämma vilken klippinställning du önskar och vilka remskivor du måste flytta.
Note: Remskivorna är numrerade (22, 24 och 25). Flytta remskivorna till de lägen som visas i tabellen för din klippinställning.

-
Använd en sexkantsnyckel och lossa de två ställskruvarna på de remskivor som du behöver flytta.
-
Ta bort remskivorna.
-
Montera remskivorna i den nya konfigurationen i enlighet med anvisningarna på dekalen (Figur 22).
Note: Kontrollera att ställskruvarna på remskivorna är inriktade mot nyckeln och det platta området på axeln.
-
Dra åt ställskruvarna till 8,3–8,9 N·m.
-
Montera remmen.
-
Kontrollera att kompressionsfjädern påför spänning på remmen (Figur 21).
-
Dra åt lagerhusets mutter.
-
Sätt tillbaka remkåpan.
Justera klippstången
Justera klippstången så att gräsklippet matas ut ordentligt från cylindern, på följande sätt:
Note: Stången kan justeras för att kompensera för förändringar i gräsförhållanden. När gräset är extremt torrt bör stången flyttas närmare cylindern. Vid våta gräsförhållanden ska stången däremot flyttas längre bort från cylindern. Stången ska vara parallell mot cylindern för att säkerställa optimal prestanda. Justera den efter att cylindern har vässats på en cylindervässare.
-
Lossa de skruvar som håller fast den övre stången (Figur 23) på klippenheten.

-
För in ett bladstål på 1,5 mm mellan cylinderns översta del och stången och dra åt skruvarna.
Important: Kontrollera att stången och cylindern sitter på ett jämnt avstånd från varandra över hela cylindern.
Underhålla underkniven/underknivsstången
Låt endast en utbildad mekaniker serva underknivsstången och underkniven för att förhindra skador på cylinder, underknivsstång och underkniv. Ta klippenheten till närmaste auktoriserade Toro-återförsäljare för service. Se traktorenhetens servicehandbok för fullständiga anvisningar, specialverktyg och diagram över underknivsservice. Om du skulle behöva ta bort eller sätta tillbaka underknivsstången själv har du anvisningarna och specifikationerna för underhåll av underkniven nedan.
Important: Följ alltid underknivsprocedurerna som anges i servicehandboken när underkniven servas. Om underkniven monteras eller slipas på ett felaktigt sätt kan skador uppstå på cylindern, underknivsstången eller underkniven.
Ta bort underknivsstången
-
Vrid underknivsstångens justerskruv moturs, så att underkniven förs bort från cylindern (Figur 24).

-
För fjäderspänningsmuttern bakåt, tills brickan inte längre är spänd mot underknivsstången (Figur 24).
-
Lossa kontramuttern som håller fast låsmuttern till underknivsstången på vardera sidan av maskinen (Figur 25).

-
Ta bort alla skruvar till underknivsstången så att du kan dra den nedåt och ta bort den från maskinen (Figur 25).
Beräkna 2 nylonbrickor och 2 stansade brickor av stål på vardera änden av underknivsstången (Figur 26).

Montera underknivsstången
-
Montera underknivsstången och placera fästhandtagen mellan brickan och underknivsstångens justerare.
-
Fäst underknivsstången på vardera sidoplåt med tillhörande skruvar (muttrar på skruvar) och fyra brickor (åtta stycken totalt).
-
Sätt en nylonbricka på var sida om sidoplåtens nav. Placera en stålbricka utanför varje nylonbricka (Figur 26).
-
Dra åt underknivsstångens skruvar till 27–36 N·m. Dra åt låsmuttrarna för hand tills den yttre stålbrickan slutar rotera och spelet försvinner. Det kan finnas ett mellanrum vid brickorna på insidan.
Important: Dra inte åt låsmuttrarna för hårt, eftersom det får sidoplåtarna att böjas.
-
Dra åt fjäderspänningsmuttern tills fjädern pressas ihop, och lossa den sedan ett halvt varv (Figur 27).

Montera underkniven
-
Ta bort rosten, beläggningen och korrosionen från underknivsstångens yta och applicera ett tunt lager olja på underknivsstångens yta.
-
Rengör skruvgängorna.
-
Applicera Never-Seez-massa på skruvarna och montera underkniven på underknivsstången.

-
Dra åt de två yttre skruvarna till 1 Nm.
-
Utgå från underknivens mitt och dra åt skruvarna till 23–28 Nm.

-
Slipa underkniven.
Specifikationer för underkniven
Specifikationer för att slipa underkniven

| Ställvinkel för underkniv, standard | 3° Minimum |
| Ställvinkel för underkniv, förlängd | 7° Minimum |
| Framvinkelsområde | 13° till 17° |
Slipa cylindern
Fara
Att vidröra cylindrarna eller andra rörliga delar kan orsaka personskador.
Håll fingrar, händer och kläder på avstånd från cylindrarna och andra rörliga delar.
-
Kom inte nära cylindern när du slipar.
-
En borste med kort skaft får aldrig användas vid slipning. Kontakta en auktoriserad Toro-återförsäljare om du behöver handtagsdelar.
Vid slipning av cylindrarna kan klippenheten antingen lämnas kvar på traktorenheten eller tas bort helt från den. Om du lämnar kvar klippenheten på traktorenheten ska du flytta sexkantskopplingen mellan huvuddrivningen och klippenhetsdrivningen till det urkopplade läget för att förhindra överdrivet slitage på cylinderbromsen.
-
Ställ maskinen på en ren och plan yta.
-
Stäng av maskinen på följande sätt:
-
Bensindrivna enheter: Stäng av motorn och koppla bort tändkabeln.
-
Eldrivna enheter: Stäng av maskinen och koppla bort batterikontakten (T-formad).
-
-
Dra åt parkeringsbromsen.
-
Anslut slipmaskinen till klippenheten genom att fästa en halvtums insexskruv på cylinderremskivans utgångsaxel på klippenhetens vänstra sida.
Note: Ytterligare anvisningar och procedurer för slipning finns i Toros bruksanvisning för slipning av cylinder- och rotorklippare (formulärnr 80-300PT).
Note: Dra en fil över underknivens framsida när slipningen är klar så blir skäreggen bättre. Detta avlägsnar eventuella grader (skägg) eller ojämna kanter som kan uppstå på skäreggen. Du kan behöva fila mycket lätt på den övre kanten för att helt få bort skägget från skäreggen.
Note: Om du lämnar kvar klippenheten på maskinen under slipningen ska du ansluta maskinens sexkantsaxel till klippenheten igen.


). Symbolen betyder Var försiktig, Varning eller Fara –
anvisning om personsäkerhet. Underlåtenhet att följa
anvisningarna kan leda till personskador eller dödsfall.





