维护
Note: 请根据正常操作位置来判定机器的左侧和右侧。
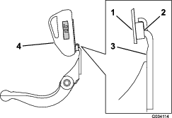
支撑滚刀组
当您需要翻转滚刀组以露出底刀/滚刀时,应支撑住滚刀组的后部,确保底刀架调节螺丝后端的螺母不会接触工作表面(图8)。

调节底刀与滚刀的接触
每天调节底刀
在每天剪草之前或在需要时,检查每个滚刀组,确认底刀与滚刀已正确接触。即使剪草质量可以接受,也需要执行此检查。
-
将滚刀组降低到坚硬的表面上。
-
按以下方式关闭机器:
-
汽油机型: 关闭发动机并断开火花塞电线的连接。
-
电动机型: 关闭机器并断开电池接头的连接(T 型手柄)。
-
-
缓慢地反向旋转滚刀,听一下滚刀与底刀的接触情况。
-
如果接触不明显,则顺时针旋转底刀架调节螺丝(图9),一次调整一格,直到感觉到并听到轻微的接触。

Note: 当一张纸以正确的角度插入底刀,平铺在滚刀的两端和中心时,滚刀必须能切断纸张。
Note: 底刀架调节螺丝上有卡槽,每一卡格对应底刀 0.018mm 的移动。
-
如果明显过度接触/感受到滚刀阻力过大,则需要倒磨、重磨底刀前面,或者重新研磨滚刀组,确保精确剪草所需的锋利刀刃(请参阅 “Toro 滚刀和旋刀剪草机磨刀手册”,手册号 09168SL)。
Important: 最好始终保持轻微接触。如果无法保持轻微接触,底刀/滚刀刀刃就无法充分自锋利,操作一段时间后将导致刀刃变钝。如果保持过度接触,底刀/滚刀的磨损就会加快,导致磨损不均匀,且剪草质量可能会下降。
Note: 对于 eFlex 滚刀组而言,滚刀与底刀的接触情况会对能耗产生重大影响。最好保持很轻微的接触,以实现最佳剪草性能和电池消耗。
Note: 由于滚刀刀刃持续与底刀摩擦,因此整个底刀的前刀刃表面上会出现轻微的毛边。偶尔使用锉刀磨一下前刀刃,消除这种毛边,从而提高剪草质量。长期使用后,底刀两端最终都会出现隆起现象。打磨掉或锉掉这些凹口,使其与底刀刀刃平齐,以确保操作顺畅。
-
在研磨、倒磨或拆卸之后调节底刀。
在研磨、倒磨或拆卸滚刀后使用此程序。这并非是日常调节。
Note: 对于 eFlex 滚刀组而言,滚刀与底刀的接触情况会对能耗产生重大影响。最好保持很轻微的接触,以实现最佳剪草性能和电池消耗。
-
将滚刀组放在平整、水平的工作表面上。
-
翻转滚刀组,露出底刀和滚刀。
Note: 确保底刀架调节螺丝后端上的螺母不与工作表面接触(图8)。
-
旋转滚刀,使一片刀片经过滚刀组右侧第一个与第二个底刀螺丝之间的底刀刀刃。
-
在与底刀刀刃交叉处的刀片上放置一个识别标记,
Note: 这样做可使随后的调节更加容易。
-
在刀片与底刀刀刃之间步骤4中标记的点,插入 0.05mm(0.002 英寸)的薄垫片。
-
向右转动底刀架调节螺丝(图9),通过左右滑动薄垫片,直至感到薄垫片上存在轻微的压力。取出薄垫片。
-
在滚刀组的左侧,缓慢旋转滚刀,使最近的刀片经过第一个与第二个螺丝头之间的底刀刀刃。
-
对滚刀组左侧和左底刀架调节螺丝重复步骤4至6。
-
重复步骤5和6,直至滚刀组左右两侧的接触点存在轻微的压力。
-
要想使滚刀与底刀保持轻微接触,应将每个底刀架调节螺丝都顺时针旋转 3 格。
Note: 底刀架调节螺丝每旋转一格,底刀会移动 0.018mm(0.0007 英寸)。调节螺丝不要旋得太紧。顺时针旋转调节螺丝,使底刀刀刃更靠近滚刀。逆时针旋转调节螺丝,使底刀刀刃远离滚刀。
-
在滚刀与底刀间插入一长条剪切性能纸,纸要与滚刀和底刀垂直,检测剪切性能(图10)。缓慢向前旋转滚刀,剪切检测纸。

Note: 如果明显过度接触/感受到滚刀阻力太大,则需倒磨或研磨滚刀和底刀,以达到精确剪草所需的锋利刀刃。
研磨底刀
铲磨滚刀
新滚刀的棱面宽度为 0.76~1.27mm,铲磨角度为 30°。
当棱面宽度大于 3mm 时,请执行以下步骤:
-
对所有滚刀棱面进行 30° 铲磨,直至棱面宽度达到 0.76~1.27mm(图11)。

-
旋转打磨滚刀直至达到 <0.025mm 滚刀跳动。
Note: 这可能导致棱面宽度轻微增加。
Note: 为了使滚刀和底刀刀刃的锋利更加持久——打磨滚刀和/或底刀之后——在修剪 6 个果岭后应再次检查滚刀到底刀的接触,因为任何毛刺都要去除,毛刺可能导致滚刀与底刀之间产生不当的空隙,从而加速磨损。
检查顶面研磨角度
滚刀研磨规格
| 滚刀直径(新) | 128.5mm |
| 维修限值——滚刀直径 | 114.3mm |
| 滚刀轴直径(OD) | 34.9mm |
| 刀片铲磨角度 | 25~35° |
| 刀片棱面宽度 | 0.76~1.27mm |
| 刀片棱面宽度范围 | 0.8~1.2mm |
| 维修限值——滚刀直径,锥形 | 0.25mm |
调节后滚筒高度
根据您想要的剪草高度范围,需要将后滚筒支架(图14 或图15)调整到较低或较高的位置:
-
如 图14 所示,当剪草高度设置介于 1.5~6mm 之间时,将隔片放在侧板安装法兰的上方(出厂设置)。

-
如 图15 所示,当剪草高度设置介于 3~25mm 之间时,将隔片放在侧板安装法兰的下方(出厂设置)。

调节剪草高度
此滚刀组标配了 Edgemax 微剪底刀和标准底刀架。有效的剪草高度取决于之前的剪草机配置和草坪状况(即滚筒类型、底刀落后于滚刀中心线的距离、果岭的软硬、季节状况)。设置初始剪草高度时,应比原先的果岭剪草机设置高 0.25~0.38mm,并进行调整,匹配相关状况。
Note: 如果剪草高度超过 13mm,请安装高剪套件。
使用下图确定最适合所需剪草高度的底刀。
| 建议底刀/剪草高度表 | ||
| 底刀 | 零件号 | 剪草高度 |
| EdgeMax 微剪(标配) | 115-1880 (2100)117-1530 (1800) | 1.5~4.7mm |
| Edgemax 比赛(选件) | 115-1881 (2100)117-1532 (1800) | 3.1~12.7mm |
| 微剪(选件) | 93-4262 (2100)98-7261 (1800) | 1.5~4.7mm |
| 比赛(选件) | 93-4263 (2100)98-7260 (1800) | 3.1~12.7mm |
| 延伸微剪(选件) | 108-4303 (2100)110-2300 (1800) | 1.5 ~4.7mm |
| 延伸比赛(选件) | 108-4302 (2100) | 3.1~12.7 mm |
| 低剪(选件) | 93-4264 (2100)110-2301 (1800) | 4.7~25.4mm |
调整切距设置
滚刀组上有六种切距设置,您可以根据草坪状况做出选择。根据剪草高度设置切距,但之后应测试滚刀组并调整切距,以获得您想要的剪草质量。
-
按以下方式关闭机器:
-
汽油机型: 关闭发动机并断开火花塞电线的连接。
-
电动机型: 关闭机器并断开电池接头的连接(T 型手柄)。
-
-
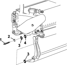
松开固定皮带罩的凸缘螺栓,取下皮带罩露出皮带(图20)。

-
松开轴承座螺母(图21)。

-
使用 16mm(⅝ 英寸)扳手,旋转轴承座,确保其可以自由操作。
-
拆下皮带 (图21)。
-
使用 图22 上的标贴中所示的图表,确定您需要的切距设置及您需要移动的皮带轮。
Note: 每个皮带轮都有编号(分别是 22、24 和 25 号)。将皮带轮移动到图中所示的位置,完成切距设置。

-
使用六角扳手,松开您需要移动的每个皮带轮上的两个固定螺丝。
-
拆下每个皮带轮。
-
按标贴 (图22) 中所示的新配置安装每个皮带轮。
Note: 确保每个皮带轮上的固定螺丝与轴上的键及平面部位对齐。
-
上紧固定螺丝扭矩至 8.3~8.9N·m。
-
安装皮带。
-
确保压缩弹簧对皮带 (图21) 施加张紧力。
-
旋紧轴承座螺母。
-
安装皮带罩。
调整出草挡板
调整出草挡板,确保草屑完全从滚刀区排出,操作方法如下:
Note: 挡板可以调整,以补偿草坪状况的变动。草坪异常干燥时,将挡板调整至更靠近滚刀。相反,当草坪状况较湿时,挡板应进一步远离滚刀。挡板应与滚刀平行,确保实现最佳性能。在滚刀磨床上磨刀之后要调节挡板。
-
松开将顶部挡板 (图23) 紧固到滚刀组的螺丝。

-
将 1.5mm(0.060 英寸)的塞尺插入滚刀顶部与挡板之间,并旋紧螺丝。
Important: 确保挡板和滚刀在整个滚刀组中保持等距。
维修底刀架/底刀
只有受过正确培训的机械师才可以维修底刀架和底刀,以防止损坏滚刀、底刀架或底刀。应携带滚刀组到您的 Toro 授权经销商处进行维修。请参阅您的主机维修手册,了解有关维修底刀的完整说明、专用工具及图纸。如果您需要自行拆卸或组装底刀架,请使用以下提供的维修底刀的说明和规范。
Important: 当维修底刀时,请始终遵循您的维修手册中详细描述的底刀程序。未能正确安装和研磨底刀,可能导致损坏滚刀、底刀架或底刀。
拆除底刀架
组装底刀架
安装底刀
-
清除底刀架表面的所有铁锈、水垢和腐蚀物,然后在底刀架表面抹上一层薄薄的油。
-
清洁螺丝螺纹
-
在螺丝上涂抹防粘剂,将底刀安装到底刀架上。

-
将 2 个外部螺丝的扭矩上紧至 1N·m。
-
按照从底刀中间向两端的顺序,上紧螺丝扭矩至 23~28N∙m。

-
研磨底刀
底刀规格
底刀研磨规格

| 标准底刀后角 | 最小 3° |
| 延长底刀后角 | 最小 7° |
| 前角范围 | 13~17° |
倒磨滚刀
危险
接触滚刀或其他活动件可能造成人身伤害。
确保手指、双手和衣服远离滚刀或其他活动件。
-
倒磨时远离滚刀。
-
倒磨时切勿使用短柄油漆刷。对于手柄组件零件,请联系您的 Toro 授权经销商。
您在倒磨滚刀时,可以将滚刀组留在主机上,或完全将滚刀组从主机上拆下。如果滚刀组留在主机上,应将主传动与滚刀组传动装置之间的六角联轴器移动到解除联轴的位置,防止滚刀制动器受到过度磨损。
-
将机器停在干净的水平地面上。
-
按以下方式关闭机器:
-
汽油机型: 关闭发动机并断开火花塞电线的连接。
-
电动机型: 关闭机器并断开电池接头的连接(T 型手柄)。
-
-
设定驻车刹车。
-
将 1/2 英寸内六角套筒连接到滚刀组左侧的滚刀皮带轮输出轴上,借此将倒磨机连接至滚刀组。
Note: 有关倒磨的其他说明和程序,请参阅 Toro 滚刀和旋刀剪草机磨刀手册(手册号为 80-300PT)。
Note: 为了获得状态更好的刀刃,可以在完成倒磨操作时用锉刀打磨底刀的前面。这将去除刀刃上可能累积的任何毛刺或粗糙边缘。在完全清除刀刃上的毛刺时,可能必须用非常轻的力度用锉刀打磨上边缘。
Note: 如果在倒磨时滚刀组与主机相连,请记得将机器的六角轴重新耦合到滚刀组上。


,即小心、警告或危险等个人安全指示。不遵循这些说明可能导致人身伤害甚至死亡事故。















