Vedlikehold
Note: Angi hva som er høyre og venstre side på maskinen ved å stå i normal arbeidsstilling.
Støtte klippeenheten
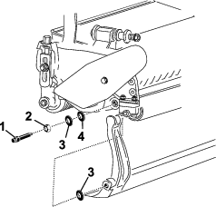
Når klippeenheten må tippes på siden for at du skal komme til motstål/spole, vipper du opp baksiden av klippeenheten for å sikre at mutterne bak på enden av justeringsskruene til motstangen ikke hviler på arbeidsoverflaten (Figur 8).

Justere kontakten mellom motstålet og spolen
Justere motstålet daglig
Før daglig klipping, eller eventuelt så ofte som du synes at det er nødvendig, sjekk alle klippeenheter for å kontrollere at det er skikkelig kontakt mellom motstålet og spolen. Utfør denne prosedyren selv om klippingen er av tilfredsstillende kvalitet.
-
Senk klippeenhetene ned på en hard flate.
-
Slå av maskinen på følgende måte:
-
Gassenheter: Stopp motoren, og koble fra tennpluggledningen.
-
Elektriske enheter: Slå av maskinen, og koble fra batterikoblingen (T-håndtak).
-
-
Drei spolen sakte i motsatt retning, mens du lytter for å sjekke om det er kontakt mellom spolen og motstålet.
-
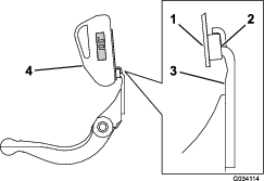
Hvis du ikke ser noe som tyder på kontakt, skru justeringsskruene til motstålet med klokken (Figur 9), ett hakk om gangen, til du merker og hører at det er lett kontakt.

Note: Spolen må klippe ett papir når den settes inn i en rett vinkel i forhold til motstålet, på begge sider og midten av spolen.
Note: Justeringsskruene til motstålet har sperrer som tilsvarer 0,018 mm motstålsbevegelse for hver indikatorposisjon.
-
Hvis det er for stor kontakt/spolemotstand, må du slipe, slipe om fremsiden av motstålet eller slipe klippeenheten for å få de skarpe kantene som kreves for å klippe presist (se Toros håndbok for sliping av spole- og rotasjonsgressklippere, skjemanr. 09168SL).
Important: Lett kontakt foretrekkes alltid. Hvis lett kontakt ikke forekommer, vil ikke motstålet og spolens egger være selvslipende, noe som fører til at kniveggene blir sløve etter bruk. Hvis det er for stor kontakt, slites motstål og spole raskere og kanskje ujevnt. Dette kan ha en uheldig innvirkning på klippekvaliteten.
Note: For eFlex-klippeenheter vil kontakten mellom spolen og motstålet ha betydelig innvirkning på energiforbruket. Svært liten kontakt er det beste for klippeytelse og batteriforbruket.
Note: Når spoleknivene fortsetter å skure mot motstålet, vil det komme fram en ru kant foran på kniveggens flate som er like lang som motstålet. Hvis du av og til bruker en fil til å pusse på tvers av den fremre kniven for å fjerne denne kanten, forbedres klippingen.Etter lang tids bruk utvikles det til slutt en ru kant på begge sider av motstålet. Avrund eller fil ned disse hakkene slik at de jevnes ut med motstålets knivegg, for å sørge for jevn bruk.
-
Justere motstålet etter sliping eller demontering.
Bruk denne prosedyren etter sliping eller demontering av spolen. Dette er ikke en daglig justering.
Note: For eFlex-klippeenheter vil kontakten mellom spolen og motstålet ha betydelig innvirkning på energiforbruket. Svært liten kontakt er det beste for klippeytelse og batteriforbruket.
-
Sett klippeenheten på en jevn, plan arbeidsoverflate.
-
Tipp klippeenheten slik at motstålet og spolen vises.
Note: Pass på at mutterne på baksiden av justeringsskruene for motstangen ikke hviler på arbeidsoverflaten (Figur 8).
-
Drei spolen slik at ett av knivbladene krysser kanten på motstålet mellom det første og andre skruehodet til motstålet på høyre side av klippeenheten.
-
Lag et identifiseringsmerke på kniven der den krysser kanten til motstålet.
Note: Dette vil gjøre senere justeringer enklere.
-
Sett inn et mellomlegg på 0,05 mm mellom knivbladet og kanten på motstålet i punktet du merket i trinn 4.
-
Juster høyre justeringsskrue på motstangen (Figur 9) til du kjenner et lett press på mellomlegget når du beveger det fra side til side. Fjern mellomlegget.
-
På venstre side av klippeenheten dreier du spolen sakte slik at det nærmeste knivbladet krysser kanten på motstålet mellom det første og andre skruehodet.
-
Gjenta trinn 4 til 6 for venstre side av klippeenheten og den venstre justeringsskruen på motstangen.
-
Gjenta trinn 5 og 6 til du får et lett trykk på kontaktpunktene på både venstre og høyre side av klippeenheten.
-
Du oppnår lett kontakt mellom spolen og motstålet ved å skru hver av justeringsskruene på motstangen tre klikk med klokken.
Note: Hvert klikk på justeringsskruen på motstangen flytter motstålet 0,018 mm. Justeringsskruene må ikke strammes for hardt.Å dreie justeringsskruen med klokken beveger kanten på motstålet nærmere spolen. Å dreie justeringsskruen mot klokken beveger kanten på motstålet bort fra spolen.
-
Test klippeytelsen ved å sette inn en lang remse testpapir mellom spolen og motstålet, rettvinklet i forhold til spolen og motstålet (Figur 10). Roter spolen sakte fremover for å klippe papiret.

Note: Hvis det er for stor kontakt/spolemotstand, må du slipe eller slipe om spolen og motstålet for å få de skarpe kantene som kreves for å klippe presist.
Sliping av motstålet
Baksliping av spolen
Den nye spolen har en kuttebredde på 0,76–1,27 mm og en 30 graders baksliping.
Gjør følgende når kuttebredden blir større enn 3 mm:
-
Bruk en 30 graders baksliping på alle spoleknivene til kuttebredden er 0,76–1,27 mm bred (Figur 11).

-
Slip spolen ved å spinne den til en urundhet som er mindre enn 0,025 mm.
Note: Dette får kuttebredden til å øke litt.
Note: For å forlenge levetiden til spoleeggenes og motstålets skarphet: Etter sliping av spolen og/eller motstålet, kontroller kontakten mellom spolen og motstålet igjen etter klipping av seks lengder. Dette fordi eventuelle ru kanter vil bli fjernet, noe som kan danne feil klaring mellom spolen og motstålet og dermed akselerere slitasjen.
Kontroller øvre slipevinkel
Vinkelen som du bruker til å slipe motstålet, er svært viktig.
Bruk vinkelindikatoren og vinkelindikatorfestet for å kontrollere vinkelen som slipeapparatet lager, og korriger for eventuell unøyaktighet.
-
Plasser vinkelindikatoren på undersiden av motstålet, som vist i Figur 12.

-
Trykk på Alt Zero-knappen på vinkelindikatoren.
-
Plasser vinkelindikatorfestet på kanten av motstålet slik at kanten på magneten er paret med kanten på motstålet (Figur 13).
Note: Det digitale displayet skal være synlig fra samme side under dette trinnet som den var i trinn 1.

-
Plasser vinkelindikatoren på festet som vist i Figur 13.
Note: Dette er vinkelen slipeapparatet lager, og bør være innenfor 2 grader av anbefalt øvre slipevinkel.
Spolens slipespesifikasjoner
| Spolediameter (ny) | 128,5 mm |
| Vedlikeholdsgrense – spolediameter | 114,3 mm |
| Spoleakseldiameter (YD) | 34,9 mm |
| Knivavlastningsvinkel | 25 til 35 ° |
| Knivkuttebredde | 0,76–1,27 mm |
| Knivkuttebreddeområde | 0,8–1,2 mm |
| Vedlikeholdsgrense – spolediameterkonus | 0,25 mm |
Justere høyden på den bakre valsen
Avhengig av ønsket høyde på klippeområdet må du justere de bakre valsebrakettene (Figur 14 eller Figur 15) til lav eller høy posisjon:
-
Plasser avstandsstykket over sideplatens monteringsflens (fabrikkinnstilling) når innstillingen for klippehøyde varierer fra 1,5 mm til 6 mm, som vist i Figur 14.

-
Plasser avstandsstykket under sideplatens monteringsflens når innstillingen av klippehøyden varierer fra 3 mm til 25 mm, som vist i Figur 15.

-
Hev den bakre delen av klippeenheten og plasser en blokk under motstålet.
-
Fjern de to mutterne som fester valsebrakettene og avstandsstykkene til hver enkelt av sideplatenes monteringsflenser.
-
Senk valsen og skruene fra sideplatenes monteringsflenser og avstandsstykker.
-
Plasser avstandsstykkene på skruene over eller under valsebrakettene, som påkrevd (Figur 14 eller Figur 15).
-
Fest valsebraketten og avstandsstykkene på undersiden av sideplatens monteringsflenser med mutrene du fjernet tidligere.
-
Bekreft at kontakten mellom motstålet og spolen er korrekt. Vipp gressklipperen rundt for å vise fremre og bakre valse samt motstålet.
Note: Plasseringen av den bakre valsen til spolen kontrolleres av maskineringstoleransen av de monterte komponentene, og parallellering er ikke nødvendig. En begrenset mengde tilpassing er mulig ved å feste klippeenheten på en overflateplate, og løsne sideplatenes monteringsmutre (Figur 16). Juster og stram boltene når du er ferdig.

Important: Når klippeenheten må tippes på siden for at du skal komme til motstål/spole, vipper du opp baksiden av klippeenheten for å sikre at mutterne bak på enden av justeringsskruene til motstangen ikke hviler på arbeidsoverflaten (Figur 8).
Justere klippehøyden
Denne klippeenheten leveres med Edgemax Micro-cut-motstål og standard motstang. Den effektive klippehøyden er avhengig av de forrige klipperkonfigurasjonene og gressforholdene (f.eks. valsetype, avstanden bak midten av motstålet, myk eller fast green, årstidforhold). Still innledende klippehøyde 0,25 mm til 0,38 mm høyere enn forrige oppsett, og juster etter forholdene.
Note: For klippehøyder som er over 13 mm, må sett for høy klippehøyde monteres.
Bruk følgende skjema for å avgjøre hvilken motvekt som passer best til den ønskede klippehøyden.
| Anbefalt motstål-/klippehøydeskjema | ||
| Motstål | Delenummer | Klippehøyde |
| Edgemax Micro-cut (standard) | 115-1880 (2100)117-1530 (1800) | 1,5 til 4,7 mm |
| Edgemax Tournament (valgfri) | 115-1881 (2100)117-1532 (1800) | 3,1 til 12,7 mm |
| Finklipping (valgfritt) | 93-4262 (2100)98-7261 (1800) | 1,5 til 4,7 mm |
| Tournament (valgfri) | 93-4263 (2100)98-7260 (1800) | 3,1 til 12,7 mm |
| Forlenget finklipping (valgfritt) | 108-4303 (2100)110-2300 (1800) | 1,5 til 4,7 mm |
| Forlenget Tournament (valgfri) | 108-4302 (2100) | 3,1 til 12,7 mm |
| Kort klipping (valgfritt) | 93-4264 (2100)110-2301 (1800) | 4,7 til 25,4 mm |
-
Løsne låsemutrene som fester klippehøydearmene til klippeenhetens sideplater (Figur 17).

-
Løsne mutteren på høydemåleren og fest justeringsskruen i ønsket klippehøyde (Figur 18).
Note: Klippehøyden er avstanden mellom bunnen av skruehodet og forsiden av stangen.

-
Hekt skruehodet på motstålets knivegg, og la den bakre delen av stangen hvile mot den bakre delen av valsen (Figur 19).

-
Vri på justeringsskruen helt til valsen kommer i kontakt med fronten av målestangen.
-
Juster begge ender av valsen slik at hele valsen er parallell med motstålet.
Important: Når klippehøyden er riktig justert, kommer de bakre og fremre valsene i kontakt med målestangen og skruen ligger tett inntil motstålet. Dette resulterer i at klippehøyden er lik i begge ender av motstålet.
-
Trekk til mutrene for å feste justeringen nok til å fjerne bevegelse i skiven.
Justere klippeinnstillingen
Det er seks klippeinnstillinger på klippeenheten som du kan stille inn etter gressforholdene. Start med å sette klippeinnstillingen til å matche klippehøyden, men test deretter klippeenheten og juster klippeinnstillingen for å oppnå ønsket klippekvalitet.
-
Slå av maskinen på følgende måte:
-
Gassenheter: Stopp motoren, og koble fra tennpluggledningen.
-
Elektriske enheter: Slå av maskinen, og koble fra batterikoblingen (T-håndtak).
-
-
Løsne flensboltene som fester remdekslet, og fjern remdekslet for å eksponere remmen (Figur 20).

-
Løsne mutteren på lagerhuset (Figur 21).

-
Bruk en 16 mm skrunøkkel til å rotere lagerhuset for å påse at det beveger seg fritt.
-
Fjern remmen (Figur 21).
-
Bruk skjemaet som er vist i på merket i Figur 22, og finn ut hvilken klippeinnstilling du ønsker og hvilke remskiver du må flytte.
Note: Hver remskive er nummerert (22, 24 og 25). Flytt remskivene til plasseringene som er angitt for klippeinnstillingen din i skjemaet.

-
Løsne de to settskruene på hver remskive du må flytte, ved hjelp av en sekskantet skrunøkkel.
-
Fjern hver remskive.
-
Monter hver remskive i den nye konfigurasjonen som angitt på merket (Figur 22).
Note: Pass på at settskruene på hver remskive er plassert på linje med nøkkelen og det flate området på akselen.
-
Stram settskruene til med et moment på 8,3 til 8,9 Nm.
-
Monter remmen.
-
Pass på at kompresjonsfjæren påfører spenning på remmen (Figur 21).
-
Trekk til lagerhusmutteren.
-
Monter remdekslet.
Justere klippestangen
Juster klippestangen slik at spoleområdet er helt fritt for gressrester, slik:
Note: Stangen er justerbar for å kompensere for endringer i gressforholdene. Du må justere stangen nærmere spolen når gresset er veldig tørt. Når gressforholdene er våte, justerer du derimot stangen lenger bort fra spolen. Stangen må være paralell med spolen for å sikre optimal ytelse. Juster den etter at spolen slipes med et slipeapparat.
-
Løsne skruene som fester den øverste stangen (Figur 23) til klippeenheten.

-
Sett inn et følerblad på 1,5 mm mellom toppen av spolen og stangen, og trekk til skruene.
Important: Sørg for at stangen og spolen har lik avstand til hverandre på tvers av hele spolen.
Vedlikeholde motstangen/motstålet
Bare en mekaniker med opplæring skal utføre service på motstangen og motstålet for å unngå skade på spolen, motstangen og motstålet. Lever klippeenheten til en autorisert Toro-distributør for service. Se servicehåndboken til trekkenheten for fullstendige instruksjoner, spesialverktøy og diagrammer for service på motstålet. Hvis du trenger å fjerne eller montere motstangen selv, finnes instruksjoner og spesifikasjonene for vedlikehold av motstålet nedenfor.
Important: Følg alltid prosedyrene for motstålet som er beskrevet i servicehåndboken når du vedlikeholder motstålet. Hvis du ikke monterer og sliper motstålet korrekt, kan det føre til skade på spole, motstang og motstål.
Fjerne motstangen
-
Skru justeringsskruen til motstangen mot klokken, til motstålets bakside, vekk fra spolen (Figur 24).

-
Skru ut fjærspenningsmutteren til skiven ikke lenger er strammet mot motstangen (Figur 24).
-
Løsne låsemutteren som fester motstangsbolten på begge sider av maskinen (Figur 25).

-
Fjern begge motstangsboltene, slik at motstangen kan dras nedover og fjernes fra maskinbolten (Figur 25).
Husk å ta skivene av nylon (2) og stanset stål (2) på hver side av motstangen med i beregningen (Figur 26).

Montere motstangen
-
Når du skal montere motstangen, må du plassere monteringsfestene mellom skiven og motstangsjustereren.
-
Fest motstangen på hver side av sideplaten ved hjelp av motstangsboltene (mutrene på boltene) og fire skiver (åtte totalt).
-
Plasser en nylonskive på hver side av sideplatens nav. Plasser en stålskive på utsiden av hver nylonskive (Figur 26).
-
Trekk motstangsboltene til med et moment på 27 til 36 N·m. Stram til låsemutrene for hånd til den ytre stålskiven slutter å rotere og det ikke finnes dødgang. Skivene på innsiden kan ha et mellomrom.
Important: kke stram låsemutterne for mye, da dette vil føre til at sideplatene bøyer av.
-
Stram fjærspenningsmutteren til fjæren er presset helt sammen. Skru deretter en halv omdreining ut (Figur 27).

Montere motstålet
-
Fjern rust, avskalling og korrosjon av motstålets flate, og påfør et tynt lag olje på motstålets flate.
-
Rengjør skruegjengene.
-
Påfør Never-Seize på skruene, og monter motstålet til motstangen.

-
Trekk til de to ytre skruene med et moment på 1 Nm.
-
Begynn fra midten av motstålet, og trekk til skruene med et moment på 23–28 Nm.

-
Slip motstålet.
Spesifikasjoner for motstål
Spesifikasjoner for sliping av motstål

| Frivinkel for standard motstål | Minimum 3 ° |
| Avlastningsvinkel for forlenget motstål | Minimum 7 ° |
| Fremre vinkelområde | 13° til 17° |
Slipe spolen
Fare
Kontakt med spolen eller deler som er i bevegelse, kan føre til personskader.
Hold fingre, hender og klær borte fra spolene eller andre bevegelige deler.
-
Hold avstand til spolen når du sliper.
-
Bruk aldri en pensel med kort håndtak når du sliper. Monteringsdeler for håndtak er tilgjengelige fra din lokale Toro-forhandler.
Du kan slipe spolene ved å enten la klippeenheten være på trekkenheten, eller fjerne klippeenheten fra trekkenheten fullstendig. Hvis klippeenheten blir værende på trekkenheten, må sekskantkoblingen mellom hoveddrivet og klippeenhetsdrivet flyttes til frakoblet posisjon for å forhindre slitasje på spolebremsen.
-
Sett maskinen på en ren og jevn flate.
-
Slå av maskinen på følgende måte:
-
Bensinenheter: Stopp motoren og koble fra tennpluggledningen.
-
Elektriske enheter: Slå av maskinen, og koble fra batterikoblingen (T-håndtak).
-
-
Sett på parkeringsbremsen.
-
Koble slipemaskinen til klippeenheten ved å koble en 1/2 tommes sekskanthodet sokkel til spoleremskivens utgående aksel på venstre side av klippeenheten.
Note: Ytterligere instruksjoner og fremgangsmåter om sliping finnes i Toros håndbok for sliping av spole- og rotasjonsgressklippere (skjemanr. 80-300PT).
Note: Hvis du vil ha en skarpere knivegg, bruker du en fil på tvers av motstålets forside når du er ferdig å slipe. Dette fjerner alle rue eller skarpe kanter på klippeenheten. En svært lett nedfiling kan være nødvendig på toppkanten for å bryte den ru kanten helt av klippekanten.
Note: Hvis klippeenheten fremdeles var festet til maskinen under slipingen, husk å koble maskinens sekskantede aksel på klippeenheten igjen.


), som betyr Forsiktig, Advarsel eller
Fare – personsikkerhetsinstruks. Hvis ikke disse instruksjonene
tas hensyn til, kan det føre til alvorlige personskader eller
dødsfall.





