Техническое обслуживание
Note: Определите левую и правую стороны машины относительно места оператора.
Поддержка режущего блока с помощью опоры
В случаях, когда необходимо наклонить режущий блок для получения доступа к неподвижному ножу (барабану), подложите опору под заднюю часть режущего блока, чтобы гайки, установленные с обратной стороны регулировочных винтов планки неподвижного ножа, не упирались в рабочую поверхность (Рисунок 8).

Регулировка контакта неподвижного ножа с барабаном
Ежедневная регулировка неподвижного ножа
Перед скашиванием (ежедневно или по мере необходимости) проверяйте у каждого режущего блока контакт неподвижного ножа с барабаном. Выполняйте эту проверку даже в случае, если качество среза является приемлемым.
-
Опустите режущие блоки на твердую поверхность.
-
Отключите машину следующим образом:
-
Устройства с бензиновыми двигателями: выключите двигатель и отсоедините провод свечи зажигания.
-
Электрические машины: выключите машину и отсоедините разъем аккумуляторной батареи (Т-образную ручку).
-
-
Медленно поверните барабан в противоположном направлении, прислушиваясь к звукам, возникающим при контакте барабана с неподвижным ножом.
-
Если явные признаки контакта отсутствуют, поворачивайте регулировочные винты планки неподвижного ножа по часовой стрелке по одному щелчку за раз до тех пор, пока не почувствуете или не услышите легкий контакт.Рисунок 9

Note: Барабан должен срезать один лист бумаги, вставленный под прямым углом к неподвижному ножу, с обеих сторон и в центре барабана.
Note: Регулировочные винты планки неподвижного ножа имеют фиксированные положения, каждое из которых соответствует перемещению неподвижного ножа на 0,018 мм.
-
При явно выраженном чрезмерном контакте (тянущем усилии барабана) потребуется заточка методом обратного вращения, шлифовка передней части неподвижного ножа или переточка режущего блока, чтобы получить острые кромки для точного скашивания (см. Руководство компании Toro по заточке барабанных и ротационных газонокосилок , форма № 09168SL).
Important: Предпочтительно, чтобы постоянно был легкий контакт. Если легкий контакт не поддерживается, кромки неподвижного ножа и барабана самозатачиваются недостаточно и затупляются после периода эксплуатации. В случае избыточного контакта происходит более быстрый и неравномерный износ неподвижного ножа и барабана, что может ухудшить качество скашивания.
Note: В режущих блоках eFlex контакт барабана с неподвижным ножом значительно влияет на потребление энергии. Для оптимальных характеристик скашивания и минимального расхода энергии аккумулятора рекомендуется поддерживать очень легкий контакт.
Note: Так как ножи барабана во время работы прижимаются к неподвижному ножу, возникает небольшой задир на поверхности передней режущей кромки по всей длине неподвижного ножа. Для повышения качества скашивания рекомендуется время от временем удалять задир на передней кромке напильником.После продолжительной работы на обоих концах неподвижного ножа образуется гребень. Чтобы обеспечить бесперебойную работу машины, сточите или спилите напильником эти зазубрины с режущей кромки неподвижного ножа.
-
Регулировка неподвижного ножа после шлифовки, заточки обратным вращением или разборки.
Выполняйте эту процедуру после шлифовки, заточки обратным вращением или разборки барабана. Она не является ежедневной процедурой регулировки.
Note: В режущих блоках eFlex контакт барабана с неподвижным ножом значительно влияет на потребление энергии. Для оптимальных характеристик скашивания и минимального расхода энергии аккумулятора рекомендуется поддерживать очень легкий контакт.
-
Установите режущий блок на ровной рабочей поверхности.
-
Наклоните режущий блок, чтобы получить доступ к неподвижному ножу и барабану.
Note: Убедитесь, что гайки с обратной стороны регулировочных винтов планки неподвижного ножа не упираются в рабочую поверхность (Рисунок 8).
-
Поверните барабан таким образом, чтобы один из ножей пересекал кромку неподвижного ножа между головками первого и второго винтов неподвижного ножа с правой стороны режущего блока.
-
Нанесите метку на этом ноже в месте его пересечения с кромкой неподвижного ножа.
Note: Это облегчит последующие регулировки.
-
Вставьте регулировочную прокладку толщиной 0,05 мм между ножом и кромкой неподвижного ножа в точке, отмеченной при выполнении пункта 4.
-
Поворачивайте правый регулировочный винт планки неподвижного ножа (Рисунок 9), пока не почувствуете легкое давление на регулировочной прокладке при перемещении ее из стороны в сторону. Удалите регулировочную прокладку.
-
С левой стороны режущего блока медленно поверните барабан так, чтобы ближайший нож пересекал кромку неподвижного ножа между головками первого и второго винтов.
-
Повторите действия, описанные в пунктах с 4 по 6, для левой стороны режущего блока и левого регулировочного винта планки неподвижного ножа.
-
Повторяйте действия, описанные в пунктах 5 и 6, до возникновения легкого усилия в точках контакта с правой и левой стороны режущего блока.
-
Чтобы между барабаном и неподвижным ножом был легкий контакт, поверните каждый регулировочный винт планки неподвижного ножа по часовой стрелке на 3 щелчка.
Note: Каждый щелчок при повороте винта планки неподвижного ножа сдвигает неподвижный нож на 0,018 мм. Не затягивайте регулировочные винты слишком сильно.При повороте регулировочного винта по часовой стрелке неподвижный нож перемещается к барабану. При повороте регулировочного винта против часовой стрелки неподвижный нож перемещается от барабана.
-
Проверьте характеристики скашивания, вставив длинную полоску бумаги между барабаном и неподвижным ножом перпендикулярно барабану и неподвижному ножу (Рисунок 10). Медленно проворачивайте барабан вперед, при этом бумага должна разрезаться.

Note: При явно выраженном излишнем контакте (сопротивлении барабана), необходимо выполнить заточку обратным вращением или шлифовку барабана и неподвижного ножа для получения острых кромок, необходимых для точного скашивания.
Заточка неподвижного ножа.
Затыловочное шлифование барабана
Ширина витка нового барабана составляет от 0,76 до 1,27 мм, он заточен затыловочным шлифованием под 30 градусов.
Когда ширина витка становится больше 3 мм, выполните следующие действия:
-
Произведите 30-градусное затыловочное шлифование всех ножей барабана, пока не будет достигнута ширина витка 0,76 – 1,27 мм (Рисунок 11).

-
Произведите шлифование методом вращения барабана, чтобы получить биение барабана <0,025 мм.
Note: При этом ширина витка немного увеличится.
Note: Чтобы кромки барабана и неподвижного ножа оставались острыми как можно дольше после шлифования барабана и/или неподвижного ножа, проверьте контакт барабана с неподвижным ножом еще раз после скашивания 6 гринов, так как при этом будут удалены любые оставшиеся заусенцы, что может привести к нарушению зазора между барабаном и неподвижным ножом и тем самым ускорить износ.
Проверка верхнего угла заточки
Угол заточки неподвижных ножей очень важен.
Используйте индикатор угла и крепление для индикатора угла, чтобы проверить угол, который обеспечивает устройство для заточки, и при наличии отклонений скорректируйте его.
-
Установите индикатор угла на нижней стороне неподвижного ножа, как показано на Рисунок 12.

-
Нажмите кнопку Alt Zero (Нулевая высота) на индикаторе угла.
-
Установите крепление индикатора угла на кромке неподвижного ножа так, чтобы кромка магнита совпала с кромкой неподвижного ножа (Рисунок 13).
Note: При выполнении действий, описанных в данном пункте, цифровой дисплей должен быть виден с той же стороны, что и при выполнении действий, описанных в пункте 1.

-
Установите индикатор угла на крепление, как показано на Рисунок 13.
Note: Угол, получаемый с помощью устройства для заточки, не должен отличаться более чем на 2 градуса от рекомендованного верхнего угла заточки.
Характеристики заточки барабанов
| Диаметр барабана (новое изделие) | 128,5 мм |
| Эксплуатационный предел – диаметр барабана | 114,3 мм |
| Диаметр вала барабана (наружный диаметр) | 34,9 мм |
| Задний угол ножа | От 25 до 35° |
| Ширина витка ножа | От 0,76 до 12,7 мм |
| Диапазон ширины витка ножа | От 0,8 до 1,2 мм |
| Эксплуатационный предел – конусность по диаметру барабана | 0,25 мм |
Регулировка высоты заднего валика
В зависимости от требуемого диапазона высоты скашивания установите кронштейны заднего валика (Рисунок 14 или Рисунок 15) в нижнее или верхнее положение:
-
При настройке высоты скашивания в диапазоне от 1,5 до 6 мм установите проставку над монтажным фланцем боковой пластины (заводская настройка), как показано на Рисунок 14.

-
При настройке высоты скашивания в диапазоне от 3 до 25 мм установите проставку под монтажным фланцем боковой пластины, как показано на Рисунок 15.

-
Поднимите заднюю часть режущего блока и установите подставку под неподвижный нож.
-
Отверните две гайки крепления каждого кронштейна валика и проставки в каждом монтажном фланце боковой пластины.
-
Извлеките валик и винты из монтажных фланцев боковой пластины и проставок.
-
Установите проставки на винты над или под кронштейнами валика, в соответствии с требуемым положением (Рисунок 14 или Рисунок 15).
-
Прикрепите кронштейн валика и проставки к нижней части монтажных фланцев с помощью двух ранее снятых гаек.
-
Убедитесь в правильности контакта неподвижного ножа с барабаном. Переверните газонокосилку, чтобы получить доступ к передним и задним валикам и неподвижному ножу.
Note: Положение заднего валика относительно барабана регулируется допусками на механическую обработку собранных компонентов; параллельное выравнивание при этом не требуется. Частично положение валика можно отрегулировать, установив режущий блок на поверочную плиту и ослабив монтажные болты боковой пластины (Рисунок 16). По окончании отрегулируйте и затяните болты.

Important: При наклоне режущего блока для доступа к неподвижному ножу или барабану обоприте заднюю часть режущего блока на опору, чтобы гайки, установленные с обратной стороны регулировочных винтов планки неподвижного ножа, не упирались в рабочую поверхность (Рисунок 8).
Регулировка высоты скашивания
В стандартную комплектацию режущего блока входит неподвижный нож Edgemax Micro-cut и стандартная планка неподвижного ножа. Эффективная высота скашивания зависит от предыдущих настроек газонокосилки и состояния травяного покрова (например, от типа валика, межцентрового расстояния основания неподвижного ножа, мягкого или жесткого газона, сезонных условий). Установите первоначальную высоту скашивания на 0,25–0,38 мм выше предыдущей настройки газонокосилки и отрегулируйте в соответствии с условиями.
Note: Для получения высоты скашивания свыше 13 мм необходимо установить комплект для большой высоты скашивания.
Используйте следующую таблицу для определения, какой неподвижный нож лучше всего подходит для нужной высоты скашивания.
| Таблица рекомендуемых неподвижных ножей / высоты скашивания | ||
| Неподвижный нож | Номер по каталогу | Высота скашивания |
| Edgemax Micro-cut (стандартный) | 115-1880 (2100)117-1530 (1800) | От 1,5 до 4,7 мм |
| Edgemax Tournament (дополнительный) | 115-1881 (2100)117-1532 (1800) | От 3,1 до 12,7 мм |
| Micro-cut (дополнительный) | 93-4262 (2100)98-7261 (1800) | От 1,5 до 4,7 мм |
| Tournament (дополнительный) | 93-4263 (2100)98-7260 (1800) | От 3,1 до 12,7 мм |
| Extended Micro-cut (дополнительный) | 108-4303 (2100)110-2300 (1800) | От 1,5 до 4,7 мм |
| Extended Tournament (дополнительный) | 108-4302 (2100) | От 3,1 до 12,7 мм |
| Low-cut (дополнительный) | 93-4264 (2100)110-2301 (1800) | От 4,7 до 25,4 мм |
-
Ослабьте контргайки крепления рычагов регулировки высоты скашивания к боковым пластинам режущего блока (Рисунок 17).

-
Ослабьте гайку мерной планки и установите регулировочный винт на требуемую высоту скашивания (Рисунок 18).
Note: Высота скашивания равняется расстоянию от низа головки винта до поверхности планки.

-
Зацепите головку винта за режущую кромку неподвижного ножа и приложите заднюю часть планки к задней части валика (Рисунок 19).

-
Поворачивайте регулировочный винт, пока валик не коснется переднего конца мерной планки.
-
Регулируйте оба конца валика до тех пор, пока весь валик не станет параллелен неподвижному ножу.
Important: При правильной установке задний и передний валики касаются мерной планки, а винт плотно прижат к неподвижному ножу. Это обеспечивает одинаковую высоту скашивания с обеих сторон неподвижного ножа.
-
Затяните гайки с усилием, достаточным для фиксации выполненной регулировки и устранения люфта в шайбе.
Регулировка настройки срезания
На режущем блоке имеется шесть настроек срезания, устанавливаемых в зависимости от состояния грунта. Начните работу с настройки срезания, соответствующей высоте скашивания, но затем проверьте режущий блок и отрегулируйте срезание для получения требуемого качества скашивания.
-
Отключите машину следующим образом:
-
Устройства с бензиновыми двигателями: выключите двигатель и отсоедините провод свечи зажигания.
-
Электрические машины: выключите машину и отсоедините разъем аккумуляторной батареи (Т-образную ручку).
-
-
Выверните болт с буртиком, который крепит крышку ремня, и снимите крышку ремня, чтобы открыть ремень (Рисунок 20).

-
Ослабьте гайку корпуса подшипника (Рисунок 21).

-
Гаечным ключом на 16 мм поверните корпус подшипника, чтобы убедиться, что он вращается свободно.
-
Снимите ремень (Рисунок 21).
-
Используя таблицу, приведенную на наклейке в Рисунок 22, определите нужную настройку срезания и какие шкивы необходимо переместить.
Note: Каждый шкив пронумерован (номера 22, 24 и 25). Переместите шкивы в положения, указанные в таблице настройки срезания.

-
С помощью шестигранного ключа ослабьте два установочных винта на каждом шкиве, который нужно переставить.
-
Снимите необходимые шкивы.
-
Установите каждый шкив в новой конфигурации, как показано на наклейке (Рисунок 22).
Note: С помощью установочных винтов совместите каждый шкив со шпонкой и плоской зоной на валу.
-
Затяните установочные винты с моментом от 8,3 до 8,9 Н∙м.
-
Установите ремень.
-
Убедитесь, что на ремень воздействует усилие от пружины сжатия (Рисунок 21).
-
Затяните гайку корпуса подшипника.
-
Установите крышку ремня.
Регулировка отражателя
Отрегулируйте отражатель так, чтобы вся скошенная трава выбрасывалась из области барабана:
Note: Отражатель можно отрегулировать для компенсации изменения состояния травяного покрова. Если травяной покров очень сухой, путем регулировки уменьшите расстояние между отражателем и барабаном. И наоборот, отведите отражатель дальше от барабана, когда травяной покров влажный. Для обеспечения оптимальной производительности отражатель должен быть параллелен барабану. Отрегулируйте его после заточки барабана на станке.
-
Ослабьте винты крепления верхней планки (Рисунок 23) к режущему блоку.

-
Вставьте толщиномер на 1,5 мм между верхней поверхностью барабана и отражателем и затяните винты.
Important: Убедитесь, что отражатель и барабан находятся на равном расстоянии друг от друга по всей длине барабана.
Техническое обслуживание планки и неподвижного ножа
Во избежание повреждения барабана, планки и неподвижного ножа, к обслуживанию планки и неподвижного ножа допускается только прошедший надлежащее обучение механик. Отправьте режущий блок официальному дистрибьютору Toro для технического обслуживания. Полные инструкции, сведения по специальным инструментам и графики техобслуживания неподвижного ножа см. в Руководстве по техническому обслуживанию тягового блока. Если вам когда-либо потребуется снимать или собирать планку неподвижного ножа самостоятельно, следуйте приведенным ниже инструкциям по обслуживанию неподвижного ножа с учетом прилагаемых технических характеристик.
Important: Техобслуживание неподвижного ножа следует выполнять в строгом соответствии с процедурами для неподвижного ножа, подробно изложенными в Руководстве по техническому обслуживанию. Неправильная установка и шлифовка неподвижного ножа могут привести к повреждению барабана, планки или неподвижного ножа.
Демонтаж планки неподвижного ножа
-
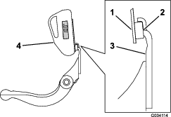
Поворачивайте винт регулировки планки неподвижного ножа против часовой стрелки, чтобы отвести неподвижный нож от барабана (Рисунок 24).

-
Отвинчивайте гайку натяжения пружины до тех пор, пока шайба больше не будет нажимать на планку неподвижного ножа (Рисунок 24).
-
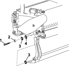
С каждой стороны машины ослабьте контргайку, которая фиксирует болт планки неподвижного ножа (Рисунок 25).

-
Выверните все болты планки неподвижного ножа, чтобы отвести планку вниз и снять ее с болта машины (Рисунок 25).
Не забудьте снять две нейлоновые и две штампованные стальные шайбы с каждой стороны планки неподвижного ножа (Рисунок 26).

Сборка планки неподвижного ножа
-
Установите планку неподвижного ножа, расположив монтажные проушины между шайбой и регулятором планки неподвижного ножа.
-
Прикрепите планку неподвижного ножа к боковым пластинам с помощью болтов планки неподвижного ножа (гаек на болтах) и 4 шайб (всего 8 шт.).
-
Установите нейлоновую шайбу с каждой стороны выступа боковой пластины. Установите стальную шайбу с наружной стороны каждой из нейлоновых шайб (Рисунок 26).
-
Затяните болты планки неподвижного ножа с моментом от 27 до 36 Н∙м. Затяните контргайки от руки с таким усилием, чтобы наружные стальные шайбы перестали вращаться и осевой люфт был устранен. Шайбы внутри могут иметь зазор.
Important: Во избежание деформации боковых пластин не затягивайте контргайки слишком сильно.
-
Затяните гайку натяжения пружины, чтобы пружина полностью сжалась, затем отверните ее на 1/2 оборота (Рисунок 27).

Установка неподвижного ножа
-
Удалите ржавчину, окалину и коррозию с поверхности неподвижного ножа и нанесите тонкий слой масла на его поверхность.
-
Очистите резьбовые поверхности винтов.
-
Нанесите противозадирный состав на винты и установите неподвижный нож на планку неподвижного ножа.

-
Затяните 2 наружных винта с моментом 1 Н∙м.
-
Затяните винты с моментом 23 до 28 Н∙м, начиная от середины неподвижного ножа.

-
Заточите неподвижный нож.
Технические характеристики неподвижного ножа
Характеристики заточки неподвижного ножа

| Задний угол стандартного неподвижного ножа | Минимум 3° |
| Задний угол увеличенного неподвижного ножа | Минимум 7° |
| Диапазон передних углов | От 13° до 17°. |
Заточка барабана обратным вращением
Опасно
Прикосновение к барабану или другим движущимся частям может привести к травме.
Следите, чтобы пальцы, руки и одежда находились на безопасном расстоянии от барабанов или других движущихся частей.
-
Держитесь на безопасном расстоянии от барабана при заточке обратным вращением.
-
Никогда не используйте малярную щетку с короткой ручкой при заточке обратным вращением. Чтобы заказать отдельные части ручки в сборе, обратитесь к официальному дистрибьютору компании Toro.
Заточку обратным вращением можно производить, оставив режущий блок на тяговом блоке или полностью сняв режущий блок с тягового блока. Если режущий блок оставлен на тяговом блоке, шестигранную муфту между основным приводом и приводом режущего блока необходимо разъединить для предотвращения чрезмерного износа тормоза барабана.
-
Установите машину на чистой ровной поверхности.
-
Отключите машину следующим образом:
-
Устройства с бензиновыми двигателями: выключите двигатель и отсоедините провод свечи зажигания.
-
Электрические машины: выключите машину и отсоедините разъем аккумуляторной батареи (Т-образную ручку).
-
-
Включите стояночный тормоз.
-
Подключите механизм заточки обратным вращением к режущему блоку, подсоединив шестигранную торцевую головку 1/2 дюйма к выходному валу шкива барабана с левой стороны режущего блока.
Note: Дополнительные указания и описания процедур заточки обратным вращением приведены в Руководстве компании Toro по заточке барабанных и ротационных газонокосилок (форма № 80-300PT).
Note: Чтобы улучшить режущую кромку, после окончания заточки обратным вращением обработайте напильником переднюю поверхность неподвижного ножа. Это позволит удалить все заусенцы или неровные края, которые могут образоваться на режущей кромке. Чтобы полностью удалить задир с режущей кромки, иногда достаточно слегка пройтись напильником по верхней кромке.
Note: Если режущий блок был оставлен подсоединенным к машине во время заточки обратным вращением, снова подсоедините шестигранный вал машины к режущему блоку.


, которые
имеют следующее
значение: «Внимание!»,
«Осторожно!» или
«Опасно!» – указания
по обеспечению
безопасности персонала.
Несоблюдение данных
инструкций может
стать причиной
травмы или гибели.





