Manutenção
Note: Determine os lados direito e esquerdo da máquina a partir da posição normal de utilização.
Suporte da unidade de corte
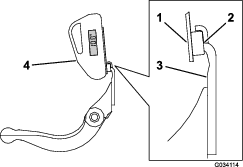
Se for necessário inclinar a unidade de corte para que a lâmina de corte e o cilindro fiquem expostos, coloque um apoio por baixo da traseira da unidade de corte para assegurar que as porcas nos parafusos de ajuste da extremidade traseira da barra de apoio não fiquem apoiadas sobre a superfície de trabalho (Figura 8).

Ajuste do contacto da lâmina de corte ao cilindro
Ajuste diário da lâmina de corte
Antes do corte todos os dias, ou conforme necessário, cada unidade de corte tem de ser verificada para ver o correto contacto da lâmina em relação ao cilindro. Efetue este procedimento, mesmo que a qualidade do corte seja aceitável.
-
Desça as unidades de corte para uma superfície rígida.
-
Desligue a máquina da seguinte forma:
-
Unidades a gasolina: pare o motor e desligue o fio da vela de ignição.
-
Unidades elétricas: desligue a máquina e desligue o conector da bateria (pega em T).
-
-
Rode lentamente o cilindro na direção contrária, ouvindo o contacto da lâmina em relação ao cilindro.
-
Se não houver contacto evidente, rode os parafusos de ajuste da barra de apoio no sentido dos ponteiros do relógio (Figura 9), um clique de cada vez, até que se veja e oiça um leve contacto.

Note: O cilindro tem de cortar uma folha de papel quando inserido a um ângulo reto em relação à lâmina de corte, em ambas as extremidades e no centro do cilindro.
Note: Os parafusos de ajuste da barra de apoio possuem entalhes que correspondem a 0,018 mm do movimento da lâmina para cada posição indexada.
-
Se for evidente contacto/arrasto excessivos será necessário retificar ou refacear a ponta da lâmina de corte ou amolar a unidade de corte para obter pontas afiadas, imprescindíveis para um corte de precisão (consulte o manual de afinação de cilindros e cortadores rotativos Toro, Formulário N.º 09168SL).
Important: É sempre preferido um leve contacto. Se não for mantido um leve contacto, as extremidades da lâmina/cilindro não se autoajustam suficientemente e resulta em extremidades de corte pouco afiadas após o funcionamento. Se for mantido contacto excessivo, o desgaste da lâmina/cilindro é acelerado e pode dar origem a desgaste irregular e a qualidade de corte pode ser negativamente afetada.
Note: Para unidades de corte eFlex, o contacto entre o cilindro e a lâmina tem um impacto significativo no consumo de energia. Recomenda-se um contacto muito ligeiro para um desempenho de corte e consumo da bateria ideais.
Note: À medida que as lâminas do cilindro continuam a passar na lâmina, surge uma leve irregularidade na superfície de corte ao longo de todo o comprimento da lâmina. Passe ocasionalmente uma lima pela extremidade frontal para remover esta irregularidade para melhorar o corte.Depois de utilização alargada, pode desenvolver-se leiva em ambas as extremidades da lâmina. Estes nós têm de ser arredondados ou alinhados com a extremidade de corte da lâmina para assegurar um bom funcionamento.
-
Ajuste da lâmina de corte após amolação, manutenção ou desmontagem
Utilize este procedimento após amolar, retificar ou desmontar o cilindro. Este não é um ajuste diário.
Note: Para unidades de corte eFlex, o contacto entre o cilindro e a lâmina tem um impacto significativo no consumo de energia. Recomenda-se um contacto muito ligeiro para um desempenho de corte e consumo da bateria ideais.
-
Coloque a unidade de corte numa superfície de trabalho plana e nivelada.
-
Incline a unidade de corte para que a lâmina de corte e o cilindro fiquem expostos.
Note: Certifique-se de que as porcas ou parafusos da extremidade traseira da barra de apoio não estão apoiados na superfície de trabalho (Figura 8).
-
Rode o cilindro de forma a que uma das lâminas cruze a extremidade da lâmina de corte entre a primeira e segunda cabeça dos parafusos do lado direito da unidade de corte.
-
Coloque uma marca de identificação na lâmina onde cruza com a extremidade da lâmina de corte.
Note: Isto vai facilitar os ajustes subsequentes.
-
Insira um calço de 0,05 mm entre a lâmina e a extremidade da lâmina de corte no ponto marcado no passo 4.
-
Rode o parafuso de ajuste da barra de apoio direita (Figura 9) até sentir uma ligeira pressão no calço deslizando-o de um lado para o outro. Retire o calço.
-
Para o lado esquerdo da unidade de corte, rode lentamente o cilindro de forma a que a lâmina mais próxima cruze a extremidade da lâmina de corte entre a primeira e segunda cabeça dos parafusos.
-
Repita os passos 4 a 6 para o lado esquerdo da unidade de corte e parafuso de ajuste da barra de apoio do lado esquerdo.
-
Repita os passos 5 a 6 até que exista uma ligeira pressão nos pontos de contacto nos lados esquerdo e direito da unidade de corte.
-
Para obter o ligeiro contacto entre a lâmina de corte e o cilindro, rode cada parafuso de ajuste da barra de apoio no sentido dos ponteiros do relógio 3 cliques.
Note: Com cada clique no parafuso de ajuste, a lâmina de corte desloca-se 0,018 mm. Não aperte demasiado os parafusos de ajuste.Rodar o parafuso de ajuste no sentido dos ponteiros do relógio move a lâmina de corte na direção do cilindro. Rodar o parafuso de ajuste no sentido contrário ao dos ponteiros do relógio move a lâmina de corte na direção oposta à do cilindro.
-
Teste o desempenho de corte inserindo uma fita comprida de papel de desempenho de corte entre o cilindro e a lâmina de corte, perpendicular ao cilindro e à lâmina (Figura 10). Lentamente, rode o cilindro para a frente para cortar o papel.

Note: Se for evidente contacto/arrasto excessivos poderá ter de retificar ou amolar o cilindro ou a lâmina de corte para obter pontas afiadas, imprescindíveis para um corte de precisão.
Amolação da lâmina
Amolação de retificação do cilindro
O novo cilindro tem uma largura de 0,76 a 1,27 mm e 30 graus de amolação de retificação.
Quando a largura for superior a 3 mm, faça o seguinte:
-
Aplique uma amolação de retificação de 30 graus em todas as lâminas do cilindro até a largura ser de 0,76 a 1,27 mm (Figura 11).

-
Rode o cilindro para obter <0,025 mm de excentricidade do cilindro.
Note: Isto faz com que a largura aumente ligeiramente.
Note: Para manter a extremidade do cilindro e a lâmina de corte afiados durante mais tempo – após amolar o cilindro e/ou a lâmina de corte – verifique novamente o contacto entre o cilindro e a lâmina de corte após cortar 6 greens, visto que as irregularidades serão removidas, o que pode dar origem a um afastamento incorreto entre o cilindro e a lâmina de corte e, assim, acelerar o desgaste.
Verificação do ângulo de amolação superior
O ângulo que utiliza para amolar as lâminas de corte é muito importante.
Utilize o indicador do ângulo e o suporte do indicador do ângulo para verificar o ângulo que o amolador produz e, depois, corrigir qualquer imprecisão na amolação.
-
Coloque o indicador do ângulo no lado inferior da lâmina de corte, como se mostra na Figura 12.

-
Prima o botão Alt Zero no indicador do ângulo.
-
Coloque o suporte do indicador do ângulo na extremidade da lâmina de corte de modo a que a extremidade do íman coincida com a extremidade da lâmina de corte (Figura 13).
Note: O ecrã digital deve ser visível a partir do mesmo lado durante este passo, tal como foi no passo 1.

-
Coloque o indicador do ângulo no suporte, como se mostra na Figura 13.
Note: Este é o ângulo que o amolador produz e deve estar a 2 graus do ângulo de amolação recomendado.
Especificações de amolação do cilindro
| Diâmetro do cilindro (novo) | 128,5 mm |
| Limite de serviço – diâmetro do cilindro | 114,3 mm |
| Diâmetro do eixo do cilindro (diâmetro externo) | 34,9 mm |
| Ângulo de incidência da lâmina | 25°–35° |
| Largura da lâmina | 0,76–1,27 mm |
| Intervalo da largura da lâmina | 0,8–1,2 mm |
| Limite de serviço – cone do diâmetro do cilindro | 0,25 mm |
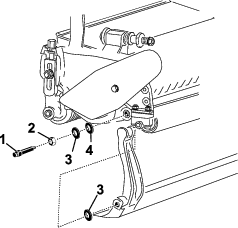
Ajuste da altura do rolo traseiro
Dependendo do intervalo de altura de corte desejado, ajuste os suportes do rolo traseiro (Figura 14 ou Figura 15) para a posição inferior ou superior:
-
Posicione o espaçador acima da flange de montagem da placa lateral (definição de origem) se as definições da altura de corte variarem entre 1,5 e 6 mm, como se mostra na Figura 14.

-
Posicione o espaçador abaixo da flange de montagem da placa lateral quando as definições da altura de corte variarem entre 3 e 25 mm, como se mostra na Figura 15.

-
Levante a parte traseira da unidade de corte e coloque um bloco debaixo da lâmina de corte.
-
Retire as 2 porcas que estão a fixar cada suporte do rolo e os distanciadores de cada flange de montagem da placa lateral.
-
Baixe o rolo e os parafusos das flanges de montagem da placa lateral e espaçadores.
-
Coloque os distanciadores nos parafusos acima ou abaixo dos suportes do cilindro, consoante o necessário (Figura 14 ou Figura 15).
-
Reaperte o suporte do cilindro e os distanciadores na parte inferior dos flanges de montagem com as porcas previamente retiradas.
-
Verifique se o contacto entre a lâmina e o cilindro está correto. Incline o cortador de modo a expor os rolos dianteiro e traseiro, assim como a lâmina de corte.
Note: A posição do rolo traseiro em relação ao cilindro é controlada pelas tolerâncias mecânicas dos componentes montados, não sendo necessário nenhum dispositivo de colocação em paralelo. Podem ser efetuados determinados ajustes, colocando a unidade de corte numa placa e desapertando as cavilhas de montagem da placa lateral (Figura 16). Ajuste e aperte os parafusos quando concluir.

Important: Se for necessário inclinar a unidade de corte para que a lâmina de corte e o cilindro fiquem expostos, coloque um apoio por baixo da traseira da unidade de corte para assegurar que as porcas nos parafusos de ajuste da extremidade traseira da barra de apoio não fiquem apoiadas sobre a superfície de trabalho (Figura 8).
Ajuste da altura de corte
Esta unidade de corte é fornecida padrão com a lâmina de microcorte EdgeMax e barra de apoio padrão. A altura de corte efetiva é dependente das configurações prévias do cortador e condições da relva (ou seja, tipo de cilindro, distância ao centro da lâmina de corte traseira, relva macia ou firme, condições climatéricas). Regule a altura de corte inicial para 0,25–0,38 mm mais alta do que a configuração do cortador anterior e ajuste para se adequar às condições.
Note: Para obter uma altura de corte superior a 13 mm, é necessário colocar o kit de altura de corte elevada.
Utilize a seguinte tabela para determinar qual a lâmina de corte que mais se adequa à altura de corte desejada.
| Quadro de lâmina/altura de corte recomendado | ||
| Lâminas de corte | Número de peça | Altura de corte |
| Microcorte EdgeMax (Standard) | 115-1880 (2100)117-1530 (1800) | 1,5–4,7 mm |
| Torneio EdgeMax (Opcional) | 115-1881 (2100)117-1532 (1800) | 3,1–12,7 mm |
| Microcorte (opcional) | 93-4262 (2100)98-7261 (1800) | 1,5–4,7 mm |
| Torneio (Opcional) | 93-4263 (2100)98-7260 (1800) | 3,1–12,7 mm |
| Microcorte alargado (opcional) | 108-4303 (2100)110-2300 (1800) | 1,5–4,7 mm |
| Torneio alargado (opcional) | 108-4302 (2100) | 3,1–12,7 mm |
| Baixo-corte (opcional) | 93-4264 (2100)110-2301 (1800) | 4,7–25,4 mm |
-
Desaperte as porcas de bloqueio que fixam os braços da altura de corte às placas laterais da unidade de corte (Figura 17).

-
Desaperte a porca da barra indicadora e regule o parafuso de ajuste para a altura de corte desejada (Figura 18).
Note: A altura de corte corresponde à distância entre a parte inferior da cabeça do parafuso e a superfície da barra.

-
Prenda a cabeça do parafuso à extremidade cortante da lâmina de corte e apoie a extremidade traseira da barra na traseira do rolo (Figura 19).

-
Rode o parafuso de ajuste até que o rolo entre em contacto com a dianteira da barra indicadora.
-
Ajuste ambas as extremidades do rolo até que todo o rolo esteja paralelo à lâmina de corte.
Important: Quando ajustados corretamente, os rolos traseiro e dianteiro entram em contacto com a barra indicadora e o parafuso fica encostado à lâmina de corte. Desta forma, a altura de corte é igual em ambas as extremidades da lâmina de corte.
-
Aperte as porcas para fixar o ajuste apenas o suficiente para eliminar a folga da anilha.
Ajuste da definição de apara
Há seis definições de aparas na unidade de corte que pode regular para se adequar às condições da relva. Comece por definir a apara para corresponder à altura de corte, mas deve testar a unidade de corte e ajustar a apara para obter a qualidade de corte que deseja.
-
Desligue a máquina da seguinte forma:
-
Unidades a gasolina: pare o motor e desligue o fio da vela de ignição.
-
Unidades elétricas: desligue a máquina e desligue o conector da bateria (pega em T).
-
-
Solte o parafuso flangeado que fixa cobertura da correia e retire a cobertura da correia para expor a correia (Figura 20).

-
Desaperte a porca da estrutura do rolamento (Figura 21).

-
Servindo-se de uma chave de 16 mm, rode a caixa de rolamentos para se certificar de que opera livremente.
-
Retire a correia (Figura 21).
-
Utilizando a tabela mostrada no autocolante na Figura 22, determine a definição de apara que deseja e que polias tem de mover.
Note: Cada polia está numerada (22, 24 e 25). Mova as polias para as posições indicadas na tabela para a definição de apara escolhida.

-
Desaperte os dois parafusos de afinação em cada polia que necessitar de mover utilizando uma chave sextavada.
-
Retire cada polia.
-
Instale cada polia na nova configuração, como se indica no autocolante (Figura 22).
Note: Certifique-se de que os parafusos de afinação em cada polia estão posicionados de forma a alinhar com a chave e área plana no veio.
-
Aperte os parafusos de afinação com uma força de 8,3 a 8,9 N∙m.
-
Instale a correia.
-
Certifique-se de que mola de compressão está a aplicar tensão na correia (Figura 21).
-
Aperte a porca da estrutura do rolamento.
-
Coloque a cobertura da correia.
Ajuste da barra de corte
Ajuste a barra de corte de forma a garantir que as aparas são completamente afastadas da zona do cilindro, da seguinte forma:
Note: A barra é ajustável para compensar as alterações das condições da relva. Ajuste a barra mais próxima do cilindro quando a relva está extremamente seca. Por outro lado, afaste a barra do cilindro quando a relva se encontrar molhada. A barra deve estar paralela ao cilindro para assegurar um desempenho ideal. Ajuste depois de o rolo ser afiado num amolador de rolos.
-
Desaperte os parafusos que fixam a barra superior (Figura 23) à unidade de corte.

-
Insira um calibrador de 1,5 mm entre a parte superior do cilindro e a barra e aperte os parafusos.
Important: A barra e o cilindro têm de ter entre si a mesma distância em todo o comprimento do cilindro.
Manutenção da barra de apoio/lâmina de corte
A manutenção da barra de apoio e lâmina de corte só deve ser realizada por um mecânico com formação adequada para evitar danos no rolo, barra de apoio ou lâmina de corte. Leve a unidade de corte a um representante Toro autorizado para que realize a assistência. Consulte o Manual de assistência da sua unidade de tração para obter instruções completas, ferramentas especiais e diagramas para a assistência à lâmina de corte. Caso necessite de remover ou montar a barra de apoio sozinho, são dadas abaixo instruções e especificações para a manutenção da lâmina de corte.
Important: Siga sempre os procedimentos da lâmina de corte detalhados no seu Manual de assistência ao realizar a manutenção da lâmina de corte. Caso não instale e amole a lâmina de corte corretamente, pode causar danos no rolo, barra de apoio ou lâmina de corte.
Remoção da barra de apoio
-
Rode o parafuso de ajuste da barra de apoio no sentido contrário ao dos ponteiros do relógio, para afastar lâmina de corte do cilindro (Figura 24).

-
Faça recuar a porca da mola tensora até que a anilha deixe de estar sob tensão contra a barra de apoio (Figura 24).
-
Desaperte a porca de bloqueio que segura a cavilha da barra de apoio, em cada um dos lados da máquina (Figura 25).

-
Remova cada um dos parafusos da barra de apoio, de modo a poder puxá-la e retirá-la da máquina (Figura 25).
Guarde as duas anilhas de nylon e as duas anilha de aço prensado de cada uma das extremidades da barra de apoio (Figura 26).

Montagem da barra de apoio
-
Instale a barra de apoio, posicionando as aletas de montagem entre a anilha e o ajustador da barra de apoio.
-
Fixe a barra de apoio a cada um dos lados da placa lateral com as cavilhas (porcas flangeadas nas cavilhas) e com as 4 arruelas (8 no total).
-
Coloque uma anilha de nylon de cada lado da placa lateral. Coloque uma arruela de aço no exterior de cada uma das arruelas de nylon (Figura 26).
-
Aperte os parafusos da barra de apoio com uma força de 27 a 36 N∙m. Aperte as porcas de bloqueio à mão até que a arruela de aço exterior pare de rodar e a folga seja eliminada. As arruelas podem ter uma folga interna.
Important: Não aperte demasiado as porcas de bloqueio ou causarão flexão das placas laterais.
-
Aperte a porca da mola tensora até que a mola fique recolhida; em seguida, desaperte meia volta (Figura 27).

Instalação da lâmina de corte
-
Remova a ferrugem, detritos e corrosão da superfície da barra de apoio e aplique uma camada fina de óleo na superfície da barra de apoio.
-
Limpe as roscas do parafuso.
-
Aplique composto antigripagem nos parafusos e instale a lâmina de corte na barra de apoio.

-
Aperte os dois parafusos exteriores com 1 N∙m.
-
Trabalhando a partir do centro da lâmina, aperte os parafusos com 23 a 28 N∙m.

-
Amole a barra de apoio.
Especificações da lâmina de corte
Especificações de amolação da lâmina de corte

| Ângulo de incidência da lâmina de corte padrão | 3° mínimo |
| Ângulo de incidência da lâmina de corte alargada | 7° mínimo |
| Intervalo de ângulos frontais | 13°–17° |
Manutenção do cilindro
Perigo
Tocar no cilindro ou noutras peças em movimento pode provocar lesões graves.
Mantenha os dedos, mãos e roupa afastados dos cilindros e de todas as outras peças em movimento.
-
Afaste-se do cilindro durante a manutenção.
-
Nunca utilize um pincel de cabo curto para executar a manutenção. Contacte um representante Toro autorizado para obter peças de montagem do manípulo.
Pode retificar os cilindros deixando a unidade de corte na unidade de tração ou removendo a unidade de corte completamente da unidade de tração. Se deixar a unidade de corte na unidade de tração, o acoplador hexagonal entre a transmissão principal e a transmissão da unidade de corte deve ser movido para a posição de sem acoplador para evitar o desgaste excessivo do travão do cilindro.
-
Coloque a máquina numa superfície limpa e plana.
-
Desligue a máquina da seguinte forma:
-
Unidades a gasolina: pare o motor e desligue o fio da vela de ignição.
-
Unidades elétricas: desligue a máquina e desligue o conector da bateria (pega em T).
-
-
Engate o travão de estacionamento.
-
Ligue a máquina a retificar à unidade de corte ligando a fecha hexagonal ao veio da saída da polia do cilindro do lado esquerdo da unidade de corte.
Note: Instruções e procedimentos adicionais sobre retificação estão disponíveis no Manual de afinação de cilindros e cortadores rotativos Toro, formulário n.º 80-300PT.
Note: Para um melhor fio de corte, passe uma lima na frente da lâmina de corte depois de concluída a operação de retificação. Assim, reduz imperfeições ou arestas que se possam ter formado no fio de corte. Pode ser necessário um toque muito ligeiro de lima na extremidade superior do travão para remover completamente as rebarbas da extremidade de corte.
Note: Se deixar a unidade de corte ligada à máquina durante a retificação, lembre-se de ligar o veio hexagonal da máquina novamente na unidade de corte.


, que indica:
Cuidado, Aviso ou Perigo – instruções de segurança
pessoal. O não cumprimento destas instruções
pode resultar em ferimentos pessoais ou mesmo em morte.





