Konserwacja
Note: Określ lewą i prawą stronę maszyny ze standardowego stanowiska operatora.
Podparcie jednostki tnącej
W przypadku konieczności przechylenia jednostki tnącej w celu odsłonięcia noża dolnego/wirnika należy podtrzymać tylną część jednostki tnącej za pomocą podpory w taki sposób, aby nakrętki śrub regulujących na tylnej części listwy ostrza nie znajdowały się na powierzchni roboczej (Rysunek 8).

Regulacja docisku noża dolnego do wirnika
Nóż dolny należy regulować każdego dnia
Każdego dnia przed koszeniem lub w razie potrzeby należy sprawdzić, czy w każdej jednostce tnącej nóż dolny prawidłowo styka się z wirnikiem. Tą kontrolę przeprowadzaj również wtedy, gdy jakość koszenia jest zadowalająca.
-
Opuść jednostki tnące na twardą powierzchnię.
-
Wyłącz maszynę w następujący sposób:
-
Jednostki z napędem benzynowym: wyłącz silnik i odłącz przewód świecy zapłonowej.
-
Jednostki z napędem elektrycznym: wyłącz maszynę i odłącz łącznik akumulatora (uchwyt typu T).
-
-
Powoli obracaj wirnik w odwrotnym kierunku i nasłuchuj dźwięku wydawanego przy kontakcie wirnika z nożem dolnym.
-
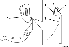
Jeżeli brak jest oznak docisku, obracaj śruby regulacyjne noża dolnego w prawo (Rysunek 9), po jednym kliknięciu na raz, aż da się odczuć i będzie słychać lekki docisk.

Note: Bęben musi być w stanie przeciąć pojedynczą kartkę papieru włożoną pod kątem prostym do noża dolnego zarówno po obu stronach, jak i w środkowej części bębna.
Note: Śruby regulacyjne posiadają zapadki w pozycjach odpowiadających przesunięciu noża dolnego o 0,018 mm.
-
Jeżeli występuje nadmierny docisk noża do wirnika lub opór przy obracaniu wirnika, konieczne będzie ostrzenie wsteczne, ponowne zlicowanie przedniej krawędzi noża dolnego lub przeszlifowanie jednostki tnącej w celu uzyskania ostrych krawędzi niezbędnych do precyzyjnego cięcia. Procedura jest opisana w Instrukcji ostrzenia kosiarek wirnikowych i rotacyjnych Toro, Formularz nr 09168SL.
Important: Zawsze preferowany jest lekki docisk. Jeżeli nie zostanie zachowany lekki docisk, krawędzie noża dolnego/ostrzy wirnika nie będą się samoczynnie ostrzyć, co po pewnym czasie będzie skutkować stępieniem krawędzi tnących. Jeżeli docisk będzie zbyt duży, nastąpi przyśpieszone zużycie noża dolnego/ostrzy wirnika z możliwością nierównomiernego zużycia, co będzie miało negatywny wpływ na jakość koszenia.
Note: W przypadku jednostek tnących eFlex styczność wirnika i noża dolnego ma znaczący wpływ na zużycie energii. Bardzo niewielki docisk pozwoli uzyskać najlepszą wydajność koszenia i najniższe zużycie energii elektrycznej.
Note: W miarę przesuwania się ostrzy wirnika wzdłuż noża dolnego na całej długości powierzchni przedniej krawędzi tnącej noża dolnego pojawią się niewielkie zadziory. Okresowe usunięcie tych zadziorów za pomocą pilnika pozwoli poprawić jakość koszenia.Po dłuższym okresie eksploatacji przy obu końcach noża dolnego powstaną niewielkie uskoki. Aby zapewnić płynne działanie, występy te należy zaokrąglić lub spiłować na równo z krawędzią tnącą noża dolnego.
-
Regulacja noża dolnego po szlifowaniu, ostrzeniu na obrotach wstecznych lub demontażu
Zastosuj tę procedurę po szlifowaniu, ostrzeniu na obrotach wstecznych lub demontażu wirnika. Nie stanowi ona codziennej czynności regulacyjnej.
Note: W przypadku jednostek tnących eFlex styczność wirnika i noża dolnego ma znaczący wpływ na zużycie energii. Bardzo niewielki docisk pozwoli uzyskać najlepszą wydajność koszenia i najniższe zużycie energii elektrycznej.
-
Ustaw jednostkę tnącą na płaskiej, poziomej powierzchni roboczej.
-
Przechyl jednostkę tnącą, aby odsłonić nóż dolny i wirnik.
Note: Upewnij się, że nakrętki w tylnej części śrub regulacyjnych noża dolnego nie opierają się o powierzchnię roboczą (Rysunek 8).
-
Obróć wirnik, aby ostrze przechodziło między łbami pierwszej i drugiej śruby noża dolnego po prawej stronie zespołu tnącego.
-
Nanieś znak na to ostrze w miejscu, w którym przechodzi obok krawędzi noża dolnego.
Note: Ułatwi to późniejsze regulacje.
-
Wsuń podkładkę o wymiarze 0,05 mm między oznaczone ostrze a krawędź noża dolnego w punkcie, w którym oznaczone ostrze przechodzi przez krawędź noża dolnego 4.
-
Obróć prawą śrubę regulacyjną noża dolnego (Rysunek 9) do momentu, aż poczujesz lekki opór na podkładce przy przesuwaniu jej z jednej strony na drugą. Zdemontuj podkładkę.
-
Odnośnie do lewej strony zespołu tnącego, powoli obróć wirnik tak, aby najbliższe ostrze przechodziło przez krawędź noża dolnego między łbami pierwszej i drugiej śruby.
-
Powtórz kroki od 4 do 6 dla lewej strony zespołu tnącego i lewej śruby regulacyjnej listwy noża dolnego.
-
Powtarzaj kroki 5 i 6 do momentu, aż poczujesz lekki opór w miejscach styku po lewej i prawej stronie zespołu tnącego.
-
Aby uzyskać lekką styczność między wirnikiem a nożem dolnym, obróć każdą śrubę regulacyjną noża dolnego w kierunku zgodnym z kierunkiem ruchu wskazówek zegara o 3 kliknięcia.
Note: Każde kliknięcie śruby regulacyjnej listwy noża dolnego przesuwa nóż dolny o 0,018 mm. Nie dokręcaj zbyt mocno śrub regulacyjnych.Obracanie śruby regulacyjnej w kierunku zgodnym z kierunkiem ruchu wskazówek zegara przesuwa krawędź noża dolnego bliżej wirnika. Obracanie śruby regulacyjnej w kierunku przeciwnym do kierunku ruchu wskazówek zegara odsuwa krawędź noża dolnego od wirnika.
-
Przetestuj efektywność cięcia poprzez wsunięcie długiego paska papieru do testu cięcia między wirnik a nóż dolny, prostopadle do wirnika i noża dolnego (Rysunek 10). Powoli obracaj wirnik do przodu — powinien przeciąć papier.

Note: Jeżeli występuje nadmierny docisk noża do wirnika lub opór przy obracaniu wirnika, konieczne będzie ostrzenie wsteczne lub przeszlifowanie wirnika i noża dolnego w celu uzyskania ostrych krawędzi koniecznych do precyzyjnego cięcia.
Szlifowanie noża dolnego
Szlifowanie profilujące wirnika
Nowy wirnik ma szerokość powierzchni czołowej od 0,76 do 1,27 mm i kąt profilu szlifowania 30 stopni.
Gdy powierzchnia czołowa krawędzi zwiększy się powyżej 3 mm, należy wykonać następujące czynności:
-
Przeprowadzić szlifowanie profilujące wszystkich ostrzy wirnika pod kątem 30 stopni, aż szerokość powierzchni czołowej wyniesie od 0,76 mm do 1,27 mm (Rysunek 11).

-
Przeprowadzić szlifowanie obrotowe wirnika w celu uzyskania bicia promieniowego na poziomie poniżej 0,025 mm.
Note: Spowoduje to nieznaczne zwiększenie szerokości powierzchni czołowej ostrzy.
Note: W celu dłuższego zachowania ostrości krawędzi tnących wirnika i noża dolnego należy po szlifowaniu wirnika i/lub noża dolnego ponownie sprawdzić docisk wirnika do noża dolnego po skoszeniu sześciu obszarów green, gdyż na skutek usunięcia zadziorów może wystąpić nieprawidłowy docisk wirnika do noża dolnego powodujący przyspieszone zużycie.
Sprawdzanie kąta zeszlifowania górnej krawędzi.
Niezmiernie ważny jest właściwy dobór kąta szlifowania noży dolnych.
Aby sprawdzić kąt uzyskiwany za pomocą danej szlifierki, użyj wskaźnika nachylenia oraz wspornika wskaźnika nachylenia; w razie potrzeby skoryguj niedokładności ustawienia szlifierki.
-
Umieść wskaźnik nachylenia na dolnej powierzchni noża dolnego w sposób pokazany na Rysunek 12.

-
Naciśnij przycisk Alt Zero (Ustaw zero) na wskaźniku nachylenia.
-
Przyłóż wspornik wskaźnika nachylenia na krawędzi noża dolnego w taki sposób, aby krawędź magnesu zrównała się z krawędzią noża dolnego (Rysunek 13).
Note: Na tym etapie wyświetlacz cyfrowy powinien być widoczny z tej samej strony co w kroku 1.

-
Przyłóż wskaźnik nachylenia do wspornika w sposób podany na Rysunek 13.
Note: Wyświetlana wartość to kąt wytwarzany przez daną szlifierkę, powinien on różnić się od zalecanego kąta szlifowania górnej krawędzi o maksymalnie 2° stopnie.
Specyfikacja ostrzenia wirnika
| Średnica wirnika (nowego) | 128,5 mm |
| Granica eksploatacyjna średnicy wirnika | 114,3 mm |
| Średnica wału wirnika (śr. zewn.) | 34,9 mm |
| Kąt przyłożenia ostrza | Od 25° do 35° |
| Szerokość powierzchni czołowej ostrza | 0,76 do 1,27 mm |
| Zakres szerokości powierzchni czołowej ostrza | 0,8 do 1,2 mm |
| Granica eksploatacyjna stożka średnicy wirnika | 0,25 mm |
Regulacja wysokości tylnej rolki
W zależności od pożądanego zakresu wysokości koszenia uchwyty tylnej rolki (Rysunek 14 lub Rysunek 15) należy ustawić w niskim lub wysokim położeniu:
-
Umieść podkładkę dystansową nad kołnierzem montażowym płyty bocznej (ustawienie fabryczne) w sposób przedstawiony na Rysunek 14, aby uzyskać zakres wysokości cięcia od 1,5 mm do 6 mm.

-
Umieść podkładkę dystansową pod kołnierzem montażowym płyty bocznej w sposób przedstawiony na Rysunek 15, aby uzyskać zakres wysokości cięcia od 3 mm do 25 mm.

-
Unieś tylną część jednostki tnącej i podłóż klocek pod nóż dolny.
-
Odkręć 2 nakrętki mocujące każdy uchwyt rolki i zdejmij podkładki dystansowe po obu stronach kołnierza montażowego płyty bocznej.
-
Opuść rolkę i usuń śruby z kołnierzy montażowych i podkładek dystansowych płyty bocznej.
-
Umieść podkładki dystansowe na śrubach powyżej lub poniżej uchwytów rolki zgodnie z wymaganiami (Rysunek 14 lub Rysunek 15).
-
Dokręć uchwyt rolki i podkładki dystansowe po spodniej stronie kołnierza montażowego płyty bocznej za pomocą wcześniej odkręconych nakrętek.
-
Sprawdź, czy kontakt noża dolnego z wirnikiem jest prawidłowy. Przechyl kosiarkę do tyłu, aby odsłonić przednią i tylną rolkę oraz nóż dolny.
Note: Położenie tylnej rolki względem wirnika jest zależne od tolerancji wykonania użytych podzespołów, a ich równoległe ustawienie nie jest wymagane. Możliwa jest regulacja w niewielkim zakresie po umieszczeniu jednostki tnącej na płaskiej powierzchni i poluzowaniu śrub mocujących płytę boczną (Rysunek 16). Wyreguluj i dokręć śruby po zakończeniu.

Important: W przypadku konieczności przechylenia jednostki tnącej w celu odsłonięcia noża dolnego/wirnika należy podeprzeć tylną część jednostki tnącej za pomocą podpory tak, aby nakrętki śrub regulujących na tylnej części listwy ostrza nie opierały się o powierzchnię roboczą (Rysunek 8).
Regulacja wysokości cięcia.
Niniejsza jednostka tnąca jest standardowo wyposażona w nóż dolny Edgemax Micro-cut i standardową listwę nożową. Skuteczna wysokość koszenia zależy od wcześniejszych konfiguracji kosiarki i stanu murawy (takich jak rodzaj rolki, umiejscowienie noża dolnego względem odległości międzyosiowej, miękkie czy twarde tereny zielone, warunki zależne od pory roku). Ustaw wstępną wysokość koszenia o 0,25–0,38 mm wyżej niż w przypadku poprzednich ustawień kosiarki i dostosuj ją do panujących warunków.
Note: W przypadku wysokości cięcia przekraczającej 13 mm zamontuj podzespół wysokości koszenia dla koszenia wysokiego.
Korzystając z poniższej tabeli ustal, który nóż dolny nadaje się najlepiej do pożądanej wysokości koszenia.
| Tabela noży dolnych/wysokości koszenia | ||
| Nóż dolny | Numer części | Wysokość koszenia |
| Edgemax Micro-cut (część standardowa) | 115-1880 (2100)117-1530 (1800) | od 1,5 mm do 4,7 mm |
| EdgeMax Tournament (opcjonalnie) | 115-1881 (2100)117-1532 (1800) | od 3,1 mm do 12,7 mm |
| Micro-cut (opcjonalnie) | 93-4262 (2100)98-7261 (1800) | od 1,5 mm do 4,7 mm |
| Tournament (opcjonalnie) | 93-4263 (2100)98-7260 (1800) | od 3,1 mm do 12,7 mm |
| Extended Micro-cut (opcjonalnie) | 108-4303 (2100)110-2300 (1800) | od 1,5 mm do 4,7 mm |
| Extended Tournament (opcjonalnie) | 108-4302 (2100) | od 3,1 mm do 12,7 mm |
| Low-cut (opcjonalnie) | 93-4264 (2100)110-2301 (1800) | od 4,7 mm do 25,4 mm |
-
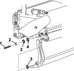
Poluzuj nakrętki zabezpieczające mocujące ramiona wysokości cięcia do płyt bocznych jednostki tnącej (Rysunek 17).

-
Poluzuj nakrętkę na pręcie wskaźnika i ustaw śrubę regulacyjną na wymaganą wysokość cięcia (Rysunek 18).
Note: Odległość między spodem łba śruby a czołem pręta stanowi wysokość cięcia.

-
Przyczep czoło śruby do krawędzi tnącej noża dolnego i oprzyj tylny koniec wskaźnika na tylnej części rolki (Rysunek 19).

-
Obróć śrubę regulacyjną aż do uzyskania styczności rolki z przednią częścią drążka wskaźnika.
-
Wyreguluj oba końce rolki aż do uzyskania równoległości całej rolki względem noża dolnego.
Important: Przy prawidłowym ustawieniu rolki tylna i przednia będą się stykać z drążkiem wskaźnika, a śruba będzie dociśnięta do noża dolnego. To gwarantuje, że wysokość cięcia jest identyczna po obu końcach noża dolnego.
-
Dokręć nakrętki tak, aby wyeliminować luz na podkładce.
Regulacja ustawień przycinania
Na jednostce tnącej występuje sześć ustawień przycinania, które można dostosować do warunków murawy. Zacznij regulację ustawień przycinania od dostosowania ich do wysokości koszenia, po czym sprawdź jednostkę tnącą i dostosuj przycinanie do pożądanej jakości koszenia.
-
Wyłącz maszynę w następujący sposób:
-
Jednostki z napędem benzynowym: wyłącz silnik i odłącz przewód świecy zapłonowej.
-
Jednostki z napędem elektrycznym: wyłącz maszynę i odłącz łącznik akumulatora (uchwyt typu T).
-
-
Poluzuj śrubę kołnierzową mocującą pokrywę paska i zdemontuj pokrywę paska, aby odsłonić pasek (Rysunek 20).

-
Poluzuj nakrętkę przy osłonie łożyska (Rysunek 21).

-
Przy użyciu klucza 16 mm obróć obudowę łożyska, aby zapewnić jego swobodną pracę.
-
Zdejmij pasek (Rysunek 21).
-
Korzystając z wykresu podanego na etykiecie w Rysunek 22, określ pożądane ustawienia przycinania oraz koła pasowe, które będziesz musiał przemieścić.
Note: Każde koło pasowe jest oznaczone numerem (22, 24 i 25). Przemieść koła pasowe w położenie wskazane na wykresie dla ustawień przycinania.

-
Poluzuj dwa wkręty ustalające na każdym kole pasowym, które musisz wprawić w ruch kluczem imbusowym.
-
Zdejmij każde koło pasowe.
-
Zainstaluj każde koło pasowe w nowym położeniu wskazanym na etykiecie (Rysunek 22).
Note: Upewnij się, że wkręty ustalające na każdym kole pasowym są umiejscowione w sposób pozwalający na ich dopasowanie do klucza i płaskiej powierzchni wału.
-
Dokręć śruby ustalające momentem od 8,3 do 8,9 N·m.
-
Zamontuj pasek.
-
Upewnij się, że sprężyna dociskowa zapewnia napięcie paska (Rysunek 21).
-
Dokręć nakrętkę przy osłonie łożyska.
-
Załóż pokrywę paska.
Regulacja noża odcinającego
Wyreguluj nóż odcinający tak, aby zapewnić równy strumień wyrzutu ścinków z obszaru wirnika:
Note: Nóż można regulować w celu dostosowania do zmian w ukształtowaniu murawy. W przypadku gdy murawa jest szczególnie sucha, przybliż nóż do wirnika. I odwrotnie, w przypadku gdy murawa jest mokra, oddal nóż od wirnika. Aby zapewnić optymalną efektywność, nóż powinien być równoległy do wirnika. Wyreguluj nóż po każdym ostrzeniu wirnika na szlifierce do wirników.
-
Poluzuj śruby mocujące belkę górną (Rysunek 23) do zespołu tnącego.

-
Wsuń szczelinomierz o wymiarze 1,5 mm między górną część wirnika a listwę noża i dokręć śruby.
Important: Upewnij się, że nóż i wirnik znajdują się w równej odległości od siebie na długości całego wirnika.
Serwisowanie noża dolnego/listwy noża dolnego
Aby zapobiec uszkodzeniu wirnika, listwy lub noża dolnego, listwa i nóż dolny mogą być serwisowane wyłącznie przez odpowiednio przeszkolonego mechanika. Oddaj jednostkę tnącą do serwisowania u autoryzowanego dystrybutora firmy Toro. Kompletne instrukcje, narzędzia specjalne i schematy dotyczące serwisowania noża dolnego można znaleźć w Instrukcji serwisowej do posiadanego zespołu jezdnego. Na wypadek konieczności samodzielnego zdemontowania lub zamontowania listwy noża dolnego poniżej podane są instrukcje i specyfikacje dotyczące jego serwisowania.
Important: Przy serwisowaniu noża dolnego należy zawsze przestrzegać procedur opisanych w Instrukcji serwisowej. Nieprawidłowe zamontowanie lub przeszlifowanie noża dolnego może doprowadzić do uszkodzenia wirnika, listwy lub noża dolnego.
Demontaż noża dolnego
-
Obróć śrubę regulacyjną w kierunku przeciwnym do kierunku ruchu wskazówek zegara w celu odsunięcia noża dolnego od wirnika (Rysunek 24).

-
Odkręcaj nakrętkę naciągu sprężyny do momentu, gdy podkładka nie będzie już dociśnięta do listwy noża dolnego (Rysunek 24).
-
Po każdej stronie maszyny poluzuj nakrętkę zabezpieczającą mocującą śrubę listwy noża dolnego (Rysunek 25).

-
Zdemontuj każdą śrubę listwy noża dolnego, umożliwiając tym samym ściągnięcie i demontaż noża dolnego z trzpienia maszyny (Rysunek 25).
Pozostaw 2 nylonowe i 2 tłoczone stalowe podkładki na każdym końcu noża dolnego (Rysunek 26).

Montaż listwy noża dolnego
-
Zamontuj nóż dolny, ustawiając ucha mocujące między podkładką a regulatorem noża dolnego.
-
Zamocuj listwę noża dolnego do każdej płyty bocznej za pomocą śrub noża dolnego (nakrętki na śrubach) i 4 podkładek (łącznie 8).
-
Załóż po jednej podkładce nylonowej po każdej stronie wypukłości płyty bocznej. Załóż podkładkę stalową na zewnątrz każdej z podkładek nylonowych (Rysunek 26).
-
Dokręć śruby listwy noża dolnego momentem o wartości od 27 do 36 N·m. Dokręcaj nakrętki zabezpieczające rękoma aż zewnętrzna podkładka stalowa przestanie się obracać i zostanie wyeliminowany luz osiowy. Przy podkładkach po wewnętrznej stronie może być niewielki odstęp.
Important: Nie dokręcaj nakrętek zbyt mocno, gdyż może dojść do wygięcia płyt bocznych.
-
Dokręć nakrętkę regulacyjną naprężenia sprężyny do momentu ściśnięcia sprężyny, a następnie cofnij ją o 1/2 obrotu (Rysunek 27).

Montaż noża dolnego
-
Usuń rdzę, osady i korozję z powierzchni listwy noża dolnego i nałóż na nią cienką warstwę oleju.
-
Wyczyść gwinty śrub.
-
Nałóż preparat zapobiegający zapiekaniu na śruby i zamontuj nóż dolny na listwie noża dolnego.

-
Dokręć 2 śruby zewnętrzne z momentem 1 N∙m.
-
Postępując od środka noża dolnego, dokręcaj śruby z momentem od 23 od 28 N∙m.

-
Wyszlifuj nóż dolny.
Specyfikacja noża dolnego
Specyfikacja ostrzenia noża dolnego

| Kąt przyłożenia dla standardowego noża dolnego | 3° minimum |
| Kąt przyłożenia dla przedłużonego noża dolnego | 7° minimum |
| Zakres kąta szlifowania przedniej krawędzi | Od 13° do 17° |
Ostrzenie wsteczne wirnika
Niebezpieczeństwo
Kontakt z głowicami tnącymi oraz innymi częściami tnącymi może spowodować obrażenia ciała.
Trzymaj palce, ręce i odzież z dala od wirników oraz innych części ruchomych.
-
Podczas ostrzenia wstecznego trzymaj się z dala od wirnika.
-
Nigdy nie używaj do ostrzenia wstecznego pędzla malarskiego na krótkim uchwycie. W celu uzyskania części zespołu uchwytu skontaktuj się z autoryzowanym dystrybutorem firmy Toro.
Możesz wykonać ostrzenie wsteczne wirników, pozostawiając jednostkę tnącą na zespole jezdnym lub zdejmując ją zupełnie z zespołu jezdnego. Jeżeli pozostawiasz jednostkę tnącą na zespole jezdnym, ustaw sześciokątną złączkę znajdującą się pomiędzy napędem głównym a napędem jednostki tnącej w położenie rozłączenia, aby zapobiec nadmiernemu zużyciu hamulca wirnika.
-
Umieść maszynę na czystej, płaskiej powierzchni.
-
Wyłącz maszynę w następujący sposób:
-
Jednostki z napędem benzynowym: wyłącz silnik i odłącz przewód świecy zapłonowej.
-
Jednostki z napędem elektrycznym: wyłącz maszynę i odłącz łącznik akumulatora (uchwyt typu T).
-
-
Zaciągnij hamulec postojowy.
-
Podłącz maszynę do ostrzenia wstecznego do jednostki tnącej poprzez podłączenie końcówki sześciokątnej 1/2 cala do wału wyjściowego koła pasowego wirnika po lewej stronie jednostki tnącej.
Note: Dodatkowe instrukcje i procedury dotyczące ostrzenia wstecznego dostępne są w Instrukcji ostrzenia kosiarek wirnikowych i rotacyjnych Toro (numer formularza 80-300PT).
Note: Aby uzyskać lepszą jakość krawędzi tnącej, po zakończeniu ostrzenia przejedź pilnikiem w poprzek przedniej powierzchni noża dolnego. Pozwoli to usunąć wszelkie zadziory lub chropowatości krawędzi, które mogły powstać na krawędzi tnącej. Być może trzeba będzie przejechać delikatnie pilnikiem na górnej krawędzi, aby w pełni usunąć zadziory z krawędzi tnącej.
Note: Jeżeli jednostkę tnącą pozostawiono na maszynie podczas ostrzenia wstecznego, należy pamiętać o ponownym podłączeniu sześciokątnego wału maszyny do jednostki tnącej.


, który oznacza: Uwaga, Ostrzeżenie
lub Niebezpieczeństwo – zasady bezpieczeństwa
osobistego. Nieprzestrzeganie powyższych zasad może doprowadzić
do obrażeń ciała lub śmierci.





