保守
Note: 前後左右は運転位置からみた方向です。
カッティングユニットを立てる時の注意
ベッドナイフやリールを見るためにカッティングユニットを立てる場合には、ベッドバー調整ねじのナットが床面に接触しないように、カッティングユニットの後ろ側をスタンドなどで支えてください(図 8)。

リールと下刃の調整を行う
毎日のベッドナイフ調整
毎日または必要に応じて、刈り込みに出発するまえに、各カッティングユニットの下刃とリールの刃合わせ状態を点検してください。この点検は、前日の調子に係わりなく毎回行ってください。
-
カッティングユニットを硬いテーブルの上に置く。
-
以下の手順でマシンを停止させる:
-
ガソリンユニット:エンジンを停止させ、点火プラグのコードを外す。
-
電動ユニット:マシンのスイッチをOFFにし、バッテリーコネクタ(T形ハンドル)を外す。
-
-
手でリールをゆっくりと後ろ向きに回転させ、リールとベッドナイフの接触状態を耳で確認する。
-
相互の接触が全くない場合は、ベッドバー調節ねじ(図 9)を1クリックずつ均等に締めながら、ごく軽い接触が得られるようにする。

Note: 紙を一枚、下刃の先端から直角に差し入れたときに、リールの両端でも中央部でもその紙が切れなければいけません。
Note: 調整ねじを1ノッチ回転させることにより、ベッドナイフが、0.018 mm 移動します。
-
接触を強くしないと切れない場合には、鋭利な刃先を取り戻して精密なカットができるようにバックラップ、ベッドナイフのフェーシング、または研磨を行うことが必要(Toro リール/ロータリー・モアのための研磨マニュアル, Form No. 09168SL を参照)。
Important: どんな場合でもごく軽い接触がベストです。軽い接触が維持されないと、リールとベッドナイフの相互研磨作用が全くなくなるので、切れ味の落ちるのが早くなります。逆に、接触が強すぎると、相互の摩耗が早く進み、摩耗ムラが出て刈り上がりに悪影響が出やすくなります。
Note: eFlex では、カッティングユニットの刃合わせ調整が電力消費に大きな影響を与えます。刈り込みの品質、およびバッテリーの使用時間のいずれについても、ごく軽い刃合わせがベストです。
Note: ベッドナイフとリール刃は継続的に接触しているので、使用期間が長くなるとベッドナイフの全長にわたり、刃先部分に小さなバリが出来てきます。時々ヤスリでこのバリを取り除いてやると切れ味が向上します。ベッドナイフは、長期間使用しているうちにリールに削られ、リールの端部と接触する縁の部分が角張ってきます。この角張った部分は、ヤスリなどを使って丸めるか、下刃の刃先と面一にするかしてください。
-
研磨、バックラップ、分解組立後のベッドナイフ調整
以下の作業は、研磨やバックラップや分解組立後に行うものです。毎日の調整作業ではありません。
Note: eFlex では、カッティングユニットの刃合わせ調整が電力消費に大きな影響を与えます。刈り込みの品質、およびバッテリーの使用時間のいずれについても、ごく軽い刃合わせがベストです。
-
カッティングユニットを平らな水平の作業台の上に置く。
-
ベッドナイフとリールが見えるように、カッティングユニットを立てる。
Note: ユニットの背面についているベッドバー調整ねじのナットが床に当たっていないことを確認する(図 8)。
-
カッティングユニットの右端から数えて1番目と2番目の下刃ねじの間で1枚のリール刃と下刃とが交差するようにセットする。
-
下刃と交差しているリール刃の交差部にマジックなどで印をつける。
Note: これはこの後の調整をやり易くするためである。
-
ステップ4でマークを付けたリール刃が下刃と交差しているところで、リール刃と下刃の間に、シム(0.05 mm = 0.002")を挿入する。
-
シムを左右に滑らせながら右側のベッドバー調整ねじ(図 9)を回して、シムに 軽い 圧迫(シムが挟まれる感じ)を感じる程度に調整する。シムを抜き取る。
-
カッティングユニットの左端で、ベッドナイフに一番近いリール刃を、左端から数えて1番目と2番目の下刃ねじの間で下刃と交差させる。
-
カッティングユニットの左側で、左側ベッドバー調整ねじを使って上記4-6の作業を行う。
-
ステップ 5 と 6 を繰り返して、カッティングユニットの左右両側で軽くはさまれる感じに調整する。
-
この状態から、左右のベッドバー調整ねじを右に3クリック回転させると、下刃とリール刃とが軽く接触するようになる。
Note: 1回のクリックで、下刃が 0.018 mm 移動します。調整ねじを締めすぎないように注意してください。ベッドバー調整ねじを右に回すと、ベッドナイフがリールに近づきます。ベッドバー調整ねじを左に回すと、ベッドナイフがリールから離れます。
-
切れ味確認用のペーパーを一枚、リールと下刃との間に直角に差し入れて、カッティングユニットの切れ味をテストする(図 10)。ゆっくりと リールを回転させて紙が切れれば合格である。

Note: 接触を強くしないと切れない場合には、鋭利な刃先を取り戻して精密なカットができるようにバックラップか研磨を行うことが必要である。
ベッドナイフの研磨について
二番取り
未使用のリールは、ランド部の幅が 0.76-1.5 mm あり、30 °の逃げ角(2番角、リリーフ角)を付けてあります。
ランド部の幅が 3 mm を超えたら、以下を行ってください。
-
全部のリール刃に 30° の角度で 2 番削りを行って、ランド部の幅を 1.27 mm にしてください (図 11)。

-
回転研磨を行ってリールの真円度を 0.025 mm 以内にする。
Note: これにより、ランド部の幅は若干大きくなります。
Note: リールやベッドナイフの鋭利な刃先を長持ちさせるには、リールやベッドナイフを新たに研磨して使い始めたときに、グリーンを 6 面刈り込むごとに刃合わせのチェックを行い、刃先にバリが出ていたら除去してください。バリは刃と刃の接触を大きくして摩耗を早めます。
上面角のチェック
リール研磨の仕様
| リールの直径(新品時) | 128.5 mm |
| 使用限界:リール直径 | 114.3 mm |
| リールシャフトの直径(外径) | 34.9 mm |
| ブレードのリリーフ角 | 25-35° |
| ブレードのランド幅 | 0.76-1.27 mm |
| ブレードのランド幅の範囲 | 0.8-1.2 mm |
| 使用限界:リールのテーパ | 0.25 mm |
後ローラの高さを調整する
使用する刈高によって、後ローラブラケットの取り付け位置を低位置または高位置(図 14 または 図 15)から選択する必要があります。
-
刈高 1.5-6 mm の場合:図 14のように、 スペーサをサイドプレート取り付けフランジの上にセット(出荷時の設定)する。

-
刈高範囲が 3-25 mm の場合は、図 15のように、スペーサを取り付けフランジの下にセットする。

-
カッティングユニットの後部を持ち上げてベッドナイフの下に角材などの枕を置く。
-
各ローラブラケットをそれぞれのサイドプレート取り付けフランジおよびスペーサに固定しているナット2個を外す。
-
サイドプレート取り付けフランジとスペーサから、ローラとボルトを外す。
-
ローラブラケットとスペーサとを、取り付けフランジの下側に、先ほど取り外したボルトを使って取り付ける。
-
ベッドナイフとリールの接触が適切であることを確認する。カッティングユニットを立てて、前ローラと後ローラ、およびベッドナイフが見えるようにする。
Note: リールと後ローラとの平行関係は、カッティングユニット全体の組み立て精度により保証されていますから、調整は不要です。ごくわずかな狂いを戻す調整は可能です。まず、定盤の上でサイドプレート組み付けボルトをゆるめます (図 16)。終了後にボルトを調整して締め付けてください。

Important: ベッドナイフやリールを見るためにカッティングユニットを立てる場合には、ベッドバー調整ねじのナットが床面に接触しないように、カッティングユニットの後ろ側をスタンドなどで支えてください(図 8)。
刈り高の調整
このカッティングユニットには、エッジマックス・マイクロカットベッドナイフとスタンダードベッドバーが標準装備されています。実際の刈高は、これまでの刈り込みに使用していた機器の調整(ローラ、下刃の先端からリールの中心線までの距離など)やターフ自体のコンディション(グリーンの硬さ、季節条件など)によって異なります。まず、これまでの刈高設定よりも 0.25-0.38 mm 程度高くセットして刈り込みを行い、仕上がり具合を見ながら調整をしてください。
Note: 刈高を 13 mm よりも高くするには高刈りキットが必要です。
以下の表により、希望する刈高に最も適したベッドナイフを決定してください。
| 推奨ベッドナイフと刈高の選択チャート | ||
| ベッドナイフ | パーツ番号 | 刈高 |
| エッジマックス・マイクロカット(標準) | 115-1880 (2100)117-1530 (1800) | 1.5 - 4.7 mm |
| エッジマックス・トーナメント(オプション) | 115-1881 (2100)117-1532 (1800) | 3.1-12.7 mm |
| マイクロカット(オプション) | 93-4262 (2100)98-7261 (1800) | 1.5 - 4.7 mm |
| トーナメント(オプション) | 93-4263 (2100)98-7260 (1800) | 3.1-12.7 mm |
| 先長マイクロカット(オプション) | 108-4303 (2100)110-2300 (1800) | 1.5 - 4.7 mm |
| 先長トーナメント(オプション) | 108-4302 (2100) | 3.1-12.7 mm |
| ローカット(オプション) | 93-4264 (2100)110-2301 (1800) | 4.7-25.4 mm |
-
刈り高アームをカッティングユニットのサイドプレートに固定しているロックナットをゆるめる(図 17)。

-
ゲージバーのナットをゆるめ、調整ねじを希望の刈り高に合わせる(図 18)。
Note: ねじ頭の下からバーの表面までの距離が刈り高となる。

-
ゲージバーのねじの頭を下刃の先端に引っかけ、バーの後端を後ローラに当てがう(図 19)。

-
バーの前端がローラに当たるように、調整ねじで調整する。
-
ローラ全体が下刃と平行になるように、ローラの両側を均等に調節する。
Important: 前後のローラにゲージが当たり、ねじの頭がリールにぴったりと掛かっているのが正しい調整状態です。下刃の左右端でこの状態となるように調整してください。
-
ワッシャの遊びがなくなるまで締め付ける。これで調整が決まる。
設定の調整方法
カッティングユニットには6種類のクリップ設定があり、ターフのコンディションに合わせて適当な設定を選びます。まず、刈高に一番近いクリップに設定し、刈り上がりを見てそれよりも上、または下というふうに設定を変えてみることをお奨めします。
-
以下の手順でマシンを停止させる:
-
ガソリンユニット:エンジンを停止させ、点火プラグのコードを外す。
-
電動ユニット:マシンのスイッチをOFFにし、バッテリーコネクタ(T形ハンドル)を外す。
-
-
ベルトカバーを固定しているフランジボルトをゆるめてベルトカバーを外し、ベルトを露出させる(図 20)。

-
ベアリングハウジングのナットをゆるめる(図 21)。

-
16 mm(⅝")のトルクレンチでベアリングハウジングを回転させ、自由に動くことを確認する。
-
各ベルトを取り外す(図 21)。
-
図 22のデカルにある表を参考にして希望するクリップを決定し、そのクリップにセットするためにはどのプーリを移動させる必要があるかを調べる。
Note: 各プーリには番号(22、24、25)がついている。希望するクリップ設定となるようにプーリを移動する。

-
移動する必要のある各プーリの固定ねじ(2本)を六角レンチを使ってゆるめる
-
各プーリを外す。
-
各プーリを、それぞれの新しい位置に取り付ける(図 22)。
Note: 各プーリの固定ねじが、キーに合っていること、またシャフトの平たい面に当たっていることを確認する。
-
ねじを 8.3-8.9 N·m(0.85-0.91 kg.m = 74-79 in-lb)にトルク締めする。
-
ベルトを取り付ける。
-
圧縮スプリングからベルトに適切な力が掛かっていることを確認する(図 21)。
-
ベアリングハウジングのナットを締め付ける。
-
ベルトカバーを取り付ける。
カットオフバーを調整する
刈りかすがリールからスムーズに出るように調整します:
Note: この調整はターフの状態変化に合わせて行ってください。芝面が非常に乾いている時にはバーをリールに近づけます。逆に、芝がぬれている時にはバーとリールの隙間を大きくします。バーとリールが平行になっていることが重要です。研磨機でリールを研磨した時には、必ずこのバーの調整を行ってください。
-
バー(図 23)をカッティングユニットに固定しているねじをゆるめる。

-
隙間ゲージを使って、リール上面とバーの間を 1.5 mm に調整し、ねじを締めてバーを固定する。
Important: リールの全幅にわたって隙間の幅が一定となるように注意する。
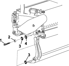
ベッドバーとベッドナイフの整備
ベッドバーとベッドナイフは非常に繊細な機器です。適切なトレーニングを受講した整備士以外の人は、これらの整備を行わないでください。カッティングユニットの整備はディストリビュータに依頼してください。ベッドナイフの整備に関わる詳しい解説、特殊工具、図面などについては、サービスマニュアルを参照してください。ご自身でベッドバーの分解や組み付けを行う必要がある場合には、以下の説明およびベッドナイフの仕様を参考にしてください。
Important: ベッドナイフの整備は、必ず サービスマニュアル に記載されている説明に従って行ってください。ベッドナイフの研磨や取り付けが正しくないと、リール、ベッドバー、ベッドナイフ自身を損傷する可能性があります。
ベッドバーの取り外し
ベッドバーの取り付け
-
ベッドバーアジャスタとスラストワッシャとの間にベッドバーの固定用「耳」を入れる。
-
ベッドバーボルト(とボルトについているナット)とワッシャ4枚(全部で8枚)で、ベッドバーを各サイドプレートに固定する。
-
サイドプレートのボスの両側にナイロンワッシャを入れる。その外側からスチール製ワッシャを取り付ける (図 26)。
-
ベッドバーボルトを 27-36 N·m (2.8-3.7 kg.m = 240-320 in-lb)にトルク締めする。左右の遊びが完全になくなって外側のスチール製ワッシャが回らなくなるまでロックナットを手で締め付ける。内側のワッシャには遊びがあってよい。
Important: ロックナットを締め付けすぎるとサイドプレートを変形させる恐れがあるので注意する。
-
スプリングがつぶれるまでテンションナットを締め、そこから半回転戻す(図 27)。

ベッドナイフの取り付け
-
ベッドバーの表面についている錆や汚れをきれいに落とし、ベッドバーの表面に薄くオイルを塗る。
-
ねじ穴をきれいに掃除する
-
ベッドナイフ固定ボルトに「ネバーシーズ」コンパウンドを塗ってベッドナイフをベッドバーに固定する。

-
外側の 2 本のねじを 1 N·m(1.15 kg.m=10 in-lb)にトルク締めする。
-
ベッドナイフの中央から交互に左右に、各ねじを 23-28 N・m(2.3-2.9 1 kg.m = 200-250 in-lb)にトルク締めする

-
ベッドナイフを研磨する。
ベッドナイフの仕様
ベッドナイフの研磨の仕様

| 標準ベッドナイフのリリーフ角度 | 最低 3° |
| 先長ベッドナイフのリリーフ角度 | 最低 7° |
| 前面角度範囲 | 13° - 17° |
バックラップ
危険
回転しているリールに触れると大けがをする。
リールその他の可動部に手指、足、衣類等を近づけないよう注意すること。
-
バックラップ中のリールには、絶対に手や足を近づけないこと。
-
柄の短いブラシは絶対にバックラップに使用しないこと。ハンドルアセンブリのパーツについては、代理店におたずねください。
バックラップは、カッティングユニットをトラクションユニットにとりつけたままでも、トラクションユニットから完全に外した状態でも行うことができます。カッティングユニットをトラクションユニットに取り付けたままで行う場合には、リールブレーキの磨耗を減らすために、トラクションユニットとカッティングユニットを接続している六角駆動シャフトカップルをカッティングユニットから外してください。
-
平らな、汚れのない場所に駐車する。
-
以下の手順でマシンを停止させる:
-
ガソリンユニット:エンジンを停止させ、点火プラグのコードを外す。
-
電動ユニット:マシンのスイッチをOFFにし、バッテリーコネクタ(T形ハンドル)を外す。
-
-
駐車ブレーキを掛ける。
-
バックラップ装置を接続する;カッティングユニット左側にあるリールプーリの出力シャフトに ½" のソケット介して接続する。
Note: バックラップについてのさらに詳しい説明が、Toro リール/ロータリー・モアのための研磨マニュアル(Form No. 80-300PT)に掲載されています。
Note: バックラップが終了したら、下刃とリール刃の前端に軽くヤスリ掛けを行ってください。これによりベッドナイフ前端に形成されたバリが除去されます。刃先から完全にバリを取り除くためには、非常に軽い感覚のヤスリ掛けが必要です。
Note: カッティングユニットをトラクションユニットにとりつけたままでバックラップを行った場合には、作業後に、トラクションユニットとカッティングユニットを接続する六角駆動シャフトカップルを忘れずに取り付けてください。


のついている遵守事項は必ずお守りください
「注意」、「警告」、および「危険」 の記号は、人身の安全に関わる注意事項を示しています。これらの注意を怠ると死亡事故などの重大な人身事故が発生する恐れがあります。










