Onderhoud
Note: Bepaal vanuit de normale bedieningspositie de linker- en rechterzijde van de machine.
De maai-eenheid ondersteunen
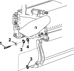
Als u de maai-eenheid moet kantelen om bij het ondermes/de messenkooi te kunnen komen, moet u de achterkant van de maai-eenheid ondersteunen om te controleren of de moeren op het achtereind van de stelschroeven van de snijbalk niet op het werkvlak rusten (Figuur 8).

Contact tussen ondermes en messenkooi afstellen
Dagelijkse afstelling van het ondermes
Elke dag voordat u gaat maaien of telkens als het nodig is, moet u controleren of het contact tussen het ondermes en de messenkooi bij elke maai-eenheid correct is afgesteld. Voer deze controle uit, ook al is de maaikwaliteit aanvaardbaar.
-
Laat de maai-eenheden neer op een hard oppervlak.
-
Schakel de machine als volgt uit:
-
Benzinemodellen: zet de motor af en maak de bougiekabel los.
-
Elektrische modellen: schakel de machine uit en koppel de accu af (T-handgreep).
-
-
Draai de messenkooi langzaam in de tegenovergestelde richting en luister of de messenkooi en het ondermes contact maken.
-
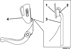
Indien er geen contact is, moet u de stelschroeven van de snijbalk (Figuur 9) telkens 1 klik naar rechts draaien, totdat u voelt en hoort dat er licht contact wordt gemaakt.

Note: De messenkooi dient één blad papier te snijden als dit in een rechte hoek ten opzichte van de snijbalk wordt ingebracht, aan de beide uiteinden en in het midden van de messenkooi.
Note: De stelschroeven van de snijbalk hebben instelstappen waarmee de stand van het ondermes telkens met 0,018 mm kan worden veranderd.
-
Als het contact tussen het ondermes en messenkooi te zwaar wordt, moet u de voorrand van het ondermes vernieuwen of de maai-eenheid opnieuw slijpen om de scherpe snijranden te krijgen die nodig zijn om met grote precisie te kunnen maaien (zie de Toro Handleiding Slijpen van maaimachines met messenkooien en roterende messen, documentnr. 09168SL).
Important: Zorg ervoor dat er altijd een licht contact tussen het ondermes en de messenkooi is. Als er geen licht contact is, zullen de snijranden van het ondermes/messenkooi zichzelf onvoldoende slijpen. Dit zal ertoe leiden dat de snijranden na verloop van tijd bot worden als gevolg van het gebruik. Als het contact te zwaar is, zullen het ondermes en de messenkooi sneller of ongelijkmatig slijten en kan de maaikwaliteit achteruitgaan.
Note: Bij eFlex maai-eenheden heeft het contact tussen messenkooi en ondermes een aanzienlijke invloed op het energieverbruik. Een heel licht contact is het beste voor optimale maaiprestaties en accuverbruik.
Note: Als de messen van de messenkooi voortdurend tegen het ondermes aan lopen, zal er op het oppervlak van de voorste snijrand van het ondermes over de gehele lengte een lichte braam ontstaan. Vijl de voorste snijrand af en toe bij om de braam te verwijderen en de maairesultaten te verbeteren.Na langdurig gebruik zal er uiteindelijk aan beide uiteinden van het ondermes een groef ontstaan. Voor een soepele werking moet u deze groeven afronden of gelijk vijlen met de snijrand van het ondermes.
-
Het ondermes afstellen na slijpen, wetten of demontage.
Voer deze procedure uit na het slepen, wetten of demonteren van de messenkooi. Dit is geen dagelijkse afstelprocedure.
Note: Bij eFlex maai-eenheden heeft het contact tussen messenkooi en ondermes een aanzienlijke invloed op het energieverbruik. Een heel licht contact is het beste voor optimale maaiprestaties en accuverbruik.
-
Plaats de maai-eenheid op een vlak, horizontaal oppervlak.
-
Kantel de maai-eenheid zodat u bij het ondermes en de messenkooi kunt.
Note: Zorg ervoor dat de moeren op het achtereind van de stelschroeven van de snijbalk niet op het werkvlak rusten (Figuur 8).
-
Draai de messenkooi zodanig dat 1 van de messen de rand van het ondermes kruist tussen de eerste en de tweede schroefkop van het ondermes aan de rechterkant van de maai-eenheid.
-
Breng een markering aan waar het mes de rand van het ondermes kruist.
Note: Dit maakt latere instellingen eenvoudiger.
-
Steek een afstandsring (0,05 mm) tussen het mes en de rand van het ondermes op de plaats waar u de markering hebt aangebracht in stap 4.
-
Draai aan de rechter afstelschroef van de snijbalk (Figuur 9) tot u een lichte druk voelt als u de afstandsring heen en weer schuift. Verwijder de afstandsring.
-
Voor de linkerzijde van de maai-eenheid draait u de messenkooi langzaam tot het dichtstbijzijnde mes de rand van het ondermes kruist tussen de eerste en de tweede schroefkop.
-
Herhaal stap 4 tot 6 voor de linkerkant van de maai-eenheid en de linkerstelschroef van de snijbalk.
-
Herhaal stappen 5 en 6 tot er lichte druk is op de contactpunten aan de linker- en rechterkant van de maai-eenheid.
-
Om een licht contact tussen het ondermes en de messenkooi te verkrijgen, dient u elke stelschroef van de snijbalk 3 klikstanden rechtsom te draaien.
Note: Elke klikstand van de stelschroef van de snijbalk beweegt het ondermes 0,018 mm. Draai de stelschroeven niet te vast aan.Draai de stelschroef rechtsom om de rand van het ondermes dichter bij de messenkooi te brengen. Draai de stelschroef linksom om de afstand van de rand van het ondermes tot de messenkooi te vergroten.
-
Test de maaiprestaties door een lange strook maaitestpapier tussen het ondermes en de messenkooi te steken, loodrecht op de messenkooi en het ondermes (Figuur 10). Draai de messenkooi traag naar voren om het papier te snijden.

Note: Als het contact tussen ondermes en messenkooi te zwaar wordt, moet u de messen mogelijk wetten of slijpen om de scherpe snijranden te krijgen die nodig zijn om met grote precisie te kunnen maaien.
Het ondermes slijpen
Hoekslijpen van de messenkooi
De nieuwe messenkooi heeft een platte zijkant van 0,76 tot 1,27 mm en een hoek van 30 graden.
Wanneer de platte zijkant groter dan 3 mm wordt, doe dan het volgende:
-
Slijp alle messen onder een hoek van 30 graden tot de platte zijkant 0,76 tot 1,27 mm breed is (Figuur 11).

-
Draaislijp de messenkooi tot de onregelmatigheid van de messen niet meer dan 0,025 mm bedraagt.
Note: Hierdoor wordt de platte zijkant een beetje groter.
Note: Om de messenkooi en het ondermes langer scherp te houden – na het slijpen van de messenkooi en/of het ondermes – controleert u het contact tussen de messenkooi en het ondermes opnieuw nadat u 6 greens gemaaid hebt; bramen zullen immers worden verwijderd, wat onjuiste speling tussen de messenkooi en het ondermes tot gevolg kan hebben en de slijtage kan versnellen.
De bovenste slijphoek controleren
De hoek die u gebruikt om uw ondermessen te slijpen is erg belangrijk.
Gebruik de hoekindicator en de steun van de hoekindicator om de hoek die uw slijpmachine produceert te controleren en corrigeer vervolgens de onnauwkeurigheid van de slijpmachine.
-
Plaats de hoekindicator op de onderkant van het ondermes zoals getoond in Figuur 12.

-
Druk op de knop alt zero op de hoekindicator.
-
Plaats de steun van de hoekindicator op de rand van het ondermes zodat de rand van de magneet aansluit op de rand van het ondermes (Figuur 13).
Note: De digitale display dient tijdens deze stap zichtbaar te zijn van dezelfde zijde als in stap 1.

-
Plaats de hoekindicator op de steun zoals getoond in Figuur 13.
Note: Dit is de hoek die uw slijpmachine produceert, en deze dient niet meer dan 2 graden te verschillen van de aanbevolen bovenste slijphoek.
Specificaties voor het slijpen van de messenkooi
| Diameter messenkooi (nieuw) | 128,5 mm |
| Onderhoudslimiet – diameter messenkooi | 114,3 mm |
| Buitendiameter as van messenkooi | 34,9 mm |
| Vrijloophoek van mes | 25 tot 35 ° |
| Breedte mesvlak | 0,76 tot 1,27 mm |
| Bereik van breedte mesvlak | 0,8 tot 1,2 mm |
| Onderhoudslimiet – taps gedeelte diameter messenkooi | 0,25 mm |
De hoogte van de achterrol afstellen
Afhankelijk van het gewenste bereik van de maaihoogte stelt u de beugels van de achterrol (Figuur 14 of Figuur 15) in de hoge of lage stand:
-
Plaats het afstandsstuk boven de montageflens van de zijplaat (fabrieksinstelling) bij maaihoogte-instellingen van 1,5 mm tot 6 mm zoals getoond in Figuur 14.

-
Plaats het afstandsstuk onder de montageflens van de zijplaat bij maaihoogte-instellingen van 3 mm tot 25 mm zoals getoond in Figuur 15.

-
Hef de achterkant van de maai-eenheid op en plaats een blok onder het ondermes.
-
Verwijder de 2 moeren waarmee de beugels van beide rollen en het afstandsstuk zijn bevestigd aan de montageflens van beide snijplaten.
-
Verwijder de rol en de schroeven uit de montageflenzen van de zijplaat en de afstandsstukken.
-
Plaats de afstandsstukken op de schroeven zoals gewenst, onder of boven de rolbeugels (Figuur 14 of Figuur 15).
-
Zet de beugel van de rol en afstandsstukken vast aan de onderkant van de montageflenzen met de schroeven die u eerder hebt verwijderd.
-
Controleer of het contact tussen ondermes en messenkooi correct is. Kantel de machine zodat u bij de voor- en achterrol en het ondermes kunt komen.
Note: De stand van de achterrol ten opzichte van de messenkooi wordt bepaald door de bewerkingstolerantie van de geassembleerde onderdelen en evenwijdig stellen is niet nodig. U kunt de stand enigszins bijstellen door de maai-eenheid op een vlakke plaats te plaatsen en de montagebouten van de zijplaat los te draaien (Figuur 16). Stel de bouten in en draai deze vast als u klaar bent.

Important: Als u de maai-eenheid moet kantelen om bij het ondermes/de messenkooi te kunnen komen, moet u de achterkant van de maai-eenheid ondersteunen zodat de moeren op het achtereind van de stelschroeven van de snijbalk niet op het werkvlak rusten (Figuur 8).
De maaihoogte instellen
Deze maai-eenheid is standaard uitgerust met het Edgemax Micro-cut ondermes en standaard snijbalk. De werkelijke maaihoogte hangt af van de maaierconfiguratie en toestand van het gras (d.w.z. type rol, ondermes achter centrale afstand, zachte of harde greens, seizoensomstandigheden). Stel de oorspronkelijke maaihoogte 0,25 tot 0,38 mm hoger in dan de vorige instelling, optimaliseer de instelling dan naargelang de omstandigheden.
Note: Voor maaihoogten van meer dan 13 mm moet de set voor een hoge maaistand worden gemonteerd.
Gebruik onderstaande tabel om te bepalen welk ondermes het best geschikt is voor de gewenste maaihoogte.
| Aanbevolen ondermes/maaihoogtetabel | ||
| Ondermes | Onderdeelnummer | Maaihoogte |
| Edgemax Micro-cut (standaard) | 115-1880 (2100)117-1530 (1800) | 1,5 tot 4,7 mm |
| Edgemax Tournament (optioneel) | 115-1881 (2100)117-1532 (1800) | 3,1 tot 12,7 mm |
| Micro-cut (optioneel) | 93-4262 (2100)98-7261 (1800) | 1,5 tot 4,7 mm |
| Tournament (optioneel) | 93-4263 (2100)98-7260 (1800) | 3,1 tot 12,7 mm |
| Extended Micro-cut (optioneel) | 108-4303 (2100)110-2300 (1800) | 1,5 tot 4,7 mm |
| Extended Tournament (optioneel) | 108-4302 (2100) | 3,1 tot 12,7 mm |
| Low-cut (optioneel) | 93-4264 (2100)110-2301 (1800) | 4,7 tot 25,4 mm |
-
Draai de borgmoeren los waarmee de maaihoogtearmen zijn bevestigd aan de zijplaten van de maai-eenheid (Figuur 17).

-
Draai de moer op de hoogtelat los en draai de stelschroef op de gewenste maaihoogte (Figuur 18).
Note: De afstand tussen de onderkant van de schroefkop en de lat is de maaihoogte.

-
Plaats de schroefkop op de snijrand van het ondermes en laat de achterzijde van de lat op de achterrol rusten (Figuur 19).

-
Draai aan de stelschroef totdat de rol contact maakt met de voorkant van de hoogtelat.
-
Stel beide uiteinden van de rol af totdat de hele rol evenwijdig aan het ondermes is.
Important: Bij een correcte afstelling zullen de achter- en voorrol contact maken met de hoogtelat en zal de schroef goed tegen het ondermes aan zitten. Hierdoor hebben beide uiteinden van het ondermes dezelfde maaihoogte.
-
Draai de moeren vast om ervoor te zorgen dat de afstelling geborgd is en de ring geen speling meer heeft.
De triminstelling wijzigen
De maai-eenheid beschikt over 6 triminstellingen die u kunt wijzigen naargelang de gazonomstandigheden. Begin met een instelling die overeenkomt met de maaihoogte-instelling, en test vervolgens de maai-eenheid en pas de triminstelling aan om de gewenste maaikwaliteit te verkrijgen.
-
Schakel de machine als volgt uit:
-
Benzinemodellen: zet de motor af en maak de bougiekabel los.
-
Elektrische modellen: schakel de machine uit en koppel de accu af (T-handgreep).
-
-
Zet de flensbout los waarmee de riemkap bevestigd is en verwijder de riemkap zodat de riem zichtbaar wordt (Figuur 20).

-
Draai de moer van de lagerbehuizing los (Figuur 21).

-
Gebruik een sleutel van 16 mm om de lagerbehuizing te draaien zodat deze vrij kan bewegen.
-
Verwijder de riem (Figuur 21).
-
Gebruik de tabel op de sticker in Figuur 22 om de gewenste triminstelling te bepalen en na te gaan welke poelies u moet verwijderen.
Note: Elke poelie heeft een nummer: 22, 24 of 25. Verplaats de poelies naar de standen die de tabel aangeeft voor uw triminstelling.

-
Draai de 2 stelschroeven van elke poelie die u moet verplaatsen los. Gebruik een inbussleutel.
-
Verwijder de poelies.
-
Monteer alle poelies volgens de nieuwe configuratie op de sticker (Figuur 22).
Note: Zorg ervoor dat de stelschroeven van elke poelie uitgelijnd zijn met de spie en het platte oppervlak van de as.
-
Draai de stelschroeven vast met een torsie van 8,3 tot 8,9 N·m.
-
Monteer de riem.
-
Zorg ervoor dat de drukveer de riem onder spanning zet (Figuur 21).
-
Draai de moer van de lagerbehuizing vast.
-
Plaats de riemkap terug.
Stopbalk instellen
Stel de stopbalk af om ervoor te zorgen dat het maaisel op behoorlijke wijze wordt afgevoerd uit de omgeving van de messenkooi. Ga als volgt te werk:
Note: De balk kan worden aangepast om veranderingen in de gazonomstandigheden te compenseren. De afstand tussen de balk en de messenkooi moet worden verkleind als het gazon uitzonderlijk droog is. Als het gazon vochtig is, moet de afstand tussen de balk en de messenkooi echter vergroot worden. De balk moet evenwijdig aan de messenkooi zijn om de beste prestaties te verkrijgen. Stel deze opnieuw na het slijpen van de messenkooi met een messenkooislijper.
-
Draai de schroeven los waarmee de bovenbalk (Figuur 23) is gemonteerd aan de maai-eenheid.

-
Steek een voelermaat van 1,5 mm tussen de bovenzijde van de messenkooi en de balk en draai de schroeven vast.
Important: Zorg ervoor dat de afstand tussen de balk en de messenkooi over de gehele lengte van de messenkooi gelijk is.
Onderhoud van de snijbalk/ondermes
Het onderhoud aan de snijbalk en ondermes mag uitsluitend worden uitgevoerd door een goed opgeleide monteur om schade aan de messenkooi, snijbalk en ondermes te voorkomen. Het beste is om de maai-eenheid naar een erkende Toro distributeur te brengen voor onderhoud. Zie de Onderhoudshandleiding van uw tractie-eenheid voor volledige instructies, speciaal gereedschap en schema's voor het onderhouden van het ondermes. Hieronder volgen de aanwijzingen en specificaties voor het onderhoud van het ondermes indien u de snijbalk zelf wilt (de)monteren.
Important: Volg bij onderhoudswerkzaamheden aan het ondermes altijd de procedures in de Onderhoudshandleiding. Als het ondermes niet goed wordt gemonteerd en geslepen kan dit leiden tot schade aan de messenkooi, snijbalk of ondermes.
De snijbalk verwijderen
-
Draai de stelschroef van de snijbalk linksom om de snijbalk weg te trekken van de messenkooi (Figuur 24).

-
Draai de veerspanningsmoer uit totdat de drukring niet meer tegen de snijbalk is geklemd (Figuur 24).
-
Draai de borgmoer van de snijbalkbout op beide zijden van de machine los (Figuur 25).

-
Verwijder de bouten van de snijbalk zodat u de snijbalk naar beneden kunt bewegen, en neem deze van bouten op de machine af (Figuur 25).
Bewaar de 2 nylon ringen en 2 stalen ringen op beide uiteinden van de snijbalk (Figuur 26).

De snijbalk monteren
-
Plaats de snijbalk en zorg ervoor dat de montagelippen zich tussen de ring en de stelschroef van de snijbalk bevinden.
-
Zet de snijbalk vast aan beide zijplaten met de snijbalkbouten (moeren op de bouten) en 4 ringen (8 in totaal).
-
Plaats een nylon ring aan beide zijden van de naaf van de zijplaat. Plaats een stalen ring op de buitenkant van beide nylon ringen (Figuur 26).
-
Draai de bouten van de snijbalk vast met een torsie van 27 tot 36 N·m. Draai de borgmoeren met de hand vast tot de buitenste stalen onderlegring niet meer draait en er geen eindspeling meer is. De ringen aan de binnenkant mogen speelruimte hebben.
Important: Draai de borgmoeren niet te vast of de zijplaten worden vervormd.
-
Draai de veerspanningsmoer vast totdat de veer is ingedrukt; draai deze vervolgens een ½ slag terug (Figuur 27).

Het ondermes monteren
-
Verwijder roest, aanslag en corrosie van het oppervlak van de snijbalk en breng er een laagje olie op aan.
-
Maak de schroefdraad schoon.
-
Breng Never-Seez pasta aan op de schroeven en monteer het ondermes op de snijbalk.

-
Draai de 2 buitenste schroeven vast met een torsie van 1 N·m.
-
Draai de schroeven vast met een torsie van 23 tot 28 N·m; werk van het midden van het ondermes naar buiten toe.

-
Slijp het ondermes.
Specificaties ondermes
Specificaties voor het slijpen van het ondermes

| Vrijloophoek standaard ondermes | 3° minimaal |
| Vrijloophoek verlengd ondermes | 7° minimaal |
| Bereik van de voorhoek | 13° tot 17° |
De messenkooi wetten
Gevaar
Contact met de messenkooi of andere bewegende onderdelen kan lichamelijk letsel veroorzaken.
Houd uw vingers, handen en kleding uit de buurt van de messenkooien of andere bewegende onderdelen.
-
Blijf op een afstand van de messenkooi tijdens het wetten.
-
U wordt geadviseerd bij het wetten geen borstel met een korte steel te gebruiken. De betreffende stelen zijn verkrijgbaar bij een erkende Toro-dealer.
U kunt de messen wetten zowel door de maai-eenheid op de tractie-eenheid te laten of door de maai-eenheid volledig van de tractie-eenheid te halen. Als u de maai-eenheid op de tractie-eenheid laat, moet u de zeskantige koppeling tussen de hoofdaandrijving en de aandrijving van de maai-eenheid ontkoppelen om overmatige slijtage van de messenkooirem te voorkomen.
-
Plaats de machine op een schoon, horizontaal oppervlak.
-
Schakel de machine als volgt uit:
-
Benzine modellen: Schakel de motor uit en maak de bougiekabel los:
-
Elektrische modellen: schakel de machine uit en koppel de accu af (T-handgreep).
-
-
Stel de parkeerrem in werking.
-
Verbind de wetmachine op de maai-eenheid door een ½" zeskant aan te brengen op de uitgangsas van de messenkooipoelie aan de linkerkant van de maai-eenheid.
Note: Aanvullende instructies en procedures met betrekking tot wetten kunt u vinden in de handleiding Slijpen van Toro-maaimachines met messenkooien en roterende messen, documentnr. 80-300PT.
Note: Voor een betere snijrand moet u de voorkant van het ondermes en de messenkooi bijvijlen als de wet-procedure is voltooid. Hiermee verwijdert u bramen of ruwe randen die kunnen zijn ontstaan op de snijrand. Mogelijk moet u de bovenrand zeer licht vijlen om bramen volledig van de snijrand te breken.
Note: Als de maai-eenheid tijdens het wetten aangesloten is gebleven op de machine moet u de zeskantige as van de machine weer aankoppelen op de maai-eenheid.


te letten, dat betekent Voorzichtig,
Waarschuwing of Gevaar – instructie voor persoonlijke veiligheid.
Niet-naleving van deze instructies kan leiden tot lichamelijk of dodelijk
letsel.





