Manutenzione
Note: Stabilite i lati sinistro e destro della macchina dalla normale posizione di guida.
Supporto dell'apparato di taglio
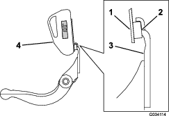
Ogni volta che dovete inclinare l'apparato di taglio per esporre la controlama o il cilindro, supportate la parte posteriore dell'apparato di taglio per evitare che i dadi sul retro delle viti di regolazione della barra di appoggio tocchino il piano di lavoro (Figura 8).

Regolazione del contatto tra controlama e cilindro
Regolazione giornaliera della controlama
Prima dell’uso ogni giorno, o in base alle necessità, controllate ogni apparato di taglio per verificare il corretto contatto controlama/cilindro. Eseguite questo controllo anche se la qualità del taglio è accettabile.
-
Abbassate gli apparati di taglio su una superficie rigida.
-
Spegnete la macchina come indicato di seguito:
-
Macchine a benzina: spegnete il motore e staccate il cappellotto dalla candela.
-
Macchine elettriche: spegnete la macchina e staccate il connettore della batteria (impugnatura a T).
-
-
Ruotate lentamente il cilindro in direzione contraria e verificate il contatto cilindro/controlama.
-
Se non risulta evidente nessun contatto, ruotate le viti di regolazione della barra di appoggio in senso orario (Figura 9), uno scatto alla volta, fino ad avvertire e udire un leggero contatto.

Note: Il cilindro deve tagliare un foglio di carta quando inserito ad angolo retto rispetto alla controlama, ad entrambe le estremità e al centro del cilindro.
Note: Le viti di regolazione della controlama sono dotate di denti di arresto che corrispondono a uno spostamento della controlama di 0,018 mm per ogni posizione indicizzata.
-
Se la resistenza del cilindro o il contatto sono eccessivi, è necessario lappare, rimettere a nuovo la parte anteriore della controlama o molare di nuovo l'apparato di taglio per ottenere l'affilatura che consente di eseguire un taglio preciso (fate riferimento al Manuale per l'affilatura dei cilindri e dei tosaerba rotanti Toro, libretto n. 09168SL).
Important: È sempre preferibile un leggero contatto. Se non viene mantenuto un leggero contatto, i taglienti controlama/cilindro non si autoaffileranno sufficientemente e dopo un certo periodo di funzionamento risulteranno smussati. Se mantenete un contatto eccessivo, si accelererà l’usura della controlama/del cilindro, che causerà un’usura irregolare compromettendo la qualità del taglio.
Note: Sugli apparati di taglio eFlex il contatto tra cilindro e controlama ha un impatto significativo sul consumo di energia. Affinché le prestazioni di taglio e il consumo della batteria siano ottimali si consiglia di impostare un contatto molto leggero.
Note: Mentre le lame del cilindro continuano a girare contro la controlama, una leggera bava comparirà sulla superficie anteriore del tagliente su tutta la lunghezza della controlama. Occasionalmente ponete una lima sul bordo anteriore per eliminare questa bava e migliorare il taglio.Dopo un funzionamento prolungato si forma una cresta a entrambe le estremità della controlama. Per garantire un funzionamento regolare, arrotondate o limate questi incavi con il tagliente della controlama.
-
Regolazione della controlama dopo la molatura, la lappatura o lo smontaggio
Seguite questa procedura dopo la molatura, la lappatura o lo smontaggio del cilindro. Non si tratta di una regolazione giornaliera.
Note: Sugli apparati di taglio eFlex il contatto tra cilindro e controlama ha un impatto significativo sul consumo di energia. Affinché le prestazioni di taglio e il consumo della batteria siano ottimali si consiglia di impostare un contatto molto leggero.
-
Collocate l'apparato di taglio su una superficie piana e orizzontale.
-
Inclinate l'apparato di taglio per accedere alla controlama e al cilindro.
Note: Accertatevi che i dadi o le viti di regolazione sul retro della barra di appoggio non poggino sul piano di lavoro (Figura 8).
-
Ruotate il cilindro in modo che una delle lame intersechi il tagliente della controlama tra la prima e la seconda testa della vite della controlama sul lato destro dell'apparato di taglio.
-
Tracciate un segno identificativo sulla lama nel punto in cui interseca il tagliente della controlama.
Note: Così facendo si faciliteranno le regolazioni successive.
-
Inserite uno spessore da 0,05 mm tra la lama e il tagliente della controlama nel punto contrassegnato nel passaggio 4.
-
Ruotate la vite di regolazione della barra di appoggio destra (Figura 9) fino a quando non sentite una leggera pressione sullo spessore facendolo scorrere da lato a lato. Rimuovete lo spessore.
-
Dal lato sinistro dell'apparato di taglio, ruotate lentamente il cilindro in modo che la lama più vicina intersechi il tagliente della controlama tra la prima e la seconda testa della vite.
-
Ripetete i passaggi da 4 a 6 per il lato sinistro dell'apparato di taglio e la vite di regolazione della barra di appoggio sinistra.
-
Ripetete i passaggi 5 e 6 fino a quando non avvertite una leggera pressione nei punti di contatto sui lati sinistro e destro dell'apparato di taglio.
-
Per ottenere il contatto tra cilindro e controlama, ruotate ciascuna vite di regolazione della barra di appoggio in senso orario di 3 scatti.
Note: Ciascuno scatto sulla vite di regolazione della barra di appoggio sposta la controlama di 0,018 mm. Non stringete eccessivamente le viti di regolazione.Ogni volta che girate la vite di regolazione in senso orario, la controlama si avvicina al cilindro. Ogni volta che girate la vite di regolazione in senso antiorario, la controlama si allontana dal cilindro.
-
Testate le performance di taglio inserendo una lunga striscia di carta per le performance di taglio tra il cilindro e la controlama, perpendicolarmente al cilindro e alla controlama (Figura 10). Lentamente ruotate il cilindro in avanti per tagliare la carta.

Note: Se la resistenza del cilindro o il contatto sono eccessivi, può essere necessario lappare o affilare il cilindro e la controlama per ottenere l'affilatura che consente di eseguire un taglio preciso.
Rettifica della controlama
Rettifica del cilindro
Il nuovo cilindro ha una larghezza del pieno compresa tra 0,76 e 1,27 mm e un angolo di spoglia di 30 gradi.
Quando la larghezza del pieno diventa superiore a 3 mm, effettuate le seguenti operazioni:
-
Applicate un angolo di spoglia di 30 gradi su tutte le lame dei cilindri fino a quando la larghezza del pieno non è compresa tra 0,76 mm e 1,27 mm (Figura 11).

-
Molate a rotazione il cilindro per ottenere un'eccentricità del cilindro di <0,025 mm.
Note: Questo determina un leggero incremento della larghezza del pieno.
Note: Per estendere la longevità dell'affilatura del tagliente del cilindro e della controlama, dopo la molatura del cilindro e/o della controlama verificate di nuovo il contatto cilindro-controlama dopo il taglio di 6 green, poiché la rimozione di eventuali bave potrebbe creare un gioco errato tra cilindro e controlama e, di conseguenza, accelerare l'usura.
Verifica dell'angolo di molatura superiore
L'angolo che utilizzate per molare le vostre controlame è molto importante.
Utilizzate il goniometro e il supporto del goniometro per verificare l'angolo prodotto dalla vostra mola e, quindi, correggete eventuali imprecisioni della mola.
-
Posizionate il goniometro sul lato inferiore della controlama, come illustrato nella Figura 12.

-
Premete il pulsante Alt Zero sul goniometro.
-
Posizionate il supporto del goniometro sul tagliente della controlama, in modo che il bordo del magnete si accoppi con il tagliente della controlama (Figura 13).
Note: Durante questo passaggio, il display digitale deve essere visibile dallo stesso lato del passaggio 1.

-
Posizionate il goniometro sul supporto, come illustrato nella Figura 13.
Note: Questo è l'angolo prodotto dalla vostra mola e deve essere compreso entro 2 gradi dall'angolo di molatura superiore raccomandato.
Specifiche di affilatura del cilindro
| Diametro cilindro (nuovo) | 128,5 mm |
| Limite di servizio – Diametro cilindro | 114,3 mm |
| Diametro dell'albero del cilindro (DE) | 34,9 mm |
| Angolo di spoglia della lama | 25–35 |
| Larghezza del pieno della lama | 0,76–1,27 mm |
| Intervallo delle larghezze del pieno della lama | 0,8–1,2 mm |
| Limite di servizio – Rastremazione del diametro del cilindro | 0,25 mm |
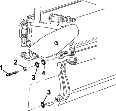
Regolazione dell'altezza del rullo posteriore
In base all'altezza di taglio desiderata regolate le staffe del rullo posteriore (Figura 14 o Figura 15) nella posizione bassa o alta:
-
Collocate il distanziale sopra la flangia di montaggio della piastra laterale (impostazione di fabbrica) se l'altezza di taglio è compresa tra 1,5 mm e 6 mm, come illustrato nella Figura 14.

-
Collocate il distanziale sotto la flangia di montaggio della piastra laterale se l'altezza di taglio è compresa tra 3 mm e 25 mm, come illustrato nella Figura 15.

-
Alzate l'apparato di taglio posteriore e inserite un blocco sotto la controlama.
-
Rimuovete i 2 dadi che fissano ogni staffa del rullo e ogni distanziale a ciascuna flangia di montaggio della piastra laterale.
-
Abbassate e allontanate il rullo e le viti dalle flange e dai distanziali di montaggio della piastra laterale.
-
Collocate i distanziali sulle viti al di sopra o al di sotto delle staffe del rullo, come opportuno (Figura 14 o Figura 15).
-
Fissate la staffa del rullo e i distanziali sulla parte inferiore delle flange di montaggio con i dadi precedentemente rimossi.
-
Controllate l'esattezza del contatto tra controlama e cilindro. Inclinate il tosaerba per accedere ai rulli anteriore e posteriore ed alla controlama.
Note: La posizione del rullo posteriore rispetto al cilindro viene controllata mediante le tolleranze di lavorazione dei componenti assemblati, pertanto non è necessario eseguire la messa in parallelo. È tuttavia possibile eseguire una certa regolazione, collocando l'apparato di taglio su un piano di riscontro ed allentando i bulloni di montaggio della piastra laterale (Figura 16). Regolate e serrate i bulloni a operazione conclusa.

Important: Ogni volta che dovete inclinare l'apparato di taglio per esporre la controlama o il cilindro, supportate la parte posteriore dell'apparato di taglio per evitare che i dadi sul retro delle viti di regolazione della barra di appoggio tocchino il piano di lavoro (Figura 8).
Regolazione dell'altezza di taglio
Il presente apparato di taglio è fornito di serie con la controlama taglio micro EdgeMax e una barra di appoggio standard. L'altezza di taglio effettiva dipende dalle precedenti configurazioni del tosaerba e dalle condizioni del tappeto erboso (ovvero dal tipo di rullo, dalla distanza tra il punto di contatto della controlama e l'asse verticale del cilindro, dalla morbidezza o rigidità dei green, dalla stagione). Impostate un'altezza di taglio iniziale 0,25–0,38 mm maggiore dell'impostazione precedente e regolatela a seconda delle condizioni.
Note: Per altezze di taglio superiori a 13 mm, montate il kit per altezze di taglio superiori.
Utilizzate la seguente tabella per determinare quale controlama è più indicata all'altezza di taglio desiderata.
| Tabella di corrispondenza controlama/altezza di taglio consigliata | ||
| Controlama | N. cat. | Altezza di taglio |
| Taglio micro EdgeMax (Standard) | 115-1880 (2100)117-1530 (1800) | 1,5–4,7 mm |
| Torneo EdgeMax (opzionale) | 115-1881 (2100)117-1532 (1800) | 3,1–12,7 mm |
| Taglio micro (opzionale) | 93-4262 (2100)98-7261 (1800) | 1,5–4,7 mm |
| Torneo (opzionale) | 93-4263 (2100)98-7260 (1800) | 3,1–12,7 mm |
| Taglio micro esteso (opzionale) | 108-4303 (2100)110-2300 (1800) | 1,5–4,7 mm |
| Torneo esteso (opzionale) | 108-4302 (2100) | 3,1–12,7 mm |
| Taglio basso (opzionale) | 93-4264 (2100)110-2301 (1800) | 4,7–25,4 mm |
-
Allentate i dadi di bloccaggio che fissano i bracci dell'altezza di taglio alle piastre laterali dell'apparato di taglio (Figura 17).

-
Allentate il dado sulla barra di misura e posizionate la vite di regolazione all'altezza di taglio opportuna (Figura 18).
Note: La distanza tra l'estremità inferiore della testa della vite e la parte frontale della barra corrisponde all'altezza di taglio.

-
Agganciate la testa della vite sul tagliente della controlama, e appoggiate la parte posteriore della barra sul rullo posteriore (Figura 19).

-
Girate la vite di regolazione finché il rullo non tocca la parte anteriore della barra di misura.
-
Regolate entrambi i lati del rullo finché quest'ultimo non sarà completamente parallelo alla controlama.
Important: Quando la regolazione è corretta, i rulli anteriore e posteriore toccano la barra di misura e la vite tocca la controlama senza gioco. Ciò garantisce che l'altezza di taglio sia identica da ambo i lati della controlama.
-
Serrate i dadi per fissare la regolazione a sufficienza in modo da eliminare il gioco dalla rondella.
Regolazione dell'impostazione di taglio
Sull'apparato di taglio sono presenti 6 impostazioni di taglio che potete regolare a seconda delle condizioni del tappeto erboso. Iniziate a regolare l'impostazione di taglio in funzione dell'altezza di taglio, poi eseguite una prova e regolate l'impostazione in modo da ottenere la qualità di taglio desiderata.
-
Spegnete la macchina come indicato di seguito:
-
Macchine a benzina: spegnete il motore e staccate il cappellotto dalla candela.
-
Macchine elettriche: spegnete la macchina e staccate il connettore della batteria (impugnatura a T).
-
-
Allentate il bullone della flangia che fissa il copricinghia, e togliete il copricinghia per accedere alla cinghia (Figura 20).

-
Allentate il dado dell'alloggiamento dei cuscinetti (Figura 21).

-
Con una chiave da 16 mm girate la sede del cuscinetto in modo che funzioni senza ostruzioni.
-
Rimuovete la cinghia (Figura 21).
-
Servendovi della tabella sull'adesivo illustrato in Figura 22, determinate l'impostazione di taglio desiderata e quali pulegge dovrete spostare.
Note: Ciascuna puleggia è numerata (22, 24 e 25). Spostate le pulegge nelle posizioni indicate nella tabella per ottenere l'impostazione di taglio desiderata.

-
Allentate le 2 viti di fermo su ciascuna delle pulegge che dovete spostare servendovi di una chiave esagonale.
-
Rimuovete ciascuna puleggia.
-
Montate ciascuna puleggia secondo la configurazione indicata sull'adesivo (Figura 22).
Note: Accertatevi di posizionare le viti di fermo su ciascuna puleggia in modo tale che siano allineate alla chiavetta e alla superficie piatta dell'albero.
-
Serrate le viti di fermo a un valore compreso tra 8,3 e 8,9 N·m.
-
Montate la cinghia.
-
Accertatevi che la molla di compressione metta in tensione la cinghia (Figura 21).
-
Serrate il dado dell'alloggiamento dei cuscinetti.
-
Montate il copricinghia.
Regolazione della barra di scarico
Regolate la barra di scarico in modo da garantire che lo sfalcio venga completamente scaricato dall'area del cilindro, come qui di seguito:
Note: La barra è regolabile per compensare le varie condizioni del tappeto erboso. Avvicinatela al cilindro quando il tappeto erboso è molto asciutto, ed allontanatela dal cilindro quando il tappeto erboso è bagnato. Otterrete prestazioni ottimali quando la barra è parallela al cilindro. Regolatela dopo che avete affilato il cilindro su un'apposita mola.
-
Allentate le viti che fissano la barra superiore (Figura 23) all'apparato di taglio.

-
Inserite uno spessimetro da 1,5 mm tra la parte superiore del cilindro e la barra, quindi serrate le viti.
Important: Accertatevi che la distanza tra la barra e il cilindro sia identica lungo tutto il cilindro.
Revisione della barra di appoggio/controlama
Solo un meccanico appositamente addestrato deve effettuare la manutenzione della barra di appoggio e della controlama per evitare danni a cilindro, barra di appoggio o controlama. Portate l'apparato di taglio dal vostro distributore Toro autorizzato per la manutenzione. Fate riferimento al Manuale di manutenzione del vostro trattorino per le istruzioni complete, strumenti speciali e schemi per la manutenzione della controlama. Se avete bisogno di rimuovere o montare la barra di appoggio da soli, di seguito sono fornite le istruzioni e le specifiche per la manutenzione della controlama.
Important: Seguite sempre le procedure per la controlama indicate nel vostro Manuale di manutenzione quando effettuate la manutenzione della controlama. Se il montaggio e l'affilatura della controlama vengono effettuati in modo non idoneo, cilindro, barra di appoggio o controlama possono danneggiarsi.
Rimozione della barra di appoggio
-
Ruotate la vite di regolazione della barra di appoggio in senso antiorario per allontanare la controlama dal cilindro (Figura 24).

-
Allentate il dado di tensione della molla, finché la rondella non sarà più in tensione contro la barra di appoggio (Figura 24).
-
Su ciascun lato della macchina, allentate il dado di bloccaggio che fissa il bullone della barra di appoggio (Figura 25).

-
Togliete ogni bullone della barra di appoggio così che possiate tirare quest'ultima verso il basso e rimuoverla dal bullone della macchina (Figura 25).
Tenete in considerazione le 2 rondelle di nylon e le 2 rondelle in acciaio stampato su ciascun lato della barra di appoggio (Figura 26).

Montaggio della barra di appoggio
-
Montate la barra di appoggio, posizionando gli attacchi di montaggio tra la rondella e il regolatore della barra di appoggio.
-
Fissate la barra di appoggio su ciascuna piastra laterale mediante gli appositi bulloni (dadi sui bulloni) e 4 rondelle (8 in tutto).
-
Collocate una rondella di nylon su ciascun lato del risalto della piastra laterale. Posizionate una rondella di acciaio all’esterno di ciascuna rondella di nylon (Figura 26).
-
Serrate i bulloni della barra di appoggio a un valore compreso tra 27 e 36 N∙m. Serrate a mano i dadi di bloccaggio finché la rondella di acciaio esterna non cessa di ruotare e il gioco di estremità scompare. Le rondelle all’interno possono avere del gioco.
Important: Non serrate eccessivamente i dadi di bloccaggio, altrimenti devierete le piastre laterali.
-
Serrate il dado di tensionamento della molla finché questa non è a riposo, quindi allentatelo di mezzo giro (Figura 27).

Montaggio della controlama
-
Rimuovete la ruggine, il calcare e la corrosione dalla superficie della controlama e applicate un sottile strato di olio alla superficie della controlama.
-
Pulite i filetti delle viti.
-
Applicate un composto antigrippaggio sulle viti e montate la controlama sulla barra di appoggio.

-
Serrate le 2 viti esterne a una coppia di 1 N∙m.
-
Procedendo dal centro della controlama, serrate le viti a una coppia compresa tra 23 e 28 N∙m.

-
Rettificate la controlama.
Specifiche della controlama
Specifiche di affilatura della controlama

| Angolo di spoglia della controlama standard | 3° minimo |
| Angolo di spoglia della controlama estesa | 7° minimo |
| Intervallo dell'angolo anteriore | 13°–17° |
Lappatura del cilindro
Pericolo
Il contatto con il cilindro o altre parti in movimento può causare infortuni.
Non avvicinate dita, mani o abiti ai cilindri o ad altre parti in movimento.
-
Non avvicinatevi al cilindro mentre è in corso la lappatura.
-
Per la lappatura, non usate mai un pennello dal manico corto. Per le parti di assemblaggio del manico contattate il vostro distributore Toro autorizzato.
Potete lappare i cilindri sia lasciando l'apparato di taglio montato sul trattorino, sia rimuovendo completamente l'apparato di taglio dal trattorino. Se lasciate l'apparato di taglio sul trattorino, spostate l'accoppiamento esagonale tra la trasmissione principale e la trasmissione dell'apparato di taglio in posizione disaccoppiata per evitare l'usura eccessiva del freno del cilindro.
-
Parcheggiate la macchina su una superficie piana e pulita.
-
Spegnete la macchina come indicato di seguito:
-
Macchine a benzina: spegnete il motore e staccate il cappellotto dalla candela.
-
Macchine elettriche: spegnete la macchina e staccate il connettore della batteria (impugnatura a T).
-
-
Inserite il freno di stazionamento.
-
Collegate il dispositivo di lappatura all'apparato di taglio montando una bussola esagonale da 1/2 pollice sull'albero di uscita della puleggia del cilindro, sul lato sinistro dell'apparato di taglio.
Note: Ulteriori istruzioni e procedure di lappatura sono disponibili nel manuale Toro per l'affilatura dei cilindri e per tosaerba rotativi (Libretto n° 80-300PT).
Note: Per un tagliente migliore, al termine della lappatura passate una lima sulla superficie anteriore della controlama. La limatura rimuove possibili sbavature e irregolarità del tagliente. Potrebbe essere necessaria una limatura molto leggera del bordo superiore per eliminare del tutto eventuali difetti del tagliente.
Note: Se durante la lappatura lasciate l'apparato di taglio montato sulla macchina, collegate di nuovo l'albero ad accoppiamento esagonale della macchina all'apparato di taglio.


), che indica: Attenzione, Avvertenza
o Pericolo– “norme di sicurezza”. La mancanza di
rispetto delle presenti istruzioni può provocare infortuni
o la morte.





