Mantenimiento
Note: Los lados derecho e izquierdo de la máquina se determinan desde la posición normal del operador.
Soporte de la unidad de corte
Cuando sea necesario inclinar la unidad de corte para tener acceso a la contracuchilla/el molinete, apoye la parte trasera de la unidad de corte para asegurarse de que las tuercas de los tornillos de ajuste de la barra de asiento no estén apoyadas en la superficie de trabajo (Figura 8).

Ajuste del contacto entre la contracuchilla y el molinete
Ajuste diario de la contracuchilla
Cada día, antes de segar, o siempre que sea necesario, compruebe cada unidad de corte para verificar el contacto correcto entre la contracuchilla y el molinete. Realice esta comprobación aunque la calidad de corte sea aceptable.
-
Baje las unidades de corte sobre una superficie dura.
-
Desconecte la máquina de la forma siguiente:
-
Unidades de gasolina: pare el motor y desconecte el cable de la bujía.
-
Unidades eléctricas: apague la máquina y desenchufe el conector de la batería (asa en T).
-
-
Gire el molinete lentamente en dirección contraria, escuchando el ruido del contacto entre molinete y contracuchilla.
-
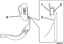
Si no se nota ningún contacto, gire los pomos de ajuste en sentido horario (Figura 9), un clic a la vez, hasta que se note y se oiga un contacto ligero.

Note: El molinete debe cortar una hoja de papel cuando se inserta en ángulo recto respecto a la contracuchilla, en ambos extremos y en el centro del molinete.
Note: Los tornillos de ajuste de la barra de asiento tienen trinquetes; cada posición corresponde a un movimiento de la contracuchilla de 0,018 mm.
-
Si se nota una resistencia excesiva del molinete, será necesario autoafilar, rectificar la cara delantera de la contracuchilla, o volver a amolar la unidad de corte, para conseguir los filos necesarios para un corte de precisión (consulte el Manual de afilado de molinetes de Toro, Impreso Nº 09168SL).
Important: Es preferible tener un contacto ligero en todo momento. Si no se mantiene dicho contacto ligero, los filos de la contracuchilla/molinete no se afilarán lo suficiente y después de cierto tiempo de uso, quedarán romos. Si se mantiene un contacto excesivo, el desgaste de contracuchilla/molinete será acelerado, puede haber un desgaste desigual, y la calidad de corte puede verse afectada negativamente.
Note: En las unidades de corte eFlex, el contacto entre molinete y contracuchilla tiene un impacto importante sobre el consumo energético. Se recomienda un contacto muy ligero, que mejora el rendimiento de corte y el consumo de la batería.
Note: A medida que giran las cuchillas del molinete contra la contracuchilla, aparecerá una ligera rebaba en la superficie delantera del filo de corte, en toda la longitud de la contracuchilla. Pase una lima de vez en cuando sobre el borde delantero para eliminar esta rebaba y mejorar la calidad de corte.Después de un uso prolongado, se forma una muesca en ambos extremos de la contracuchilla. Estas muescas deben ser redondeadas o limadas a ras del filo de corte de la contracuchilla para asegurar una operación suave.
-
Ajuste de la contracuchilla después de amolarlo, autoafilarlo o desmontarlo
Utilice este procedimiento después de amolar, autoafilar o desmontar el molinete. No se trata de un ajuste diario.
Note: En las unidades de corte eFlex, el contacto entre molinete y contracuchilla tiene un impacto importante sobre el consumo energético. Se recomienda un contacto muy ligero, que mejora el rendimiento de corte y el consumo de la batería.
-
Coloque la máquina en una superficie de trabajo plana y nivelada.
-
Incline la unidad de corte para tener acceso a la contracuchilla y el molinete.
Note: Asegúrese de que las tuercas de la parte de atrás de los tornillos de ajuste de la barra de asiento no descansan sobre la superficie de trabajo (Figura 8).
-
Gire el molinete hasta que una de las cuchillas cruce el filo de la contracuchilla entre la cabeza del primer tornillo de la contracuchilla y la cabeza del segundo tornillo, situado en el lado derecho de la unidad de corte.
-
Haga una marca de identificación en la cuchilla, en el punto en que cruza el filo de la contracuchilla.
Note: Esto facilitará los ajustes posteriores.
-
Inserte un suplemento de 0,05 mm entre la cuchilla y el filo de la contracuchilla, en el punto marcado en el paso 4.
-
Gire el tornillo de ajuste derecho de la barra de asiento (Figura 9) hasta que note una ligera presión en el suplemento al moverlo de un lado a otro. Retire el suplemento.
-
En el lado izquierdo de la unidad de corte, gire el molinete lentamente hasta que la cuchilla más próxima cruce el filo de la contracuchilla entre las cabezas del primer y segundo tornillo.
-
Repita los pasos 4 a 6 con el lado izquierdo de la unidad de corte y el tornillo de ajuste izquierdo de la barra de asiento.
-
Repita los pasos 5 y 6 hasta que haya una ligera presión en los puntos de contacto en los lados derecho e izquierdo de la unidad de corte.
-
Para obtener un contacto ligero entre el molinete y la contracuchilla, gire cada tornillo de ajuste de la barra de asiento 3 “clics” en sentido horario.
Note: Cada clic del tornillo de ajuste de la barra de asiento desplaza la contracuchilla 0,018 mm. No apriete demasiado los tornillos de ajuste.Al girar el tornillo de ajuste en sentido horario, se acerca la contracuchilla al molinete. Al girar el tornillo de ajuste en sentido antihorario, se aleja la contracuchilla al molinete.
-
Pruebe el rendimiento de corte insertando una tira larga de papel de prueba del rendimiento de corte entre el molinete y la contracuchilla, perpendicular al molinete y a la contracuchilla (Figura 10). Gire el molinete lentamente hacia adelante para cortar el papel.

Note: Si se nota un contacto excesivo o demasiada resistencia del molinete, puede ser necesario autoafilar o rectificar el molinete y la contracuchilla para obtener los filos necesarios para un corte de precisión.
Amolado de la contracuchilla
Amolado de rebajo del molinete
El nuevo molinete presenta una anchura de superficie de incidencia de entre 0,76 y 1,27 mm y un amolado de rebajo de 30 grados.
Si la superficie de incidencia supera los 3 mm de ancho, realice lo siguiente:
-
Amole todas las cuchillas con un rebajo de 30 grados hasta que la anchura de la superficie de incidencia sea de entre 0,76 y 1,27 mm (Figura 11).

-
Amole el molinete girándolo para lograr una excentricidad del molinete de <0,025 mm.
Note: Esto hace que aumente ligeramente la anchura de la superficie de incidencia.
Note: Para que los filos del molinete y de la contracuchilla duren más, tras amolar el molinete y/o la contracuchilla, vuelva a comprobar el contacto entre el molinete y la contracuchilla después de segar 6 greens, porque esto eliminará la rebaba, posiblemente creando un contacto incorrecto entre el molinete y la contracuchilla y por tanto acelerando el desgaste.
Comprobación del ángulo de amolado superior
El ángulo que utilice para amolar las contracuchillas es muy importante.
Utilice el indicador de ángulo y el soporte del indicador de ángulo para comprobar el ángulo que produce la máquina de amolado y corrija cualquier imprecisión de dicha máquina.
-
Coloque el indicador de ángulo en el lateral inferior de la contracuchilla, tal y como se muestra en la Figura 12.

-
Pulse el botón Alt Zero en el indicador de ángulo.
-
Coloque el soporte del indicador de ángulo en el borde de la contracuchilla, de modo que el borde del imán coincida con el borde de la contracuchilla (Figura 13).
Note: La pantalla digital debe estar visible desde el mismo lado durante este paso, al igual que lo estaba en el paso 1.

-
Coloque el indicador de ángulo en el soporte, tal y como se muestra en la Figura 13.
Note: Este es el ángulo que produce la máquina de amolado y debe encontrarse en un margen de 2 grados del ángulo de amolado superior recomendado.
Especificaciones de amolado del molinete
| Diámetro del molinete (nuevo) | 128,5 mm |
| Límite de ajuste – Diámetro del molinete | 114,3 mm |
| Diámetro del eje del molinete (OD) | 34,9 mm |
| Ángulo de rebajo de la cuchilla | 25–35° |
| Anchura de superficie de incidencia de la cuchilla | 0,76–1,27 mm |
| Rango de anchura de superficie de incidencia de la cuchilla | 0,8–1,2 mm |
| Límite de ajuste – Cono de diámetro del molinete | 0,25 mm |
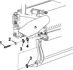
Ajuste de la altura del rodillo trasero
Dependiendo del intervalo de alturas de corte deseado, ajuste los soportes del rodillo trasero (Figura 14 o Figura 15) a la posición superior o inferior:
-
Coloque el espaciador encima de la brida de montaje de la chapa lateral (ajuste de fábrica) para obtener un intervalo de alturas de corte de 1,5 a 6 mm, según se muestra en Figura 14.

-
Coloque el espaciador debajo de la brida de montaje de la chapa lateral para alturas de corte de 3 mm a 25 mm, según se muestra en Figura 15.

-
Eleve la parte trasera de la unidad de corte y coloque un bloque debajo de la contracuchilla.
-
Retire las 2 tuercas que sujetan cada soporte de rodillo con sus espaciadores a las bridas de montaje de las chapas laterales.
-
Separe el rodillo y los tornillos de las bridas de montaje de las chapas laterales y los espaciadores.
-
Coloque los espaciadores sobre los tornillos, encima o debajo de los soportes de los rodillos, según sea necesario (Figura 14 o Figura 15).
-
Vuelva a sujetar los soportes de los rodillos y los espaciadores a la parte inferior de las bridas de montaje con las tuercas que se retiraron anteriormente.
-
Verifique que el contacto entre contracuchilla y molinete es el correcto. Incline el cortacésped para tener acceso a los rodillos delantero y trasero y a la contracuchilla.
Note: La posición del rodillo trasero respecto al molinete es controlada por las tolerancias de mecanizado de los componentes ensamblados, y no requiere ajuste de paralelismo. Es posible hacer ajustes limitados colocando la unidad de corte en una chapa plana y aflojando los pernos de montaje de las chapas laterales (Figura 16). Ajuste y apriete los pernos cuando haya terminado.

Important: Si tiene que inclinar la unidad de corte para tener acceso a la contracuchilla/el molinete, apoye la parte trasera de la unidad de corte para asegurarse de que las tuercas de los tornillos de ajuste de la barra de asiento no estén apoyadas en la superficie de trabajo (Figura 8).
Ajuste de la altura de corte
Esta unidad de corte viene de serie con la contracuchilla de microcorte EdgeMax y una barra de asiento estándar. La altura de corte efectiva depende de las configuraciones anteriores del cortacésped y de las condiciones del césped (por ejemplo, tipo de rodillo, distancia de la contracuchilla del centro, greens blandos o firmes, condiciones estacionales). Ponga la altura de corte inicial en 0,25 mm a 0,38 mm más que en la configuración anterior del cortacésped, y luego ajústela según las condiciones.
Note: Para alturas de corte de más de 13 mm, instale el kit de altura de corte alta.
Utilice la tabla siguiente para determinar qué contracuchilla se adapta mejor a la altura de corte deseada.
| Tabla de correspondencia recomendada entre contracuchilla y altura de corte | ||
| Contracuchilla | Número de pieza | Altura de corte |
| Microcorte EdgeMax (de serie) | 115-1880 (2100)117-1530 (1800) | 1,5–4,7 mm |
| Competición EdgeMax (opcional) | 115-1881 (2100)117-1532 (1800) | 3,1–12,7 mm |
| Microcorte (opcional) | 93-4262 (2100)98-7261 (1800) | 1,5–4,7 mm |
| Competición (opcional) | 93-4263 (2100)98-7260 (1800) | 3,1–12,7 mm |
| Microcorte extendida (opcional) | 108-4303 (2100)110-2300 (1800) | 1,5–4,7 mm |
| Competición extendida (opcional) | 108-4302 (2100) | 3,1–12,7 mm |
| Corte bajo (opcional) | 93-4264 (2100)110-2301 (1800) | 4,7–25,4 mm |
-
Afloje las contratuercas que sujetan los brazos de altura de corte a las chapas laterales de la unidad de corte (Figura 17).

-
Afloje la tuerca de la barra de ajuste y ajuste el tornillo para la altura de corte deseada (Figura 18).
Note: La distancia entre la cara inferior de la cabeza del tornillo y la cara de la barra es la altura de corte.

-
Enganche la cabeza del tornillo sobre el filo de la contracuchilla y apoye el extremo trasero de la barra sobre el rodillo trasero (Figura 19).

-
Gire el tornillo de ajuste hasta que el rodillo entre en contacto con la barra de ajuste.
-
Ajuste ambos extremos del rodillo hasta que el rodillo esté paralelo a la contracuchilla en toda su longitud.
Important: Con el ajuste correcto, los rodillos delantero y trasero tocarán la barra de ajuste y el tornillo estará apretado contra la contracuchilla. Esto asegura una altura de corte idéntica en ambos extremos de la contracuchilla.
-
Apriete las tuercas para fijar el ajuste lo suficiente para eliminar la holgura de la arandela.
Ajuste de la frecuencia de corte
Puede utilizar una de seis frecuencias de corte en la unidad de corte, dependiendo de las condiciones de su césped. Empiece ajustando la frecuencia de corte para que corresponda con la altura de corte, pero luego pruebe la unidad de corte y ajuste la frecuencia para obtener la calidad de corte deseada.
-
Desconecte la máquina de la forma siguiente:
-
Unidades de gasolina: pare el motor y desconecte el cable de la bujía.
-
Unidades eléctricas: apague la máquina y desenchufe el conector de la batería (asa en T).
-
-
Afloje el perno que sujeta la cubierta de la correa y retire la cubierta de la correa para tener acceso a la correa (Figura 20).

-
Afloje la tuerca del alojamiento del cojinete (Figura 21).

-
Usando una llave de 16 mm, gire el alojamiento del cojinete para verificar que funciona libremente.
-
Retire la correa (Figura 21).
-
Usando la tabla de la pegatina ilustrada en Figura 22, determine la frecuencia de corte deseada y las poleas que tendrá que reubicar.
Note: Cada polea está numerada (22, 24 y 25). Mueva las poleas a las posiciones indicadas en la tabla para la frecuencia de corte deseada.

-
Afloje los dos tornillos de fijación de cada polea que tiene que mover usando una llave hexagonal.
-
Retire cada polea.
-
Instale cada polea en la configuración nueva según lo indicado en la pegatina (Figura 22).
Note: Asegúrese de que los tornillos de fijación de cada polea están alineados con la chaveta y la zona plana de cada eje.
-
Apriete los tornillos de fijación a 8,3–8,9 N·m.
-
Instale la correa.
-
Asegúrese de que el muelle de compresión aplica tensión a la correa (Figura 21).
-
Apriete la tuerca del alojamiento del cojinete.
-
Instale la cubierta de la correa.
Ajuste de la barra de recortes
Ajuste la barra de recortes para que los recortes salgan limpiamente de la zona del molinete, de la forma siguiente:
Note: La barra es ajustable para compensar cambios en la condición del césped. Acerque la barra más al molinete si el césped está extremadamente seco. Por el contrario, aleje la barra más del molinete cuando el césped está húmedo. La barra debe estar paralela al molinete para un rendimiento óptimo. Ajústela después de afilar el molinete en una máquina de afilado de molinetes.
-
Afloje los tornillos que sujetan la barra superior (Figura 23) a la unidad de corte.

-
Inserte una galga de 1,5 cm entre la parte superior del molinete y la barra, y apriete los tornillos.
Important: Asegúrese de que la barra y el molinete están separados por la misma distancia en toda la longitud del molinete.
Mantenimiento de la barra de asiento/contracuchilla
Solamente los mecánicos debidamente formados deben realizar el mantenimiento de la barra de asiento y de la contracuchilla, para evitar daños en el molinete, la contracuchilla o la barra de asiento. Lleve la unidad de corte a su distribuidor Toro autorizado para el mantenimiento. Consulte el Manual de mantenimiento de su unidad de tracción para obtener instrucciones detalladas, herramientas especiales y diagramas para el mantenimiento de la contracuchilla. Si alguna vez necesita desmontar o montar la barra de asiento usted mismo, a continuación se ofrecen instrucciones, así como las especificaciones de mantenimiento de la contracuchilla.
Important: Siga siempre los procedimientos descritos en el Manual de mantenimiento al realizar el mantenimiento de la contracuchilla. Instalar o rectificar la contracuchilla de forma incorrecta puede provocar daños en el molinete, la contracuchilla o la barra de asiento.
Desmontaje de la barra de asiento
-
Gire el tornillo de ajuste de la barra de asiento en sentido antihorario para alejar la contracuchilla del molinete (Figura 24).

-
Afloje la tuerca de tensado del muelle hasta que el muelle deje de presionar la arandela contra la barra de asiento (Figura 24).
-
En cada lado de la máquina, afloje la contratuerca que sujeta el perno de la barra de asiento (Figura 25).

-
Retire todos los pernos de la barra de asiento, para poder tirar de la barra hacia abajo y retirarla de la máquina (Figura 25).
Guarde las 2 arandelas de nylon y la arandela de acero troquelado de cada extremo de la barra de asiento (Figura 26).

Ensamblaje de la barra de asiento
-
Instale la barra de asiento, colocando las orejetas de montaje entre la arandela y el ajustador de la barra.
-
Sujete la barra de asiento a cada chapa lateral con los pernos de la barra (con tuercas en los pernos) y 4 arandelas (8 en total).
-
Coloque una arandela de nylon en cada lado del saliente de la chapa lateral. Coloque una arandela de acero por fuera de cada arandela de nylon (Figura 26).
-
Apriete los pernos de la barra de asiento a 27–36 N·m. Apriete las contratuercas a mano hasta que la arandela de acero exterior deje de girar, y no haya holgura axial. Las arandelas del interior pueden tener cierta holgura.
Important: No apriete demasiado las contratuercas o desviarán las chapas laterales.
-
Apriete la tuerca de tensado del muelle hasta que el muelle esté comprimido, luego aflójela ½ vuelta (Figura 27).

Instalación de la contracuchilla
-
Elimine el óxido, las incrustaciones y la corrosión de la superficie de la barra de asiento y aplique una capa fina de aceite sobre ella.
-
Limpie las roscas de los tornillos.
-
Aplique compuesto antiadherente a los tornillos e instale la contracuchilla en la barra de asiento.

-
Apriete los 2 tornillos exteriores a 1 N∙m.
-
Desde el centro de la contracuchilla, apriete los tornillos a entre 23 y 28 N∙m.

-
Rebaje la contracuchilla.
Especificaciones de la contracuchilla
Especificaciones de rectificado de la contracuchilla

| Ángulo de rebajo de la contracuchilla de serie | 3° mínimo |
| Ángulo de rebajo de la contracuchilla extendida | 7° mínimo |
| Ángulo delantero | 13°–17° |
Autoafilado del molinete
Peligro
El contacto con el molinete u otras piezas en movimiento puede causar lesiones personales.
Mantenga las manos, los pies y la ropa alejados de los molinetes u otras piezas en movimiento.
-
Manténgase alejado del molinete durante el afilado.
-
No utilice nunca una brocha de mango corto para el afilado. Su distribuidor Toro autorizado dispone de piezas para el conjunto de mango.
Puede autoafilar los molinetes dejando la unidad de corte en la unidad de tracción o retirando la unidad de corte totalmente de la unidad de tracción. Si la unidad de corte se deja montada en la unidad de tracción, desconecte el acoplamiento hexagonal entre la transmisión principal y la transmisión de las unidades de corte para evitar un desgaste excesivo del freno del molinete.
-
Coloque la máquina en una superficie limpia y nivelada.
-
Desconecte la máquina de la forma siguiente:
-
Unidades de gasolina: apague el motor y desconecte el cable de la bujía.
-
Unidades eléctricas: apague la máquina y desenchufe el conector de la batería (asa en T).
-
-
Ponga el freno de estacionamiento.
-
Conecte la máquina de autoafilado a la unidad de corte colocando una llave de tubo hexagonal de 12,7 mm en el eje de salida de la polea del molinete, en el extremo izquierdo de la unidad de corte.
Note: El Manual de Afilado de Cortacéspedes de Molinete y Giratorios Toro, Impreso Nº 80-300PT, contiene instrucciones y procedimientos adicionales relacionados con el afilado.
Note: Para obtener un filo de corte mejor, pase una lima por la cara delantera de la contracuchilla cuando se termine la operación de afilado. Esto elimina cualquier rebaba o aspereza que pueda haber aparecido en el filo de corte. Puede ser necesario pasar la lima muy suavemente por el borde superior para eliminar completamente la rebaba del filo de corte.
Note: Si la unidad de corte se deja montada en la máquina durante el autoafilado, vuelva a conectar el eje hexagonal de la máquina a la unidad de corte.


, que significa: Cuidado, Advertencia
o Peligro–instrucción relativa a la seguridad personal.
El incumplimiento de estas instrucciones puede dar lugar a lesiones
personales o la muerte.





