Údržba
Note: Levou a pravou stranu sekačky určete vzhledem k běžné provozní poloze.
Podepření žací jednotky
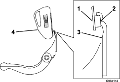
Pokud potřebujete žací jednotku naklopit, abyste získali přístup k plochému noži či vřetenu, podepřete zadní stranu žací jednotky tak, aby matice na zadním konci seřizovacích šroubů držáku plochého nože nespočívaly na pracovním povrchu (Obrázek 8).

Seřízení kontaktu plochého nože a vřetene
Každodenní nastavení plochého nože
Před každým zahájením sekání, prováděným denně či podle potřeby, je nutné každou žací jednotku zkontrolovat a zajistit správný kontakt vřetena a plochého nože. Tuto kontrolu proveďte, i když je kvalita sekání přijatelná.
-
Snižte žací jednotky na tvrdý povrch.
-
Vypněte stroj následovně:
-
Benzínové jednotky: vypněte motor a odpojte kabel zapalovací svíčky.
-
Elektrické jednotky: Zastavte stroj a odpojte konektor baterie (rukojeť tvaru T).
-
-
Pomalu otáčejte vřetenem opačným směrem a poslechem kontrolujte kontakt vřetena a plochého nože.
-
Pokud není kontakt patrný, otočte seřizovacími šrouby držáku plochého nože doprava (vždy po jednom cvaknutí), dokud neucítíte a neuslyšíte lehký kontakt.Obrázek 9

Note: Vřeteno musí useknout jeden list papíru, který je vložen v pravém úhlu k plochému noži, na obou koncích a uprostřed vřetena.
Note: Seřizovací šrouby držáku plochého nože mají aretaci odpovídající pohybu plochého nože o 0,018 mm pro jednu indexovanou polohu.
-
Pokud je patrný nadměrný kontakt/odpor vřetena, žací jednotku buď přelapujte, povrchově upravte přední stranu plochého nože nebo přebruste žací jednotku, aby okraje byly ostré a docílilo se tak přesného sekání (viz Návod na broušení vřeten a rotačních sekaček Toro, formulář č. 09168SL).
Important: Za všech okolností je preferován lehký kontakt. Pokud není udržován lehký kontakt, nedochází k dostatečnému samočinnému broušení ostří plochého nože / vřetena a po určité době provozu dojde k jejich otupení. Pokud je kontakt nadměrný, dochází k rychlejšímu a nerovnoměrnému opotřebovávání plochého nože / vřetena a kvalita sekání může být nepříznivě ovlivněna.
Note: V případě žacích jednotek eFlex má kontakt vřetena a plochého nože značný vliv na spotřebu energie. Nejvhodnější je velmi slabý kontakt z hlediska optimálního žacího výkonu a odběru energie z akumulátoru.
Note: Jelikož žací nože vřetena působí na plochý nůž, objeví se na povrchu předního ostří mírné otřepení po celé délce plochého nože. Příležitostně odstraňte otřepení na předním ostří přetažením pilníku.Po delší době provozu se na obou koncích plochého nože může vytvořit rýha. Tyto rýhy je nutné zaoblit nebo vybrousit a zarovnat s ostřím plochého nože, aby byl zajištěn bezproblémový provoz.
-
Nastavení plochého nože po zabroušení, přelapování nebo demontáži
Tímto postupem se řiďte po nabroušení, přelapování nebo demontáži vřetene. Nejedná se o nastavení vhodné ke každodennímu používání.
Note: V případě žacích jednotek eFlex má kontakt vřetena a plochého nože značný vliv na spotřebu energie. Nejvhodnější je velmi slabý kontakt z hlediska optimálního žacího výkonu a odběru energie z akumulátoru.
-
Umístěte žací jednotku na plochý vodorovný povrch.
-
Nakloňte žací jednotku, abyste získali přístup k plochému noži a vřetenu.
Note: Matice na zadní straně šroubů pro nastavení držáku plochého nože nesmí spočívat na pracovním povrchu (Obrázek 8).
-
Otočte vřetenem tak, aby jeden z žacích nožů překřížil hranu plochého nože mezi první a druhou hlavou šroubu plochého nože, nacházející se na pravé straně žací jednotky.
-
Na žacím noži si vyznačte identifikační značku v místě, kde se kříží s hranou plochého nože.
Note: Tím si usnadníte pozdější nastavování.
-
Mezi žací nůž a hranu plochého nože zasuňte 0,05mm podložku v místě, jež jste vyznačili v kroku 4.
-
Otáčejte pravým seřizovacím šroubem držáku plochého nože (Obrázek 9), dokud neucítíte mírný tlak na podložku při jejím posunování z jedné strany na druhou. Vyjměte podložku.
-
Na levé straně žací jednotky pomalu otáčejte vřetenem tak, aby nejbližší žací nůž překřížil hranu plochého nože mezi hlavami prvního a druhého šroubu.
-
Opakujte kroky 4 až 6 na levé straně žací jednotky a u levého seřizovacího šroubu držáku plochého nože.
-
Opakujte kroky 5 a 6, dokud na stykové body na levé a pravé straně žací jednotky nebude působit mírný tlak.
-
Chcete-li dosáhnout volného kontaktu mezi vřetenem a plochým nožem, otočte každým seřizovacím šroubem držáku plochého nože ve směru hodinových ručiček o 3 cvaknutí.
Note: Každé cvaknutí seřizovacího šroubu držáku plochého nože posune plochý nůž o 0,018 mm. Nastavovací šrouby neutahujte nadměrně.Při otáčení seřizovacího šroubu ve směru hodinových ručiček se hrana plochého nože posunuje blíže ke vřetenu. Při otáčení seřizovacího šroubu proti směru hodinových ručiček se hrana plochého nože odsunuje od vřetena.
-
Otestujte žací funkci vložením dlouhého pásu papíru určeného pro kontrolu žacího výkonu mezi vřeteno a plochý nůž, kolmo ke vřetenu a plochému noži (Obrázek 10). Pomalu otáčejte vřetenem dopředu, aby došlo k useknutí papíru.

Note: Pokud je patrný nadměrný kontakt/odpor vřetena, může být potřebné přelapování nebo přebroušení žací jednotky, aby bylo dosaženo ostrých okrajů nutných k přesnému sekání.
Zabroušení plochého nože
Podbroušení vřetena
Nové vřeteno má šířku krajní plochy 0,76 až 1,27 mm a 30stupňové podbroušení.
Pokud se šířka krajní plochy zvětší nad 3 mm, postupujte následovně:
-
Všechny nože vřetena podbruste na 30° tak, aby byla krajní plocha široká 0,76 až 1,27 mm (Obrázek 11).

-
Rotačním zbroušením vřetena získejte házivost vřetena <0,025 mm (0,001").
Note: Tím se zajistí mírný nárůst šířky krajní plochy.
Note: Chcete-li zvýšit životnost ostří hrany vřetena a plochého nože – po zabroušení vřetena a/nebo plochého nože – po posečení 6 greenů znovu zkontrolujte správný kontakt plochého nože a vřetena. Dojde tak k odstranění veškerých otřepů, což může způsobit nesprávnou vzdálenost mezi vřetenem a plochým nožem a tím rychlejší opotřebení.
Kontrola úhlu horního zbroušení
Úhel, pod kterým brousíte své ploché nože, je velmi důležitý.
Pro kontrolu úhlu vaší brusky použijte ukazatel úhlu a úchyt ukazatele úhlu a poté upravte veškeré odchylky brusky.
-
Ukazatel úhlu umístěte na spodní stranu plochého nože, viz Obrázek 12.

-
Na ukazateli úhlu stiskněte tlačítko Alt Zero“
-
Umístěte držák ukazatele úhlu na hranu plochého nože tak, aby hrana magnetu byla spojená s okrajem plochého nože (Obrázek 13).
Note: Digitální displej by měl být vidět ze stejné strany během tohoto kroku, stejně, jako v kroku 1.

-
Ukazatel úhlu umístěte na úchyt, viz Obrázek 13.
Note: To je úhel vaší brusky, jenž by měl být v rozmezí 2 stupňů doporučeného horního zbroušení.
Pokyny k broušení vřetena
| Průměr vřetena (nové) | 128,5 mm |
| Provozní limit – průměr vřetena | 114,3 mm |
| Průměr dříku vřetena (vnější) | 34,9 mm |
| Úhel podbroušení nože | 25 až 35° |
| Šířka krajní plochy nože | 0,76 až 1,27 mm |
| Rozmezí šířky krajní plochy nože | 0,8 až 1,2 mm |
| Provozní limit – průměr kuželu vřetena | 0,25 mm |
Seřízení výšky zadního válce
V závislosti na požadovaném rozsahu výšky sekání je třeba nastavit držáky zadního válce (Obrázek 14 nebo Obrázek 15) do dolní nebo horní polohy:
-
Umístěte rozpěrku nad montážní přírubu boční desky (nastavení z výroby), je-li výška sekání nastavena v rozsahu 1,5–6 mm, viz Obrázek 14.

-
Umístěte rozpěrku pod montážní přírubu boční desky, je-li výška sekání nastavena v rozsahu 3–25 mm, viz Obrázek 15.

-
Zvedněte zadní stranu žací jednotky a podložte plochý nůž podpěrným blokem.
-
Demontujte 2 matice upevňující jednotlivé držáky válce a rozpěrky k montážním přírubám bočních desek.
-
Spusťte válec a šrouby z montážních přírub bočních desek a rozpěrek.
-
Rozpěrky umístěte podle potřeby na šrouby nad nebo pod držáky válce (Obrázek 14 nebo Obrázek 15).
-
Upevněte držák válce s rozpěrkami ke spodní straně montážních přírub pomocí dříve odšroubovaných matic.
-
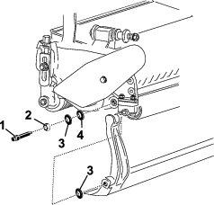
Zkontrolujte správný kontakt plochého nože a vřetena. Nakloňte sekačku, abyste získali přístup k přednímu a zadnímu válci a k plochému noži.
Note: Poloha zadního válce k vřetenu je určována tolerancemi obroušení sestavených součástí a vyrovnání není nutné. Nastavení v omezeném rozsahu lze provést po umístění žací jednotky na příměrnou desku a povolení upevňovacích šroubů boční desky (Obrázek 16). Nakonec seřiďte a utáhněte šrouby.

Important: Pokaždé, když musíte žací jednotku naklopit, abyste získali přístup k plochému noži či vřetenu, podepřete zadní stranu žací jednotky tak, aby matice na zadním konci seřizovacích šroubů držáku plochého nože nespočívaly na pracovním povrchu (Obrázek 8).
Seřízení výšky sekání
Tato žací jednotka je standardně vybavena plochým nožem Edgemax Micro-cut a standardním držákem plochého nože. Účinná výška sekání závisí na předchozích uspořádáních sekačky a na stavu travnaté plochy (tj. typ válce, vzdálenost plochého nože za středem, měkká nebo tuhá tráva, povětrnostní podmínky v ročních obdobích). Nastavte počáteční výšku sekání o 0,25 až 0,38 mm vyšší, než bylo předchozí nastavení sekačky, a přizpůsobte ji podmínkám.
Note: V případě výšky sekání větší než 13 mm nainstalujte sadu pro vysokou výšku sekání.
Pomocí následující tabulky lze určit vhodný plochý nůž pro požadovanou výšku sekání.
| Tabulka plochých nožů a doporučené výšky sekání | ||
| Plochý nůž | Objednací číslo | Výška sekání |
| Edgemax Micro-cut (standardně) | 115-1880 (2100)117-1530 (1800) | 1,5 až 4,7 mm |
| Edgemax Tournament (volitelně) | 115-1881 (2100)117-1532 (1800) | 3,1 až 12,7 mm |
| Micro-cut (volitelně) | 93-4262 (2100)98-7261 (1800) | 1,5 až 4,7 mm |
| Tournament (volitelně) | 93-4263 (2100)98-7260 (1800) | 3,1 až 12,7 mm |
| Extended Micro-cut (volitelně) | 108-4303 (2100)110-2300 (1800) | 1,5 až 4,7 mm |
| Extended Tournament (volitelně) | 108-4302 (2100) | 3,1 až 12,7 mm |
| Pro nízké sekání (volitelně) | 93-4264 (2100)110-2301 (1800) | 4,7 až 25,4 mm |
-
Povolte pojistné matice upevňující ramena nastavení výšky sekání k bočním deskám žací jednotky (Obrázek 17).

-
Povolte matici na stavěcí liště a nastavte seřizovací šroub na požadovanou výšku sekání (Obrázek 18).
Note: Vzdálenost mezi spodní stranou hlavy šroubu a lícem stavěcí lišty představuje výšku sekání.

-
Zavěste hlavu šroubu na řeznou hranu plochého nože a opřete zadní konec stavěcí lišty o zadní stranu válce (Obrázek 19).

-
Otáčejte seřizovacím šroubem, až se válec dotkne přední strany stavěcí lišty.
-
Seřiďte oba konce válce tak, aby byl celý válec rovnoběžný s plochým nožem.
Important: Při správném nastavení se zadní i přední válec dotýká stavěcí lišty a šroub je zarovnán s plochým nožem. Tím zajistíte, že výška sekání bude na obou koncích plochého nože stejná.
-
Dostatečným dotažením matic zajistěte nastavení tak, aby podložka neměla žádnou vůli.
Nastavení stupně těsného obepnutí
Žací jednotka je vybavena šesti stupni těsného obepnutí, které můžete nastavit v souladu se stavem travnaté plochy. Stupeň těsného obepnutí nejprve nastavte podle výšky sekání, potom vyzkoušejte žací jednotku a upravte stupeň obepnutí, abyste dosáhli požadované kvality sekání.
-
Vypněte stroj následovně:
-
Benzínové jednotky: vypněte motor a odpojte kabel zapalovací svíčky.
-
Elektrické jednotky: Zastavte stroj a odpojte konektor baterie (rukojeť tvaru T).
-
-
Povolte šroub s nákružkem, pomocí něhož je zajištěn kryt řemenu, a sejmutím krytu umožněte přístup k řemenu (Obrázek 20).

-
Povolte matici ložiskového pouzdra (Obrázek 21).

-
Pomocí klíče o velikosti 16 mm otočte ložiskovým pouzdrem a zkontrolujte, zda se volně pohybuje.
-
Demontujte řemen (Obrázek 21).
-
Pomocí tabulky na štítku na Obrázek 22 určete požadovaný stupeň těsného obepnutí a které řemenice chcete přemístit.
Note: Každá řemenice má číslo (22, 24 a 25). Řemenice přemístěte do poloh uvedených v tabulce pro nastavení stupně těsného obepnutí.

-
Pomocí imbusového klíče povolte dva stavěcí šrouby na každé řemenici, kterou chcete přemístit.
-
Řemenice demontujte.
-
Namontujte řemenice v novém uspořádání podle štítku (Obrázek 22).
Note: Stavěcí šrouby na každé řemenici musí být umístěny tak, aby byly vyrovnány s perem a ploškou na hřídeli.
-
Utáhněte stavěcí šrouby na utahovací moment 8,3 až 8,9 N·m.
-
Osaďte řemen.
-
Tlačná pružina musí napínat řemen (Obrázek 21).
-
Utáhněte matici ložiskového pouzdra.
-
Namontujte kryt řemene.
Seřízení lišty pro posekanou trávu
Nastavením lišty pro posekanou trávu zajistíte bezproblémový odklon posekané trávy z oblasti vřetena následovně:
Note: Lišta je nastavitelná a umožňuje kompenzaci změn stavu trávníku. Pokud je trávník extrémně suchý, nastavte lištu blíže k vřetenu. Naopak v případě mokrého trávníku nastavte lištu dále od vřetena. Lišta by měla být rovnoběžně s vřetenem, aby byl zajištěn optimální výkon. Nastavení proveďte až po naostření vřetene na vřetenové brusce.
-
Povolte šrouby upevňující horní lištu (Obrázek 23) k žací jednotce.

-
Vložte spárovou měrku o velikosti 1,5 mm mezi horní okraj vřetena a lištu a utáhněte šrouby.
Important: Lišta a vřeteno musí být od sebe stejně vzdáleny po celé délce vřetena.
Údržba držáku plochého nože / plochého nože
Údržbu držáku plochého nože a plochého nože smí provádět pouze řádně školený technik, aby nedošlo k poškození vřetene, držáku plochého nože nebo plochého nože. Údržbu žací jednotky nechejte provést u autorizovaného prodejce Toro. Úplné pokyny, potřebné zvláštní nářadí a obrázky pro údržbu držáku plochého nože naleznete v servisní příručce. Pokud budete demontovat nebo sestavovat držák plochého nože svépomocí, pokyny a specifikace pro údržbu držáku plochého nože jsou uvedeny níže.
Important: Při údržbě držáku plochého nože se vždy řiďte postupy uvedenými ve vaší servisní příručce. V případě nesprávné montáže a zabroušení plochého nože hrozí nebezpečí poškození vřetene, držáku plochého nože nebo samotného plochého nože.
Demontáž držáku plochého nože
-
Otočením seřizovacího šroubu držáku plochého nože proti směru hodinových ručiček posuňte plochý nůž dále od vřetena (Obrázek 24).

-
Vyšroubujte matici pro napnutí pružiny, aby pružina netlačila podložku k držáku plochého nože (Obrázek 24).
-
Na obou stranách stroje povolte pojistnou matici zajišťující šroub držáku plochého nože (Obrázek 25).

-
Demontujte jednotlivé šrouby držáku plochého nože, aby bylo možné stáhnout držák plochého nože dolů a sejmout jej ze šroubu stroje (Obrázek 25).
Dávejte pozor na dvě nylonové a dvě ražené ocelové podložky na obou koncích držáku plochého nože (Obrázek 26).

Montáž držáku plochého nože
-
Namontujte držák plochého nože; montážní výstupky přitom umístěte mezi podložku a seřizovací prvek držáku plochého nože.
-
Upevněte držák plochého nože k oběma bočním deskám pomocí šroubů držáku plochého nože (matice na šroubech) a 4 podložek (celkem 8).
-
Umístěte nylonovou podložku na obě strany výčnělku boční desky. Na vnější stranu nylonových podložek umístěte ocelovou podložku (Obrázek 26).
-
Šrouby držáku plochého nože utáhněte na utahovací moment 27 až 36 N·m. Pojistné matice utahujte rukou, až se vnější ocelová podložka přestane otáčet a vůle je odstraněna. U podložek uvnitř může vzniknout mezera.
Important: Pojistné matice nadměrně neutahujte, jinak vychýlí boční desky.
-
Utáhněte matici pro napnutí pružiny, dokud nedojde ke stlačení pružiny, a poté ji povolte o ½ otáčky (Obrázek 27).

Montáž plochého nože
-
Z povrchu plochého nože odstraňte korozi a usazeniny a aplikujte na něj tenkou vrstvu oleje.
-
Vyčistěte závity šroubů.
-
Na závity šroubů aplikujte přípravek Never-Seez a namontujte plochý nůž na držák plochého nože.

-
Dva vnější šrouby utáhněte na moment 1 N·m.
-
Utáhněte šrouby na moment 23 až 28 N·m, přičemž postupujte od středu plochého nože.

-
Zabruste plochý nůž.
Specifikace plochého nože
Pokyny k broušení plochého nože

| Úhel podbroušení standardního plochého nože | 3° minimálně |
| Úhel podbroušení prodlouženého plochého nože | 7° minimálně |
| Rozsah předního úhlu | 13° až 17° |
Přelapování vřetena
Nebezpečí
Při styku s vřetenem nebo jinými pohyblivými díly může dojít ke zranění osob.
Nepřibližujte prsty, ruce ani oděv k vřetenům ani jiným pohyblivým dílům.
-
Během přelapování se nepřibližujte k vřetenu.
-
K přelapování zásadně nepoužívejte kartáč s krátkou rukojetí. Montážní díly rukojeti si vyžádejte od autorizovaného distributora Toro.
Vřetena můžete přelapovat buď tak, že žací jednotku ponecháte na hnací jednotce, nebo ji úplně demontujte z hnací jednotky. Jestliže žací jednotka zůstane na hnací jednotce, šestihranná spojka mezi hlavním pohonem a žací jednotkou musí být přemístěna do vypnuté polohy, aby nedošlo k nadměrnému opotřebení brzdy vřetena.
-
Zaparkujte stroj na čistém a rovném povrchu.
-
Vypněte stroj následovně:
-
Benzinové jednotky: Vypněte motor a odpojte kabel zapalovací svíčky.
-
Elektrické jednotky: Zastavte stroj a odpojte konektor baterie (rukojeť tvaru T).
-
-
Zatáhněte parkovací brzdu.
-
Připojte přelapovací stroj k žací jednotce nasunutím nástrčné hlavice s vnitřním šestihranem 12,7 mm (½") na výstupní hřídel řemenice vřetena na levé straně žací jednotky.
Note: Další pokyny a postupy pro přelapování jsou popsány v návodu na broušení vřeten a rotačních sekaček Toro( formulář č. 80-300PT).
Note: Chcete-li dosáhnout lepšího ostří, po přelapování přejeďte brouskem přes přední stranu plochého nože. Odstraníte tak otřepy a nerovnosti, které mohly na ostří vzniknout. Horní hranu velmi lehce přejeďte brouskem, čímž zbavíte ostří všech otřepů.
Note: Pokud žací jednotka zůstala během přelapování připevněna ke stroji, připojte šestihranný hřídel stroje zpět k žací jednotce.


, který
označuje upozornění, výstrahu nebo nebezpečí
– pokyny k zajištění osobní
bezpečnosti. Nedodržení těchto pokynů
může mít za následek zranění
osob nebo jejich usmrcení.





