Vedligeholdelse
Note: Maskinens venstre og højre side er som set fra den normale betjeningsposition.
Understøttelse af klippeenheden
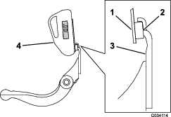
Når det er nødvendigt at vippe klippeenheden, så bundkniven/knivcylinderen kommer til syne, skal bagenden af klippeenheden understøttes for at sikre, at møtrikkerne på den bageste del af bundtværstangens justeringsskruer ikke hviler på arbejdsfladen (Figur 8).

Justering af kontakten mellem knivcylinder og bundkniv
Daglig justering af bundkniven
Før den daglige plæneklipning, eller før hver plæneklipning generelt, skal hver klippeenhed kontrolleres for at undersøge, om der er nok kontakt mellem bundkniven og knivcylinderen. Dette eftersyn skal udføres, selv når klippekvaliteten er acceptabel.
-
Sænk klippeenhederne på et hårdt underlag.
-
Sluk maskinen på følgende måde:
-
Benzindrevne enheder: Sluk motoren, og frakobl tændrørskablet.
-
Elektriske enheder: Sluk for maskinen, og afbryd batteristikket (T-håndtag).
-
-
Drej langsomt knivcylinderen i den modsatte retning, og lyt efter, hvornår der er kontakt mellem cylinderkniven og bundkniven.
-
Hvis der ikke er tegn på kontakt, skal du dreje bundtværstangens justeringsskruer i urets retning (Figur 9) 1 klik ad gangen, indtil du hører og mærker let kontakt.

Note: Knivcylinderen skal skære et ark papir, når det indsættes i en ret vinkel i forhold til bundkniven, i begge ender og i midten af knivcylinderen.
Note: Bundtværstangens justeringsskruer har låse, der svarer til en bevægelse af bundkniven på 0,018 mm for hver angivet position.
-
Hvis kontakten/knivcylinderens modstand er for stor, skal du baglappe, slibe bundknivens front eller slibe klippeenheden igen for at opnå de skarpe kanter, der er nødvendige til præcisionsklipning (se Toro-manualen om slibning af knivcylinderen og rotorplæneklippere, formularnr. 09168SL).
Important: Let kontakt er altid at foretrække. Hvis du ikke opretholder let kontakt, vil bundknivens/knivcylinderens kanter ikke slibe sig selv tilstrækkeligt, og der vil derfor opstå sløve kanter efter en vis tidsperiode. Hvis du opretholder for stor kontakt, vil slitagen på bundkniven/knivcylinderen optrappes, hvilket kan medføre ujævnt slid, og klippekvaliteten kan også blive negativt påvirket.
Note: For eFlex-klippeenheder har kontakten mellem bundkniven og knivcylinderen en betydelig indvirkning på energiforbruget. Meget let kontakt giver den bedste klippeydelse og batteriforbrug.
Note: Når cylinderens knive bliver ved med at løbe mod bundkniven, vil der vise sig lidt grat på den skarpe side langs hele bundkniven. Kør af og til en fil hen over forkanten for at fjerne grat og forbedre klipningen.Efter lang tids kørsel dannes der en kant i begge ender af bundkniven. Rund disse hakker af, eller fil dem ned, så de flugter med bundknivens skarpe side for at sikre jævn drift.
-
Justering af bundkniven efter slibning, baglapning eller demontering
Brug denne procedure efter slibning, baglapning eller demontering af knivcylinderen. Dette er ikke en daglig justering.
Note: For eFlex-klippeenheder har kontakten mellem bundkniven og knivcylinderen en betydelig indvirkning på energiforbruget. Meget let kontakt giver den bedste klippeydelse og batteriforbrug.
-
Placer klippeenheden på en flad og plan arbejdsflade.
-
Vip klippeenheden for at frilægge bundkniven og knivcylinderen.
Note: Sørg for, at møtrikkerne på den bageste del af bundtværstangens justeringsskruer ikke hviler mod arbejdsfladen (Figur 8).
-
Drej knivcylinderen, så én af skæreknivene krydser bundknivens kant mellem det første og det andet bundknivsskruehoved, som sidder på højre side af klippeenheden.
-
Sæt et mærke på skærekniven, der hvor den krydser bundknivens kant.
Note: Det gør det nemmere at foretage justeringer senere.
-
Indsæt et afstandsstykke på 0,05 mm mellem skærekniven og bundknivens kant på det punkt, der blev markeret i trin 4.
-
Drej den højre bundtværstangs justeringsskrue (Figur 9), indtil du mærker et let tryk på afstandsstykket, når det bevæges fra side til side. Fjern afstandsstykket.
-
I venstre side af klippeenheden skal du langsomt dreje knivcylinderen, så den skærekniv, der er tættest på, krydser bundknivens kant mellem første og anden hovedskrue.
-
Gentag trin 4 til 6 for venstre side af klippeenheden og venstre bundtværstangs justeringsskrue.
-
Gentag trin 5 og 6, indtil der er et let tryk på kontaktpunkterne på både venstre og højre side af klippeenheden.
-
Drej hver bundtværstangs justeringsskrue 3 klik med uret for at opnå let kontakt mellem knivcylinderen og bundkniven.
Note: Ved hvert klik på bundtværstangens justeringsskrue bevæger bundkniven sig 0,018 mm. Stram ikke justeringsskruerne for meget.Når justeringsskruen drejes med uret, bevæges bundknivens kant tættere på skærekniven. Når justeringsskruen drejes mod uret, bevæges bundknivens kant væk fra skærekniven.
-
Afprøv klippeydelsen ved at indsætte en lang stribe klippeydelsespapir mellem knivcylinderen og bundkniven, vinkelret med skærekniven og bundkniven (Figur 10). Drej langsomt knivcylinderen fremad for at klippe i papiret.

Note: Hvis kontakten/knivcylinderens modstand er for stor, er det enten nødvendigt at baglappe eller slibe knivcylinderen og bundkniven for at opnå de skarpe kanter, der er nødvendige til præcisionsklipning.
Slibning af bundkniven
Bagslibning af knivcylinderen
Den nye knivcylinder har en gængebredde på 0,76 til 1,27 mm og en 30 graders bagslibning.
Hvis gængebredden overskrider 3 mm i bredden, skal følgende udføres:
-
Foretag en bagslibning på 30 grader på alle cylinderknive, indtil gængebredden er 0,76 til 1,27 mm (Figur 11).

-
Vinkelslib knivcylinderne for at opnå et cylinderudløb på <0,025 mm.
Note: Dette vil udvide gængebredden en smule.
Note: For at forlænge knivcylinderens og bundknivens skarphed – efter slibning af knivcylinderen og/eller bundkniven – skal du kontrollere knivcylinderens kontakt med bundkniven igen efter klipning af 6 greens, eftersom eventuelle grater fjernes og kan skabe forkert afstand mellem knivcylinder og bundkniv med skærpet slid til følge.
Kontrol af slibevinkel for den øverste bundkniv
Vinklen, som du bruger til at slibe bundknivene med, er meget vigtig.
Brug vinkelindikatoren og vinkelindikatorbeslaget til at kontrollere den vinkel, som din slibemaskine genererer, og eventuelt rette vinklen.
-
Placer vinkelindikatoren på undersiden af bundkniven som vist i Figur 12.

-
Tryk på Alt Zero-knappen på vinkelindikatoren.
-
Placer vinkelindikatorbeslaget på kanten af bundkniven, så magnetens kant er afstemt i forhold til bundknivens kant (Figur 13).
Note: Det digitale display skal kunne aflæses fra samme side under dette trin som i trin 1.

-
Placer vinkelindikatoren på beslaget som vist i Figur 13.
Note: Dette er vinklen, som din slibemaskine producerer, og den bør være inden for 2 grader af den anbefalede slibevinkel for den øverste bundkniv.
Specifikationer for knivcylinderslibning
| Knivcylinderens diameter (ny) | 128,5 mm |
| Servicegrænse – Knivcylinderens diameter | 114,3 mm |
| Knivcylinderakslens diameter (udvendig diameter) | 34,9 mm |
| Skæreknivens frigangsvinkel | 25 til 35° |
| Skæreknivens gængebredde | 0,76 til 1,27 mm |
| Område for skæreknivens gængebredde | 0,8 til 1,2 mm |
| Servicegrænse – Knivcylinderdiameterens konus | 0,25 mm |
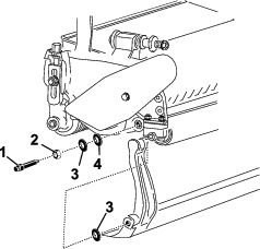
Justering af bagrullens højde
Afhængigt af den ønskede klippehøjde skal du justere bagrullens holdere (Figur 14 eller Figur 15) til høj eller lav position:
-
Placer afstandsklodsen over sidepladens monteringsflange (fabriksindstilling), når indstillingerne for klippehøjden ligger på 1,5 til 6 mm som vist i Figur 14.

-
Placer afstandsklodsen under sidepladens monteringsflange, når klippehøjdeindstillingerne er på 3 til 25 mm som vist i Figur 15.

-
Hæv den bageste del af klippeenheden, og placer en blok under bundkniven.
-
Fjern møtrikkerne (2), der fastgør hver rulleholder og afstandsklods til hver af sidepladens monteringsflanger.
-
Sænk rullen og skruerne fra sidepladens monteringsflanger og afstandsklodser.
-
Placer afstandsklodser på skruerne over eller under rulleholderne efter behov (Figur 14 eller Figur 15).
-
Fastgør rulleholderen og afstandsklodserne på undersiden af monteringsflangerne med de møtrikker, du fjernede tidligere.
-
Kontroller, at der er korrekt kontakt mellem bundkniven og knivcylinderen. Vend plæneklipperen om for at frilægge front- og bagrullerne og bundkniven.
Note: Bagrullens position i forhold til knivcylinderen styres af maskintolerancerne for de samlede komponenter, og synkronisering er ikke nødvendig. Det er muligt at foretage begrænset justering ved at stille klippeenheden på en plade og løsne sidepladens monteringsbolte (Figur 16). Juster og stram boltene, når du er færdig.

Important: Når du bliver nødt til at vippe klippeenheden, så bundkniven/knivcylinderen kommer til syne, skal bagenden af klippeenheden understøttes for at sikre, at møtrikkerne på den bageste del af bundtværstangens justeringsskruer ikke hviler på arbejdsfladen (Figur 8).
Justering af klippehøjden
Denne klippeenhed leveres som standard med Edgemax-bundkniv til mikroklipning og standardbundtværstang. Den effektive klippehøjde afhænger af tidligere plæneklipperkonfigurationer og plæneforhold (f.eks. rulletypen, midterafstanden bagest for bundkniven, bløde eller faste greens, sæsonforhold). Indstil den indledende klippehøjde, så den er 0,25 mm til 0,38 mm højere end den foregående greensklipperindstilling, og juster efter aktuelle forhold.
Note: Ønskes klippehøjder på over 13 mm, skal du montere sættet til høj klippehøjde.
Brug følgende skema til at vurdere, hvilken bundkniv der egner sig bedst til den ønskede klippehøjde.
| Oversigt over anbefalet bundkniv/klippehøjde | ||
| Bundkniv | Reservedelsnummer | Klippehøjde |
| Edgemax-mikroklipning (standard) | 115-1880 (2100)117-1530 (1800) | 1,5 til 4,7 mm |
| Edgemax Tournament (ekstraudstyr) | 115-1881 (2100)117-1532 (1800) | 3,1 til 12,7 mm |
| Mikroklipning (ekstraudstyr) | 93-4262 (2100)98-7261 (1800) | 1,5 til 4,7 mm |
| Tournament (ekstraudstyr) | 93-4263 (2100)98-7260 (1800) | 3,1 til 12,7 mm |
| Forlænget mikroklipning (ekstraudstyr) | 108-4303 (2100)110-2300 (1800) | 1,5 til 4,7 mm |
| Forlænget Tournament (ekstraudstyr) | 108-4302 (2100) | 3,1 til 12,7 mm |
| Lav klippehøjde (ekstraudstyr) | 93-4264 (2100)110-2301 (1800) | 4,7 til 25,4 mm |
-
Løsn de låsemøtrikker, der fastgør klippehøjdearmene på klippeenhedens sideplader (Figur 17).

-
Løsn møtrikken på målestangen, og indstil justeringsskruen til den ønskede klippehøjde (Figur 18).
Note: Afstanden mellem bunden af skruehovedet og stangens flade udgør klippehøjden.

-
Hægt skruehovedet på bundknivens æg, og lad den bageste ende af stangen hvile på bagrullen (Figur 19).

-
Drej justeringsskruen, indtil rullen rører ved målestangens forside.
-
Juster begge rullens ender, indtil hele rullen er parallel med bundkniven.
Important: Når indstillingen er korrekt, vil bag- og frontrullerne berøre målestangen, og skruen ligger tæt op ad bundkniven. Således sikres det, at klippehøjden er den samme i begge ender af bundkniven.
-
Spænd møtrikkerne for at låse justeringen tilstrækkeligt til, at der ikke er slør i spændeskiven.
Justering af klippeindstilling
Der er seks klippeindstillinger på klippeenheden, som kan indstilles efter plæneforholdene. Start med en klippeindstilling, der svarer til klippehøjden, men afprøv derefter klippeenheden, og juster klippeindstillingen til den ønskede klippekvalitet.
-
Sluk maskinen på følgende måde:
-
Benzindrevne enheder: Sluk motoren, og frakobl tændrørskablet.
-
Elektriske enheder: Sluk for maskinen, og afbryd batteristikket (T-håndtag).
-
-
Løsn flangebolten, der fastgør remskærmen, og afmonter remskærmen, så remmen kommer til syne (Figur 20).

-
Løsn lejehusmøtrikken (Figur 21).

-
Brug en 16 mm skruenøgle til at dreje lejehuset for at sikre, at det bevæger sig frit.
-
Fjern remmen (Figur 21).
-
Ved hjælp af skemaet på mærkaten i Figur 22 bestemmes den ønskede klippeindstilling, og hvilke remskiver der skal flyttes.
Note: Hver remskive er nummereret (22, 24 og 25). Flyt remskiverne til de positioner, der er vist i skemaet for den ønskede klippeindstilling.

-
Løsn de to sætskruer på hver remskive, der er nødvendig at flytte, ved hjælp af en sekskantet nøgle.
-
Fjern hver remskive.
-
Monter hver remskive i den nye konfiguration, som vist på mærkaten (Figur 22).
Note: Sørg for, at sætskruerne på hver remskive er placeret, så de flugter med nøglen og det flade område på akslen.
-
Tilspænd sætskruerne til 8,3 til 8,9 Nm.
-
Monter remmen.
-
Sørg for, at fjedertrykket påfører spænding til bæltet (Figur 21).
-
Spænd lejehusmøtrikken.
-
Monter remskærmen.
Justering af klippestangen
Juster klippestangen for at sikre, at græsafklippet kastes ordentligt ud af knivcylinderen, som følger:
Note: Tværstangen kan justeres for at kompensere for forandringer i grønsværforholdene. Juster stangen, så den kommer tættere på knivcylinderen, når græsset er ekstremt tørt. Ved våde grønsværforhold skal tværstangen derimod flyttes længere væk fra cylinderen. Stangen skal være parallel med cylinderen for at sikre en optimal ydeevne. Juster den, efter at knivcylinderen er blevet slebet på knivcylindersliberen.
-
Løsn skruerne, som fastholder den øverste stang (Figur 23) til klippeenheden.

-
Indsæt en søgelære på 1,5 mm mellem den øverste del af knivcylinderen og tværstangen, og stram skruerne.
Important: Sørg for, at afstanden mellem tværstangen og cylinderen er lige stor over hele cylinderen.
Serviceeftersyn af bundtværstang/bundkniv
Bundtværstangen og bundkniven må kun efterses af en korrekt uddannet mekaniker for at forhindre beskadigelse af knivcylinderen, bundtværstangen eller bundkniven. Få klippeenheden efterset hos en autoriseret Toro-forhandler. Du kan finde de fuldstændige anvisninger, oplysninger om særlige redskaber og diagrammer vedrørende serviceeftersyn af bundtværstangen i servicevejledningen for din traktionsenhed. Hvis du får brug for selv at fjerne eller montere bundtværstangen, er instruktionerne og specifikationer vedrørende serviceeftersyn af bundkniven anført nedenfor.
Important: Følg altid procedurerne for bundkniven, der er beskrevet i servicevejledningen, når du efterser bundkniven. Hvis bundkniven ikke monteres og slibes korrekt, kan det beskadige knivcylinderen, bundtværstangen eller bundkniven.
Afmontering af bundtværstangen
-
Drej bundtværstangens justeringsskrue mod uret for at føre bundkniven væk fra knivcylinderen (Figur 24).

-
Før fjederspændingsmøtrikken bagud, indtil skiven ikke længere sidder stramt mod bundtværstangen (Figur 24).
-
Løsn den låsemøtrik, som fastgør bundtværstangens bolt, på hver side af maskinen (Figur 25).

-
Fjern hver af bundtværstangens bolte, så du kan trække bundtværstangen ned og fjerne den fra maskinbolten (Figur 25).
Der skal være 2 nylonskiver og 2 prægede stålskiver på hver ende af bundtværstangen (Figur 26).

Montering af bundtværstangen
-
Monter bundtværstangen, idet monteringsørerne placeres mellem spændeskiven og bundtværstangens justeringsanordning.
-
Fastgør bundtværstangen på hver sideplade med bundtværstangens bolte (møtrikker på bolte) og 4 spændeskiver (8 i alt).
-
Placer en nylonspændeskive på hver side af sidepladens nav. Anbring en stålskive på ydersiden af hver nylonskive (Figur 26).
-
Tilspænd bundtværstangens bolte til 27-36 N·m. Tilspænd låsemøtrikkerne manuelt, indtil den udvendige stålskive holder op med at dreje, og der ikke er noget endeslør. Indvendige skiver har muligvis et mellemrum.
Important: Overspænd ikke låsemøtrikkerne, da du risikerer, at de bøjer sidepladerne.
-
Stram fjederspændingsmøtrikken, indtil fjederen er trykket sammen, og derefter ud igen med en halv omgang (Figur 27).

Montering af bundkniven
-
Fjern rust, afskallet materiale og korrosion fra bundknivens overflade, og påfør et tyndt lag olie på bundknivens overflade.
-
Rengør skruernes gevind.
-
Påfør never-seize-middel på skruerne, og monter bundkniven på bundtværstangen.

-
Tilspænd de 2 udvendige skruer til et moment på 1 Nm.
-
Start fra midten af bundkniven, og tilspænd skruerne til et moment på 23 til 28 Nm.

-
Slib bundkniven.
Specifikationer for bundkniven
Specifikationer for slibning af bundkniven

| Standard bundkniv, frigangsvinkel | mindst 3° |
| Forlænget bundkniv, frigangsvinkel | mindst 7° |
| Frontvinkels område | 13° til 17° |
Baglapning af knivcylinderen
Fare
Berøring af knivcylinderen eller andre bevægelige dele kan medføre personskader.
Hold fingre, hænder og beklædningsgenstande væk fra knivcylindrene eller andre bevægelige dele.
-
Hold afstand til knivcylinderen under baglapningen.
-
Der må under ingen omstændigheder bruges en kortskaftet børste til baglapning. Kontakt din autoriserede Toro-forhandler vedrørende håndtagsdele.
Du kan baglappe knivcylinderne enten ved at efterlade klippeenheden på traktionsenheden eller fjerne klippeenheden helt fra traktionsenheden. Hvis klippeenheden efterlades på traktionsenheden, skal sekskantskoblingsenheden mellem hoveddrevet og klippeenhedsdrevet flyttes til den afkoblede stilling for at forhindre overdreven slitage af knivcylinderbremsen.
-
Parker maskinen på en ren, plan flade.
-
Sluk maskinen på følgende måde:
-
Benzindrevne enheder: Sluk motoren, og frakobl tændrørskablet.
-
Elektriske enheder: Sluk for maskinen, og afbryd batteristikket (T-håndtag).
-
-
Aktiver parkeringsbremsen.
-
Tilslut baglapningsmaskinen til klippeenheden ved at tilslutte en indvendig sekskant på ½" til udgangsakslen på knivcylinderens remskive på venstre side af klippeenheden.
Note: Der findes yderligere instruktioner om og fremgangsmåder for baglapning i Toro-manualen om slibning af knivcylindere og plæneklippere med roterende skæreknive (formularnr. 80-300PT).
Note: For at få et bedre skær skal der føres en fil hen over forsiden af bundkniven, når baglapningen er afsluttet. Derved fjernes eventuel grat eller ru kanter, som kan være blevet dannet på skæret. Det kan være nødvendigt at file meget let på den øverste kant for at fjerne graten helt fra skæret.
Note: Hvis klippeenheden var monteret på maskinen under baglapning, skal du koble den sekskantede aksel på maskinen på klippeenheden igen.


, der betyder
Forsigtig, Advarsel eller Fare – personlig sikkerhedsanvisning,
for at nedsætte risikoen for personskade. Hvis disse forskrifter
ikke følges, kan det medføre personskade eller død.





