| Périodicité d'entretien | Procédure d'entretien |
|---|---|
| Après chaque utilisation |
|
Cette machine est conçue pour malaxer le mortier, le plâtre, des matériaux ignifuges, le coulis et d'autres produits de ciment portland à petits grains. Un véhicule équipé d'un œillet ou d'une boule d'attelage approprié(e) peut tracter la machine.
Lisez attentivement cette notice pour apprendre comment utiliser et entretenir correctement votre produit, et éviter de l'endommager ou de vous blesser. Vous êtes responsable de l'utilisation sûre et correcte du produit.
Vous pouvez contacter Toro directement sur www.Toro.com pour tout document de formation à la sécurité et à l'utilisation des produits, pour tout renseignement concernant un produit ou un accessoire, pour obtenir l'adresse des dépositaires ou pour enregistrer votre produit.
Pour obtenir des prestations de service, des pièces Toro d'origine ou des renseignements complémentaires, munissez-vous des numéros de modèle et de série du produit et contactez un dépositaire-réparateur ou le service client Toro agréé. La Figure 1 indique l'emplacement des numéros de modèle et de série du produit. Inscrivez les numéros dans l'espace réservé à cet effet.
Important: Avec votre appareil mobile, vous pouvez scanner le code QR sur l'autocollant du numéro de série (le cas échéant) pour accéder à l'information sur la garantie, les pièces détachées et autres renseignements concernant le produit.

Les mises en garde de ce manuel soulignent des dangers potentiels et sont signalées par le symbole de sécurité (Figure 2), qui indique un danger pouvant entraîner des blessures graves ou mortelles si les précautions recommandées ne sont pas respectées.

Ce manuel utilise deux termes pour faire passer des renseignements essentiels. Important, pour attirer l'attention sur des renseignements mécaniques spécifiques, et Remarque, pour souligner une information d'ordre général méritant une attention particulière.
Vous commettez une infraction à la section 4442 ou 4443 du Code des ressources publiques de Californie si vous utilisez cette machine dans une zone boisée, broussailleuse ou recouverte d'herbe, à moins d'équiper le moteur d'un pare-étincelles en bon état, tel que défini dans la section 4442, ou que le moteur soit construit, équipé et entretenu correctement pour prévenir les incendies.
Le manuel du propriétaire du moteur ci-joint est fourni à titre informatif concernant la réglementation de l'Agence américaine pour la protection de l'environnement (EPA) et la réglementation antipollution de l'état de Californie relative aux systèmes antipollution, à leur entretien et à leur garantie. Vous pouvez vous en procurer un nouvel exemplaire en vous adressant au constructeur du moteur.
Information sur les pneus – le numéro d'identification DOT est indiqué de chaque côté du pneu. Cette information indique les classes de charge et de vitesse. Les pneus de rechange doivent être de spécifications égales ou supérieures; reportez-vous à Caractéristiques techniques pour vérifier que les pneus de la machine respectent ou dépassent les spécifications de poids de la machine.
CALIFORNIE
Proposition 65 - Avertissement
Les gaz d'échappement de ce produit contiennent des substances chimiques considérées par l'état de Californie comme susceptibles de provoquer des cancers, des malformations congénitales et autres troubles de la reproduction.
L'utilisation de ce produit peut entraîner une exposition à des substances chimiques considérées pas l'état de Californie comme capables de provoquer des cancers, des anomalies congénitales ou d'autres troubles de la reproduction.
Cette machine peut occasionner des accidents si elle n'est pas utilisée ou entretenue correctement. Pour réduire les risques d'accidents et de blessures, respectez les consignes de sécurité qui suivent. Tenez toujours compte des mises en garde signalées par le symbole de sécurité Figure 2 et la mention Prudence, Attention ou Danger. Le non respect des instructions peut entraîner des blessures graves ou mortelles.
Ce produit peut sectionner les mains. Respectez toujours toutes les consignes de sécurité pour éviter des blessures graves ou mortelles.
L'usinage ou la manutention de pierre, maçonnerie, béton, métal et autres matériaux peut produire de la poussière, des brouillards et des vapeurs chargés de substances chimiques, telle la silice. Ces substances sont connues pour causer des blessures ou des maladies graves ou mortelles, comme des maladies respiratoires, silicose, cancer, malformations congénitales et autres troubles de la reproduction.
Contrôlez la production de poussière, brouillards et vapeurs à la source dans la mesure du possible. Utilisez de l'eau pour dépoussiérer chaque fois que possible.
Utilisez de bonnes pratiques de travail et suivez les recommandations du fabricant ou des fournisseurs, de l'OSHA et autres associations professionnelles.
Respectez toujours les précautions relatives aux voies respiratoires.
Lorsqu'il est impossible d'éliminer les risques liés à l'inhalation, vous devez, ainsi que les personnes à proximité, porter un respirateur approuvé par l'OSHA pour le matériau que vous manipulez.
Les gaz d'échappement contiennent du monoxyde de carbone dont l'inhalation est mortelle.
Ne faites pas tourner le moteur à l'intérieur d'un local fermé.
Garez la machine sur une surface plane et horizontale, coupez le moteur, attendez l'arrêt complet de toutes les pièces mobiles et laissez refroidir la machine avant de la régler, de la nettoyer, de la ranger ou de la réparer.
Vous devez lire et comprendre le contenu de ce Manuel de l'utilisateur avant de démarrer le moteur. Assurez-vous que tous les utilisateurs de ce produit en connaissent le maniement et comprennent les mises en garde.
Familiarisez-vous avec le maniement correct du matériel, les commandes et les symboles de sécurité.
Les utilisateurs et mécaniciens doivent tous posséder les compétences nécessaires. Le propriétaire de la machine doit assurer leur formation.
Ne confiez jamais l'utilisation ou l'entretien de la machine à des enfants ou à des personnes non qualifiées. Certaines législations imposent un âge minimum pour l'utilisation de ce type de machine.
Le propriétaire/l'utilisateur est responsable des dommages matériels ou corporels et peut les prévenir.
Avant de remorquer la machine, consultez la réglementation locale de votre comté ou la réglementation d'état concernant la sécurité de remorquage.
Pour réduire le risque d'accident pendant le transport de la machine sur la voie publique, assurez-vous que le véhicule tracteur est en bon état mécanique et en état de marche.
Coupez le moteur avant de transporter la machine.
Lorsque vous utilisez une boule d'attelage, assurez-vous qu'elle est de la dimension correcte pour le coupleur de la machine.
Lorsque vous utilisez un œillet d'attelage, assurez-vous que celui-ci est de la dimension correcte pour le crochet d'attelage.
Vérifiez l'usure de l'attelage et l'accouplement. Ne remorquez pas la machine avec un attelage, un coupleur, des chaînes ou autres composants endommagés ou usés.
Contrôlez la pression des pneus du véhicule tracteur et ajustez-la au besoin.
Vérifiez l'état et l'usure de la bande de roulement et des flancs des pneus, et remplacez-les pneus au besoin.
Attachez correctement les chaînes de sécurité au véhicule tracteur en les croisant et en les tendant parfaitement.
Vérifiez le bon fonctionnement des clignotants et des feux stop (selon l'équipement).
Assurez-vous que les feux stop, les feux de recul et les clignotants du véhicule tracteur fonctionnent correctement (selon l'équipement).
Avant tout remorquage, assurez-vous que la machine est correctement et solidement attelée au véhicule tracteur.
Assurez-vous que les chaînes de sécurité sont correctement accrochées au véhicule et laissez suffisamment de mou pour pouvoir tourner.
Ne transportez pas de matériau dans la machine pendant le remorquage.
Évitez les arrêts et les démarrages brusques. Cela pourrait provoquer un dérapage ou une mise en porte-feuille. Les démarrages et arrêts graduels en douceur améliorent le remorquage.
Évitez les virages brusques pour prévenir les retournements. Le remorquage ne doit être effectué que par un véhicule conçu à cet effet. L'équipement remorqué ne doit être attaché qu'au point d'attelage.
Ne remorquez pas la machine à plus de 88 km/h (55 mi/h).
Faites marche arrière avec prudence, en vous faisant guider par une personne à l'extérieur du véhicule.
N'autorisez jamais personne à s'asseoir sur la machine ou à la chevaucher.
Détachez la machine du véhicule tracteur avant de l'utiliser.
Placez des cales sous les roues pour empêcher la machine de rouler lorsqu'elle est garée.
Familiarisez-vous avec le maniement correct du matériel, les commandes et les symboles de sécurité.
Utilisez uniquement les accessoires et équipements agréés par le fabricant.
Utilisez un équipement de protection individuelle et portez des vêtements de travail appropriés, y compris :
Casque
Respirateur ou masque antipoussière
Écran facial
Lunettes de sécurité
Protecteurs d'oreilles
Chaussures de sécurité
Pantalon
Chemise à manches longues, serrées aux poignets
Gants bien ajustés, sans cordon de serrage ni larges manchettes
Portez des vêtements appropriés, y compris une protection oculaire, un pantalon, des chaussures solides à semelle antidérapante et des protecteurs d'oreilles. Si vos cheveux sont longs, attachez-les; ne portez pas de bijoux pendants.
Veillez à placer la machine sur une surface plane avant de l'utiliser.
Calez les roues de la machine pour empêcher tout déplacement intempestif.
Avant chaque utilisation, effectuez la procédure suivante :
Inspectez le coupleur, la boule et le dispositif d'attelage.
Vérifiez que tous les feux fonctionnent correctement (selon l'équipement).
Vérifiez que les pneus sont gonflés à la pression prescrite.
Vérifiez que les écrous de roue sont correctement serrés au couple prescrit.
Vérifiez que la machine est correctement fixée.
Faites preuve de la plus grande prudence quand vous manipulez du carburant, en raison de son inflammabilité et du risque d'explosion des vapeurs qu'il dégage.
Éteignez cigarettes, cigares, pipes et autres sources d'étincelles.
Utilisez exclusivement un bidon à carburant homologué.
N'enlevez pas le bouchon du réservoir de carburant et n'ajoutez pas de carburant quand le moteur tourne ou est encore chaud.
N'ajoutez pas de carburant et ne vidangez pas le réservoir dans un local fermé.
Ne remisez pas la machine ni les bidons de carburant à proximité d'une flamme nue, d'une source d'étincelles ou d'une veilleuse, telle celle d'un chauffe-eau ou autre appareil.
Si vous renversez du carburant, ne mettez pas le moteur en marche. Évitez toute source possible d'inflammation jusqu'à dissipation complète des vapeurs de carburant.
Accordez toute votre attention à l'utilisation de la machine. Ne vous livrez à aucune activité risquant de vous distraire, au risque de causer des dommages corporels ou matériels.
Ne faites pas tourner le moteur dans un local fermé ou mal ventilé.
Utilisez toujours la machine sous un bon éclairage.
Avant de mettre la machine en marche, assurez-vous qu'aucune personne ni aucun obstacle ne se trouve à proximité ou dessous.
Coupez le moteur avant de quitter la machine pour quelque raison que ce soit.
Ne laissez jamais la machine en marche sans surveillance. Coupez toujours le moteur et vérifiez que toutes les pièces mobiles sont arrêtées.
Calez les roues de la machine ou laissez-la attelée au véhicule tracteur lorsqu'elle n'est pas utilisée.
N'approchez pas les mains des pièces mobiles. Éloignez les pieds des roues et du montant avant.
N'utilisez pas la machine sous l'emprise de l'alcool, de drogues ou de médicaments.
Ne placez pas les mains ni aucun objet solide dans la cuve de la machine en marche.
Ne touchez aucune des pièces de la machine juste après l'arrêt, car elles peuvent être très chaudes. Laissez-les refroidir avant d'entreprendre une réparation, un réglage ou un entretien de la machine.
Ne déplacez jamais la machine quand le moteur est en marche.
Maintenez le capot fermé et verrouillé pendant le fonctionnement.
Vérifiez que toutes les protections sont bien fixées en place avant l'utilisation de la machine.
Si les pales de malaxage rencontrent un corps objet ou si la machine produit des vibrations ou des bruits inhabituels, coupez le moteur, attendez l'arrêt complet de toutes les pièces mobiles et videz la cuve. Recherchez un colmatage ou des dommages. Nettoyez, réparez et/ou remplacez les pièces endommagées.
Ne modifiez pas le réglage du régulateur et ne faites pas tourner le moteur à un régime excessif.
N'utilisez pas la machine si la foudre menace.
Avant tout entretien, effectuez la procédure suivante :
Garez la machine sur un sol plat et horizontal.
Coupez le moteur et attendez l'arrêt complet de toutes les pièces mobiles avant de régler, de nettoyer ou de réparer la machine.
Laissez refroidir le moteur avant tout entretien ou remisage de la machine.
Débrayez toutes les commandes.
Ne procédez jamais au graissage, à l'entretien, à la réparation ou au réglage de la machine moteur en marche.
Pour éviter les risques d'incendie, ne laissez pas les matériaux s'accumuler sur le silencieux et le moteur. Nettoyez les coulées éventuelles d'huile ou de carburant.
Ne confiez jamais l'entretien de la machine à des personnes non qualifiées.
N'approchez jamais les mains, les pieds ou les vêtements des pièces mobiles. Dans la mesure du possible, évitez d'effectuer des réglages sur la machine quand le moteur est en marche.
Maintenez toutes les pièces en bon état de marche et les fixations bien serrées. Remplacez tous les autocollants usés ou endommagés.
Éliminez la graisse, l'huile ou les débris accumulés sur la machine.
Arrêtez et inspectez la machine si un objet entre dans la cuve ou cause une quelconque obstruction. Effectuez les réparations nécessaires avant de démarrer la machine.
N'enlevez pas et ne modifiez pas les dispositifs de sécurité.
Calez les roues pendant le remisage de la machine.
Maintenez toutes les fixations et tous les colliers bien serrés, et tous les équipements en bon état.
Utilisez exclusivement des pièces de rechange Toro d'origine.
![]() |
Des autocollants de sécurité et des instructions bien visibles par l'opérateur sont placés près de tous les endroits potentiellement dangereux. Remplacez tout autocollant endommagé ou manquant. |





Pièces nécessaires pour cette opération:
| Poignée de vidage | 1 |
| Boulon de carrosserie | 2 |
| Écrou | 2 |
Coupez les serre-câbles pour enlever la poignée de vidage qui se trouve sous la grille.
Montez la poignée de vidage à l'aide de 2 boulons de carrosserie (montés à l'intérieur de la cuve) et des écrous, comme montré à la Figure 3.

Pièces nécessaires pour cette opération:
| Kit barre de remorquage (vendu séparément) | 1 |
Achetez le kit barre de remorquage (avec les fixations) correspondant à vos besoins chez un dépositaire-réparateur agréé. La machine possède les options de barre de remorquage suivantes :
| Type d'attelage | Longueur |
|---|---|
| Boule 50 mm (2 po) – emboutie | 78,7 cm (31 po) ou 127 cm (50 po) |
| Boule 50 mm (2 po) – forgée | 78,7 cm (31 po) ou 127 cm (50 po) |
| Œillet | 78,7 cm (31 po) ou 127 cm (50 po) |
Retirez le boulon et l'écrou de la barre de remorquage (Figure 4).

Glissez la barre de remorquage en avant et alignez le trou de la barre sur le trou de raccordement du cadre (Figure 4).
Insérez le boulon dans les trous du raccordement du cadre et de la barre (Figure 4).
Vissez l'écrou sur le boulon et serrez jusqu'à ce qu'ils soient solidement appuyés contre le raccordement du cadre (Figure 4).
Note: Si l'insert en nylon autobloquant du contre-écrou s'use avec le temps, remplacez l'écrou par un contre-écrou neuf de catégorie 5 ou 8.
Pièces nécessaires pour cette opération:
| Chaîne de sécurité (fournie avec le kit barre de remorquage) | 1 |
| Maillon d'attache (fourni avec le kit barre de remorquage) | 2 |
La chaîne de sécurité et le maillon d'attache sont inclus dans le kit barre de remorquage (vendu séparément); voir Installation de la barre de remorquage.
Formez un crochet au bout d'une tige flexible ou d'un fil de fer rigide (non fourni), et installez la chaîne de sécurité et les maillons d'attache comme montré à la Figure 5.

Note: Assurez-vous que la chaîne de sécurité dépasse de la même longueur de chaque côté du montant avant.
Si un réglage des pales de malaxage et des racloirs est nécessaire, effectuez ce réglage; voir Réglage des pales.

Avant de mettre le moteur en marche et d'utiliser la machine, familiarisez-vous avec toutes les commandes.
Utilisez le levier de débrayage pour engager et désengager les pales de malaxage.

Utilisez le verrou pour bloquer la cuve à la position de malaxage (redressée) pour le malaxage et le transport de la machine.

Utilisez la poignée de vidage pour faire pivoter la cuve à la position de vidage et à la position de malaxage (redressée).


Le robinet d'arrivée de carburant (Figure 11) est situé sous la commande de starter. Amenez le levier du robinet d'arrivée de carburant à la position OUVERTE avant d'essayer de démarrer le moteur. Lorsque le malaxage est terminé, coupez le moteur et tournez le levier du robinet d'arrivée de carburant en position FERMéE.

Utilisez la commande de starter (Figure 11) pour démarrer quand le moteur est froid. Avant de tirer la poignée du lanceur, placez la commande de starter en position FERMéE. Une fois le moteur en marche, amenez la commande de starter en position OUVERTE. N'utilisez pas le starter si le moteur est chaud ou si la température ambiante est élevée.
La commande d'accélérateur (Figure 11) régule le régime moteur (tr/min). Elle est située près de la commande de starter. Elle permet de régler le régime moteur et peut donc augmenter et diminuer la vitesse de rotation des pales de malaxage. Pour obtenir des performances optimales, amenez la commande en position HAUT RéGIME pour effectuer le malaxage.
Cette commande est située à l'avant du moteur.
Tournez la commande en position de MARCHE pour démarrer et faire tourner le moteur.
Tournez la commande en position d'ARRêT pour arrêter le moteur.

Pour démarrer le moteur, tirez rapidement la poignée du lanceur (Figure 10) pour lancer le moteur. Les commandes présentes sur le moteur et décrites plus haut doivent toutes être réglées correctement pour que le moteur démarre.
Le contacteur de niveau d'huile est situé dans le moteur, et empêche celui-ci de démarrer si le niveau d'huile est inférieur à la limite de sécurité.
Note: Les caractéristiques techniques et la conception sont susceptibles de modifications sans préavis.
| Modèle | 60213C | 60216C | 60220C |
| Capacité de malaxage | 0,17 m3 (6 pi3) | 0,17 m3 (6 pi3) | 0,23 m3 (8 pi3) |
| Volume total | 0,20 m3 (7,1 pi3) | 0,20 m3 (7,1 pi3) | 0,25 m3 (9 pi3) |
| Matière de la cuve | Acier | Acier | Acier |
| Longueur (sans barre de remorquage) | 150 cm (59 po) | 150 cm (59 po) | 168 cm (66 po) |
| Largeur | 86 cm (34 po) | 86 cm (34 po) | 86 cm (34 po) |
| Hauteur | 142 cm (56 po) | 142 cm (56 po) | 142 cm (56 po) |
| Poids | 272 kg (599 lb) | 282 kg (621 lb) | 288 kg (636 lb) |
| Essieu | 86 à 117 cm (34 à 46 po)extensible | 86 à 117 cm (34 à 46 po)extensible | 86 à 117 cm (34 à 46 po)extensible |
| Moteur | Honda® GX160 | Honda® GX240 | Honda® GX240 |
| Entraînement | courroie | courroie | courroie |
Lisez attentivement toutes les instructions de sécurité et la signification des symboles dans ce manuel, sur les autocollants du produit et autres supports fournis avec le produit. Tenez-en compte pour éviter de vous blesser ou de blesser des personnes à proximité.
Apprenez à arrêter la machine rapidement en cas d'urgence.
Portez un casque, des protecteurs d'oreilles, une chemise à manches longues serrées aux poignets, des gants bien ajustés sans cordon de serrage ni larges manchettes, une protection oculaire et un masque antipoussière ou un respirateur. Une visière à maille n'offre pas une protection suffisante pour les yeux et doit être complétée par des lunettes de sécurité.
Cette machine produit des niveaux sonores susceptibles d'entraîner des déficiences auditives en cas d'exposition prolongée.
Portez des protecteurs d'oreilles quand vous utilisez la machine.

Avant de remorquer la machine, lisez toute documentation d'information et effectuez toutes les procédures applicables indiquées dans cette section pour assurer un remorquage correct et sécuritaire.
Le remorquage de la machine à grande vitesse augmente le risque de mauvais fonctionnement de l'attelage et de dommage aux pneus. Les vitesses élevées augmentent également la force d'inertie de la machine et la distance de freinage. Si la machine se détache du véhicule tracteur, elle peut causer des dommages matériels, ou blesser gravement ou mortellement toute personne à proximité.
Ne remorquez pas la machine à plus de 88 km/h (55 mi/h). Si la route est mauvaise ou par mauvais temps, réduisez votre vitesse en conséquence.
Le remorquage de la machine avec du matériau dans la cuve augmente le risque de mauvais fonctionnement de l'attelage et de dommage aux pneus. De plus, le matériau pourrait être projeté hors de la cuve et tomber sur d'autres véhicules et/ou des personnes. Le matériau restant dans la cuve augmente le poids de la machine, ce qui affecte sa force d'inertie et la distance de freinage.
Ne remorquez pas la machine quand la cuve contient du matériau.
Lisez et comprenez les Consignes de sécurité.
Essayez les freins du véhicule tracteur avant le remorquage.
Évitez les arrêts et démarrages brusques pendant le remorquage de la machine.
Avant d'atteler la machine au véhicule tracteur, préparez ce dernier comme suit :
Vérifiez que le véhicule tracteur a une capacité de remorquage suffisante pour supporter le poids de la machine; voir Caractéristiques techniques.
Utilisez un récepteur de Classe 2 ou supérieure.
Vérifiez que le véhicule tracteur est équipé du dispositif d'attelage approprié pour remorquer la machine, c'est-à-dire une boule de remorquage de 50 mm (2 po) ou un œillet de remorquage.
Si la machine est équipée d'un kit feux de remorque, assurez-vous que le connecteur électrique du véhicule tracteur est compatible avec celui de la machine. La machine utilise un connecteur à 4 broches plates standard. Si le véhicule tracteur est équipé d'un autre type de connecteur, procurez-vous un adaptateur chez un revendeur de pièces détachées automobiles.
Coupez le moteur et fermez le robinet d'arrivée de carburant.
Videz la cuve.
Vérifiez que la cuve est en position de malaxage (redressée) et verrouillez-la.
Fermez le capot du moteur et verrouillez-le (Figure 14).

Si vous avez réglé l'essieu à la position étroite (selon l'équipement de votre modèle), allongez-le; voir Réglage de la largeur de l'essieu.
Contrôlez les pneus; voir Contrôle des pneus.
Votre machine est équipée de l'un des types d'attelage suivants; attelez-la comme décrit dans la procédure correspondante :
Coupleur à boule emboutie – Attelage avec coupleur à boule emboutie
Coupleur à boule forgée – Attelage avec coupleur à boule forgée
Coupleur à œillet – Attelage avec coupleur à œillet
Appliquez de la graisse de châssis sur la douille du coupleur et la partie de la chape qui touche la boule.
Huilez les points de pivot et les surfaces de glissement du coupleur à l'huile moteur SAE 30.
Attelez la machine comme montré à la Figure 15.

Appliquez du frein-filet sur les filetages du boulon du coupleur pour bloquer la poignée du coupleur en place.
Important: Appliquez du frein-filet selon les besoins par la suite.
Appliquez de la graisse de châssis sur la douille du coupleur et la partie de la chape qui touche la boule.
Attelez la machine comme montré à la Figure 16.

Note: Bloquez le boulon avec une clé pour l'empêcher de tourner.

Tirez la chaîne de sécurité à travers les trous allongés, en laissant la même longueur de chaîne de chaque côté.
Croisez les deux bouts de chaîne sous la barre de remorquage.
Note: Si les chaînes sont croisées, l'avant de la machine risque moins de s'affaisser au sol si l'attelage se décroche.

Accrochez chaque bout de la chaîne au point de montage de la chaîne de sécurité du véhicule tracteur à l'aide des maillons d'attache (Figure 19).
Important: Vérifiez que la chaîne présente suffisamment de mou pour vous permettre de prendre des virages quand vous remorquez la machine.
Note: Rangez l'excédent de chaîne au bas du montant avant en le poussant dans les trous allongés et en verrouillant les maillons appropriés dans les fentes allongés.

Branchez le connecteur électrique de la machine au connecteur électrique du véhicule tracteur (Figure 22).

Note: La machine utilise un connecteur à 4 broches plates standard. Si le véhicule tracteur est équipé d'un autre type de connecteur, procurez-vous un adaptateur chez un revendeur de pièces détachées automobiles.
Le véhicule tracteur étant au POINT MORT, serrez le frein de stationnement et démarrez le moteur.
Testez les feux comme suit :
Allumez les phares du véhicule tracteur.
Les feux arrière de la machine doivent s'allumer.
Enfoncez la pédale de frein du véhicule tracteur.
Les feux stop de la machine doivent s'allumer.
Actionner tout à tour les clignotants du véhicule tracteur.
Les clignotants correspondants de la machine doivent s'allumer.
Si votre machine est équipée d'un essieu réglable (Figure 22), vous pouvez le régler à la position étroite pour permettre à la machine de passer par un point d'accès étroit, comme un portail ou l'entrée d'un bâtiment.
La machine n'est pas stable lorsqu'elle est remorquée avec l'essieu en position étroite.
Remorquez la machine avec l'essieu en position large.
Important: La machine est moins stable quand l'essieu est en position étroite. Ne réglez l'essieu à la position étroite que si cela est nécessaire pour passer un obstacle; rétablissez la position large avant de remorquer ou d'utiliser la machine.
Garez la machine sur une surface plane et horizontale et détachez-la du véhicule de remorquage.
Immobilisez la machine.
Videz la cuve, redressez-les et verrouillez-la.
Alignez un cric suffisamment haut et capable de soutenir le poids de la machine sous l'essieu; voir Caractéristiques techniques.
Soulevez la machine jusqu'à ce que les roues soient décollées du sol.
Placez une chandelle sous chaque point de soutien de l'extension du cadre arrière (Figure 21).
Les crics mécaniques ou hydrauliques peuvent céder sous le poids de la machine et causer des blessures graves.
Utilisez des chandelles pour soutenir la machine.

Retirez les boulons et les écrous qui fixent l'essieu intérieur à l'essieu extérieur (Figure 22).

Alignez l'essieu intérieur à la position voulue, comme suit :
Fixez l'essieu avec les boulons et écrous retirés précédemment (Figure 22), et serrez-les à 87 N·m (64 pi-lb).
Garez la machine sur une surface plane et horizontale et détachez-la du véhicule de remorquage.
Vérifiez la présence et l'état de toutes les protections et pales.
Effectuez chaque jour les procédures d'entretien prescrites sous .
Calez l'avant et l'arrière des roues pour empêcher la machine de bouger.
Redressez la cuve et verrouillez-la en place.


Dans certaines circonstances, le carburant est extrêmement inflammable et hautement explosif. Un incendie ou une explosion causé(e) par du carburant peut vous brûler, ainsi que les personnes se tenant à proximité, et causer des dommages matériels.
Faites le plein des réservoirs de carburant à l'extérieur, dans un endroit bien dégagé, lorsque le moteur est froid. Essuyez tout carburant répandu.
Ne faites jamais le plein des réservoirs de carburant à l'intérieur d'une remorque fermée.
Ne fumez jamais en manipulant du carburant et tenez-vous à l'écart des flammes nues ou sources d'étincelles qui pourraient enflammer les vapeurs de carburant.
Conservez le carburant dans un récipient homologué et hors de la portée des enfants. N'achetez et ne stockez jamais plus que la quantité de carburant consommée en un mois.
N'utilisez pas la machine si elle n'est pas équipée du système d'échappement complet et en bon état de marche.
Dans certaines circonstances, de l'électricité statique peut se former lors du remplissage, produire une étincelle et enflammer les vapeurs de carburant. Un incendie ou une explosion causé(e) par du carburant peut vous brûler, ainsi que les personnes se tenant à proximité, et causer des dommages matériels.
Posez toujours les bidons de carburant sur le sol, à l'écart du véhicule, avant de les remplir.
Ne remplissez pas de bidons de carburant à l'intérieur d'un véhicule ou sur le plateau d'un camion ou d'une remorque, car la moquette intérieure ou le revêtement en matière plastique de la caisse risque d'isoler le bidon et de freiner l'élimination de l'électricité statique éventuellement produite.
Si possible, descendez la machine du véhicule ou de la remorque et posez-la à terre avant de remplir le réservoir de carburant.
Si cela n'est pas possible, laissez la machine dans le véhicule ou sur la remorque, mais remplissez le réservoir à l'aide d'un bidon, et non directement à la pompe.
En cas de remplissage à la pompe, maintenez le pistolet en contact avec le bord du réservoir ou du bidon jusqu'à la fin du remplissage.
Le carburant est toxique, voire mortel en cas d'ingestion. L'exposition prolongée aux vapeurs de carburant peut causer des blessures et des maladies graves.
Évitez de respirer les vapeurs de carburant de façon prolongée.
N'approchez pas le visage du pistolet ou de l'ouverture du réservoir de carburant.
N'approchez pas le carburant des yeux et de la peau.
Pour assurer le fonctionnement optimal de la machine, utilisez uniquement de l'essence sans plomb propre et fraîche (stockée depuis moins d'un mois) ayant un indice d'octane de 87 ou plus (méthode de calcul [R+M]/2).
Éthanol : de l'essence contenant jusqu'à 10 % d'éthanol (essence-alcool) ou 15 % de MTBE (éther méthyltertiobutylique) par volume peut être utilisée à la rigueur. L'éthanol et le MTBE sont deux produits différents. L'utilisation d'essence contenant 15 % d'éthanol (E15) par volume n'est pas agréée. N'utilisez jamais d'essence contenant plus de 10 % d'éthanol par volume, comme E15 (qui contient 15 % d'éthanol), E20 (qui contient 20 % d'éthanol) ou E85 (qui contient jusqu'à 85 % d'éthanol). L'utilisation d'essence non agréée peut entraîner des problèmes de performances et/ou des dommages au moteur qui peuvent ne pas être couverts par la garantie.
N'utilisez pas d'essence contenant du méthanol.
Ne stockez pas le carburant dans le réservoir ou dans des bidons de carburant pendant l'hiver, à moins d'utiliser un stabilisateur de carburant.
N'ajoutez pas d'huile à l'essence.
Important: Pour réduire les problèmes de démarrage, ajoutez un stabilisateur à chaque plein et utilisez de l'essence stockée depuis moins d'un mois; laissez tourner le moteur jusqu'à ce qu'il s'arrête faute de carburant avant de remiser la machine pendant plus d'un mois de suite.N'utilisez pas d'additifs de carburant autres qu'un stabilisateur/conditionneur. N'utilisez pas de stabilisateurs à base d'alcools tels que l'éthanol, le méthanol ou l'isopropanol.
| Modèle | Capacité du réservoir de carburant |
|---|---|
| 60213 et 60213C | 3,1 l (0,82 gallon américain) |
| 60216, 60216C, 60220 et 60220C | 5,3 L (1,40 gallon américain) |
Garez la machine sur une surface plane et horizontale, coupez le moteur et laissez-le refroidir.
Nettoyez la surface autour du bouchon du réservoir de carburant et enlevez le bouchon (Figure 25).

Versez du carburant dans le réservoir de carburant jusqu'à ce que le niveau maximum soit atteint (Figure 26).
Important: L'espace au-dessus doit rester vide pour permettre au carburant de se dilater. Ne remplissez pas complètement le réservoir de carburant.

Revissez fermement le bouchon du réservoir de carburant (Figure 25).
Essuyez le carburant éventuellement répandu.
Avant de démarrer la machine chaque jour, effectuez les procédures décrites à la section .
Vérifiez que le levier de débrayage est à la position DéBRAYéE.
Tournez le robinet d'arrivée de carburant complètement à droite en position OUVERTE (Figure 27).

Réglez la commande de starter à la position EN SERVICE (Figure 27).
Note: L'usage du starter n'est généralement pas nécessaire si le moteur est chaud.
Déplacez la commande d'accélérateur au tiers de sa course vers la position HAUT RéGIME.
Placez la commande du moteur en position MARCHE (Figure 28).

Tirez légèrement la poignée du lanceur jusqu'à ce que vous sentiez une résistance, puis tirez vigoureusement (Figure 29). Relâchez lentement la poignée du lanceur.

Lorsque le moteur a démarré, ramenez progressivement la commande de starter en position HORS SERVICE. Si le moteur cale ou hésite, poussez-la de nouveau en position EN SERVICE jusqu'à ce que le moteur soit chaud. Placez ensuite la commande de starter à la position HORS SERVICE.
Placez la commande d'accélérateur à la position MIN (Figure 10).
Note: Si le moteur a déjà beaucoup travaillé ou est encore chaud, laissez-le tourner au ralenti pendant une minute avant de l'arrêter. Cela l'aide à refroidir avant de s'arrêter. En cas d'urgence, coupez immédiatement le moteur.
Tournez la commande du moteur à la position ARRêT.
Tournez le robinet d'arrivée de carburant complètement à gauche en position FERMéE.
Tout contact des matériaux de fabrication du béton avec les yeux ou la peau et l'inhalation de la poussière associée sont dangereux pour la santé.
Prévoyez une ventilation adéquate.
Portez un masque antipoussière pour éviter de respirer la poussière pendant l'utilisation de la machine; voir Consignes de sécurité.
Évitez tout contact direct du ciment et de ses matériaux de fabrication avec la peau et les yeux.
Cette machine peut sectionner les mains.
Ne quittez pas la position d'utilisation tant que la machine est en marche.
Tenez tout le monde à bonne distance de la machine.
Arrêtez immédiatement la machine si des personnes ou des animaux apparaissent dans la zone de travail.
Ne placez jamais aucune partie du corps dans une position compromettant le fonctionnement sûr de la machine.
Important: N'ajoutez pas plus de matériau que la capacité de la cuve de la machine; voir Caractéristiques techniques.
Note: Suivez les instructions du fabricant imprimées sur l'emballage du produit que vous utilisez.
Vérifiez que la cuve ne contient pas de restants de matériau qui pourraient contaminer la nouvelle cuvée de matériau; voir Nettoyage de la cuve et Déversement du matériau, puis redressez la cuve.
Note: Vérifiez que la cuve est en position de malaxage (redressée) et que son verrou est engagé.
Placez le levier de débrayage à la position DéBRAYéE (Figure 30).
Démarrez le moteur.
Note: Laissez chauffer le moteur avec la commande d'accélérateur aux 2/3 de sa course pendant 1 à 2 minutes.
Placez la commande d'accélérateur en position de régime MAXIMUM
Placez le levier de débrayage à la position EMBRAYéE (Figure 30).

Ajoutez les ingrédients dans la cuve comme suit :
Versez de l'eau dans la cuve par la grille.
Ajoutez le plâtre, le ciment ou autre liant.
Note: Vous pouvez ouvrir les sacs de ciment, plâtre et liant en les plaçant sur la lame coupe-sac (Figure 31).

Si vous utilisez du sable et/ou d'autres matériaux de renforcement, ajoutez-les dans la cuve.
Malaxez les ingrédients avec les pales jusqu'à obtention d'un mélange d'aspect homogène.
Note: Au besoin, ajoutez de l'eau ou du plâtre, du ciment ou d'autres liants pour obtenir la consistance correcte.
Le contact avec les pales de malaxage peut causer des dommages ou des blessures.
Ne placez jamais les mains à l'intérieur de la cuve quand le moteur est en marche.
Note: Lorsque vous videz le contenu de la cuve, laissez le moteur en marche et le levier de débrayage en position EMBRAYéE pour que les pales en rotation facilitent la décharge du matériau.
Placez une brouette ou un récipient similaire de capacité adéquate sous l'ouverture de la cuve.
Saisissez la poignée de vidage de la main gauche (Figure 32).

Levez la poignée du verrou de la cuve (Figure 32).
Placez les deux mains sur la poignée de vidage et tournez-la dans le sens antihoraire pour décharger le contenu de la cuve (Figure 32).
Note: Attendez que la cuve soit complètement vide.
Tournez la poignée de vidage dans le sens horaire jusqu'à ce que le verrou de la cuve bloque celle-ci en position redressée (Figure 32).
Après avoir vidé le matériau, nettoyez la cuve pour éviter que des restes de matériau séché ne contaminent la prochaine cuvée; voir Nettoyage de la cuve.
| Périodicité d'entretien | Procédure d'entretien |
|---|---|
| Après chaque utilisation |
|
Important: Ne frappez pas la cuve avec une pelle, un marteau ou tout autre outil pour détacher les dépôts de matériau sec.
Placez le levier de débrayage à la position DéBRAYéE pour arrêter les pales.
Coupez le moteur.
Vérifiez que la cuve est en position de malaxage (redressée).
Aspergez la machine d'eau pour éliminer les dépôts de matériau.
Démarrez le moteur.
Placez le levier de débrayage à la position EMBRAYéE pour démarrer les pales.
Videz la cuve.
Un mauvais entretien de la machine peut entraîner la défaillance prématurée des divers systèmes et vous blesser ou blesser les personnes à proximité.
Maintenez la machine bien entretenue et en bon état de marche, conformément aux instructions du présent manuel.
Important: Reportez-vous au manuel du propriétaire du moteur pour toutes procédures d'entretien supplémentaires.
| Périodicité d'entretien | Procédure d'entretien |
|---|---|
| Après les 20 premières heures de fonctionnement |
|
| Après les 25 premières heures de fonctionnement |
|
| À chaque utilisation ou une fois par jour |
|
| Après chaque utilisation |
|
| Toutes les 40 heures |
|
| Toutes les 50 heures |
|
| Toutes les 100 heures |
|
| Toutes les 300 heures |
|
| Chaque mois |
|
| Une fois par an ou avant le remisage |
|
| Tous les 2 ans |
|
Arrêtez le moteur et laissez-le refroidir complètement.
Garez la machine sur un sol plat et horizontal.
Détachez la machine du véhicule tracteur.
Immobilisez la machine.
Débranchez le fil de la bougie.
Débranchez le fil de la borne de la bougie (Figure 33).

Si votre machine est équipée d'une plaque séparatrice, vous devez la déposer avant d'effectuer certains entretiens :
Ouvrez le capot.
À l'aide d'une clé, retirez les 4 boulons qui fixent la plaque séparatrice au capot avant.
Note: Conservez les fixations pour la repose de la plaque séparatrice.

Pour déposer la plaque séparatrice, soulevez-la et inclinez-la en arrière afin de dégager de divers composants du moteur.
Une fois l'entretien terminé, reposez la plaque séparatrice comme suit :
Guidez la plaque séparatrice en position contre le capot avant.
Note: Commencez en tournant légèrement la plaque séparatrice dans le sens antihoraire, puis tournez-la dans le sens horaire tout en l'abaissant en position. Vérifiez que la plaque séparatrice n'est pas installée en sens inverse.

Alignez les trous des boulons dans la plaque séparatrice et le capot avant.
Insérez chacun des 4 boulons, et serrez-les à la main pour éviter de fausser le filetage.
Serrez les boulons avec une clé jusqu'à ce qu'ils soient bloqués.
| Périodicité d'entretien | Procédure d'entretien |
|---|---|
| Après chaque utilisation |
|
| Chaque mois |
|
Note: Les paliers se trouvent à l'intérieur du capot. Déposez la plaque séparatrice (selon l'équipement) pour y accéder; voir Dépose de la plaque séparatrice.
Type de graisse : graisse au lithium nº 2.
Exécutez les procédures décrites sous Préparation de la machine à l'entretien.
Nettoyez la surface autour de chaque graisseur avec un chiffon et retirez le capuchon en plastique du graisseur (Figure 36).


Injectez de la graisse dans chaque graisseur comme suit :
Pour les roulements, faites 1 injection de graisse dans chaque graisseur (Figure 36).
Pour les paliers, injectez de la graisse à plusieurs reprises dans le graisseur jusqu'à ce qu'elle commence à suinter hors du logement du palier (Figure 36).
Important: Injectez la graisse lentement et avec précaution pour ne pas endommager les joints des paliers.
Essuyez tout excès de graisse.
| Périodicité d'entretien | Procédure d'entretien |
|---|---|
| À chaque utilisation ou une fois par jour |
|
| Toutes les 50 heures |
|
| Toutes les 300 heures |
|
Important: Ne faites pas tourner le moteur sans le filtre à air au complet, sous peine d'endommager gravement le moteur.
Coupez le moteur et attendez l'arrêt complet de toutes les pièces mobiles.
Débranchez le fil de la bougie; voir Débranchement du fil de la bougie.
Retirez l'écrou de fixation du couvercle (Figure 37).

Déposez le couvercle.
Note: Veillez à ne pas faire tomber de saleté ni de débris dans la base du filtre.
Déposez les éléments en mousse et papier de la base (Figure 37).
Sortez l'élément en mousse de l'élément en papier (Figure 37).
Examinez les éléments en mousse et en papier; remplacez-les s'ils sont endommagés ou très encrassés.
Note: Ne tentez jamais de nettoyer l'élément en papier avec une brosse, car cela a pour effet d'incruster la saleté dans les fibres.
Lavez l'élément en mousse dans de l'eau chaude savonneuse ou un solvant ininflammable.
Note: Ne nettoyez pas l'élément en mousse avec du carburant car cela pourrait causer un risque d'incendie ou d'explosion.
Rincez et séchez soigneusement l'élément en mousse.
Trempez l'élément en mousse dans de l'huile moteur propre, puis pressez-le pour éliminer l'excédent d'huile.
Note: Un excédent d'huile dans l'élément en mousse réduit le débit d'air à l'intérieur et peut atteindre et colmater l'élément en papier.
Essuyez les saletés présentes sur la base et le couvercle avec un chiffon humide.
Note: Veillez à ne pas faire pénétrer de saletés ou de débris dans le conduit d'air relié au carburateur.
Posez les éléments du filtre à air et vérifiez qu'ils sont correctement positionnés.
Fixez le couvercle en place avec l'écrou.
Huile moteur de première qualité Toro en vente chez les dépositaires Toro agréés.
Important: Utilisez de l'huile pour moteur 4 temps conforme ou supérieure à la classe de service API SJ, SL, SM ou mieux.
| Modèle(s) | Capacité du carter |
|---|---|
| 60213 et 60213C | 0.58 L (19.6 oz) |
| 60216, 60216C, 60220 et 60220C | 1,1 L (1,2 pte américaine) |
Important: Si vous faites tourner le moteur alors que le niveau d'huile dans le carter est trop bas ou trop élevé, vous risquez d'endommager le moteur. Ce type de dommage n'est pas couvert par la garantie.
Note: Utilisez de l'huile SAE 10W-30 pour usage général. Vous pouvez utiliser les autres viscosités d'huile indiquées dans le tableau lorsque la température moyenne dans votre région correspond à la plage indiquée (Figure 38).

| Périodicité d'entretien | Procédure d'entretien |
|---|---|
| À chaque utilisation ou une fois par jour |
|
Garez la machine sur une surface plane et horizontale, et coupez le moteur.
Laissez refroidir le moteur.
Débranchez le fil de la bougie; voir Débranchement du fil de la bougie.
Nettoyez la surface autour de la jauge.
Contrôlez le niveau d'huile comme montré à la Figure 39.

| Périodicité d'entretien | Procédure d'entretien |
|---|---|
| Après les 25 premières heures de fonctionnement |
|
| Toutes les 100 heures |
|
L'huile peut être chaude lorsque le moteur vient de tourner et peut alors causer des blessures graves au contact de la peau.
Évitez tout contact avec l'huile moteur chaude lors de la vidange.
Coupez le moteur et attendez l'arrêt complet de toutes les pièces mobiles.
Débranchez le fil de la bougie; voir Débranchement du fil de la bougie.
Placez un bac de vidange sous l'orifice de vidange d'huile du moteur (Figure 40).

Retirez le bouchon de vidange et laissez l'huile s'écouler dans le bac de vidange (Figure 40).
Lorsque la vidange d'huile est terminée, remettez le bouchon de vidange en place avec une rondelle neuve (Figure 40).
Note: Débarrassez-vous de l'huile usagée dans un centre de recyclage agréé.
Sortez la jauge (Figure 41) et versez lentement de l'huile par l'orifice de remplissage jusqu'à ce qu'elle atteigne le repère supérieur (bord inférieur de l'orifice de remplissage) sur la jauge.

Revissez la jauge en place.
Essuyez l'huile éventuellement répandue.
| Périodicité d'entretien | Procédure d'entretien |
|---|---|
| Toutes les 100 heures |
|
| Toutes les 300 heures |
|
Type : NGK BPR6ES ou type équivalent
Écartement : 0,7 à 0,8 mm (0,028 à 0,031 po)
Note: Utilisez une clé spéciale de 21 mm (13/16 po) pour déposer et poser la bougie.
Garez la machine sur une surface plane et horizontale, et coupez le moteur.
Vérifiez que les surfaces de la machine sont froides.
Débranchez le fil de la borne de la bougie (Figure 42).

Nettoyez la surface autour de la bougie.
Avec une clé de 21 mm (13/16 po), tournez la bougie dans le sens antihoraire pour la déposer ainsi que la rondelle d'étanchéité (Figure 43).

Important: Ne nettoyez pas la bougie. Remplacez toujours la bougie si elle est recouverte d'un dépôt noir ou d'une couche grasse, si elle est fissurée ou si les électrodes sont usées.
Note: Si le bec isolant est recouvert d'un léger dépôt gris ou brun, le moteur fonctionne correctement. S'il est recouvert d'un dépôt noir, cela signifie généralement que le filtre à air est encrassé.
Réglez l'écartement des électrodes entre 0,7 et 0,8 mm (0,028 et 0,031 po).

Important: Avant de monter une bougie, vérifiez si l'écartement entre les électrodes centrale et latérale est correct.
Vissez la bougie dans le sens horaire à la main dans le trou prévu.
Note: Évitez de fausser le filetage de la bougie en la vissant dans le trou.
Avec une clé de 21 mm (13/16 po), tournez la bougie dans le sens horaire jusqu'à ce qu'elle soit en place avec sa rondelle d'étanchéité (Figure 43).
Serrez la bougie comme suit :
Lors de la pose d'une bougie réutilisée, serrez-la de ⅛ à ¼ de tour supplémentaire.
Lors de la pose d'une bougie neuve, serrez la bougie de ½ tour supplémentaire.
Important: Une bougie mal serrée peut faire surchauffer le cylindre. Une bougie trop serrée peut endommager le filetage de la culasse.
Poussez le fil sur la borne de la bougie (Figure 42).
| Périodicité d'entretien | Procédure d'entretien |
|---|---|
| Toutes les 100 heures |
|
Note: Un pare-étincelles est disponible en option. Si vous avez besoin d'un pare-étincelles, contactez votre dépositaire-réparateur agréé. Les pare-étincelles Toro d'origine sont homologués par le Service des forêts du Département de l'agriculture des États-Unis (USDAFS).
Si le moteur vient de tourner, le silencieux peut encore être chaud. Les pièces brûlantes peuvent causer des blessures.
Gardez les mains, les pieds, le visage et toute autre partie du corps ainsi que les vêtements à l'écart du silencieux et autres surfaces brûlantes, jusqu'à ce qu'elles soient complètement froides.
Garez la machine sur une surface plane et horizontale, et coupez le moteur.
Laissez refroidir le moteur.
Débranchez le fil de la bougie; voir Débranchement du fil de la bougie.
Déposez la plaque séparatrice (selon l'équipement); voir Dépose de la plaque séparatrice.
Retirez les 2 écrous (8 mm) et déposez le silencieux du cylindre (Figure 45).

Retirez les 3 vis (4 mm) du déflecteur d'échappement et déposez le déflecteur (Figure 45).
Retirez les vis (5 mm et 6 mm) du protecteur du silencieux, et déposez le protecteur (Figure 45).
Retirez les vis (4 mm) du pare-étincelles et déposez celui-ci du silencieux (Figure 45).
Avec une brosse, décalaminez la grille du pare-étincelles avec précaution (Figure 46).
Note: Remplacez le pare-étincelles s'il est cassé ou troué.

Reposez le pare-étincelles, le protecteur de silencieux, le déflecteur d'échappement et le silencieux en inversant l'ordre de la dépose.
Reposez la plaque séparatrice (selon l'équipement); voir Pose de la plaque séparatrice.
Le ressort est tendu quand il est en place et peut causer des blessures en se détendant.
Retirez le ressort avec précaution.
Garez la machine sur une surface plane et horizontale, et coupez le moteur.
Laissez refroidir le moteur.
Débranchez le fil de la bougie; voir Débranchement du fil de la bougie.
Déposez la plaque séparatrice; voir Dépose de la plaque séparatrice.
Déposez le guide-courroies; voir Dépose des courroies.
Déposez les courroies; voir Dépose des courroies.
À l'aide d'un outil de dépose de ressort (réf. Toro 92-5771), déposez le ressort de la patte d'ancrage sur le plancher moteur (Figure 47).
Note: Laissez l'autre bout du ressort accroché au cadre de la machine.

Retirez le boulon et l'écrou qui fixent le support arrière de la charnière de plancher moteur au cadre de la machine (Figure 48).

Soulevez le bord arrière du plancher moteur et déposez le support de charnière (Figure 48).
Poussez le plancher moteur en arrière et sortez-le du support de charnière avant (Figure 49).
Note: Ne déposez pas le support de charnière avant.

Déposez le moteur et le plancher moteur de la machine (Figure 49).
Alignez le moteur et le plancher moteur sur le cadre arrière de la machine.
Note: La poulie d'entraînement du moteur doit s'aligner en avant.
Alignez le pivot du plancher moteur sur le support de charnière avant (Figure 49).
Poussez le plancher moteur en avant et le pivot dans le support de charnière avant (Figure 49).
Alignez le support de charnière arrière sur le pivot de la charnière du plancher moteur (Figure 49).
Soulevez le bord arrière du plancher moteur et glissez le support de charnière sur le pivot.
Fixez le support arrière au cadre de la machine avec le boulon et l'écrou (Figure 48) retirés à l'opération 8 de Dépose du moteur.
À l'aide d'un outil de dépose de ressort (réf. Toro 92-5771), reposez le ressort de tension sur la patte d'ancrage sur le plancher moteur (Figure 47).
Reposez les courroies et leur guide; voir Pose des courroies.
Déposez le guide-courroies; voir Réglage du guide-courroies.
Reposez la plaque séparatrice; voir Pose de la plaque séparatrice.
| Périodicité d'entretien | Procédure d'entretien |
|---|---|
| Toutes les 100 heures |
|
| Une fois par an ou avant le remisage |
|
Une cuvette de décantation située sous le robinet d'arrivée de carburant recueille les impuretés du carburant.
Garez la machine sur une surface plane et horizontale, et coupez le moteur.
Laissez refroidir le moteur.
Débranchez le fil de la bougie; voir Débranchement du fil de la bougie.
Tournez le robinet d'arrivée de carburant complètement à gauche en position FERMéE (Figure 50).
Dévissez la cuvette de décantation (Figure 50).
Déposez et conservez le filtre à carburant et le joint torique (Figure 50).
Note: Ne nettoyez pas le joint torique dans du solvant.

Nettoyez le filtre à carburant et la cuvette de décantation avec un solvant non inflammable et séchez-les soigneusement.
Essuyez le joint torique avec un chiffon propre et sec.
Posez le filtre à carburant au fond du carburateur (Figure 50).
Placez le joint torique dans la rainure de la cuvette de décantation et posez la cuvette sur le boîtier du robinet d'arrivée de carburant.
Déplacez le levier du robinet d'arrivée de carburant complètement à droite en position OUVERTE, et recherchez des fuites éventuelles. Remplacez le joint torique si des fuites sont constatées.
Déposez le moteur; voir Dépose du moteur.
Dévissez le bouchon de carburant en le tournant dans le sens antihoraire (Figure 51).

Placez un bac de vidange sous la charnière du plancher moteur.
Pivotez le moteur sur le côté charnière du plancher moteur et vidangez le réservoir de carburant (Figure 52).

Abaissez le moteur et le plancher moteur avec précaution.
Remettez le bouchon de carburant en place.
Reposez le moteur; voir Pose du moteur.
Note: L'ampoule arrière gauche éclaire aussi la plaque d'immatriculation.
À l'aide d'un tournevis, retirez les 4 vis du grand verre carré sur le feu (Figure 53).

Déposez le verre (Figure 53).
Poussez sur l'ampoule et tournez-la dans le sens antihoraire pour la retirer de la douille (Figure 53).
Poussez une ampoule neuve 1157 dans la douille et tournez-la dans le sens horaire pour la bloquer en place (Figure 53).
Reposez le verre et les 4 vis (Figure 53).
Le tableau suivant indique la pression de gonflage correcte des pneus tels que montés à l'usine.
Important: Vérifiez toujours l'information sur les pneus mêmes pour connaître la pression de gonflage correcte.
| Modèle | Pression de gonflage maximale |
|---|---|
| 60212, 60213 et 60216 | 4,14 bar (60 psi) |
| 60218, 60219 et 60220 | 2,41 bar (35 psi) |
| Périodicité d'entretien | Procédure d'entretien |
|---|---|
| À chaque utilisation ou une fois par jour |
|
Une pression de gonflage incorrecte peut entraîner la défaillance des pneus et une perte de contrôle, et causer des dommages matériels et des blessures graves ou mortelles.
Vérifiez fréquemment la pression des pneus pour garantir un gonflage correct. Si les pneus ne sont pas gonflés à la pression correcte, ils s'useront prématurément.
Vérifiez l'état des pneus avant de remorquer la machine et après tout accident de fonctionnement.
Le numéro d'identification DOT est indiqué de chaque côté du pneu. Cette information indique les classes de charge et de vitesse. Les pneus de rechange doivent être de spécifications égales ou supérieures
Note: Vérifiez que les pneus montés sur la machine respectent ou dépassent les spécifications de poids de la machine indiquées sous Caractéristiques techniques.
Vérifiez visuellement l'état et l'usure des pneus (Figure 56 et Figure 57).


Vérifiez que les pneus sont gonflés à la pression correcte; voir Pression de gonflage des pneus.
Important: La cause la plus courante de problèmes liés aux pneus est le sous-gonflage. Maintenez les pneus à la pression maximale.
| Périodicité d'entretien | Procédure d'entretien |
|---|---|
| Après chaque utilisation |
|
Serrez les écrous de roue avant l'utilisation et après le remorquage.
Serrez les écrous de roue à un couple de 108 122 N·m (80 à 90 pi-lb) dans l'ordre indiqué à la Figure 58.

Important: Si vous faites tourner le moteur alors que le niveau d'huile dans le carter réducteur est trop bas ou trop élevé, vous risquez d'endommager le moteur ou le réducteur. Ce type de dommage n'est pas couvert par la garantie.
Type d'huile : huile moteur 4 temps SAE 10W-30
Classe de service API : SJ, SL, SM ou mieux
Capacité du carter réducteur : 1,2 L (40 oz liq.)
| Périodicité d'entretien | Procédure d'entretien |
|---|---|
| À chaque utilisation ou une fois par jour |
|
Garez la machine sur une surface plane et horizontale, et coupez le moteur.
Laissez refroidir le moteur.
Débranchez le fil de la bougie; voir Débranchement du fil de la bougie.
Déposez la plaque séparatrice; voir Dépose de la plaque séparatrice.
Localisez le carter réducteur entre le moteur et la poulie de moteur (Figure 59).

Placez un chiffon juste sous l'orifice de niveau d'huile sur le côté du carter réducteur.
Retirez le boulon et la rondelle de contrôle de niveau d'huile de l'orifice de niveau d'huile (Figure 59).
Si le niveau d'huile est en dessous du filetage de l'orifice de niveau d'huile, faites l'appoint d'huile comme suit :
Retirez le boulon et la rondelle de l'orifice de remplissage au sommet du carter réducteur (Figure 59).
Versez lentement l'huile spécifiée dans l'orifice de remplissage jusqu'à ce que le niveau atteigne le filetage au bas de l'orifice de niveau d'huile.
Placez le boulon et la rondelle sur l'orifice de remplissage du carter réducteur, et serrez le boulon (Figure 59).
Si le niveau d'huile est trop élevé, vidangez l'huile jusqu'à ce qu'elle soit au niveau du filetage au bas de l'orifice de niveau d'huile.
Lorsque l'huile est au niveau du filetage au bas de l'orifice de niveau d'huile, remettez le boulon et la rondelle de contrôle de niveau d'huile sur l'orifice, et serrez le boulon (Figure 59).
Reposez la plaque séparatrice; voir Débranchement du fil de la bougie.
| Périodicité d'entretien | Procédure d'entretien |
|---|---|
| Après les 20 premières heures de fonctionnement |
|
| Toutes les 100 heures |
|
Garez la machine sur une surface plane et horizontale, et coupez le moteur.
Laissez refroidir le moteur.
Débranchez le fil de la bougie; voir Débranchement du fil de la bougie.
Déposez le moteur; voir Dépose du moteur.
Vidangez le réservoir de carburant; voir Vidange du réservoir de carburant.
Retirez le boulon et la rondelle de l'orifice de remplissage au sommet du carter réducteur (Figure 60).

Retirez le boulon et la rondelle de contrôle de niveau d'huile de l'orifice de niveau d'huile sur le côté du carter réducteur (Figure 60).
Placez un bac de vidange sous la charnière du plancher moteur (Figure 61).

Faites pivoter le moteur sur le côté charnière du plancher moteur et vidangez l'huile du carter réducteur (Figure 61).
Abaissez le moteur et le plancher moteur avec précaution.
Versez lentement l'huile spécifiée dans l'orifice de remplissage jusqu'à ce que le niveau atteigne le filetage au bas de l'orifice de niveau d'huile (Figure 59).
Remettez le boulon et la rondelle de contrôle de niveau d'huile sur l'orifice de niveau d'huile du carter réducteur, et serrez le boulon (Figure 60).
Placez le boulon et la rondelle sur l'orifice de remplissage du carter réducteur, et serrez le boulon (Figure 60).
Reposez le moteur; voir Pose du moteur.
| Périodicité d'entretien | Procédure d'entretien |
|---|---|
| Après les 25 premières heures de fonctionnement |
|
| Toutes les 40 heures |
|
Garez la machine sur une surface plane et horizontale, et coupez le moteur.
Laissez refroidir la machine.
Débranchez le fil de la bougie; voir Débranchement du fil de la bougie.
Déposez la plaque séparatrice; voir Dépose de la plaque séparatrice.
Placez le levier de débrayage à la position DéBRAYéE.
Contrôlez l'état et l'usure des courroies. Remplacez les courroies si elles sont usées ou endommagées; voir Remplacement des courroies.
Vérifiez l'usure, l'état et l'alignement des poulies; voir Alignement des poulies.
Reposez la plaque séparatrice; voir Pose de la plaque séparatrice.
Entrefer de l'embrayage : 2,5 à 6,5 mm (3/32 à ¼ po)
Garez la machine sur une surface plane et horizontale, et coupez le moteur.
Laissez refroidir la machine.
Débranchez le fil de la bougie; voir Débranchement du fil de la bougie.
Placez le levier de débrayage à la position EMBRAYéE.
Mesurez l'entrefer entre le plancher moteur et le rouleau sur l'embrayage (Figure 62).

Si l'entrefer mesuré n'est pas dans la plage spécifiée, réglez-le comme suit :
Placez le levier de débrayage à la position DéBRAYéE.
Desserrez les écrous et boulons qui fixent le moteur au plancher moteur (Figure 63).

Modifiez la position du moteur comme suit :
Placez une règle droite en travers de la poulie de moteur et de la poulie de tension (Figure 64).

Au besoin, faites pivoter le moteur sur le plancher moteur jusqu'à ce que la poulie de moteur et la poulie de tension soient alignées sur la règle droite (Figure 64).
Serrez les écrous et boulons qui fixent le moteur au plancher moteur à 18 N·m (13 pi-lb).
Contrôlez l'entrefer entre le plancher moteur et le rouleau sur l'embrayage. Si l'entrefer n'est pas dans la plage spécifiée, répétez l'opération 6 jusqu'à ce qu'il y soit.
Reposez la plaque séparatrice; voir Pose de la plaque séparatrice.
Important: Vérifiez que les pales ne tournent pas quand le levier de débrayage est en position DéBRAYéE.
| Périodicité d'entretien | Procédure d'entretien |
|---|---|
| Tous les 2 ans |
|
Garez la machine sur une surface plane et horizontale, et coupez le moteur.
Laissez refroidir la machine.
Débranchez le fil de la bougie; voir Débranchement du fil de la bougie.
Placez le levier de débrayage à la position DéBRAYéE.
Déposez la plaque séparatrice; voir Dépose de la plaque séparatrice.
Retirez le boulon qui fixe le guide-courroies au moteur, et déposez le guide (Figure 65).

Poussez la courroie avant vers l'avant et déchaussez-la de la poulie de tension (Figure 66).

Poussez la courroie arrière vers l'arrière et déchaussez-la de la poulie de tension (Figure 66).
Retirez les courroies de la poulie de moteur.
Déposez les courroies de la machine.
Garez la machine sur une surface plane et horizontale, et coupez le moteur.
Laissez refroidir la machine.
Débranchez le fil de la bougie; voir Débranchement du fil de la bougie.
Vérifiez que le levier de débrayage est à la position DéBRAYéE.
Alignez la courroie arrière sur la gorge arrière de la poulie de moteur.
Note: N'alignez pas la courroie arrière sur la poulie de tension.
Alignez la courroie avant sur la gorge avant de la poulie de tension.
Poussez la courroie arrière par-dessus la poulie de tension et alignez-la sur la gorge arrière de la poulie.
Poussez la courroie avant par-dessus la poulie de moteur et alignez-la sur la gorge avant de la poulie.
Contrôlez la tension de la courroie; voir les opérations 4 à 6 sous Réglage de la tension de la courroie.
Fixez légèrement le guide-courroies au moteur (Figure 65) avec le boulon retiré à l'opération 6 de Dépose des courroies.
Déposez le guide-courroies; voir Réglage du guide-courroies.
Reposez la plaque séparatrice; voir Pose de la plaque séparatrice.
Note: Pour accéder au guide-courroies, déposez la plaque séparatrice; voir Dépose de la plaque séparatrice.
Écartement du guide : 2,5 à 4 mm (3/32 à 5/32 po)
Garez la machine sur une surface plane et horizontale, et coupez le moteur.
Laissez refroidir la machine.
Débranchez le fil de la bougie; voir Débranchement du fil de la bougie.
Vérifiez que le levier de débrayage est à la position EMBRAYéE.
Vérifiez que la tension des courroies est correcte; voir Réglage de la tension de la courroie.
Vérifiez que le guide et les courroies sont espacés de 2,5 à 4 mm (3/32 à 5/32 po); voir Figure 67.

Si l'écartement n'est pas dans la plage spécifiée, procédez comme suit :
Desserrez le boulon qui fixe le guide-courroies au moteur (Figure 67).
Important: Vérifiez que le guide-courroies est dirigé vers la poulie de moteur.
Tournez le guide-courroies vers le haut ou le bas jusqu'à ce que vous obteniez un écartement de 2,5 à 4 mm (3/32 à 5/32 po) entre le guide et chaque courroie (Figure 67).
Important: Le guide ne doit pas toucher les courroies quand le levier de débrayage est en position EMBRAYéE.
Note: Si vous ne réussissez pas à obtenir l'écartement correct entre le guide et les courroies, cela signifie qu'une des courroies est trop longue.
Resserrez le boulon qui fixe le guide-courroies au moteur (Figure 67).
Vérifiez le fonctionnement de l'embrayage; voir Contrôle du fonctionnement de l'embrayage.
Reposez la plaque séparatrice; voir Pose de la plaque séparatrice.
| Périodicité d'entretien | Procédure d'entretien |
|---|---|
| Toutes les 40 heures |
|
Important: Les pales ne doivent pas tourner dans la cuve vide quand le levier de débrayage est en position DéBRAYéE.
Placez le levier de débrayage à la position DéBRAYéE.
Démarrez le moteur.
Si les pales tournent quand le levier de débrayage est en position DéBRAYéE, procédez comme suit :
Coupez le moteur.
Vérifiez l'écartement entre le guide-courroies et les courroies.
Note: Si l'écartement entre le guide et les courroies est supérieur à 4 mm (5/32 po), réduisez-le; voir Réglage du guide-courroies.
Répétez les opérations 1 à 3 jusqu'à ce que toutes les conditions suivantes soient satisfaites :
Le moteur tourne avec la commande d'accélérateur aux 2/3 de sa course.
Le levier de débrayage est en position DéBRAYéE.
Les pales ne tournent pas dans la cuve vide alors que le moteur est en marche.
Garez la machine sur une surface plane et horizontale, et coupez le moteur.
Laissez refroidir la machine.
Débranchez le fil de la bougie; voir Débranchement du fil de la bougie.
Déposez la plaque séparatrice; voir Dépose de la plaque séparatrice.
Placez une règle droite en travers de la face de la poulie de moteur et la poulie de tension (Figure 68).

Note: Les deux poulies doivent être alignées et de niveau avec la règle droite.
Si les poulies ne sont pas alignées, procédez comme suit :
Placez le levier de débrayage à la position DéBRAYéE.
Desserrez les contre-écrous et les vis de maintien qui fixent la poulie de tension à l'arbre de renvoi (Figure 68).
Avec une massette, tapez la poulie de tension vers l'avant ou l'arrière le long de l'arbre de renvoi jusqu'à ce que la poulie de moteur et la poulie de tension soient alignées sur la règle droite (Figure 68).
Resserrez les contre-écrous et les vis qui fixent la poulie de tension à l'arbre de renvoi (Figure 68).
Reposez la plaque séparatrice; voir Pose de la plaque séparatrice.
Important: Terminez la procédure décrite sous Préparation de la machine à l'entretien avant de régler les pales.
Note: Avec le temps, il peut s'avérer nécessaire de régler les pales du malaxeur en fonction de leur usure.
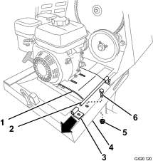
Faites tourner la pale de la rangée de pales gauche dans la cuve et localisez dans la cuve la plus petite distance entre la paroi et le racloir de la pale (Figure 69).
Faites un repère à l'intérieur de la cuve à l'emplacement que vous avez déterminé à l'opération 1.

Alignez le racloir par rapport au repère.
Desserrez les boulons de carrosserie et les contre-écrous à embase qui fixent la lame et le racloir à la pale (Figure 70).

Ajustez la position du racloir pour qu'il soit légèrement en contact, sur toute sa longueur, avec la cuve (Figure 71).

Ajustez la position de la lame du racloir pour que le bord extérieur soit distant de 3 à 6 mm (⅛ à ¼ po) du bord extérieur du racloir.
Serrez les boulons de carrosserie et les écrous à un couple de 19 à 25 N·m (14 à 18 pi-lb).
Répétez les opérations 4 à 7 pour l'autre pale dans cette rangée.
Répétez la procédure pour les autres rangées de pales.
Faites tourner le racloir et la pale fixe autour de la plaque d'extrémité de la cuve et localisez la plus petite distance entre la paroi de la cuve et le racloir de la pale.
Faites un repère à l'intérieur de la plaque d'extrémité à l'emplacement que vous avez déterminé à l'opération 1.

Alignez le racloir par rapport au repère.
Desserrez les boulons de carrosserie et les contre-écrous à embase qui fixent la lame et le racloir à la pale fixe (Figure 72).
Ajustez la position du racloir pour qu'il soit en léger contact, sur toute sa longueur, avec la plaque d'extrémité.
Ajustez la position de la lame du racloir pour que le bord extérieur de la barre soit distant de 3 à 6 mm (⅛ à ¼ po) du bord extérieur du racloir.
Serrez les boulons de carrosserie et les écrous à un couple de 19 à 25 N·m (14 à 18 pi-lb).
Répétez cette procédure pour le racloir de la plaque d'extrémité à l'autre bout de la cuve.
Alignez la pale d'extrémité réglable sur le repère que vous avez tracé à l'opération 2 de Alignement des racleurs d'extrémité des pales.
Desserrez les boulons de carrosserie et les contre-écrous à embase qui fixent la pale d'extrémité réglable à la pale fixe (Figure 73).

Ajustez la position de la pale d'extrémité réglable de sorte qu'elle soit aussi proche que possible, sur toute sa longueur, de la plaque d'extrémité sans pour autant toucher la plaque quand les pales tournent.
Serrez les boulons de carrosserie et les écrous à un couple de 37 à 45 N·m (27 à 33 pi-lb).
Répétez cette procédure pour la pale d'extrémité réglable de la plaque d'extrémité à l'autre bout de la cuve.
La durée de vie de la machine sera augmentée par un nettoyage et un lavage réguliers avec de l'eau et un détergent doux. Nettoyez la machine après chaque utilisation, avant que la saleté ait le temps de durcir.
Débarrassez l'extérieur de la machine, et surtout le moteur, des saletés et de la crasse. Nettoyez les saletés et les déchets de béton à l'extérieur du moteur.
Vérifiez que le bouchon du réservoir de carburant et le bouchon de remplissage/jauge d'huile sont bien serrés pour prévenir toute infiltration d'eau dans le moteur.
Si vous utilisez un jet haute pression, veillez à ne pas endommager les autocollants de sécurité, les panneaux d'instruction et le moteur.
Important: Graissez les paliers et les joints après le nettoyage; voir Graissage des roulements et joints.
Si vous ne comptez pas utiliser la machine avant plus d'un mois, préparez-la au remisage comme suit :
Débarrassez l'extérieur de la machine, et surtout le moteur, des saletés et de la crasse. Éliminez les saletés et les débris pouvant se trouver sur les ailettes de la culasse et le carter du ventilateur.
Important: Vous pouvez laver la machine avec de l'eau et un détergent doux.
Conditionnez le système d'alimentation comme suit :
Ajoutez un additif stabilisateur/conditionneur à base de pétrole dans le réservoir de carburant. Respectez les proportions spécifiées par le fabricant du stabilisateur. N'utilisez pas de stabilisateur à base d'alcool (éthanol ou méthanol).
Important: Ne conservez pas le carburant traité/additionné de stabilisateur plus de 3 mois.
Note: L'efficacité des stabilisateurs/conditionneurs est optimale lorsqu'ils sont mélangés à du carburant frais et sont utilisés de manière systématique.
Faites tourner le moteur 5 minutes pour faire circuler le carburant traité dans tout le circuit d'alimentation.
Arrêtez le moteur, laissez-le refroidir et vidangez le réservoir de carburant à l'aide d'un siphon à pompe. Débarrassez-vous du carburant conformément à la réglementation locale en matière d'environnement.
Redémarrez le moteur et laissez-le tourner jusqu'à ce qu'il s'arrête.
Actionnez le starter.
Démarrez le moteur et laissez-le tourner jusqu'à ce qu'il ne veuille plus démarrer.
Nettoyez la cuvette de sédimentation; voir Nettoyage de la cuvette de décantation.
Faites l'entretien du filtre à air; voir Entretien du filtre à air.
Vidangez l'huile moteur; voir Vidange de l'huile moteur.
Déposez la bougie et vérifiez son état; voir Entretien de la bougie.
Conditionnez le moteur comme suit :
Versez 2 cuillerées d'huile moteur dans l'orifice de la bougie; voir Dépose de la bougie.
Tirez lentement le lanceur pour faire tourner le moteur et bien répartir l'huile dans le cylindre.
Reposez la bougie; voir Pose de la bougie.
Note: Ne rebranchez pas le fil de la bougie.
Graissez la machine; voir Graissage des roulements et joints.
Contrôlez et resserrez tous les boulons, écrous et vis. Réparez ou remplacez toute pièce endommagée.
Peignez toutes les surfaces métalliques éraflées ou mises à nu avec de la peinture en vente chez un dépositaire-réparateur agréé.
Rangez la machine dans un endroit propre et sec, comme un garage ou une remise.
Couvrez la machine pour la protéger et la garder propre.
| Problem | Possible Cause | Corrective Action |
|---|---|---|
| Le moteur ne démarre pas. |
|
|
| Le moteur peine ou ne tourne pas régulièrement. |
|
|
| La courroie glisse ou se déchausse des poulies. |
|
|
| Les pales tournent quand le levier de débrayage est en position débrayée. |
|
|
| Les pales ne tournent pas quand le levier de débrayage est en position embrayée. |
|
|
| Les pales tournent lentement quand le levier de débrayage est en position embrayée. |
|
|