| Intervalo de mantenimiento y servicio | Procedimiento de mantenimiento |
|---|---|
| Después de cada uso |
|
Esta máquina está diseñada para mezclar mortero, yeso, ignifugante, lechada y otros productos de cemento Portland de granulado fino. Para remolcar la máquina puede utilizarse un vehículo equipado con un enganche de argolla o de bola, según el caso.
Lea este manual detenidamente para aprender a utilizar y mantener correctamente su producto, y para evitar lesiones y daños al producto. Usted es responsable de utilizar el producto de forma correcta y segura.
Puede ponerse en contacto con Toro directamente en www.toro.com para buscar materiales de formación y seguridad, información sobre accesorios, para localizar un distribuidor o para registrar su producto.
Cuando necesite asistencia técnica, piezas genuinas Toro o información adicional, póngase en contacto con un Servicio Técnico Autorizado o con Asistencia al Cliente Toro, y tenga a mano los números de modelo y serie de su producto. Figura 1 identifica la ubicación de los números de modelo y serie en el producto. Escriba los números en el espacio provisto.
Important: Con su dispositivo móvil, puede escanear el código QR de la pegatina del número de serie (en su caso) para acceder a información sobre la garantía, las piezas, y otra información sobre el producto.

Este manual detalla peligros potenciales y contiene mensajes de seguridad identificados por el símbolo de alerta de seguridad (Figura 2), que señala un peligro que puede causar lesiones graves o la muerte si usted no sigue las precauciones recomendadas.

Este manual utiliza 2 palabras para resaltar información. Importante llama la atención sobre información mecánica especial, y Nota resalta información general que merece una atención especial.
El uso o la operación del motor en cualquier terreno forestal, de monte o cubierto de hierba a menos que el motor esté equipado con parachispas (conforme a la definición de la sección 4442) mantenido en buenas condiciones de funcionamiento, o que el motor haya sido fabricado, equipado y mantenido para la prevención de incendios, constituye una infracción de la legislación de California (California Public Resource Code Section 4442 o 4443).
El manual del propietario del motor adjunto ofrece información sobre las normas de la Agencia de protección ambiental de EE. UU. (U.S. Environmental Protection Agency/EPA) y de la norma de control de emisión de California (California Emission Control Regulation) sobre sistemas de emisiones, mantenimiento y garantía. Puede solicitarse un manual nuevo al fabricante del motor.
Información de los neumáticos – la información DOT de los neumáticos esta situada en el flanco de cada neumático. Esta información indica las categorías de carga y velocidad. Los neumáticos de recambio deben ser de una categoría equivalente o superior; consulte Especificaciones para asegurarse de que los neumáticos de su máquina cumplen o superan los requisitos de peso de la máquina.
CALIFORNIA
Advertencia de la Propuesta 65
Los gases de escape de este producto contienen productos químicos que el Estado de California sabe que causan cáncer, defectos congénitos u otros peligros para la reproducción.
El uso de este producto puede provocar la exposición a sustancias químicas que el Estado de California considera causantes de cáncer, defectos congénitos u otros trastornos del sistema reproductor.
El uso o mantenimiento indebido por parte del operador o el propietario puede causar lesiones. Para reducir el peligro de lesiones, cumpla estas instrucciones de seguridad y preste atención siempre al símbolo de alerta de seguridad (Figura 2), que significa: Cuidado, Advertencia o Peligro – instrucción relativa a la seguridad personal. El incumplimiento de estas instrucciones puede dar lugar a lesiones personales e incluso la muerte.
Este producto es capaz de amputar las manos. Siga siempre todas las instrucciones de seguridad con el fin de evitar lesiones físicas graves e incluso la muerte.
El mecanizado y el manejo de piedra, mampostería, hormigón, metales y otros materiales puede generar polvo, niebla y vapores que contienen sustancias químicas como la sílice, que causan lesiones y enfermedades graves o mortales, tales como enfermedades respiratorias, silicosis, cáncer, defectos congénitos y otros daños reproductivos.
Controle el polvo, la neblina y los vapores en su origen siempre que sea posible. Utilice agua para la supresión del polvo siempre que sea posible.
Utilice buenas prácticas de trabajo y siga las recomendaciones del fabricante o del proveedor, de la OSHA (Agencia de seguridad y salud en el trabajo), y de otras asociaciones sectoriales y profesionales.
Siga siempre las precauciones establecidas en materia de protección respiratoria.
Si no es posible eliminar el riesgo de inhalación, usted y cualquier otra persona que esté presente deben llevar una máscara respiratoria homologada por la OSHA para el material que se está manejando.
Los gases de escape del motor contienen monóxido de carbono, que es letal si se inhala.
No haga funcionar el motor dentro de un edificio o en un lugar cerrado.
Aparque la máquina en una superficie nivelada, apague el motor, espere a que se detengan todas las piezas en movimiento, y deje que se enfríe la máquina antes de ajustar, limpiar, almacenar o reparar la máquina.
Lea y comprenda el contenido de este Manual del operador antes de arrancar el motor. Asegúrese de que todas las personas que utilicen este producto sepan cómo utilizarlo y comprendan las advertencias.
Familiarícese con la operación segura del equipo, los controles del operador y las señales de seguridad.
Todos los operadores y mecánicos deben recibir una formación adecuada. El propietario es responsable de su formación.
No deje nunca que el equipo sea utilizado o revisado por niños o por personas que no hayan recibido la formación adecuada. La normativa local puede imponer límites sobre la edad del operador.
El propietario/usuario puede prevenir, y es responsable de cualquier accidente, lesión personal o daño material que se produzca.
Consulte la normativa estatal o local de seguridad en el remolcado antes de remolcar la máquina.
Para reducir las posibilidades de accidente mientras transporta la máquina por carreteras públicas, compruebe que el vehículo de remolque se encuentra en buen estado mecánico y de funcionamiento.
Apague el motor antes de transportar la máquina.
Para remolcar con un enganche de bola, compruebe que tiene el tamaño adecuado para el acoplamiento de enganche de la máquina.
Para remolcar con un gancho de arrastre, compruebe que la argolla de la barra de tracción tiene el tamaño adecuado para el gancho de arrastre.
Inspeccione el enganche y el acoplamiento para ver si están desgastados. No remolque la máquina si el enganche, el acoplamiento, las cadenas u otros componentes están dañados o desgastados.
Compruebe la presión de los neumáticos del vehículo de remolque y ajuste la presión según sea necesario.
Inspeccione la banda de rodadura y los flancos de los neumáticos en busca de daños y desgaste, y cambie el neumático si es necesario.
Conecte correctamente las cadenas de seguridad al vehículo de remolque cruzando las cadenas y eliminando la holgura.
Asegúrese de que las luces de freno y los intermitentes funcionan correctamente (si están instalados).
Asegúrese de que los intermitentes, la luz de marcha atrás y las luces de freno del vehículo de remolque funcionan correctamente (si están instaladas).
Antes de remolcar, compruebe que la máquina está conectada de forma correcta y segura al vehículo de remolque.
Compruebe que las cadenas de seguridad estén correctamente enganchadas al vehículo con la holgura necesaria para efectuar giros.
No lleve material en la máquina cuando esté siendo remolcada.
Evite las paradas y los arranques repentinos. Pueden causar patinajes o el 'efecto tijera'. Los arranques y paradas suaves y graduales mejoran el remolque.
Evite los giros bruscos para no volcar. Utilice únicamente un vehículo equipado con un enganche diseñado para remolcar. Solo conecte el equipo remolcado en el punto de enganche.
No remolque la máquina a una velocidad superior a los 88 km/h (55 mph).
Proceda con cautela al dar marcha atrás; hágase ayudar por un observador fuera del vehículo para que le guíe.
No permita que nadie se siente o viaje en la máquina.
Desenganche la máquina del vehículo de remolque antes de utilizarla.
Ponga calzos debajo de las ruedas para evitar que se muevan mientras la máquina está aparcada.
Familiarícese con la operación segura del equipo, los controles del operador y las señales de seguridad.
Utilice solamente accesorios y aperos homologados por el fabricante.
Lleve equipos de protección personal y ropa adecuada, incluyendo:
Casco
Máscara respiratoria o mascarilla
Pantalla facial
Gafas de seguridad
Protección auditiva
Calzado de seguridad
Pantalón largo
Camisa de manga larga con puños estrechos
Guantes ajustados sin cordones ni puños holgados
Lleve ropa adecuada, incluyendo guantes, protección ocular, pantalón largo, calzado resistente y antideslizante y protección auricular. Si tiene el pelo largo, recójaselo, y no lleve joyas o bisutería colgantes.
Compruebe que la máquina está situada en una superficie nivelada antes de usarla.
Calce las ruedas de la máquina para evitar que se desplace.
Antes de cada uso, haga lo siguiente:
Inspeccione el acoplamiento, la bola y el enganche.
Asegúrese de que todas las luces funcionan correctamente (si están instaladas).
Compruebe que los neumáticos están correctamente inflados.
Asegurarse de que las tuercas de las ruedas están bien apretadas a la torsión especificada.
Asegúrese de que la máquina está firmemente sujeta.
Extreme las precauciones al manejar el combustible. Es inflamable y sus vapores son explosivos.
Apague cualquier cigarrillo, cigarro, pipa u otra fuente de ignición.
Utilice solamente un recipiente de combustible homologado.
No retire el tapón de combustible ni llene el depósito de combustible si el motor está en marcha o está caliente.
No añada ni drene combustible en un lugar cerrado.
No guarde la máquina o un recipiente de combustible en un lugar donde pudiera haber una llama desnuda, chispas o una llama piloto, por ejemplo en un calentador de agua u otro electrodoméstico.
Si se derrama combustible, no intente arrancar el motor; evite crear fuentes de ignición hasta que los vapores del combustible se hayan disipado.
Dedique toda su atención al manejo de la máquina. No realice ninguna actividad que pudiera distraerle; de lo contrario, podrían producirse lesiones o daños materiales.
No ponga en marcha el motor en un lugar cerrado o mal ventilado.
Utilice la máquina únicamente con buena iluminación.
Antes de arrancar la máquina, asegúrese de que no haya personas u obstáculos cerca de o debajo de la máquina.
Pare el motor antes de dejar la máquina desatendida por cualquier motivo.
No deje nunca desatendida la máquina si está en marcha. Siempre pare el motor y asegúrese de que se han detenido todas las piezas en movimiento.
Calce las ruedas de la máquina o déjela acoplada al vehículo de remolque cuando no se está usando.
Mantenga las manos alejadas de las piezas en movimiento. Mantenga los pies alejados de los neumáticos y de la pata delantera.
No utilice la máquina bajo la influencia de alcohol o drogas.
No coloque ni las manos ni ningún objeto sólido en el tambor cuando la máquina está en marcha.
No toque piezas que pueden estar calientes después de estar en funcionamiento. Deje que se enfríen antes de intentar mantener, ajustar o revisar la máquina.
No mueva la máquina nunca con el motor en marcha.
Mantenga la cubierta firmemente cerrada y bloqueada durante el uso.
Asegúrese de que todos los protectores y defensas están colocados firmemente antes de utilizar la máquina.
Si las paletas de amasado golpean un objeto o si la máquina comienza a hacer ruidos extraños o a vibrar, apague el motor, espere a que se detengan todas las piezas en movimiento y vacíe el tambor. Compruebe si hay atascos o daños. Limpie, repare o sustituya cualquier pieza dañada.
No cambie los ajustes del regulador del motor ni haga funcionar el motor a una velocidad excesiva.
No use la máquina si hay riesgo de rayos.
Antes de realizar trabajos de mantenimiento, haga lo siguiente:
Aparque la máquina en una superficie nivelada.
Apague el motor y espere a que se detenga todo movimiento antes de ajustar, limpiar o reparar la máquina.
Deje que el motor se enfríe antes de realizar trabajos de mantenimiento o de guardar la máquina.
Desconecte todos los controles operativos y de potencia.
No lubrique, repare o ajuste la máquina nunca con el motor en marcha.
Mantenga otros equipos y materiales lejos del silenciador y del motor para prevenir incendios. Limpie cualquier aceite o combustible derramado.
No permita nunca que la máquina sea revisada o reparada por personas que no hayan recibido una formación adecuada.
Mantenga las manos, los pies y la ropa alejados de las piezas en movimiento. Si es posible, no haga ajustes mientras el motor está funcionando.
Mantenga todas las piezas en buenas condiciones de funcionamiento, y todas las fijaciones bien apretadas. Sustituya cualquier pegatina desgastada o deteriorada.
Elimine cualquier acumulación de grasa, aceite, o residuos de la máquina.
Pare e inspeccione la máquina si cualquier objeto entra en el tambor o causa otra obstrucción. Haga todas las reparaciones necesarias antes de arrancar la máquina.
No manipule los dispositivos de seguridad.
Calce las ruedas durante el almacenamiento de la máquina.
Mantenga bien apretados todas las fijaciones y abrazaderas y mantenga todo el equipo en buenas condiciones de funcionamiento.
Utilice solamente piezas de repuesto genuinas de Toro.
![]() |
Las pegatinas de seguridad e instrucciones están a la vista del operador y están ubicadas cerca de cualquier zona de peligro potencial. Sustituya cualquier pegatina que esté dañada o que falte. |





Piezas necesarias en este paso:
| Palanca de volteo | 1 |
| Perno | 2 |
| Tuerca | 2 |
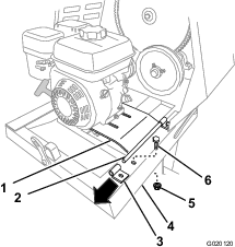
Corte las bridas para retirar la palanca de volteo de la parte inferior de la rejilla.
Instale la palanca de volteo en el lateral del tambor con 2 pernos de cuello cuadrado (instalados en el interior del tambor) y tuercas, como se muestra en la Figura 3.

Piezas necesarias en este paso:
| Kit de barra de tracción (se vende por separado) | 1 |
Compre el Kit de barra de tracción (con fijaciones incluidas) que mejor se ajuste a sus necesidades en su Servicio Técnico Autorizado. La máquina tiene las siguientes opciones de barra de tracción:
| Tipo de enganche | Longitud |
|---|---|
| Bola, estampada, 50 mm (2") | 78.7 cm (31") o 127 cm (50") |
| Bola, forjada, 50 mm (2") | 78.7 cm (31") o 127 cm (50") |
| Gancho de arrastre | 78.7 cm (31") o 127 cm (50") |
Retire el perno y la tuerca de la barra de tracción (Figura 4).

Deslice la barra de tracción hacia adelante y alinee el taladro de la barra con el taladro del acoplamiento del bastidor (Figura 4).
Introduzca el perno a través de los taladros del acoplamiento y de la barra (Figura 4).
Enrosque la tuerca en el perno y apriételos hasta que queden apretados contra el acoplamiento del bastidor (Figura 4).
Note: Si el inserto de nylon de la contratuerca se desgasta con el uso, cambie la tuerca por una contratuerca nueva de Grado 5 u 8.
Piezas necesarias en este paso:
| Cadena de seguridad (suministrado con el Kit de barra de tracción) | 1 |
| Conector (incluido con el Kit de barra de tracción) | 2 |
La cadena de seguridad y el conector están incluidos en el Kit de barra de tracción (se vende por separado); consulte Instalación de la barra de tracción.
Forme un gancho en el extremo de un trozo de varilla flexible o alambre, (no incluido), e instale la cadena de seguridad y los conectores, como se muestra en la Figura 5.

Note: Debe sobresalir la misma longitud de cadena en ambos lados de la pata delantera.
Si las paletas de amasado y las escobillas necesitan ajustes, realícelos; consulte Ajuste de las paletas.

Antes de poner en marcha el motor y trabajar con la máquina, familiarícese con todos los controles.
La palanca del embrague se utiliza para engranar y desengranar las paletas.

El pestillo del tambor se utiliza para sujetar el tambor en la posición de mezcla (vertical) para las operaciones de mezclado y para transportar la máquina.

La palanca de volteo se utiliza para girar el tambor a la posición de descarga y para girar el tambor a la posición de mezcla (vertical).


La válvula de combustible (Figura 11) se encuentra debajo de la palanca del estárter. Mueva la palanca de la válvula de combustible a la posición de ABIERTO antes de intentar arrancar el motor. Cuando haya terminado de mezclar, pare el motor y ponga la palanca de la válvula de combustible en la posición de CERRADO.

Utilice la palanca del estárter (Figura 11) para arrancar un motor frío. Antes de tirar del arrancador de retroceso, mueva la palanca del estárter a la posición de CERRADO. Cuando el motor esté en marcha, mueva la palanca del estárter a la posición de ABIERTO. No utilice el estárter si el motor ya está caliente o si la temperatura del aire es alta.
La palanca del acelerador (Figura 11) controla la velocidad (rpm) del motor. Está situada junto a la palanca del estárter. Su propósito es establecer la velocidad del motor, y por tanto puede aumentar o reducir la velocidad de rotación de las paletas de amasado. Para obtener el mejor rendimiento, ponga este control en la posición de RáPIDO para mezclar materiales.
Este interruptor de Encendido/Apagado se encuentra en la parte delantera del motor.
Gírela a la posición de ENCENDIDO para arrancar el motor.
Gírelo a la posición de APAGADO para apagar el motor.

Para arrancar el motor, tire del arrancador (Figura 10) rápidamente para hacer girar el motor. Los controles del motor descritos anteriormente deben estar correctamente ajustados para arrancar el motor.
El interruptor de nivel de aceite está situado dentro del motor, y no permite que el motor funcione si el nivel de aceite está por debajo del límite de seguridad.
Note: Especificaciones y diseño sujetos a modificación sin previo aviso.
| Modelo | 60213C | 60216C | 60220C |
| Capacidad de lote | 0.17 m3 (6.0 pies3) | 0.17 m3 (6.0 pies3) | 0.23 m3 (8.0 pies3) |
| Volumen total | 0.20 m3 (7.1 pies3) | 0.20 m3 (7.1 pies3) | 0.25 m3 (9.0 pies3) |
| Material del tambor | Acero | Acero | Acero |
| Longitud(sin barra de tracción) | 150 cm (59") | 150 cm (59") | 168 cm (66") |
| Anchura | 86 cm (34") | 86 cm (34") | 86 cm (34") |
| Altura | 142 cm(56") | 142 cm(56") | 142 cm(56") |
| Peso | 272 kg (599 libras) | 282 kg (621 libras) | 288 kg (636 libras) |
| Eje | 86 a 117 cm (34" a 46")extensible | 86 cm a 117 cm (34" a 46")extensible | 86 cm a 117 cm (34" a 46")extensible |
| Motor | Honda® GX160 | Honda® GX240 | Honda® GX240 |
| Transmisión | correa | correa | correa |
Lea detenidamente todas las instrucciones y símbolos de seguridad que aparecen en este manual, en las pegatinas del producto, y en otros medios suministrados con el producto. El conocer esta información puede ayudar a evitarle lesiones a usted o a otras personas.
Sepa cómo apagar rápidamente la máquina en caso de emergencia.
Utilice un casco, protección auditiva, camisa de manga larga con puños estrechos, guantes ajustados que no tengan cordones ni puños holgados, protección ocular y una máscara respiratoria o mascarilla. Una pantalla de malla por sí sola no proporciona protección ocular suficiente; utilice gafas protectoras también.
Esta máquina produce niveles de sonido que podrían causar pérdidas auditivas si los periodos de exposición son prolongados.
Lleve protección auditiva mientras utiliza esta máquina.

Antes de remolcar la máquina, lea toda la información y realice todos los procedimientos aplicables de esta sección para asegurar un remolque seguro y correcto.
Remolcar la máquina a alta velocidad aumenta el riesgo de una avería del enganche o una falla de los neumáticos. Las velocidades más altas también aumentan la inercia de la máquina y la distancia de frenado. Si la máquina se separa del vehículo de remolque a alta velocidad, podría provocar daños materiales o causar lesiones personales o la muerte de otras personas.
No supere los 88 km/h (55 mph) durante el remolcado de la máquina. Si la carretera está en mal estado o las condiciones meteorológicas son adversas, reduzca la velocidad en consonancia.
Remolcar la máquina con material en el tambor aumenta el riesgo de una avería del enganche o una falla de los neumáticos. Además, el material podría rebotar, salirse del tambor y golpear a personas u otros vehículos. El material contenido en el tambor aumenta el peso, lo que afecta a la inercia y la distancia de frenado.
No remolque la máquina con material dentro del tambor.
Revise y comprenda Prácticas de operación segura.
Pruebe los frenos del vehículo de remolque antes de remolcar la máquina.
Evite arranques y paradas repentinas mientras remolca la máquina.
Antes de conectar la máquina al vehículo de remolque, asegúrese de que el vehículo está preparado como se indica a continuación:
Asegúrese de que su vehículo de remolque tiene capacidad de remolcado suficiente para el peso de la máquina; consulte Especificaciones.
Utilice un receptor de la clase 2 o superior.
Asegúrese de que su vehículo de remolque tiene el enganche apropiado para remolcar la máquina; las opciones incluyen un enganche de bola de 50 mm (2") o un gancho de arrastre.
Si la máquina está equipada con luces de remolque opcionales, asegúrese de que el conector eléctrico del vehículo de remolque es compatible con el conector eléctrico de la máquina. La máquina incorpora un conector estándar de 4 pines planos. Si su vehículo de remolque tiene otro tipo de conector, obtenga un adaptador en una tienda de recambios para automóviles.
Apague el motor y cierre la válvula de combustible.
Vacíe el tambor.
Coloque el tambor en la posición de mezcla (vertical) y bloquéelo.
Cierre la cubierta del motor y los cierres de la cubierta (Figura 14).

Si se ha ajustado el eje a la posición estrecha (en su caso), extienda el eje; consulte Ajuste de la anchura del eje.
Inspeccione los neumáticos; consulte Inspección de los neumáticos.
La máquina está equipada con uno de los siguientes tipos de enganche; acóplelo siguiendo las instrucciones del procedimiento correspondiente:
Acoplamiento de bola estampada – Acoplamiento de un enganche de bola estampada
Acoplamiento de bola forjada – Acoplamiento de un enganche de bola forjada
Acoplamiento a un gancho de arrastre – Acoplamiento a un gancho de arrastre
Aplique grasa de chasis al receptor del acoplamiento y a la parte de la mordaza que entra en contacto con la bola.
Lubrique los puntos de giro y las superficies deslizantes del acoplamiento con aceite de motor SAE 30.
Enganche la máquina como se muestra en Figura 15.

Aplique sellador de roscas no permanente a las roscas del perno del acoplamiento para evitar que la manivela del acoplamiento se afloje.
Important: Aplique fijador de roscas según sea necesario en el futuro.
Aplique grasa de chasis al receptor del acoplamiento y a la parte de la mordaza que entra en contacto con la bola.
Enganche la máquina como se muestra en Figura 16.

Note: Utilice una llave inglesa para evitar que gire la tuerca.

Tire de la cadena de seguridad a través de las ranuras de los orificios en forma de bocallave, dejando la misma longitud en cada lado.
Cruce las cadenas debajo de la barra de tracción.
Note: Al cruzar las cadenas se reduce la posibilidad de que la parte delantera de la máquina caiga al suelo si el enganche se desconecta.

Conecte cada tramo de cadena al punto de montaje de la cadena de seguridad del vehículo de remolque con los conectores (Figura 19).
Important: Compruebe que la cadena tiene suficiente holgura para que la máquina puede efectuar giros.
Note: Guarde la cadena sobrante dentro de la parte inferior de la pata delantera, introduciéndola por los orificios en forma de bocallave y enganchando los conectores apropiados en los orificios en forma de bocallave.

Enchufe el conector eléctrico de la máquina en el conector eléctrico del vehículo de remolque (Figura 22).

Note: La máquina incorpora un conector estándar de 4 pines planos. Si su vehículo de remolque tiene otro tipo de conector, obtenga un adaptador en una tienda de recambios para automóviles.
Asegúrese de que el vehículo de remolque está en la posición de PUNTO MUERTO, ponga el freno de estacionamiento y arranque el motor.
Pruebe las luces como se indica a continuación:
Encienda los faros del vehículo de remolque.
Las luces traseras de la máquina deben encenderse.
Pise el pedal de freno del vehículo de remolque.
Las luces de freno de la máquina deben encenderse.
Encienda los intermitentes del vehículo de remolque, uno tras otro.
Los intermitentes correspondientes de la máquina deben encenderse.
Si su modelo está equipado con un eje ajustable (Figura 22), puede ajustar el eje a la posición estrecha para pasar la máquina por un punto de acceso estrecho, como una cancela o la puerta de un edificio.
La máquina no es estable durante el remolcado con el eje en la posición estrecha.
Remolque la máquina con el eje extendido.
Important: La máquina es menos estable con el eje en la posición estrecha. Ajústela a la posición estrecha solo cuando sea necesario para salvar una obstrucción; luego vuelva a la posición extendida antes de remolcar o trabajar con la máquina.
Aparque la máquina en una superficie nivelada y desconecte la máquina del vehículo de remolque.
Inmovilice la máquina.
Vacíe el tambor, muévalo a la posición vertical, y bloquee el tambor.
Coloque un gato con suficiente capacidad de altura y de peso debajo del eje; consulte Especificaciones.
Eleve la máquina hasta que las ruedas no toquen el suelo.
Coloque un soporte fijo en cada punto de apoyo de la extensión del bastidor trasero (Figura 21).
Los gatos mecánicos o hidráulicos pueden no aguantar el peso de la máquina y pueden dar lugar a lesiones graves.
Utilice gatos fijos para apoyar la máquina.

Retire los pernos y las tuercas que sujetan el eje interior al eje exterior (Figura 22).

Coloque el eje interior en la posición deseada de la siguiente manera:
Sujete el eje con los pernos y las tuercas que retiró anteriormente (Figura 22) y apriételos a 87 N·m (64 pies-libra).
Aparque la máquina en una superficie nivelada y desconecte la máquina del vehículo de remolque.
Asegúrese de que todos los protectores y las paletas están colocados y en buenas condiciones de funcionamiento.
Realice todos los procedimientos de mantenimiento diario indicados en .
Calce la parte delantera y trasera de las ruedas para evitar que la máquina se mueva.
Mueva el tambor a la posición vertical y bloquéelo.


En ciertas condiciones, el combustible es extremadamente inflamable y altamente explosivo. Un incendio o una explosión provocados por el combustible puede causarle quemaduras a usted y a otras personas así como daños materiales.
Llene los depósitos de combustible en el exterior, en una zona abierta y con el motor frío. Limpie cualquier combustible derramado.
No llene nunca los depósitos de combustible dentro de un remolque cerrado.
No fume nunca mientras maneja el combustible, y manténgase alejado de llamas desnudas o de lugares en los que una chispa pudiera inflamar los vapores del diésel.
Almacene el combustible en un recipiente homologado y manténgalo fuera del alcance de los niños. No compre nunca carburante para más de 30 días de consumo normal.
No utilice la máquina a menos que esté instalado un sistema completo de escape en buenas condiciones de funcionamiento.
En determinadas condiciones durante el repostaje, puede tener lugar una descarga de electricidad estática, produciendo una chispa que puede prender los vapores de combustible. Un incendio o una explosión provocados por el combustible puede causarle quemaduras a usted y a otras personas así como daños materiales.
Coloque siempre los recipientes de combustible en el suelo, lejos del vehículo, antes de repostar.
No llene los recipientes de combustible dentro de un vehículo, camión o remolque, ya que las alfombras o los revestimientos de plástico del interior de los remolques podrían aislar el recipiente y retrasar la pérdida de la carga estática.
Cuando sea posible, retire el equipo del camión o remolque y añada combustible al equipo con las ruedas del equipo en el suelo.
Si esto no es posible, reposte el equipo sobre el camión o remolque desde un recipiente portátil, en vez de usar un surtidor de combustible.
Si es imprescindible el uso de un surtidor, mantenga la boquilla en contacto con el borde del depósito de combustible o la abertura del recipiente en todo momento hasta que termine de repostar.
El combustible es dañino o mortal si es ingerido. La exposición a los vapores a largo plazo puede causar lesiones y enfermedades graves.
Evite la respiración prolongada de los vapores.
Mantenga la cara alejada de la boquilla y de la abertura del depósito de combustible.
Mantenga alejado el combustible de los ojos y la piel.
Para obtener los mejores resultados, utilice solamente gasolina fresca (comprada hace menos de 30 días), sin plomo, de 87 o más octanos (método de cálculo (R+M)/2).
Etanol: Es aceptable el uso de gasolina con hasta el 10% de etanol (gasohol) o el 15% de MTBE (éter metil tert-butílico) por volumen. El etanol y el MTBE no son lo mismo. No está autorizado el uso de gasolina con el 15% de etanol (E15) por volumen. No utilice nunca gasolina que contenga más del 10% de etanol por volumen, como por ejemplo la E15 (contiene el 15% de etanol), la E20 (contiene el 20% de etanol) o la E85 (contiene hasta el 85% de etanol). El uso de gasolina no autorizada puede causar problemas de rendimiento o daños en el motor que pueden no estar cubiertos bajo la garantía.
No utilice gasolina que contenga metanol.
No guarde combustible en el depósito de combustible o en recipientes de combustible durante el invierno, a menos que utilice un estabilizador de combustible.
No añada aceite a la gasolina.
Important: Para reducir los problemas de arranque, añada estabilizador de combustible al combustible durante toda la temporada, mezclándolo con combustible comprado hace menos de 30 días; deje la máquina en marcha hasta que se quede sin combustible antes de almacenarla durante más de 30 días.No utilice aditivos de combustible salvo un estabilizador/acondicionador de combustible. No use estabilizadores a base de alcohol, tales como etanol, metanol o isopropanol.
| Modelo | Capacidad del depósito de combustible |
|---|---|
| 60213 y 60213C | 3.1 litros (0.82 galones US) |
| 60216, 60216C, 60220 y 60220C | 1.40 galones US (5.3 litros) |
Aparque la máquina en una superficie nivelada, pare el motor y deje que el motor se enfríe.
Limpie alrededor del tapón de combustible y retire el tapón (Figura 25).

Añada combustible al depósito de combustible hasta que el nivel llegue al nivel máximo de combustible (Figura 26).
Important: Este espacio vacío en el depósito permite la dilatación del combustible. No llene completamente el depósito de combustible.

Coloque el tapón del depósito de combustible firmemente (Figura 25).
Limpie cualquier combustible derramado.
Cada día, antes de arrancar la máquina, siga los procedimientos marcados como “Cada uso/A diario” en la sección .
Asegúrese de que la palanca del embrague está en la posición de DESENGRANADO.
Mueva la válvula de combustible a la posición de ABIERTO, totalmente hacia la derecha (Figura 27).

Mueva la palanca del estárter a la posición de ACTIVADO (Figura 27).
Note: Si el motor está caliente, puede no ser necesario usar el estárter.
Mueva la palanca del acelerador a la posición de 1/3 de la velocidad MáXIMA.
Mueva el interruptor del motor a la posición de ENCENDIDO (Figura 28).

Tire del arrancador suavemente hasta que note resistencia, luego tire con fuerza (Figura 29). Deje que el arrancador vuelva lentamente a su posición inicial.

Cuando el motor arranque, mueva la palanca del estárter poco a poco a la posición de DESACTIVADO. Si el motor se cala o funciona de forma irregular, mueva el estárter a ACTIVADO de nuevo hasta que el motor se caliente. Luego muévalo a la posición de DESCONECTADO.
Mueva la palanca del acelerador a la posición MIN (Figura 10).
Note: Si el motor ha estado funcionando en condiciones exigentes o está muy caliente, déjelo funcionar al ralentí durante un minuto antes de apagarlo. Esto ayuda a enfriar el motor antes de pararlo. En una situación de emergencia, apague el motor inmediatamente.
Mueva el interruptor del motor a la posición de DESCONECTADO.
Mueva la válvula de combustible a la posición de CERRADO, totalmente hacia la izquierda.
El contacto de los componentes del hormigón con los ojos y la piel, y la respiración del polvo creado, son peligrosas para la salud.
Asegúrese de que hay suficiente ventilación.
Lleve una mascarilla antipolvo para evitar la inhalación de polvo al utilizar la máquina; consulte Prácticas de operación segura.
Evite el contacto directo del cemento y de los componentes del hormigón con la piel y los ojos.
Esta máquina es capaz de amputar las manos.
Permanezca en el puesto del operador mientras la máquina esté en marcha.
Mantenga a otras personas a una distancia prudencial de la máquina.
Pare la máquina inmediatamente si entran otras personas o animales en la zona de trabajo.
No coloque nunca ninguna parte del cuerpo en una posición que suponga una condición de peligro.
Important: No añada más material de la especificada como capacidad de lote de la máquina; consulte Especificaciones.
Note: Siga las instrucciones del fabricante impresos en el envasado del producto que va a utilizar.
Asegúrese de que no quedan restos de material suelto en el tambor que pudieran contaminar el lote de material; consulte Limpieza del tambor y Descarga del material, luego coloque el tambor en la posición vertical.
Note: Asegúrese de que el tambor está en la posición de mezcla (vertical) y que el pestillo del tambor está puesto.
Mueva la palanca del embrague a la posición de DESENGRANADO (Figura 30).
Arranque el motor.
Note: Deje que el motor se caliente a 2/3 de la velocidad máxima durante 1–2 minutos.
Ponga la palanca del acelerador del motor en la posición MAX.
Mueva la palanca del embrague a la posición de ENGRANADO (Figura 30).

Añada los ingredientes del lote de la manera siguiente:
Vierta agua en el tambor a través de la rejilla.
Añada el yeso, cemento u otro material aglutinante.
Note: Puede abrir sacos de cemento, yeso y aglutinantes bajando el saco sobre el rompesacos (Figura 31).

Si utiliza arena u otro material de refuerzo, añádalo al tambor.
Deje que las paletas mezclen el material hasta que los ingredientes tengan un aspecto uniforme.
Note: Si es necesario, añada agua o yeso, cemento u otro material aglutinante hasta que la consistencia del lote sea correcta.
El contacto con las paletas durante el amasado podría causar daños o lesiones.
No coloque nunca las manos dentro del tambor con el motor en marcha.
Note: Durante la descarga de un lote de material, deje el motor en marcha y el embrague en la posición de ENGRANADO para que las paletas en rotación puedan ayudar a descargar el material.
Alinee una carretilla u otro recipiente con suficiente capacidad en el camino de la abertura del tambor.
Sujete la palanca de volteo con la mano izquierda (Figura 32).

Levante la manija del pestillo del tambor (Figura 32).
Con ambas manos en la palanca de volteo, gírela en sentido antihorario para descargar el contenido del tambor (Figura 32).
Note: Deje que la máquina descargue todo el contenido del tambor.
Gire la palanca de volteo en sentido horario hasta que el pestillo del tambor bloquee el tambor en la posición vertical (Figura 32).
Después de descargar un lote de material, limpie el tambor para evitar que el material seco contamine el siguiente lote de material; consulte Limpieza del tambor.
| Intervalo de mantenimiento y servicio | Procedimiento de mantenimiento |
|---|---|
| Después de cada uso |
|
Important: No golpee el tambor con una pala, un martillo u otro implemento para soltar el material seco acumulado.
Mueva la palanca del embrague a la posición de DESENGRANADO para parar las paletas.
Apague el motor.
Asegúrese de que el tambor está en la posición de mezcla (vertical).
Rocíe la máquina con agua para eliminar el material acumulado.
Arranque el motor.
Mueva la palanca del embrague a la posición de ENGRANADO para activar las paletas.
Vacíe el tambor.
Si no se mantiene la máquina correctamente, podrían producirse fallos prematuros en los sistemas de la máquina, causando posibles lesiones a usted o a otras personas.
Mantenga la máquina correctamente y en buenas condiciones de funcionamiento, según lo indicado en estas instrucciones.
Important: Consulte los procedimientos adicionales de mantenimiento incluidos en el Manual del operador del motor.
| Intervalo de mantenimiento y servicio | Procedimiento de mantenimiento |
|---|---|
| Después de las primeras 20 horas |
|
| Después de las primeras 25 horas |
|
| Cada vez que se utilice o diariamente |
|
| Después de cada uso |
|
| Cada 40 horas |
|
| Cada 50 horas |
|
| Cada 100 horas |
|
| Cada 300 horas |
|
| Cada mes |
|
| Cada año o antes del almacenamiento |
|
| Cada 2 años |
|
Apague el motor y espere a que se enfríe por completo.
Aparque la máquina en una superficie nivelada.
Desenganche la máquina del vehículo de remolque.
Proteja la máquina de los movimientos.
Desconecte el cable de la bujía.
Desconecte el cable de la bujía del terminal de la bujía (Figura 33).

Si su modelo está equipado con una placa divisora, puede ser necesario retirarla antes de realizar algunos procedimientos de mantenimiento:
Abra la cubierta.
Utilice una llave para aflojar los 4 pernos que sujetan la placa divisora a la cubierta delantera.
Note: Guarde las fijaciones para instalar la placa divisora.

Para retirar la placa divisora, levántela e inclínela hacia atrás para que no choque con los diferentes componentes.
Cuando termine el mantenimiento, instale la placa divisora como se indica a continuación:
Guíe la placa divisora a su posición contra la cubierta delantera.
Note: Empiece con la placa divisora girada ligeramente en sentido antihorario, y luego gírela en sentido horario y bájela a su posición. Asegúrese de que la placa divisora no está al revés.

Alinee los taladros de la placa divisora y la cubierta delantera.
Instale cada uno de los cuatro pernos, y apriételos a mano para evitar dañar la rosca.
Apriete los pernos con una llave hasta que estén firmes.
| Intervalo de mantenimiento y servicio | Procedimiento de mantenimiento |
|---|---|
| Después de cada uso |
|
| Cada mes |
|
Note: Los portacojinetes se encuentran dentro de la cubierta – retire la placa divisora (en su caso) para tener acceso; consulte Retirada de la placa divisora.
Tipo de grasa: Grasa de litio no. 2.
Realice los procedimientos indicados en Preparación de la máquina para el mantenimiento.
Limpie la zona alrededor de cada engrasador con un trapo y retire el tapón de plástico del engrasador (Figura 36).


Bombee grasa en cada engrasador según se indica a continuación:
Portacojinetes: 1 aplicación de grasa en cada engrasador (Figura 36).
Soportes de giro: bombee grasa varias veces en cada engrasador hasta que empiece a rezumar de la carcasa del cojinete (Figura 36).
Important: Bombee la grasa lentamente y con cuidado, para evitar dañar las juntas de los cojinetes.
Limpie cualquier exceso de grasa.
| Intervalo de mantenimiento y servicio | Procedimiento de mantenimiento |
|---|---|
| Cada vez que se utilice o diariamente |
|
| Cada 50 horas |
|
| Cada 300 horas |
|
Important: No haga funcionar el motor sin el conjunto de filtro de aire, porque se producirán graves daños en el motor.
Pare el motor y espere a que se detengan todas las piezas en movimiento.
Desconecte el cable de la bujía; consulte Desconexión del cable de la bujía.
Retire la tuerca que sujeta la tapa (Figura 37).

Retire la cubierta.
Note: Tenga cuidado de que no caigan suciedad y residuos en la base.
Separe cuidadosamente de la base los elementos de gomaespuma y de papel (Figura 37).
Separe el elemento de gomaespuma del elemento de papel (Figura 37).
Inspeccione los elementos de gomaespuma y de papel, y cámbielos si están dañados o excesivamente sucios.
Note: No intente nunca eliminar la suciedad del elemento de papel con un cepillo, puesto que esto introduce suciedad en las fibras.
Lave el elemento de gomaespuma con agua templada jabonosa o en un disolvente no inflamable.
Note: No utilice gasolina para limpiar el elemento de gomaespuma porque podría crear un riesgo de incendio o explosión.
Enjuague el elemento de gomaespuma y séquelo bien.
Sumerja el elemento de gomaespuma en aceite de motor limpio, luego apriételo para eliminar el exceso de aceite.
Note: Un exceso de aceite en el elemento de gomaespuma restringe el flujo de aire a través del elemento y puede llegar al elemento de papel y atascarlo.
Pase un paño húmedo para eliminar la suciedad de la base y la tapa.
Note: Tenga cuidado de que no caigan suciedad y residuos en el conducto de aire que va al carburador.
Instale los elementos del limpiador de aire y asegúrese de que están orientados correctamente.
Sujete la tapa firmemente con la tuerca.
Su Distribuidor Autorizado Toro dispone de aceite de motor Toro Premium.
Important: Utilice aceite para motores de 4 tiempos que cumpla o supere los requisitos de la categoría de servicio API SJ, SL, SM o superior.
| Modelo(s) | Capacidad del cárter |
|---|---|
| 60213 y 60213C | 0.58 litro (19.6 onzas) |
| 60216, 60216C, 60220 y 60220C | 1.2 cuartos de galón US (1.1 litros) |
Important: Si el nivel de aceite del motor es demasiado bajo o demasiado alto y usted arranca el motor, puede dañar el motor. Este tipo de daño no está cubierto por la garantía.
Note: Utilice aceite SAE 10W-30 para el uso general. Puede utilizar las otras viscosidades indicadas en la tabla si la temperatura media de su zona está dentro del intervalo indicado (Figura 38).

| Intervalo de mantenimiento y servicio | Procedimiento de mantenimiento |
|---|---|
| Cada vez que se utilice o diariamente |
|
Aparque la máquina en una superficie nivelada y pare el motor.
Deje que el motor se enfríe.
Desconecte el cable de la bujía; consulte Desconexión del cable de la bujía.
Limpie alrededor de la varilla.
Compruebe el nivel de aceite como se muestra en Figura 39.

| Intervalo de mantenimiento y servicio | Procedimiento de mantenimiento |
|---|---|
| Después de las primeras 25 horas |
|
| Cada 100 horas |
|
El aceite puede estar caliente si el motor ha estado funcionando, y el contacto con aceite caliente puede causar lesiones personales graves.
Evite tocar el aceite caliente al drenarlo.
Pare el motor y espere a que se detengan todas las piezas en movimiento.
Desconecte el cable de la bujía; consulte Desconexión del cable de la bujía.
Coloque un recipiente debajo del orificio de vaciado de aceite del motor (Figura 40).

Retire el tapón de vaciado y recoja el aceite en el recipiente (Figura 40).
Cuando se haya drenado completamente el aceite, coloque el tapón de vaciado con una arandela nueva (Figura 40).
Note: Elimine el aceite usado en un centro de reciclaje homologado.
Retire la varilla (Figura 41) y vierta aceite lentamente en el orificio de llenado hasta que el nivel de aceite llegue a la marca de límite superior (borde inferior del orificio de llenado de aceite) de la varilla.

Vuelva a colocar la varilla y apriétela.
Limpie cualquier aceite derramado.
| Intervalo de mantenimiento y servicio | Procedimiento de mantenimiento |
|---|---|
| Cada 100 horas |
|
| Cada 300 horas |
|
Tipo: NGK BPR6ES o equivalente
Distancia entre electrodos:0.7 a 0.8 mm (0.028" a 0.031")
Note: Utilice una llave para bujías de 21 mm (13/16") para desmontar e instalar la bujía.
Coloque la máquina en una superficie nivelada y pare el motor.
Asegúrese de que las superficies de la máquina se han enfriado.
Desconecte el cable de la bujía del terminal de la bujía (Figura 42).

Limpie alrededor de la bujía.
Gire la bujía en sentido antihorario usando una llave para bujías de 21 mm (13/16") para desmontar la bujía y la junta (Figura 43).

Important: No limpie la bujía. Cambie la bujía si tiene un revestimiento negro, electrodos desgastados, una película aceitosa o grietas.
Note: Si se observa un color gris o marrón claro en el aislante, el motor está funcionando correctamente. Si el aislante tiene un recubrimiento negro, significa que el limpiador de aire está sucio.
Establezca una distancia entre electrodos de 0.7 mm a 0.8 mm (0.028" a 0.031").

Important: Asegúrese de que la distancia entre los electrodos central y lateral es correcta antes de instalar la bujía.
Enrosque la bujía en el orificio de la bujía a mano, en sentido horario.
Note: Evite dañar la rosca de la bujía con la rosca del orificio de la bujía.
Gire la bujía en sentido horario usando una llave para bujías de 21 mm (13/16") hasta que la bujía y la junta estén asentadas (Figura 43).
Apriete la bujía según se indica a continuación:
Al instalar una bujía en uso, apriete la bujía entre ā y ¼ de vuelta más.
Al instalar una bujía nueva, apriete la bujía ½ vuelta más.
Important: Una bujía que no está correctamente apretada puede hacer que el cilindro se recaliente. Si se aprieta demasiado la bujía, pueden dañarse las roscas de la culata del motor.
Conecte el cable de la bujía a presión en el terminal de la bujía (Figura 42).
| Intervalo de mantenimiento y servicio | Procedimiento de mantenimiento |
|---|---|
| Cada 100 horas |
|
Note: Está disponible un parachispas como opción. Si usted desea adquirir un parachispas, póngase en contacto con su Servicio Autorizado de Los parachispas genuinos de Toro están homologados por el Servicio Forestal del Departamento de Agricultura de EE. UU. (USDA Forestry Service).
Si el motor ha estado en marcha, el silenciador estará muy caliente. El contacto con superficies calientes podría causar lesiones personales.
Mantenga las manos, los pies, la cara, la ropa y otras partes del cuerpo alejados del silenciador y de otras superficies calientes hasta que se hayan enfriado.
Aparque la máquina en una superficie nivelada y pare el motor.
Deje que el motor se enfríe.
Desconecte el cable de la bujía; consulte Desconexión del cable de la bujía.
Retire la placa divisora (si está instalada); consulte Retirada de la placa divisora.
Retire las 2 tuercas (8 mm), y retire el silenciador del cilindro (Figura 45).

Retire los 3 tornillos (4 mm) del deflector del escape, y retire el deflector (Figura 45).
Retire los tornillos (5 mm y 6 mm) del protector del silenciador y retire el protector del silenciador (Figura 45).
Retire los tornillos (4 mm) del parachispas, y retire el parachispas del silenciador (Figura 45).
Utilice un cepillo para eliminar con cuidado los depósitos de hollín de la rejilla del parachispas (Figura 46).
Note: Sustituya el parachispas si tiene roturas u agujeros.

Instale el parachispas, el protector del silenciador, el deflector del tubo de escape y el silenciador en orden inverso al desmontaje.
Instale la placa divisora (en su caso); consulte Instalación de la placa divisora.
El muelle está tensado cuando está instalado, y puede causar lesiones personales.
Tenga cuidado al retirar el muelle.
Aparque la máquina en una superficie nivelada y pare el motor.
Deje que el motor se enfríe.
Desconecte el cable de la bujía; consulte Desconexión del cable de la bujía.
Retire la placa divisora; consulte Retirada de la placa divisora.
Retire la guía de las correas; consulte (Retirada de las correas).
Retire las correas; consulte Retirada de las correas.
Usando una herramienta para la retirada de muelles (Pieza Toro Nº 92-5771), retire el muelle del anclaje de la chapa del motor (Figura 47).
Note: Deje el otro extremo del muelle sujeto al bastidor de la máquina.

Retire el perno y la tuerca que fijan el soporte trasero de la bisagra de la chapa del motor al bastidor de la máquina (Figura 48).

Tire hacia arriba del borde trasero de la chapa del motor y retire el soporte de la bisagra (Figura 48).
Deslice la chapa del motor hacia atrás para retirarla del soporte delantero de la bisagra (Figura 49).
Note: No retire el soporte delantero de la bisagra.

Retire el motor y la chapa del motor de la máquina (Figura 49).
Alinee el motor y la chapa del motor con el bastidor trasero de la máquina.
Note: La polea de transmisión del motor debe estar alineada hacia adelante.
Alinee el pivote de la chapa del motor con el soporte delantero de la bisagra (Figura 49).
Deslice la chapa del motor hacia adelante encajando el pivote en el soporte delantero de la bisagra (Figura 49).
Alinee el soporte trasero de la bisagra con el pivote de la bisagra de la chapa del motor (Figura 49).
Tire hacia arriba del borde trasero de la chapa del motor y coloque el soporte de la bisagra sobre el pivote.
Sujete el soporte trasero al bastidor de la máquina usando el perno y la tuerca (Figura 48) que retiró en el paso 8 de Cómo retirar el motor.
Usando una herramienta para la retirada de muelles (Pieza Toro Nº 92-5771), instale el muelle tensor en el anclaje de la chapa del motor (Figura 47).
Instale las correas y la guía de las correas; consulte Instalación de las correas.
Ajuste la guía de las correas; consulte Ajuste de la guía de las correas.
Instale la placa divisora; consulte Instalación de la placa divisora.
| Intervalo de mantenimiento y servicio | Procedimiento de mantenimiento |
|---|---|
| Cada 100 horas |
|
| Cada año o antes del almacenamiento |
|
Debajo de la válvula de combustible hay una taza de sedimentos cuya función es atrapar la suciedad del combustible.
Aparque la máquina en una superficie nivelada y pare el motor.
Deje que el motor se enfríe.
Desconecte el cable de la bujía; consulte Desconexión del cable de la bujía.
Mueva la palanca de la válvula de combustible a la posición de CERRADO, totalmente hacia la izquierda (Figura 50).
Desenrosque la taza de sedimentos de combustible (Figura 50).
Retire y conserve el filtro de combustible y la junta tórica (Figura 50).
Note: No limpie la junta tórica con disolvente.

Limpie el filtro de combustible y la taza de sedimentos utilizando un disolvente no inflamable, y séquelo cuidadosamente.
Limpie la junta tórica con un paño limpio y seco.
Instale el filtro de combustible en la parte inferior del carburador (Figura 50).
Alinee la junta tórica con la ranura de la taza de sedimentos e instale la taza de sedimentos en la carcasa de la válvula de combustible.
Mueva la palanca de la válvula de combustible a la posición de ABIERTO, totalmente a la derecha, y compruebe que no hay fugas. Si hay fugas, cambie la junta tórica.
Retire el motor; consulte Cómo retirar el motor.
Retire el tapón del depósito de combustible girándolo en sentido antihorario (Figura 51).

Coloque un recipiente junto a la bisagra de la chapa del motor.
Gire el motor sobre la bisagra de la chapa del motor, y vacíe el combustible del depósito (Figura 52).

Baje cuidadosamente el motor y la chapa del motor.
Coloque el tapón del depósito de combustible.
Instale el motor; consulte Instalación del motor.
Note: La lámpara izquierda orientada hacia atrás ilumina la placa de matrícula.
Utilice un destornillador para retirar los 4 tornillos de la lente cuadrada grande de la luz (Figura 53).

Retire la lente (Figura 53).
Empuje y gire la lámpara en sentido antihorario para retirarla del zócalo (Figura 53).
Coloque una lámpara 1157 nueva a presión en el zócalo, y gírela en sentido horario (Figura 53).
Instale la lente y los 4 tornillos (Figura 53).
Usando un destornillador, retire los 2 tornillos de la lente rectangular pequeña de color ámbar en la parte delantera de la luz (Figura 55).

Retire la lente ámbar (Figura 55).
Retire la lámpara del zócalo (Figura 55).
Inserte una lámpara 193 nueva en el zócalo (Figura 55).
Instale la lente ámbar y los 2 tornillos (Figura 55).
La tabla siguiente indica la presión correcta de los neumáticos tal y como se instalaron en la fábrica.
Important: Compruebe siempre la información que figura en cada neumático para averiguar la presión de aire correcta.
| Modelo | Presión máxima de aire |
|---|---|
| 60212, 60213 y 60216 | 4.14 bar (60 psi) |
| 60218, 60219 y 60220 | 2.41 bar (35 psi) |
| Intervalo de mantenimiento y servicio | Procedimiento de mantenimiento |
|---|---|
| Cada vez que se utilice o diariamente |
|
Si no se mantiene la presión correcta de los neumáticos, puede producirse una falla de los neumáticos y una pérdida de control, lo que a su vez puede provocar graves lesiones físicas y daños materiales.
Controle la presión de los neumáticos con frecuencia para garantizar que están bien inflados. Si los neumáticos no están inflados a la presión correcta, se desgastarán de manera prematura.
Compruebe la condición de los neumáticos antes de remolcar la máquina y después de cualquier accidente producido durante el uso.
La información DOT de los neumáticos está situada en el flanco de cada neumático. Esta información indica las categorías de carga y velocidad. Los neumáticos de recambio deben ser de una categoría equivalente o superior
Note: Asegúrese de que los neumáticos instalados en su máquina cumplen o superan los requisitos de peso de la máquina, indicados en Especificaciones.
Inspeccione visualmente los neumáticos en busca de daños y desgaste (Figura 56 y Figura 57).


Asegúrese de que los neumáticos están inflados a la presión correcta; consulte Presión de los neumáticos.
Important: La causa más común de los problemas de los neumáticos es que se inflan a una presión inferior a la especificada. Mantenga la presión de aire correcta.
| Intervalo de mantenimiento y servicio | Procedimiento de mantenimiento |
|---|---|
| Después de cada uso |
|
Apriete las tuercas de las ruedas inicialmente y después de remolcar.
Apriete las tuercas de las ruedas a 108-122 N·m (80-90 pies-libra) en la secuencia indicada en Figura 58.

Important: Si el nivel de aceite de la caja reductora es demasiado bajo o demasiado alto y usted arranca el motor, puede dañar el motor o la caja reductora. Este tipo de daño no está cubierto por la garantía.
Tipo de aceite: Aceite de motor SAE 10W-30 para motores de 4 tiempos
Categoría de servicio API del aceite: SJ, SL, SM o superior
Capacidad de la caja reductora: 1.2 litros (40 onzas fluidas)
| Intervalo de mantenimiento y servicio | Procedimiento de mantenimiento |
|---|---|
| Cada vez que se utilice o diariamente |
|
Aparque la máquina en una superficie nivelada y pare el motor.
Deje que el motor se enfríe.
Desconecte el cable de la bujía; consulte Desconexión del cable de la bujía.
Retire la placa divisora; consulte Retirada de la placa divisora.
Localice la caja reductora entre el motor y la polea del motor (Figura 59).

Coloque un trapo debajo del orificio de nivel de aceite en el lateral de la caja reductora.
Retire el perno y la arandela de comprobación del nivel de aceite del orificio de nivel de aceite (Figura 59).
Si el nivel de aceite está por debajo de la rosca del orificio de nivel de aceite, añada aceite de la siguiente manera:
Retire el perno y la arandela de llenado del orificio de llenado situado encima de la caja reductora (Figura 59).
Vierta lentamente aceite del tipo especificado en el orificio de llenado hasta que el nivel llegue a las roscas de la parte inferior del orificio de nivel de aceite.
Instale el perno de llenado y la arandela en el orificio de llenado de la caja reductora, y apriete el perno de llenado (Figura 59).
Si el nivel de aceite todavía es demasiado alto, deje que el aceite salga hasta que quede enrasado con las roscas de la parte inferior del orificio de nivel de aceite.
Cuando el aceite esté al nivel de las roscas de la parte inferior del orificio de nivel de aceite, instale el perno y la arandela de comprobación del nivel de aceite en el orificio y apriete el perno (Figura 59).
Instale la placa divisora; consulte Desconexión del cable de la bujía.
| Intervalo de mantenimiento y servicio | Procedimiento de mantenimiento |
|---|---|
| Después de las primeras 20 horas |
|
| Cada 100 horas |
|
Aparque la máquina en una superficie nivelada y pare el motor.
Deje que el motor se enfríe.
Desconecte el cable de la bujía; consulte Desconexión del cable de la bujía.
Retire el motor; consulte Cómo retirar el motor.
Drene el depósito de combustible; consulte Drenaje del depósito de combustible.
Retire el perno y la arandela de llenado del orificio de llenado situado encima de la caja reductora (Figura 60).

Retire el perno de comprobación del nivel de aceite y la arandela del orificio de nivel de aceite en el lateral de la caja reductora (Figura 60).
Coloque un recipiente junto a la bisagra de la chapa del motor (Figura 61).

Gire el motor sobre la bisagra de la chapa del motor, y vacíe el aceite de la caja reductora (Figura 61).
Baje cuidadosamente el motor y la chapa del motor.
Vierta lentamente aceite del tipo especificado en el orificio de llenado hasta que el nivel de aceite llegue a las roscas de la parte inferior del orificio de nivel de aceite (Figura 59).
Instale el perno de comprobación del nivel de aceite y la arandela en el orificio de nivel de aceite de la caja reductora y apriete el perno (Figura 60).
Instale el perno de llenado y la arandela en el orificio de llenado de la caja reductora y apriete el perno de llenado (Figura 60).
Instale el motor; consulte Instalación del motor.
| Intervalo de mantenimiento y servicio | Procedimiento de mantenimiento |
|---|---|
| Después de las primeras 25 horas |
|
| Cada 40 horas |
|
Aparque la máquina en una superficie nivelada y pare el motor.
Deje que la máquina se enfríe.
Desconecte el cable de la bujía; consulte Desconexión del cable de la bujía.
Retire la placa divisora; consulte Retirada de la placa divisora.
Mueva la palanca del embrague a la posición de DESENGRANADO.
Inspeccione las correas en busca de desgaste o daños. Si las correas están desgastadas o dañadas, cámbielas; consulte Sustitución de las correas.
Inspeccione las poleas en busca de desgaste, daños, y alineación incorrecta; consulte Alineación de las poleas.
Instale la placa divisora; consulte Instalación de la placa divisora.
Holgura del embrague: 2.5 mm a 6.5 mm (3/32" a ¼")
Aparque la máquina en una superficie nivelada y pare el motor.
Deje que la máquina se enfríe.
Desconecte el cable de la bujía; consulte Desconexión del cable de la bujía.
Mueva la palanca del embrague a la posición de ENGRANADO.
Mida la holgura entre la chapa del motor y el rodillo del embrague (Figura 62).

Si la holgura medida no está dentro de los límites especificados, ajuste la holgura como se indica a continuación:
Mueva la palanca del embrague a la posición de DESENGRANADO.
Afloje los pernos y las tuercas que sujetan el motor a la chapa del motor (Figura 63).

Mueva el motor según se indica a continuación:
Coloque una regla sobre la polea del motor y la polea tensora (Figura 64).

Si es necesario, gire el motor sobre la chapa del motor hasta que la polea del motor y la polea tensora estén alineadas con la regla (Figura 64).
Apriete las tuercas y los pernos que sujetan el motor a la chapa del motor a 18 N·m (13 pies-libra).
Compruebe la holgura entre la chapa del motor y el rodillo del embrague. Si la holgura no está dentro de los límites especificados, repita el paso 6 hasta que la holgura esté dentro de los límites especificados.
Instale la placa divisora; consulte Instalación de la placa divisora.
Important: Compruebe que las paletas no giran cuando la palanca del embrague está en la posición de POSICIóN DE CERRADO.
| Intervalo de mantenimiento y servicio | Procedimiento de mantenimiento |
|---|---|
| Cada 2 años |
|
Aparque la máquina en una superficie nivelada y pare el motor.
Deje que la máquina se enfríe.
Desconecte el cable de la bujía; consulte Desconexión del cable de la bujía.
Mueva la palanca del embrague a la posición de DESENGRANADO.
Retire la placa divisora; consulte Retirada de la placa divisora.
Retire el perno que sujeta la guía de las correas al motor, y retire la guía de las correas (Figura 65).

Deslice la correa delantera hacia adelante y retírela de la polea tensora (Figura 66).

Deslice la correa trasera hacia atrás y retírela de la polea tensora (Figura 66).
Retire las correas de la polea del motor.
Retire las correas de la máquina..
Aparque la máquina en una superficie nivelada y pare el motor.
Deje que la máquina se enfríe.
Desconecte el cable de la bujía; consulte Desconexión del cable de la bujía.
Asegúrese de que la palanca del embrague está en la posición de DESENGRANADO.
Alinee la correa trasera con la ranura trasera de la polea del motor.
Note: No alinee la correa trasera con la polea tensora.
Alinee la correa delantera con la ranura delantera de la polea tensora.
Coloque la correa trasera sobre la polea tensora y alinee la correa con la ranura trasera de la polea.
Coloque la correa delantera sobre la polea del motor y alinee la correa con la ranura delantera de la polea.
Compruebe la tensión de la correa; consulte los pasos 4 a 6, en Ajuste de la tensión de la correa.
Sujete la guía de las correas provisionalmente al motor (Figura 65) con el perno que se retiró en el paso 6 de Retirada de las correas.
Ajuste la guía de las correas; consulte Ajuste de la guía de las correas.
Instale la placa divisora; consulte Instalación de la placa divisora.
Note: Para tener acceso a la guía de la correa, retire la placa divisora; consulte Retirada de la placa divisora.
Holgura de la guía: 2.5 mm a 4 mm (3/32" a 5/32")
Aparque la máquina en una superficie nivelada y pare el motor.
Deje que la máquina se enfríe.
Desconecte el cable de la bujía; consulte Desconexión del cable de la bujía.
Asegúrese de que la palanca del embrague está en la posición de ENGRANADO.
Asegúrese de que la tensión de las correas es correcta; consulte Ajuste de la tensión de la correa.
Compruebe que la holgura entre la guía de las correas y las correas es de 2.5 mm a 4.0 mm (3/32" a 5/32"); consulte Figura 67.

Si la holgura no está dentro de los límites especificados, haga lo siguiente:
Afloje el perno que sujeta la guía de las correas al motor (Figura 67).
Important: Asegúrese de que la guía de las correas está orientada hacia la polea del motor.
Mueva la guía de las correas hacia arriba o hacia abajo hasta que quede una holgura de 2.5 a 4 mm (3/32" a 5/32") entre la guía y cada correa (Figura 67).
Important: La guía de las correas no debe tocar las correas con la palanca del embrague en la posición de ENGRANADO.
Note: Si no es posible obtener la holgura correcta entre la guía de las correas y ambas correas, una de las correas es demasiado larga.
Apriete el perno que sujeta la guía de las correas al motor (Figura 67).
Compruebe el funcionamiento del embrague; consulte Comprobación del funcionamiento del embrague.
Instale la placa divisora; consulte Instalación de la placa divisora.
| Intervalo de mantenimiento y servicio | Procedimiento de mantenimiento |
|---|---|
| Cada 40 horas |
|
Important: Las paletas no deben girar en el tambor vacío cuando la palanca del embrague está en la posición de DESENGRANADO.
Mueva la palanca del embrague a la posición de DESENGRANADO.
Arranque el motor.
Si las paletas giran con la palanca de embrague en la posición de DESENGRANADO, haga lo siguiente:
Apague el motor.
Compruebe la holgura entre la guía de las correas y las correas.
Note: Si la holgura es superior a 4.0 mm (5/32"), reduzca la holgura entre la guía de las correas y las correas; consulte Ajuste de la guía de las correas.
Repita los pasos 1 a 3 hasta que se cumplan todas las condiciones siguientes:
El motor funciona a 2/3 de la velocidad máxima.
La palanca del embrague está en la posición de DESENGRANADO.
Las paletas no giran en el tambor vacío cuando el motor está en marcha.
Aparque la máquina en una superficie nivelada y pare el motor.
Deje que la máquina se enfríe.
Desconecte el cable de la bujía; consulte Desconexión del cable de la bujía.
Retire la placa divisora; consulte Retirada de la placa divisora.
Coloque una regla sobre las caras de la polea del motor y de la polea tensora (Figura 68).

Note: Ambas poleas deben estar alineadas con la regla.
Si las poleas no están alineadas, haga lo siguiente:
Mueva la palanca del embrague a la posición de DESENGRANADO.
Afloje las contratuercas y los tornillos de fijación que sujetan la polea tensora al eje (Figura 68).
Dando golpecitos con un mazo de goma, mueva la polea tensora hacia adelante o hacia atrás en el eje hasta que la polea del motor y la polea tensora estén alineadas con la regla (Figura 68).
Apriete los tornillos de fijación y las contratuercas que sujetan la polea tensora al eje (Figura 68).
Instale la placa divisora; consulte Instalación de la placa divisora.
Important: Complete la sección Preparación de la máquina para el mantenimiento antes de ajustar las paletas.
Note: Con el tiempo, es posible que deba ajustar las paletas de la mezcladora para ver si hay desgaste.
Gire una paleta de la fila izquierda de paletas alrededor del tambor y localice en el interior del tambor la mínima distancia entre el tambor y la escobilla de la paleta (Figura 69).
Marque el interior del interior del tambor en la ubicación que haya determinado en el paso 1.

Alinee la escobilla de una paleta con la marca.
Afloje los pernos de cabeza redonda y las contratuercas prensadas que sujetan la hoja de la paleta y la escobilla a la paleta (Figura 70).

Ajuste la posición de la escobilla para que toque ligeramente el tambor sobre el largo de la escobilla (Figura 71).

Ajuste la posición de la hoja de la paleta para que el borde exterior sea de 3 mm a 6 mm (ā " a ¼") desde el borde exterior de la escobilla.
Apriete los pernos de cabeza redonda y las tuercas de 19 a 25 N·m (de 14 a 18 pies-libra).
Repita los pasos 4 a 7 para la otra paleta de esa fila de paletas.
Repita el procedimiento para el resto de las filas de paletas.
Gire la escobilla y la paleta fija alrededor de la placa de extremo del tambor y localice la mínima distancia entre el tambor y la escobilla de la paleta.
Marque el interior de la placa de extremo en el lugar determinado en el paso 1.

Alinee la escobilla de una paleta con la marca.
Afloje los pernos de cabeza redonda y las contratuercas prensadas que sujetan la hoja de la pela y la escobilla a la paleta fija. (Figura 72)
Ajuste la posición de la escobilla para que toque ligeramente la placa de extremo sobre el largo de la escobilla.
Ajuste la posición de la hoja de la paleta para que el borde exterior de la barra sea de 3 mm a 6 mm (ā " a ¼") desde el borde exterior de la escobilla.
Apriete los pernos de cabeza redonda y las tuercas de 19 a 25 N·m (14 a 18 pies-libra).
Repita el procedimiento para la escobilla en la placa de extremo en el otro extremo del tambor.
Alinee la paleta de extremo ajustable con la marca hecha en el paso 2 de Alineación de las escobillas del extremo del tambor.
Afloje los pernos de cabeza redonda y las contratuercas prensadas que sujetan la paleta de extremo ajustable a la paleta fija. (Figura 73)

Ajuste la posición de la paleta de extremo ajustable para que esté lo más cerca posible de la placa de extremo, sobre el largo de la paleta, sin que toque la placa de extremo cuando las paletas giren.
Apriete los pernos de cabeza redonda y las tuercas de 37 a 45 Nām (de 27 a 33 pies-libra).
Repita el procedimiento para la paleta de extremo ajustable en la placa de extremo en el otro extremo del tambor.
La limpieza y el lavado regulares con detergente suave y agua aumentan la vida útil de la máquina. Limpie la máquina después de cada uso, antes de que la suciedad se endurezca.
Retire la suciedad de las piezas externas de toda la máquina, especialmente del motor. Limpie cualquier suciedad y resto de hormigón del exterior del motor.
Asegúrese de que el tapón de combustible y el tapón de llenado/varilla de aceite están bien apretados para evitar que entre agua en el motor.
Tenga cuidado al usar agua a presión porque puede dañar las pegatinas de seguridad, las señales con instrucciones, y el motor.
Important: Lubrique los cojinetes y las juntas después de la limpieza; consulte Lubricación de los cojinetes y casquillos.
Si va a guardar la máquina durante más de 30 días, prepare la máquina de la forma siguiente:
Retire la suciedad de las piezas externas de toda la máquina, especialmente del motor. Limpie la suciedad y la broza de la parte exterior de las aletas de la culata del motor y de la carcasa del soplador.
Important: La máquina puede lavarse con un detergente suave y agua.
Acondicione el sistema de combustible de la siguiente manera:
Agregue un estabilizador/acondicionador a base de petróleo al combustible del depósito. Siga las instrucciones de mezcla del fabricante del estabilizador. No use un estabilizador a base de alcohol (etanol o metanol).
Important: No guarde combustible con estabilizador/acondicionador durante más de 90 días.
Note: Un estabilizador/acondicionador de combustible es más eficaz cuando se mezcla con combustible fresco y se utiliza siempre.
Haga funcionar el motor durante cinco minutos para distribuir el combustible con acondicionador por todo el sistema de combustible.
Pare el motor, deje que se enfríe y vacíe el depósito de combustible usando un sifón tipo bomba. Elimine correctamente el combustible; recíclelo observando la normativa local.
Arranque el motor y hágalo funcionar hasta que se pare.
Accione el estárter.
Arranque el motor y déjelo en marcha hasta que no vuelva a arrancar.
Limpie la taza de sedimentos, consulte Limpieza de la taza de sedimentos de combustible.
Revise el limpiador de aire; consulte Mantenimiento del limpiador de aire.
Cambie el aceite del motor; consulte Cómo cambiar el aceite del motor.
Retire la bujía y compruebe su condición; consulte Mantenimiento de la bujía.
Acondicione el motor según se indica a continuación:
Vierta 2 cucharadas soperas de aceite de motor en el orificio de la bujía; consulte Retirada de la bujía.
Tire lentamente del arrancador de retroceso para hacer girar el motor y distribuir el aceite dentro del cilindro.
Instale la bujía; consulte Instalación de la bujía.
Note: No instale el cable en la bujía.
Engrase la máquina; consulte Lubricación de los cojinetes y casquillos.
Revise y apriete todos los pernos, tuercas y tornillos. Repare o sustituya cualquier pieza dañada.
Pinte cualquier superficie rayada o de metal desnudo con pintura disponible en un Servicio Técnico Autorizado.
Guarde la máquina en un garaje o almacén seco y limpio.
Cubra la máquina para protegerla y para conservarla limpia.
| Problem | Possible Cause | Corrective Action |
|---|---|---|
| El motor no arranca. |
|
|
| Al motor le falta potencia o no funciona regularmente. |
|
|
| La correa patina o se sale de las poleas. |
|
|
| Las paletas giran cuando la palanca del embrague está en la posición de Desengranado. |
|
|
| Las paletas no giran cuando la palanca del embrague está en la posición de Engranado. |
|
|
| Las paletas giran lentamente cuando la palanca del embrague está en la posición de Engranado. |
|
|