Maintenance
Recommended Maintenance Schedule(s)
| Maintenance Service Interval | Maintenance Procedure |
|---|---|
| After the first 2 hours |
|
| After the first 10 hours |
|
| Before each use or daily |
|
| After each use |
|
| Every 50 hours |
|
| Every 400 hours |
|
Lubrication
| Maintenance Service Interval | Maintenance Procedure |
|---|---|
| Before each use or daily |
|
| Every 50 hours |
|
The machine has grease fittings that you must lubricate regularly with No. 2 lithium grease. Lubricate all bearings and bushings immediately after every washing.
Lubricate the following areas:
Checking the Lubricant in the Gearbox
| Maintenance Service Interval | Maintenance Procedure |
|---|---|
| Every 50 hours |
|
| Every 400 hours |
|
The gearbox is designed to operate on either petroleum or synthetic SAE 80W–90 gear lube. Although the gearbox is shipped with lubricant from the factory, check the level before operating the cutting unit. The gearbox capacity is 283 ml (12 oz).
-
Position the machine and cutting unit on a level surface.
-
Remove the dipstick/fill plug from the top of the gearbox (Figure 18) and make sure that the lubricant is between the marks on the dipstick. If the lubricant level is low, add enough lubricant until the level is between the marks.

Separating the Cutting Unit from the Traction Unit
-
Position the machine on a level surface.
-
Lower the cutting unit to the floor, move the lift lever to the FLOAT position, engage the parking brake, put the traction pedal in neutral, set the PTO lever in the OFF position, shut the engine off, and remove the ignition key.
-
Remove the capscrews and locknuts securing the ball joint mounts to the castor arms on the cutting unit (Figure 19).

-
Roll the cutting unit away from the traction unit, separating the male and female sections of the PTO shaft (Figure 20).
Danger
If the engine is started and the PTO shaft is allowed to rotate, serious injury could result.
Do not start the engine and engage the PTO lever when the PTO shaft is not connected to the gearbox on the cutting unit.

Servicing the Bushings in the Castor Arms
The castor arms have bushings pressed into the top and bottom portion of the tube which, after many hours of operation, will wear. To check the bushings, move the castor fork back and forth and from side to side. If the castor shaft is loose inside the bushings, the bushings are worn and must be replaced.
-
Raise the cutting unit so that the wheels are off the floor and block it so that it cannot fall.
-
Remove the tensioning cap, spacer(s), and thrust washer from the top of the castor spindle.
-
Pull the castor spindle out of the mounting tube. Allow the thrust washer and spacer(s) to remain on the bottom of the spindle.
-
Insert a pin punch into the top or bottom of the mounting tube, and drive the bushing out of the tube (Figure 21). Also, drive the other bushing out of the tube.

-
Clean the inside of the mounting tubes to remove any dirt.
-
Apply grease to the inside and outside of the new bushings.
-
Use a hammer and flat plate to drive the bushings into the mounting tube.
-
Inspect the castor spindle for wear, and replace it if it is damaged.
-
Push the castor shaft through the bushings and mounting tube.
-
Slide the thrust washer and spacer(s) onto the spindle.
-
Install the tensioning cap on the castor spindle to retain all the parts in place.
Servicing the Castor Wheels and Bearings
| Maintenance Service Interval | Maintenance Procedure |
|---|---|
| After the first 2 hours |
|
| After the first 10 hours |
|
| Every 50 hours |
|
The castor wheel rotates on a high-quality roller bearing and is supported by a spanner bushing. Even after many hours of use, provided that the bearing was kept well lubricated, bearing wear will be minimal. However, failing to keep the bearing lubricated will cause rapid wear. A wobbly castor wheel usually indicates a worn bearing.
-
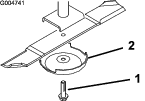
Remove the locknut from the capscrew holding the castor wheel assembly between the castor fork (Figure 22).

-
Grasp the castor wheel and slide the capscrew out of the fork.
-
Pull the spanner bushing out of the wheel hub (Figure 22).
-
Remove the bushing from the wheel hub and allow the bearing to fall out.
-
Remove the bushing from the opposite side of the wheel hub.
-
Check the bearing, spanner, and inside of the wheel hub for wear, and replace any damaged parts.
-
To assemble the castor wheel, push the bushing into the wheel hub.
-
Slide the bearing into the wheel hub.
-
Push the other bushing into the open end of the wheel hub to captivate the bearing inside the wheel hub (Figure 22).
-
Carefully slide the spanner through the bushings and the wheel hub.
-
Install the castor wheel assembly between the castor fork and secure it in place with the capscrew, washers, and locknut.
-
Lubricate the castor wheel bearing through the grease fitting with No. 2 lithium grease.
Servicing the Cutting Blades
Blade Safety
-
Inspect the blade periodically for wear or damage.
-
Use care when checking the blades. Wrap the blades or wear gloves, and use caution when servicing the blades. Only replace or sharpen the blades; never straighten or weld them.
-
On multi-bladed machines, take care as rotating a blade can cause other blades to rotate.
Checking for a Bent Blade
After striking a foreign object, inspect the machine for damage and make repairs before starting and operating the equipment. Torque all the spindle-pulley nuts to 176 to 203 N∙m (130 to 150 ft-lb).
-
Position the machine on a level surface, raise the cutting unit, engage the parking brake, put the traction pedal in NEUTRAL, put the PTO lever in the OFF position, shut off the engine, and remove the ignition key.
Note: Block the cutting unit to prevent it from accidentally falling.
-
Rotate the blade until the ends face forward and backward and measure from the inside of the cutting unit to the cutting edge at the front of the blade (Figure 23).
Note: Remember this dimension.

-
Rotate the opposite end of the blade forward and measure between the cutting unit and cutting edge of the blade at the same position as in step 2.
Note: The difference between the dimensions obtained in steps 2 and 3 must not exceed 3 mm (1/8 inch). If the dimension exceeds 3 mm (1/8 inch), the blade is bent and must be replaced; refer to Removing and Installing the Cutting-Unit Blade(s).
Removing and Installing the Cutting-Unit Blade(s)
Replace the blade if it hits a solid object, is out of balance, or is bent. Always use genuine Toro replacement blades to ensure safety and optimum performance.
-
Park the machine on a level surface, raise the cutting unit to the transport position, engage the parking brake, shut off the engine, and remove the key.
Note: Block or lock the cutting unit to prevent it from accidentally falling.
-
Grasp the end of the blade using a rag or thickly-padded glove.
-
Remove the blade bolt, anti-scalp cup, and blade from the spindle shaft (Figure 24).

-
Install the blade, anti-scalp cup, and blade bolt and tighten the blade bolt to 115 to 149 N∙m (85 to 110 ft-lb).
Important: The curved part of the blade must point toward the inside of the cutting unit to ensure proper cutting.
Note: After striking a foreign object, torque all spindle-pulley nuts to 115 to 149 N∙m (85 to 110 ft-lb).
Inspecting and Sharpening the Cutting Unit Blade(s)
Both cutting edges and the sail, which is the turned-up portion opposite of the cutting edge, contribute to a good quality of cut.
Maintain sharp blades throughout the cutting season. Sharp blades create a clean cut without tearing or shredding the grass blades.
Check the blades for any wear or damage. The sail lifts the grass up straight, thereby producing an even cut and gradually wears down during operation.
-
Park the machine on a level surface, raise the cutting unit, engage the parking brake, put the traction pedal in NEUTRAL, put the PTO lever in the OFF position, shut off the engine, and remove the key from the ignition.
-
Examine the cutting ends of the blade carefully, especially where the flat and curved parts of the blade meet (Figure 25).
Note: Because sand and abrasive material can wear away the metal that connects the flat and curved parts of the blade, check the blade before using the mower. If you notice wear (Figure 25), replace the blade.

-
Examine the cutting edges of all of the blades and sharpen the cutting edges if they are dull or nicked (Figure 26).
Note: Sharpen only the top of the cutting edge and maintain the original cutting angle to ensure sharpness (Figure 26). The blade remains balanced if the same amount of metal is removed from both cutting edges.

Note: Remove the blades and sharpen them on a grinder. After sharpening the cutting edges, install the blade with the anti-scalp cup and blade bolt; refer to Removing and Installing the Cutting-Unit Blade(s).
Checking and Correcting Mismatch of Blades
If a cutting blade cuts lower than the others, correct them as follows:
-
Lower the cutting unit onto a level surface, engage the parking brake, put the traction pedal in neutral and the PTO lever in the OFF position, shut the engine off, and remove the ignition key.
-
Ensure that the tire pressure is equal in all the tires.
-
Raise the height-of-cut to the 102 mm (4 inches) position; refer to Adjusting the Height of Cut.
-
Rotate the blades so that the tips line up with one another.
Note: The tips of the adjacent blades must be within 3 mm (1/8 inch) of each other. If the tips are not within 3 mm (1/8 inch) of each other, proceed to step 10 and add shims between the spindle housing and bottom of the cutting unit.
-
Ensure that the front height-of-cut pins are resting properly on the frame cushions. If the pins are not resting properly, place a shim or shims under the cushion to raise it for proper alignment.
-
Position all 3 blades in the A position (Figure 27), and measure from the level surface to the bottom of the tip end of each blade (Figure 28), and note the measurement.


-
Rotate the blades to the B position (Figure 27), measure the distance of all the blades to the level surface, and note the dimensions (Figure 28).
-
Rotate the blades to the C position, measure, and note the distance measured (Figure 27 and Figure 28).
-
Compare the measurements at the various positions.
Note: All dimensions must be equal within 6 mm (1/4 inch) from any 2 adjacent blades. The difference between the dimensions of all 3 blades must not exceed 10 mm (3/8 inch). If the difference exceeds specifications, proceed to step 10.
-
Remove the capscrews, flat washers, and locknuts from the outer spindle in the area where the shims must be added.
Note: To raise or lower the blade, add a shim, Part No. 3256-24, between the spindle housing and bottom of the cutting unit.
-
Continue checking the alignment of the blades and adding shims until the tips of the blades are within the required dimension.
Adjusting the Idler Pulley
The idler pulley applies force against the belt so that power can be transmitted to the blade pulleys. If the idler is not tensioned against the belt with sufficient force, maximum power will not be transmitted to the pulleys. Tension on the belt requires 47 to 54 N∙m (35 to 40 ft-lb) of torque on the large nut, which applies force against the belt. If the idler is not adjusted to these specifications, adjust it.
Important: The fasteners on the covers of this machine are designed to remain on the cover after removal. Loosen all of the fasteners on each cover a few turns so that the cover is loose but still attached, then go back and loosen them until the cover comes free. This will prevent you from accidentally stripping the bolts free of the retainers.
-
Position the machine on a level surface.
-
Lower the cutting unit, engage the parking brake, put the traction pedal in neutral, the PTO lever in the OFF position, shut the engine off, and remove the ignition key.
-
Remove the cover from the center cutting unit.
-
Loosen the 2 nuts that secure the idler plate in place.
-
Use a socket and torque wrench to tighten the idler adjusting nut to 47 to 54 N-m (35 to 40 ft-lb) (Figure 29).

-
Hold the torque against the belt and tighten the 2 nuts so that the idler plate is held securely in place.
-
Release the idler adjusting nut.
-
Install the cover.
Replacing the Drive Belt
The blade drive belt, tensioned by the adjustable idler, is very durable. However, after many hours of use, the belt will show signs of wear. Signs of a worn belt include: squealing when belt is rotating, blades slipping when cutting grass, frayed edges, burn marks, and cracks. Replace the belt if any of these conditions exist.
Important: The fasteners on the covers of this machine are designed to remain on the cover after removal. Loosen all of the fasteners on each cover a few turns so that the cover is loose but still attached, then go back and loosen them until the cover comes free. This will prevent you from accidentally stripping the bolts free of the retainers.
-
Position the machine on a level surface.
-
Lower the cutting unit, engage the parking brake, put the traction pedal in neutral and the PTO lever in the OFF position, shut the engine off, and remove the ignition key.
-
Remove the covers from the top of the cutting unit.
-
Loosen the 2 nuts that secure the idler plate in place, and remove the old belt from the pulleys.
-
To install a new belt, you must remove the gearbox by removing the 4 carriage bolts and locknuts holding the gearbox base.
-
Install the new belt around the gearbox pulley, spindle pulleys, stationary idler pulley, and adjustable idler pulley (Figure 30).

-
Install the gearbox base with the carriage bolts and locknuts.
-
Use a torque wrench to adjust the tension of the idler pulley against the belt; refer to Adjusting the Idler Pulley.
-
Install the covers.
Replacing the Grass Deflector
-
Position the machine on a level surface.
-
Raise the cutting unit, engage the parking brake, put the traction pedal in neutral and the PTO lever in the OFF position, shut off the engine, and remove the ignition key.
-
Block the cutting unit to prevent it from accidentally falling.
-
Remove the 2 capscrews, locknuts, and springs that secure the deflector mounts to the pivot brackets (Figure 31).

-
To remove the pivot brackets, remove the carriage bolts and nuts (Figure 31).
-
Install the pivot brackets on top of the discharge opening with the carriage bolts and nuts.
Note: The head of the carriage bolts must be on the inside of the cutting unit.
-
Position the deflector mounts on the pivot brackets and secure the parts together with the capscrews, locknuts, and springs.
Note: Both locknuts must face each other. Tighten the locknuts until they are flush against the deflector pivots.
-
Lift the deflector and allow it to drop to check the spring tension.
Note: The deflector must be held firmly in the full downward position by the spring tension. Correct it if necessary.
Cleaning Under the Cutting Unit
| Maintenance Service Interval | Maintenance Procedure |
|---|---|
| After each use |
|
-
Disengage the PTO, release the traction pedal to the NEUTRAL position, and engage the parking brake.
-
Move the throttle lever to the SLOW position, shut off the engine, remove the key, and wait for all moving parts to stop before leaving the operator’s position.
-
Raise the cutting unit to the TRANSPORT position.
-
Use a jack to raise the front of the machine and support it with jack stands.
-
Thoroughly clean the underside of the cutting unit with water.


, which means Caution, Warning,
or Danger—personal safety instruction. Failure to comply with
these instructions may result in personal injury or death.

























