Entretien
Programme d'entretien recommandé
| Périodicité d'entretien | Procédure d'entretien |
|---|---|
| Après les 10 premières heures de fonctionnement |
|
| Après les 250 premières heures de fonctionnement |
|
| Toutes les 50 heures |
|
| Toutes les 200 heures |
|
Attention
Si vous laissez la clé dans le commutateur d'allumage, quelqu'un pourrait mettre le moteur en marche accidentellement et vous blesser gravement, ainsi que toute personne à proximité.
Avant tout entretien, retirez la clé du commutateur d'allumage.
Lubrification
Graissage et lubrification de la machine
| Périodicité d'entretien | Procédure d'entretien |
|---|---|
| Toutes les 50 heures |
|
Note: Consultez le Manuel de l'utilisateur de la machine pour trouver les graisseurs corrects.
-
Garez la machine sur une surface plane et horizontale, désengagez la PDF et serrez le frein de stationnement.
-
Avant de quitter la position d'utilisation, coupez le moteur, enlevez la clé et attendez l'arrêt complet de toutes les pièces mobiles.
-
Nettoyez les graisseurs avec un chiffon.
Note: Grattez la peinture qui pourrait se trouver sur l'avant des graisseurs.
-
Raccordez une pompe à graisse au graisseur et injectez de la graisse à l'intérieur jusqu'à ce qu'elle commence à suinter hors des roulements.
-
Essuyez tout excès de graisse.
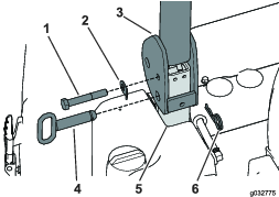
Entretien du système électrique
Important: Si vous devez travailler avec le circuit électrique, débranchez toujours les câbles de la batterie, en commençant par le câble négatif (-), pour éviter d'endommager le câblage en causant des courts-circuits.
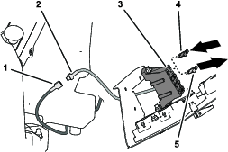
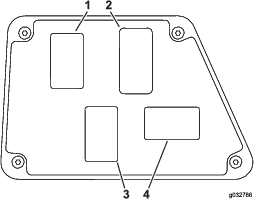
Contrôle des fusibles
Reportez-vous au Manuel de l'utilisateur fourni avec la cabine pour tout renseignement sur les fusibles.
En cas de problèmes électriques de la machine, vérifiez les fusibles. Retirez chaque fusible l'un après l'autre du porte-fusibles et vérifiez s'ils sont ouverts (grillés). Si vous devez remplacer un fusible, utilisez toujours un fusible de même type et de même intensité que celui d'origine, car vous pourriez sinon endommager le système électrique.
Note: Si un fusible grille fréquemment, un court-circuit existe probablement dans le système électrique. Demandez alors à un technicien qualifié de réparer le problème.
Entretien du système d'entraînement
Contrôle de la pression des pneus
| Périodicité d'entretien | Procédure d'entretien |
|---|---|
| Toutes les 50 heures |
|
Important: Contrôlez la pression des pneus avant d'utiliser la machine.
Vérifiez que tous les pneus sont gonflés à 2,40 bar (35 psi); voir Figure 131.
Note: La motricité de la machine peut être réduite si les pneus ne sont pas tous gonflés à la même pression. En cas de perte de motricité de la machine, augmentez la pression de gonflage à 3,44 bar (50 psi) pour accroître la tension des chenilles.

Entretien de la cabine
Nettoyage de la cabine
Important: Faites attention près des joints et des éclairages de la cabine (Figure 132).Si vous utilisez un jet haute pression pour le nettoyage, maintenez-le à au moins de 0,6 m (2 pi) de la machine. Ne dirigez pas le jet haute pression directement sur les joints et les éclairages de la cabine ou sous le surplomb arrière.

Nettoyage des filtres à air
| Périodicité d'entretien | Procédure d'entretien |
|---|---|
| Après les 250 premières heures de fonctionnement |
|
-
Retirez les vis à oreilles et les grilles des filtres à air intérieur et arrière de la cabine (Figure 133 et Figure 134).


-
Nettoyez les filtres en soufflant à travers de l'air comprimé propre et exempt d'huile.
Important: Remplacez les filtres s'ils sont percés, déchirés ou autrement endommagés.
-
Montez les filtres et les grilles, et fixez-les en place avec les vis à oreilles.





















































































































