Manutenção
Utilizar o apoio ao inclinar a unidade de corte
Se for necessário inclinar a unidade de corte para que a lâmina de corte e o cilindro fiquem expostos, coloque o apoio (fornecido com a unidade de tração) por baixo da traseira da unidade de corte para assegurar que as porcas na parte traseira dos parafusos de ajuste da barra de apoio não fiquem apoiadas sobre a superfície de trabalho (Figura 23).

Lubrificação da unidade de corte

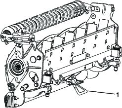
Cada unidade de corte possui 5 bocais de lubrificação (Figura 24) que deverão ser lubrificados regularmente com massa lubrificante número 2 à base de lítio.
Estes pontos de lubrificação são o rolo da frente (2), rolo traseiro (2) e estria do motor (1).
Note: Lubrificar as unidades de corte imediatamente após a lavagem ajuda a purgar a água dos rolamentos e aumenta a duração dos mesmos.
-
Limpe cada bocal de lubrificação com um trapo limpo.
-
Aplique lubrificação até que se veja lubrificante limpo a sair dos vedantes do rolo e da válvula de descarga do rolamento.
-
Elimine o excesso de massa lubrificante.
Amolação de retificação do cilindro
O novo cilindro tem uma largura de 1,3 a 1,5 mm e uma amolação de retificação de 30 graus.
Quando a dimensão da folga é superior a 3 mm de largura, faça o seguinte:
-
Aplique uma amolação de retificação de 30 graus em todas as lâminas do cilindro até que a folga tenha uma largura de 1,3 mm (Figura 25).

-
Amole o cilindro para obter uma deslocação do cilindro <0,025 mm.
Note: Isto causa que a folga aumente ligeiramente.
Note: Para aumentar a longevidade da afiação da extremidade do cilindro e lâmina – após a amolação do cilindro e/ou lâmina – verifique novamente o contacto entre cilindro e lâmina depois de cortar dois fairways, uma vez que qualquer rebarba é eliminada o que pode criar uma folga indevida entre cilindro e lâmina e acelerar, desta forma, o desgaste.
Assistência à lâmina
Os limites de assistência à lâmina encontram-se no quadro seguinte.
Important: O funcionamento da unidade de corte com a lâmina abaixo do “limite de assistência” pode causar um fraco aspecto após o corte e reduzir a integridade estrutural da lâmina para impactos.
| Quadro de limite de assistência à lâmina | ||||
| Lâmina de corte | Peça nº | Altura do topo da lâmina* | Limite de assistência* | Ângulos de amolaçãoÂngulo superior/frontal |
| Baixa altura de corte (Opcional) | 120–1641 (69 cm)120–1642 (81 cm) | 5,6 mm | 4,8 mm | 10/5 graus |
| EdgeMax® (opcional) | 112-8910 (69 cm)112-8956 (81 cm) | 6,9 mm | 4,8 mm | 10/5 graus |
| Standard (Produção) | 114-9388 (69 cm)114-9389 (81 cm) | 6,9 mm | 4,8 mm | 10/5 graus |
| Pesados (opcional) | 114-9390 (69 cm)114-9391 (81 cm) | 9,3 mm | 4,8 mm | 10/5 graus |

Note: Todas as medidas dos limites de assistência da lâmina se relacionam com a parte inferior da lâmina (Figura 27).

Verificação do ângulo de amolação superior
O ângulo que utiliza para amolar as lâminas de corte é muito importante.
Utilize o indicador de ângulo (peça Toro n.º 131-6828) e a montagem do indicador do ângulo (peça Toro n.º 131-6829) para verificar o ângulo que o seu amolador produz e depois corrija qualquer imprecisão no amolador.
-
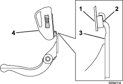
Coloque o indicador de ângulo no lado inferior da lâmina de corte, como se ilustra na Figura 28.

-
Pressione o botão Alt Zero no indicador de ângulo.
-
Coloque a montagem do indicador de ângulo na extremidade da lâmina de corte para que a extremidade do íman fique alinhada com a extremidade da lâmina de corte (Figura 29).
Note: O ecrã digital deve ser visível do mesmo lado durante este passo como era no passo 1.

-
Coloque o indicador de ângulo na montagem, como se mostra na Figura 29.
Note: Este é o ângulo que o seu amolador produz; deve estar a 2 graus do ângulo de amolação superior recomendado.
Manutenção da barra de apoio
Remoção da barra de apoio
-
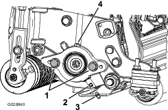
Rode os parafusos de ajuste da barra de apoio no sentido contrário ao dos ponteiros do relógio, para afastar a lâmina de corte do cilindro (Figura 30).

-
Faça recuar a porca da mola tensora até que a anilha deixe de estar sob tensão contra a barra de apoio (Figura 30).
-
Desaperte a porca de bloqueio que segura a cavilha da barra de apoio, em cada um dos lados da máquina (Figura 31).

-
Remova cada uma das cavilhas da barra de apoio, de modo permitir puxá-la e retirá-la da máquina (Figura 31). Guarde as duas anilhas de nylon e anilha de aço prensado de cada uma das extremidades da barra de apoio (Figura 32).

Montagem da barra de apoio
-
Instale a barra de apoio, posicionando as aletas de montagem entre a anilha e o ajustador da barra de apoio.
-
Fixe a barra de apoio a cada um dos lados da placa lateral com as cavilhas (porcas flangeadas nas cavilhas) e com as 6 arruelas.
-
Coloque uma anilha de nylon de cada lado da placa lateral.
-
Coloque uma arruela de aço no exterior de cada uma das arruelas de nylon (Figura 32).
Note: Aperte os parafusos da barra de apoio com uma força de 37 a 45 N·m. Aperte as porcas até que a anilha de aço exterior pare de rodar e a folga seja removida, mas não aperte em demasiado nem desvie as placas laterais. As anilhas podem ter uma folga interna.
-
Aperte a porca da mola tensora até que a mola fique recolhida; em seguida, desaperte meia volta (Figura 33).

Instalação da lâmina de corte
-
Elimine a ferrugem, escória e corrosão da superfície da barra de apoio e aplique uma fina camada de óleo na superfície da barra de apoio.
-
Limpe as roscas do parafuso.
-
Aplique composto antigripagem nos parafusos e instale a lâmina de corte na barra de apoio da seguinte forma (Figura 34):

-
Amole a lâmina de corte.
Assistência ao Ajuste de Dois Pontos HD (DPA)
-
Retire todas as peças (consulte as Instruções de instalação do Kit DPA HD Modelo n.º 120-7230 e a Figura 36).
-
Aplique composto antigripagem no interior da área dos casquilhos na estrutura unidade de corte (Figura 36).
-
Alinhe as chaves nos casquilhos das flanges com as ranhuras na estrutura e instale os casquilhos (Figura 36).
-
Instale uma anilha ondulada no veio do ajustador e deslize o veio do ajustador para os casquilhos da flange na estrutura da unidade de corte (Figura 36).
-
Prenda o veio ajustador com uma anilha plana e porca de bloqueio (Figura 36). Aperte a porca de bloqueio com 20–27 N·m.
Note: O veio do ajustador da barra de apoio possui roscas esquerdas.

-
Aplique composto antigripagem nas roscas do parafuso do ajustador da barra de apoio que encaixa no veio do ajustador.
-
Enrosque o parafuso do ajustador da barra de apoio no veio do ajustador.
-
Instale sem apertar a anilha reforçada, mola e porca tensora da mola no parafuso do ajustador.
-
Instale a barra de apoio, posicionando as aletas de montagem entre a anilha e o ajustador da barra de apoio.
-
Fixe a barra de apoio a cada um dos lados da placa lateral com as cavilhas (porcas flangeadas nas cavilhas) e com as 6 arruelas.
Note: Coloque uma anilha de nylon de cada lado da placa lateral. Coloque uma arruela de aço no exterior de cada uma das arruelas de nylon (Figura 36). Aperte os parafusos da barra de apoio com uma força de 27 a 36 Nm. Aperte as porcas até que a anilha de aço exterior pare de rodar e a folga seja removida, mas não aperte em demasiado nem desvie as placas laterais. As anilhas podem ter uma folga interna (Figura 32).
-
Aperte a porca em cada conjunto de ajustador da barra de apoio até que a mola de compressão esteja totalmente comprimida e, em seguida, desaperte a porca ½ volta (Figura 33).
-
Repita o procedimento no lado oposto da unidade de corte.
-
Ajustar a lâmina de corte ao cilindro.
Manutenção do rolo
O kit de remontagem do rolo, peça nº 114-5430 e o kit de ferramentas de remontagem do rolo, peça nº 115-0803 (Figura 37) estão disponíveis para fazer a manutenção do rolo. O kit do rolo inclui todos os rolamentos, porcas dos rolamentos, vedantes internos e externos necessários para remontar um rolo. O kit de ferramentas inclui todas as ferramentas e as instruções de instalação necessárias à remontagem de um rolo com o kit de remontagem de rolo. Consulte o catálogo de peças ou contacte o distribuidor Toro autorizado para obter ajuda.



O não cumprimento
destas instruções pode resultar em ferimentos pessoais
ou mesmo em morte.



















