Техническое обслуживание
Использование откидной подставки при наклоне режущего блока
Если режущий блок необходимо наклонить, чтобы получить доступ к неподвижному ножу / барабану, приподнимите заднюю часть режущего блока с помощью откидной подставки (поставляется с тяговым блоком), чтобы убедиться в том, что гайки с обратной стороны регулировочных винтов планки неподвижного ножа не упираются в рабочую поверхность (Рисунок 23).

Смазка режущего блока

На каждом режущем блоке установлено 5 масленок (Рисунок 24), которые необходимо регулярно заправлять консистентной смазкой № 2 на литиевой основе.
Точки смазки: передний ролик (2 шт.), задний ролик (2 шт.) и шлицы двигателя (1 шт.).
Note: Смазка режущих блоков непосредственно после их промывки поможет удалить воду из подшипников и продлить срок их службы.
-
Протрите все масленки чистой ветошью.
-
Вводите смазку до появления чистой смазки из уплотнений валиков и предохранительного клапана подшипника.
-
Удалите излишки смазки.
Затыловочное шлифование барабана
Ширина витка нового барабана составляет от 1,3 до 1,5 мм, он заточен затыловочным шлифованием с углом 30 градусов.
Если ширина витка превышает 3 мм, выполните следующее:
-
Произведите 30-градусное затыловочное шлифование всех ножей барабана, пока не будет достигнута ширина витка 1,3 мм (Рисунок 25).

-
Произведите шлифование методом вращения барабана, чтобы получить биение барабана <0,025 мм.
Note: При этом ширина витка немного увеличится.
Note: Для того чтобы кромки барабана и неподвижного ножа оставались острыми в течение максимально продолжительного периода времени после шлифования барабана и/или неподвижного ножа, проверьте контакт барабана с неподвижным ножом еще раз после скашивания двух фарвеев, так как при этом будут удалены любые оставшиеся заусенцы, что может привести к нарушению зазора между барабаном и неподвижным ножом и тем самым ускорить износ.
Обслуживание неподвижного ножа
Эксплуатационные пределы неподвижного ножа приведены в следующей таблице.
Important: Эксплуатация режущего блока с неподвижным ножом, параметры которого ниже «эксплуатационного предела», может привести к неудовлетворительному результату скашивания и снижению прочности конструкции неподвижного ножа при ударах.
| Таблица эксплуатационного предела неподвижного ножа | ||||
| Неподвижный нож | № по каталогу | Высота режущей кромки неподвижного ножа* | Эксплуатационный предел* | Углы заточки Верхний/передний углы |
| Низкая высота скашивания (дополнительно) | 120-1641 (27 дюймов) 120-1642 (32 дюйма) | 5,6 мм | 4,8 мм | 10/5 градусов |
| EdgeMax® (дополнительно) | 112-8910 (27 дюймов) 112-8956 (32 дюйма) | 6,9 мм | 4,8 мм | 10/5 градусов |
| Стандартный (серийное изделие) | 114-9388 (27 дюймов) 114-9389 (32 дюйма) | 6,9 мм | 4,8 мм | 10/5 градусов |
| Для тяжелых условий работы (дополнительно) | 114-9390 (27 дюймов) 114-9391 (32 дюйма) | 9,3 мм | 4,8 мм | 10/5 градусов |

Note: Все измерения эксплуатационного предела неподвижного ножа выполняются относительно нижней части неподвижного ножа (Рисунок 27).

Проверка верхнего угла заточки
При заточке неподвижных ножей очень важно обеспечить получение правильного угла.
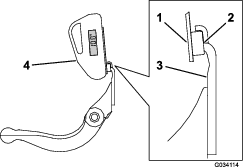
Используйте индикатор угла (№ детали 131-6828 по каталогу Toro) и крепление для индикатора угла (номер детали 131-6829 по каталогу Toro), чтобы проверить угол, который обеспечивает устройство для заточки, и при несовпадении скорректируйте его.
-
Установите индикатор угла на нижней стороне неподвижного ножа, как показано на Рисунок 28.

-
Нажмите кнопку Alt Zero (Нулевая высота) на индикаторе угла.
-
Установите крепление индикатора угла на кромке неподвижного ножа так, чтобы кромка магнита совпала с кромкой неподвижного ножа (Рисунок 29).
Note: При выполнении действий, описанных в данном пункте, цифровой дисплей должно быть видно с той же стороны, что и при выполнении действий, описанных в пункте 1.

-
Установите индикатор угла на крепление, как показано на Рисунок 29.
Note: Это угол, который дает приспособление для заточки, и допустимое отклонение которого составляет не более 2 градусов от рекомендованного верхнего угла заточки.
Техническое обслуживание неподвижного ножа
Демонтаж неподвижного ножа
-
Поворачивайте регулировочные винты планки неподвижного ножа против часовой стрелки, чтобы отодвинуть неподвижный нож от барабана (Рисунок 30).

-
Отвинчивайте гайку натяжения пружины до тех пор, пока шайба больше не будет нажимать на планку неподвижного ножа (Рисунок 30).
-
С каждой стороны машины ослабьте контргайку, крепящую болт планки неподвижного ножа (Рисунок 31).

-
Отверните все болты планки неподвижного ножа, чтобы можно было потянуть планку вниз и снять с болта машины (Рисунок 31). Не забудьте о наличии двух нейлоновых шайб и одной штампованной стальной шайбы с каждой стороны планки неподвижного ножа (Рисунок 32).

Сборка планки неподвижного ножа
-
Установите неподвижный нож, расположив монтажные проушины между шайбой и регулятором неподвижного ножа.
-
Прикрепите планку неподвижного ножа к боковым пластинам с помощью болтов планки неподвижного ножа (гаек на болтах) и 6 шайб.
-
Установите нейлоновую шайбу с каждой стороны выступа боковой пластины.
-
На нейлоновые шайбы установите стальные шайбы (Рисунок 32).
Note: Затяните болты неподвижного ножа с моментом от 37 до 45 Н∙м. Затяните контргайки так, чтобы наружные стальные шайбы перестали вращаться и осевой люфт был устранен, но не перетягивайте и не деформируйте боковые пластины. На внутренней стороне пластин шайбы могут быть установлены с зазором.
-
Затяните гайку натяжения пружины до полного сжатия пружины, после чего ослабьте на 1/2 оборота (Рисунок 33).

Установка неподвижного ножа
-
Удалите ржавчину, окалину и коррозию с поверхности планки неподвижного ножа и нанесите тонкий слой масла на его поверхность.
-
Очистите резьбу винтов.
-
Нанесите противозадирный состав на винты и установите неподвижный нож на планку неподвижного ножа следующим образом (Рисунок 34):

-
Заточите неподвижный нож.
Обслуживание HD системы двухточечной регулировки (DPA)
-
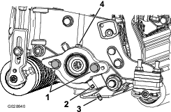
Снимите все детали (см. Инструкции по установке для комплекта HD DPA (модель № 120-7230) и Рисунок 36).
-
Нанесите противозадирный состав на внутреннюю поверхность втулки на несущей раме режущего блока (Рисунок 36).
-
Совместите шпонки фланцевых втулок с прорезями в раме и установите втулки (Рисунок 36).
-
Установите волнистую шайбу на шпиндель регулятора и вставьте шпиндель регулятора во фланцевые втулки, установленные в раме режущего блока (Рисунок 36).
-
Закрепите шпиндель регулятора с помощью плоской шайбы и контргайки (Рисунок 36). Затяните контргайку с моментом 20–27 Н•м.
Note: Шпиндель регулятора планки неподвижного ножа имеет левостороннюю резьбу.

-
Нанесите противозадирный состав на резьбу винта регулятора планки неподвижного ножа, который вставляется в вал регулятора.
-
Заверните винт регулятора планки неподвижного ножа в вал регулятора.
-
Установите на регулировочный винт, не затягивая, закаленную шайбу, пружину и гайку натяжения пружины.
-
Установите неподвижный нож, расположив монтажные проушины между шайбой и регулятором неподвижного ножа.
-
Прикрепите планку неподвижного ножа к боковым пластинам с помощью болтов планки неподвижного ножа (гаек на болтах) и 6 шайб.
Note: Установите нейлоновую шайбу с каждой стороны выступа боковой пластины. На нейлоновые шайбы установите стальные шайбы (Рисунок 36). Затяните болты неподвижного ножа с моментом от 27 до 36 Н∙м. Затяните контргайки так, чтобы наружные стальные шайбы перестали вращаться и осевой люфт был устранен, но не перетягивайте и не деформируйте боковые пластины. На внутренней стороне пластин шайбы могут быть установлены с зазором (Рисунок 32).
-
Затяните гайку на каждом узле регулировки планки неподвижного ножа до полного сжатия пружины, а затем отпустите гайку на 1/2 оборота (Рисунок 33).
-
Повторите эту процедуру на другой стороне режущего блока.
-
Регулировка контакта неподвижного ножа и барабана
Обслуживание валика
Для обслуживания валика предусмотрены ремонтный комплект валика (номер по каталогу 114-5430) и набор инструментов для ремонта валика (номер по каталогу 115-0803) (Рисунок 37). Ремонтный комплект валика включает в себя все подшипники, гайки подшипника, внутренние и внешние уплотнения для ремонта валика. Набор инструментов для ремонта валика включает в себя все инструменты и инструкции, необходимые для ремонта валика с помощью ремонтного комплекта. См. каталог запасных частей для вашей машины или свяжитесь с официальным дистрибьютором компании Toro для получения помощи.



которые
имеют следующее
значение: «Осторожно!»,
«Внимание!» или
«Опасно!» – указания
по обеспечению
личной безопасности.
Несоблюдение данных
инструкций может
стать причиной
травмы или гибели.



















