Údržba
Použití nohou ovládaného stojanu při naklápění žací jednotky
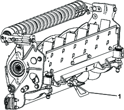
Kdykoli potřebujete žací jednotku naklopit a získat tak přístup k plochému noži či vřetenu, podepřete zadní stranu žací jednotky nohou ovládaným stojanem (je dodáván s hnací jednotkou) tak, aby matice na zadním konci seřizovacích šroubů držáku plochého nože nespočívaly na pracovním povrchu (Obrázek 23).

Mazání žací jednotky

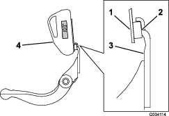
Každá žací jednotka je vybavena 5 maznicemi (Obrázek 24), které je třeba pravidelně promazávat mazivem č. 2 na bázi lithia.
Místa mazání jsou na předním válci (2), zadním válci (2) a drážce motoru (1).
Note: Mazání žacích jednotek ihned po umytí napomáhá vytlačení vody z ložisek a prodlužuje jejich životnost.
-
Utřete všechny maznice čistým hadrem.
-
Aplikujte mazivo, dokud nezačne čisté mazivo vystupovat z těsnění válce a přetlakového ventilu ložiska.
-
Přebytečné mazivo otřete.
Podbrušování vřetena
Nové vřeteno má šířku krajní plochy 1,3 až 1,5 mm a 30stupňové podbroušení.
Pokud se šířka krajní plochy zvětší nad 3 mm, postupujte následovně:
-
Všechny nože vřetena podbruste na 30° tak, aby byla krajní plocha široká 1,3 mm (Obrázek 25).

-
Rotačně zabruste vřeteno tak, aby byla zajištěna házivost vřetena menší než 0,025 mm.
Note: Tím dojde k mírnému zvětšení šířky krajní plochy.
Note: Chcete-li zvýšit životnost ostří hrany vřetena a plochého nože – po zabroušení vřetena a/nebo plochého nože – po posečení 2 fervejí znovu zkontrolujte správný kontakt plochého nože a vřetena. Dojde tak k odstranění veškerých otřepů, což může způsobit nesprávnou vzdálenost mezi vřetenem a plochým nožem a tím rychlejší opotřebení.
Údržba plochého nože
Provozní limity plochého nože jsou uvedeny v následující tabulce.
Important: Použití žací jednotky s plochým nožem za provozním limitem může vést k nekvalitnímu vzhledu trávy po sekání a narušení celistvosti konstrukce plochého nože v případě nárazů.
| Tabulka provozních limitů plochého nože | ||||
| Plochý nůž | Objednací číslo | Výška břitu plochého nože* | Provozní limit* | Úhly broušeníHorní/přední úhel |
| Nízká VS (volitelně) | 120-1641 (69 cm)120–1642 (81 cm) | 5,6 mm (0,220 palce) | 4,8 mm (0,190 palce) | 10/5 stupňů |
| EdgeMax® (volitelně) | 112-8910 (69 cm)112-8956 (81 cm) | 6,9 mm (0,270 palce) | 4,8 mm | 10/5 stupňů |
| Standardní (z výroby) | 114-9388 (69 cm)114-9389 (81 cm) | 6,9 mm | 4,8 mm | 10/5 stupňů |
| Se zvýšenou odolností (volitelně) | 114-9390 (69 cm)114-9391 (81 cm) | 9,3 mm | 4,8 mm | 10/5 stupňů |

Note: Všechny hodnoty provozních limitů plochého nože se vztahují ke spodnímu okraji plochého nože (Obrázek 27).

Kontrola úhlu horního zbroušení
Velmi důležitý je úhel, pod kterým zabrušujete své ploché nože.
Použitím ukazatele úhlu (číslo dílu Toro 131-6828) a držáku ukazatele úhlu (číslo dílu Toro 131-6829) zkontrolujte úhel své brusky a následně správně upravte veškeré nepřesné nastavení brusky.
-
Umístěte ukazatel úhlu na spodní stranu plochého nože, viz Obrázek 28.

-
Stiskněte tlačítko Alt Zero“ na ukazateli úhlu.
-
Umístěte držák ukazatele úhlu na hranu plochého nože tak, aby hrana magnetu byla spojená s okrajem plochého nože (Obrázek 29).
Note: Digitální displej by měl být vidět ze stejné strany během tohoto kroku, stejně, jako v kroku 1.

-
Umístěte ukazatel úhlu na držák, viz Obrázek 29.
Note: To je úhel vaší brusky, jenž by měl být v rozmezí 2 stupňů doporučeného horního zbroušení.
Údržba držáku plochého nože
Demontáž držáku plochého nože
-
Otočením seřizovacích šroubů držáku plochého nože proti směru hodinových ručiček posuňte plochý nůž dále od vřetena (Obrázek 30).

-
Vyšroubujte matici pro napnutí pružiny, aby pružina netlačila podložku k držáku plochého nože (Obrázek 30).
-
Na obou stranách stroje povolte pojistnou matici zajišťující šroub držáku plochého nože (Obrázek 31).

-
Demontujte jednotlivé šrouby držáku plochého nože, aby bylo možné stáhnout držák plochého nože dolů a sejmout jej ze šroubu stroje (Obrázek 31). Počítejte se 2 nylonovými a 1 raženou ocelovou podložkou na obou koncích držáku plochého nože (Obrázek 32).

Montáž držáku plochého nože
-
Namontujte držák plochého nože; montážní výstupky přitom umístěte mezi podložku a seřizovací prvek držáku plochého nože.
-
Upevněte držák plochého nože k oběma bočním deskám pomocí šroubů držáku plochého nože (s maticemi na šroubech) a 6 podložek.
-
Umístěte nylonovou podložku na obě strany výčnělku boční desky.
-
Na vnější stranu nylonových podložek umístěte ocelovou podložku (Obrázek 32).
Note: Šrouby držáku plochého nože utáhněte na utahovací moment 37 až 45 Nm. Utáhněte pojistné matice, dokud se vnější ocelová podložka nepřestane otáčet a vůle nezmizí, avšak nepřetahujte, aby nedošlo k vychýlení bočních desek. U podložek uvnitř může vzniknout mezera.
-
Utáhněte matici pro napnutí pružiny, až dojde ke stlačení pružiny, a poté ji povolte o 1/2 otáčky (Obrázek 33).

Montáž plochého nože
-
Z povrchu plochého nože odstraňte korozi a usazeniny a aplikujte na něj tenkou vrstvu oleje.
-
Vyčistěte závity šroubů.
-
Na závity šroubů aplikujte přípravek proti zadírání a namontujte plochý nůž na držák plochého nože následovně (Obrázek 34):

-
Zabruste plochý nůž.
Údržba dvoubodových seřizovacích prvků (DPA) HD
-
Demontujte všechny díly (postupujte podle montážních pokynů k sadě HD DPA (model č. 120–7230) a podle Obrázek 36).
-
Aplikujte přípravek proti zadírání na vnitřní stranu oblasti pouzdra na rámu nosné sestavy žací jednotky (Obrázek 36).
-
Vyrovnejte klíny na přírubových pouzdrech s drážkami v rámu a nasaďte pouzdra (Obrázek 36).
-
Nasaďte vlnitou podložku na dřík seřizovacího prvku a dřík zasuňte do přírubového pouzdra v rámu žací jednotky (Obrázek 36).
-
Upevněte dřík seřizovacího prvku pomocí ploché podložky a pojistné matice (Obrázek 36). Utáhněte pojistnou matici utahovacím momentem 20 až 27 N·m.
Note: Dřík seřizovacího prvku držáku plochého nože má levotočivý závit.

-
Aplikujte přípravek proti zadírání na závity seřizovacího šroubu držáku plochého nože, jež bude zaveden do dříku seřizovacího prvku.
-
Našroubujte seřizovací šroub držáku plochého nože do dříku seřizovacího prvku.
-
Volně nasaďte tvrzenou podložku, pružinu a matici pro stlačení pružiny na seřizovací šroub.
-
Namontujte držák plochého nože; montážní výstupky přitom umístěte mezi podložku a seřizovací prvek držáku plochého nože.
-
Upevněte držák plochého nože k oběma bočním deskám pomocí šroubů držáku plochého nože (s maticemi na šroubech) a 6 podložek.
Note: Umístěte nylonovou podložku na obě strany výčnělku boční desky. Na vnější stranu nylonových podložek umístěte ocelovou podložku (Obrázek 36). Šrouby držáku plochého nože utáhněte na utahovací moment 27 až 36 Nm. Utáhněte pojistné matice, dokud se vnější ocelová podložka nepřestane otáčet a vůle nezmizí, avšak nepřetahujte, aby nedošlo k vychýlení bočních desek. U podložek uvnitř může vzniknout mezera (Obrázek 32).
-
Utáhněte matici na obou koncích sestavy seřizovacího prvku držáku plochého nože, dokud nebude pružina zcela stlačena, a poté matici povolte o 1/2 otáčky (Obrázek 33).
-
Uvedený postup zopakujte i na opačné straně žací jednotky.
-
Proveďte seřízení plochého nože a vřetena.
Údržba válce
Pro údržbu válce je k dispozici Sada pro opravu válce (objednací číslo 114–5430) a Sada nástrojů pro opravu válce (objednací číslo 115–0803) (Obrázek 37). Sada pro opravu válce obsahuje všechna ložiska, matice ložisek, vnitřní a vnější těsnění nutné k opravě válce. Sada nástrojů pro opravu válce obsahuje všechny nástroje a montážní pokyny nutné pro opravu válce pomocí sady pro opravu. Informace najdete v katalogu dílů nebo se obraťte na autorizovaného distributora Toro a vyžádejte si další podporu.



, který znamená
Upozornění, Výstrahu nebo Nebezpečí
– pokyny k zajištění osobní
bezpečnosti. Nedodržení těchto pokynů
může mít za následek zranění
osob nebo jejich usmrcení.



















