| Servisní interval | Postup při údržbě |
|---|---|
| Při každém použití nebo denně |
|
Tato rotační, ručně vedená sekačka na trávu je vhodná pro soukromé majitele pozemků. Je určena primárně k sečení trávy na dobře udržovaných trávnících soukromých pozemků. Používání tohoto výrobku pro jiné účely, než ke kterým je určen, může být nebezpečné uživateli a okolostojícím.
Přečtěte si pečlivě následující informace, abyste věděli, jak máte správně používat a pečovat o svůj výrobek a jak se vyhnout zranění a poškození výrobku. Za správný a bezpečný provoz výrobku nese odpovědnost majitel.
Více informací naleznete na stránce www.Toro.com včetně bezpečnostních pokynů, podkladů pro školení a informací o příslušenství. Můžete zde také vyhledat prodejce výrobků nebo zaregistrovat svůj výrobek.
Kdykoli budete potřebovat servis, originální díly Toro nebo doplňující informace, obraťte se na autorizované servisní středisko nebo zákaznický servis Toro a uveďte model a výrobní číslo svého výrobku. Obrázek 1 znázorňuje umístění typového a sériového čísla na výrobku. Vepište sériové číslo do příslušného pole.
Important: Potřebujete-li informace o záruce, náhradních dílech a jiných údajích o výrobku, můžete pomocí mobilního telefonu naskenovat QR kód na štítku sériového čísla (je-li k dispozici).

Tato příručka identifikuje potenciální rizika a obsahuje bezpečnostní sdělení označená varovným bezpečnostním symbolem (Obrázek 2) signalizujícím riziko, které může způsobit vážný úraz nebo usmrcení, nebudete-li dodržovat doporučená opatření.

V této příručce jsou pro zdůraznění informací používána dvě slova. Důležité upozorňuje na speciální technické informace a Poznámka zdůrazňuje obecné informace, které stojí za zvláštní pozornost.
Tento výrobek splňuje všechny relevantní směrnice Evropské unie. Podrobné informace naleznete v Prohlášení o shodě k tomuto výrobku.
Hrubý nebo čistý točivý moment: Hrubý nebo čistý točivý moment tohoto motoru byl laboratorně stanoven výrobcem motoru v souladu se specifikacemi SAE (Society of Automotive Engineers, Asociace automobilových inženýrů) J1940 a J2723. V souladu s bezpečnostními, emisními a provozními požadavky byl efektivní točivý moment motoru u sekačky této třídy nastaven na výrazně nižší hodnotu. Prostudujte si příručku výrobce motoru dodávanou se strojem.
Nemanipulujte s bezpečnostními zařízeními na stroji, nevypínejte je a pravidelně kontrolujte jejich funkci. Nepokoušejte se nastavovat nebo upravovat regulátor otáček motoru. Mohou tak vzniknout nebezpečné provozní podmínky, což může vést ke zranění.
Tento stroj byl vyroben v souladu s normou EN ISO 5395.
Tento výrobek může amputovat ruce a nohy a odmršťovat předměty. Dodržujte vždy všechny bezpečnostní pokyny, abyste zamezili vážnému úrazu.
Před nastartováním motoru si prostudujte pokyny a upozornění uvedené v provozní příručce, na stroji a na přídavných zařízeních a řiďte se jimi.
Udržujte ruce a nohy v dostatečné vzdálenosti od rotujících částí stroje a nedávejte je pod stroj. Zdržujte se v bezpečné vzdálenosti od všech vyhazovacích otvorů.
Nikdy neprovozujte stroj, pokud nejsou všechny jeho kryty ve správné poloze nebo pokud nejsou řádně funkční další bezpečnostní ochranná zařízení.
Přihlížející osoby a děti se musí zdržovat mimo pracovní prostor. Nikdy nedovolte dětem stroj obsluhovat. Stroj mohou obsluhovat pouze osoby, které jsou zodpovědné, k tomu proškolené, obeznámené s pokyny a fyzicky způsobilé.
Před prováděním údržby, doplňováním paliva nebo uvolňováním ucpaného materiálu zastavte stroj, vypněte motor a počkejte, dokud se nezastaví všechny pohyblivé součásti.
Nesprávné používání
nebo údržba této sekačky mohou vést
ke zranění. Z důvodu snížení
možného rizika zranění dodržujte
tyto bezpečnostní pokyny a vždy věnujte
pozornost výstražnému symbolu
, který označuje
upozornění, výstrahu nebo nebezpečí
– pokyny k zajištění osobní
bezpečnosti. Nedodržení těchto pokynů
může mít za následek zranění
osob nebo jejich usmrcení.
![]() |
Bezpečnostní štítky a pokyny jsou umístěny na místě viditelném obsluhou a v blízkosti každého prostoru představujícího potenciální nebezpečí. V případě ztráty nebo poškození původní nálepky nahraďte nálepku novou. |





Important: Sejměte a zlikvidujte ochrannou plastovou fólii, která zakrývá motor, i všechny další plastové nebo obalové materiály na stroji.
Nesprávným složením a rozložením rukojeti se mohou poškodit kabely, což může způsobit nebezpečí při provozu.
Při skládání nebo rozkládání rukojeti nepoškoďte kabely.
Je-li lanko poškozené, kontaktujte autorizované servisní středisko.
Povolte knoflíky rukojeti (Obrázek 3).

Opatrně posunujte horní částí rukojeti směrem dopředu, dokud obě části rukojeti nejsou v jedné rovině, jak je patrné na obrázku Obrázek 4.

Pevně utáhněte rukou knoflíky rukojeti.
Otáčejte rukojetí směrem dozadu do provozní polohy a zajistěte rukojeť v požadované výšce. Viz Rozložení rukojeti.
Important: Aby bylo při každém použití stroje možné bezpečně a snadno spouštět jeho motor, je třeba nainstalovat lanko ručního startéru do vodiče lanka.

Important: Je-li hladina oleje v klikové skříni příliš nízká nebo příliš vysoká a vy spustíte motor, můžete ho tím poškodit.



| Model | Hmotnost | Délka | Šířka | Výška |
| 21680 | 36.7 kg | 152 cm | 53 cm | 109 cm |
| (81 lb) | (60 palců) | (21 palců) | (43 palců) |
Note: Levou a pravou stranu stroje určete z normálního místa obsluhy.
Před seřizováním, údržbou, čištěním nebo skladováním stroj vždy vypínejte, počkejte, dokud se nezastaví všechny pohyblivé součásti, a nechejte jej vychladnout.
Dobře se seznamte s bezpečným použitím zařízení, ovládacími prvky a významem bezpečnostních nápisů.
Vždy se přesvědčte, zda jsou všechny ochranné kryty a bezpečnostní prvky, jako například deflektory a sběrací koš, na svém místě a správně fungují.
Vždy kontrolujte stroj a přesvědčte se, zda žací nože šrouby žacího nože nejsou opotřebené nebo poškozené.
Zkontrolujte prostor, kde budete stroj používat, a odstraňte všechny předměty, jež mohou bránit provozu stroje nebo jež mohou být strojem vymrštěny.
Kontakt s pohybujícím se žacím nožem může způsobit vážné zranění. Při nastavování výšky sekání nestrkejte prsty pod kryt.
Palivo je extrémně hořlavé a vysoce výbušné. Požár nebo výbuch způsobený palivem může popálit vás i jiné osoby a způsobit škody na majetku.
Aby nedošlo ke vznícení paliva od statického náboje, položte před tankováním nádobu s palivem nebo sekačku přímo na zem, nikoli na vozidlo nebo jiný předmět.
Palivo doplňujte do nádrže venku na otevřeném prostranství a při studeném motoru. Rozlité palivo utřete.
Nemanipulujte s palivem v blízkosti otevřeného ohně či jisker, nebo když kouříte.
Nikdy neodstraňujte uzávěr nádrže ani nedoplňujte palivo při spuštěném motoru nebo je-li motor horký.
Pokud rozlijete palivo, nepokoušejte se spustit motor. Dokud se neodpaří palivové výpary, zabraňte vzniku jiskření.
Palivo skladujte ve schválených nádobách a odstraňte je z dosahu dětí.
Požití paliva může vést k vážnému zranění nebo úmrtí. Dlouhodobý styk s výpary může způsobit vážné újmy na zdraví a onemocnění.
Vyhýbejte se delšímu vdechování výparů.
Ruce ani obličej nepřibližujte k trysce a otvoru palivové nádrže.
Dávejte pozor, aby vám palivo nevniklo do očí a nedostalo se do kontaktu s pokožkou.
Nejlepších výsledků dosáhnete, když budete používat pouze čistý, čerstvý bezolovnatý benzín s oktanovým číslem kolem 87 nebo vyšším (metoda stanovení (R+M)/2).
Přijatelná jsou i okysličená paliva až s 10 % etanolu nebo 15 % MTBE.
Nepoužívejte etanolové směsi benzínu, např. E15 nebo E85 s více než 10 % etanolu. Pokud tyto směsi použijete, můžete snížit výkon motoru či jej poškodit, na což se nevztahuje záruka.
Nepoužívejte benzín obsahující metanol.
Neuchovávejte palivo přes zimu v palivové nádrži nebo nádobách na palivo, aniž byste do něj přidali stabilizátor paliva.
Nepřidávejte do benzínu olej.
Natankujte do nádrže čerstvý normální bezolovnatý benzín ze značkové čerpací stanice (Obrázek 9).
Important: Abyste předešli problémům při startování, do čerstvého paliva přidejte určité množství stabilizačního aditiva paliva podle pokynů výrobce stabilizátoru paliva.
Dodatečné informace naleznete v návodu k obsluze motoru.

| Servisní interval | Postup při údržbě |
|---|---|
| Při každém použití nebo denně |
|
Important: Je-li hladina oleje v klikové skříni příliš nízká nebo příliš vysoká a vy spustíte motor, můžete ho tím poškodit.

Rukojeť musíte zvednout nebo spustit dolů do polohy pohodlné pro Vaši práci.
Otočte pojistkou rukojeti, posuňte rukojeť do jedné ze tří poloh a zajistěte rukojeť ve vybrané poloze (Obrázek 11).

Nastavte výšku sekání podle potřeby. Nastavte všechny páky pro nastavení výšky sečení do stejné výšky. Chcete-li zvýšit nebo snížit stroj, viz Obrázek 12.

Important: Nastavení výšky sekání je 25 , 38 mm, 51 mm, 64 mm, 83 mm, mm, 95 mm a 108 mm.
Používejte vhodné oblečení a pomůcky, včetně ochranných brýlí, dlouhých kalhot, pevné protiskluzové obuvi a chráničů sluchu. Svažte si dlouhé vlasy a nenoste volný oděv či volně se pohybující šperky.
Při práci se strojem věnujte jeho provozu maximální pozornost. Neprovádějte žádné činnosti, jež by mohly vaši pozornost odvádět. V takovém případě by mohlo dojít ke zranění nebo poškození majetku.
Stroj neobsluhujte, jste-li nemocní, unaveni nebo pod vlivem alkoholu nebo drog.
Žací nůž je ostrý; při kontaktu s nožem může dojít k vážnému poranění. Před opuštěním provozní pozice vypněte motor a počkejte, dokud se všechny pohyblivé součásti nezastaví.
Po uvolnění ovládací tyče žacího nože by se motor i žací nůž měly do 3 sekund zastavit. Pokud se nezastaví, přestaňte sekačku okamžitě používat a kontaktujte autorizované servisní středisko.
Ostatní osoby se musejí zdržovat v bezpečné vzdálenosti od pracovního prostoru. Malé děti se musejí zdržovat v bezpečné vzdálenosti od provozního prostoru a musejí být pod stálým dohledem zodpovědné dospělé osoby, která stroj neobsluhuje. Pokud někdo do tohoto prostoru vstoupí, stroj zastavte.
Před rozjetím se strojem vzad se vždy podívejte dolů a za sebe.
Pracujte se strojem jen za dobré viditelnosti a za dobrého počasí. Nepracujte se strojem, pokud hrozí nebezpečí zásahu bleskem.
Na mokré trávě nebo listí můžete uklouznout, dostat se do kontaktu s žacím nožem a způsobit si vážné zranění. Nesekejte za mokrých podmínek.
Buďte velmi opatrní, blížíte-li se k nepřehledným zatáčkám, křovinám, stromům nebo jiným objektům, které vám mohou bránit ve výhledu.
Nesměřujte výhoz posekané trávy na nějakou osobu. Vyvarujte se vyhazování materiálu proti zdi nebo jiné překážce. Materiál se může odrážet zpět na vás. Před přejížděním štěrkových povrchů zastavte žací nůž (nože).
Dávejte pozor na díry, vyjeté koleje, hrboly, kameny nebo jiné skryté objekty. Na nerovném terénu můžete ztratit rovnováhu či stabilní postoj.
Pokud sekačka narazí na tvrdý předmět nebo začne vibrovat, okamžitě vypněte motor, počkejte, dokud se nezastaví všechny pohyblivé součásti, odpojte koncovku zapalovací svíčky a zkontrolujte, zda stroj není poškozený. Před obnovením provozu proveďte všechny nezbytné opravy.
Než opustíte provozní pozici, vypněte motor a počkejte, až se všechny pohybující se části zastaví.
Pokud byl spuštěný motor, bude horký a může způsobit vážné popálení. Nepřibližujte se k teplému motoru.
Motor nechejte pracovat jen v dobře větraném prostoru. Výfukové plyny obsahují oxid uhelnatý, který má při vdechnutí smrtelné účinky.
Pravidelně kontrolujte, zda součásti sběracího koše a vyhazovací kanál nejsou opotřebené či poškozené, a v případě potřeby je vyměňte za originální náhradní díly Toro.
Sekejte podél svahu, nikdy nahoru a dolů. Při změně směru na svahu buďte mimořádně opatrní.
Nesekejte na příliš strmých svazích. Špatný postoj nebo špatná pozice při sekání mohou být příčinou uklouznutí a pádu.
Sekejte opatrně v blízkosti prudkých svahů, příkopů nebo náspů.
Přidržte ovládací tyč žacího nože u držadla (A, viz Obrázek 13).
Zlehka zatáhněte za rukojeť ručního startéru, dokud neucítíte odpor; poté za ni prudce zatáhněte a pomalu ji nechejte vrátit na vodič lanka na rukojeti (B, viz Obrázek 13).


Note: Jestliže se sekačka nenastartuje ani po několika pokusech, obraťte se na autorizované servisní středisko.
V případě použití ručního pohonu se jednoduše pohybujte volnou chůzí a tlačte stroj před sebou, s rukama na horním držadle a s lokty u těla (Obrázek 14).

Note: Pokud se stroj nepohybuje volně zpět po práci s ručním pohonem, zastavte se, přidržte ruce na místě a nechejte stroj popojet několik centimetrů dopředu, aby došlo k odpojení pohonu kol. Můžete také zkusit dosáhnout na kovovou rukojeť těsně pod horní rukojetí a zatlačit stroj několik centimetrů dopředu. Pokud se stroj stále nepohybuje vzad volně, obraťte se na autorizované servisní středisko.
Pomocí trakční rukojeti (Obrázek 15) můžete svýma rukama ovládat rychlost stroje, nikoli rychlostí své chůze. To je užitečné při prudkém otáčení a sečení proti svahu, kde nejste schopni pohybovat strojem svépomocí. Rukojeť je také užitečná pro sečení při maximální rychlosti.

Natáhněte prsty a uchopte rohy trakční rukojeti (Obrázek 16).

Přitáhněte 2 rukojeti k sobě natolik, abyste dosáhli požadované pojezdové rychlosti.
Trakční rukojeť uvolněte, pokud ji už nepotřebujete.
Important: Stroj bude nadále ručně poháněn, dokud neuvolníte trakční rukojeť a nezastavíte chůzi.
| Servisní interval | Postup při údržbě |
|---|---|
| Při každém použití nebo denně |
|
Chcete-li vypnout motor, uvolněte ovládací tyč žacího nože.
Important: Po uvolnění ovládací tyče žacího nože by se motor i nůž měly do 3 sekund zastavit. Pokud se řádně nezastaví, přestaňte sekačku okamžitě používat a kontaktujte autorizované servisní středisko.
Stroj je podle továrního nastavení schopen vtlačovat jemně posekanou trávu a listí zpět do trávníku.
Note: Při mulčování může sběrací koš zůstat připevněný na stroji.
Pro funkci mulčování přesuňte páku nastavitelného koše do polohy MULčOVáNí (Obrázek 17).

Pro sběr posekané trávy a listí z trávníku použijte sběrací koš.
Z opotřebeného sběracího koše mohou odlétávat drobné kamínky a jiné podobné úlomky směrem k vám a okolostojícím osobám a způsobit vážné zranění nebo smrt.
Pravidelně sběrací koš kontrolujte. Je-li poškozený, vyměňte jej za nový sběrací koš Toro.
Žací nůž je ostrý; při kontaktu s nožem může dojít k vážnému poranění.
Před opuštěním provozní pozice vypněte motor a počkejte, dokud se všechny pohyblivé součásti nezastaví.
Vypněte motor a počkejte, dokud se všechny pohyblivé součásti nezastaví.
Namontujte sběrací koš (viz Připevnění sběracího koše) a přesuňte páku nastavitelného koše do polohy SBěRU TRáVY, jak znázorňuje Obrázek 17.
Vypněte motor a počkejte, dokud se všechny pohyblivé součásti nezastaví.
Zvedněte a podržte zadní deflektor, vsaďte sběrací koš do drážek a spusťte zadní deflektor dolů (Obrázek 18).

Vypněte motor a počkejte, dokud se všechny pohyblivé součásti nezastaví.
Zvedejte sběrací koš nahoru a směrem od rukojeti.
Note: Nakloňte sběrací koš mírně dozadu, aby sesbíraná tráva nevypadávala ven.
Při sekání velmi vysoké trávy použijte zadní vyhazovací otvor.
Note: Je-li na stroji sběrací koš, před vyndáváním posekané trávy zadem jej sejměte (viz část Vyjmutí sběracího koše). Páka nastavitelného sběracího koše by měla být v poloze SBěRU TRáVY, jak znázorňuje Obrázek 17.
Žací nůž je ostrý; při kontaktu s nožem může dojít k vážnému poranění.
Před opuštěním provozní pozice vypněte motor a počkejte, dokud se všechny pohyblivé součásti nezastaví.
Zkontrolujte prostor, kde budete stroj používat, a odstraňte všechny předměty, jež mohou být strojem vymrštěny.
Zabraňte kontaktu žacího nože s tvrdými předměty. Nikdy záměrně nepřejíždějte sekačkou přes žádný předmět.
Pokud sekačka narazí na tvrdý předmět nebo začne vibrovat, okamžitě vypněte motor, vytáhněte klíč (dle výbavy), odpojte koncovku zapalovací svíčky a zkontrolujte, zda stroj není poškozený.
Pro dosažení maximální výkonnosti namontujte před začátkem sezóny nový žací nůž.
V případě potřeby vyměňte žací nůž za náhradní nůž Toro.
Sekejte najednou vždy pouze asi třetinu výšky trávy. Nenastavujte výšku na méně než 51 mm, pokud tráva není řídká nebo pokud není pozdní podzim, kdy se růst trávy zpomaluje.
Při sekání trávy vyšší než 15 cm nastavte maximální výšku sekání a pohybujte se pomaleji; potom sekání zopakujte s menší nastavenou výškou pro co možná nejlepší vzhled trávníku. Je-li tráva příliš vysoká, může se sekačka ucpat a motor se zastaví.
Mokrá tráva a listí mají tendenci tvořit chomáče a mohou ucpat sekačku nebo zastavit motor. Nesekejte za mokrých podmínek.
Za velkého sucha dávejte pozor na riziko vzniku požáru, dodržujte všechny místní protipožární pokyny a odstraňujte ze stroje zbytky suché trávy a listí.
Střídejte směr sekání. Pomáhá to rozptylovat posekanou trávu po trávníku a dosáhnout rovnoměrného hnojení.
Pokud výsledný vzhled trávníku není uspokojivý, vyzkoušejte následující:
Vyměňte žací nůž nebo jej nechte nabrousit.
Pohybujte se při sekání pomaleji.
Nastavte na stroji větší výšku sekání.
Sekejte trávu častěji.
Postupujte v překrývajících se pruzích místo plných pruhů při každém průchodu.
Dbejte na to, aby po sekání tráva polovinou své výšky přesahovala vrstvu listí. Možná budete muset přejet sekačkou přes listí vícekrát.
Pokud vrstva listí na trávníku přesahuje 13 cm, sekejte s větší výškou sekání a poté nastavte požadovanou výšku sekání.
Pokud sekačka neseká listy dostatečně na jemno, zpomalte.
Před seřizováním, údržbou, čištěním nebo skladováním stroj vždy vypínejte, počkejte, dokud se nezastaví všechny pohyblivé součásti, a nechejte jej vychladnout.
Aby nedošlo k požáru, odstraňte ze stroje trávu a nečistoty. Místa potřísněná uniklým olejem nebo palivem vždy očistěte.
Nikdy neskladujte stroj nebo nádobu s palivem v blízkosti otevřeného ohně, zdroje jisker nebo tepla, například ohřívače vody a jiných zařízení.
Při nakládání a vykládání stroje buďte opatrní.
Zabezpečte stroj tak, aby se nemohl pohybovat.
| Servisní interval | Postup při údržbě |
|---|---|
| Při každém použití nebo denně |
|
Pro dosažení nejlepších výsledků stroj co nejdříve po dokončení sekání vyčistěte.
Spusťte stroj dolů do nejnižší výšky sekání. Viz Nastavení výšky sekání.
Umístěte stroj na rovnou plochu.
Připevněte zahradní hadici napojenou na zdroj vody k proplachovacímu otvoru (Obrázek 19).

Pusťte vodu.
Nastartujte motor a nechejte jej běžet, dokud zpod stroje nepřestanou vycházet zbytky trávy.
Vypněte motor.
Zastavte vodu a odpojte zahradní hadici od stroje.
Nastartujte motor a nechte jej několik minut běžet, aby mohla vyschnout spodní strana sekačky.
Vypněte motor a nechejte stroj vychladnout.
Nesprávným složením a rozložením rukojeti se mohou poškodit kabely, což může způsobit nebezpečí při provozu.
Při skládání nebo rozkládání rukojeti nepoškoďte kabely.
Je-li lanko poškozené, kontaktujte autorizované servisní středisko.
| Servisní interval | Postup při údržbě |
|---|---|
| Po prvních 5 hodinách |
|
| Při každém použití nebo denně |
|
| Po každých 100 hodinách provozu |
|
| Každý rok |
|
| Každý rok nebo před uskladněním |
|
Important: Další pokyny k postupům údržby naleznete v návodu k obsluze motoru.
Před prováděním údržby odpojte koncovku zapalovací svíčky.
Při údržbě stroje používejte rukavice a ochranné brýle.
Žací nůž je ostrý; při kontaktu s nožem může dojít k vážnému poranění. Při manipulaci se žacím nožem používejte rukavice. Nesnažte se nože opravovat nebo upravovat.
Nikdy nemanipulujte s bezpečnostními zařízeními. Pravidelně kontrolujte jejich řádný provoz.
Naklonění stroje může způsobit vytékání paliva. Palivo je hořlavé a výbušné a může způsobit zranění. Spotřebujte palivo provozem nebo je odčerpejte ručním čerpadlem; nikdy ne násoskou.
K zajištění optimální výkonnosti stroje je nutné používat pouze originální náhradní díly a příslušenství od společnosti Toro. Náhradní díly a příslušenství jiných výrobců mohou být nebezpečné a jejich použití může mít za následek zneplatnění záruky.
Vypněte motor a počkejte, dokud se všechny pohyblivé součásti nezastaví.
Odpojte kabel zapalovací svíčky (Obrázek 22).

Jakmile dokončíte údržbu, připojte koncovku zpět k zapalovací svíčce.
Important: Abyste stroj mohli naklonit kvůli výměně oleje nebo žacího nože, spotřebujte nejprve během normálního provozu palivo v nádrži. Je-li nezbytné naklonit stroj před spotřebováním paliva, odčerpejte palivo ručním palivovým čerpadlem. Naklánějte sekačku na stranu vždy tak, aby měrka oleje byla dole.
| Servisní interval | Postup při údržbě |
|---|---|
| Každý rok |
|
Zatlačte na zajišťovací výstupky na horní části krytu vzduchového filtru (Obrázek 23).

Otevřete kryt.
Vyjměte papírový vzduchový filtr a pěnový předběžný filtr (Obrázek 23).
Zkontrolujte pěnový předběžný filtr a vyměňte jej, pokud bude poškozený nebo nadměrně znečištěný.
Zkontrolujte papírový vzduchový filtr.
Je-li vzduchový filtr poškozen nebo je navlhčen olejem nebo palivem, vyměňte jej.
Pokud je vzduchový filtr znečištěný, několikrát s ním poklepejte na tvrdou plochu nebo jej ze strany, která směřuje k motoru, profoukněte stlačeným vzduchem o tlaku nižším než 207 kPa.
Note: Nesnažte se vykartáčovat nečistoty z filtru, kartáčováním by se nečistoty zatlačily do vláken.
K odstranění nečistot z tělesa vzduchového filtru a krytu použijte vlhký hadr.
Important: Neutírejte nečistoty směrem do vzduchového vedení.
Do vzduchového filtru nainstalujte pěnový předřadný filtr a papírový vzduchový filtr.
Upevněte kryt.
| Servisní interval | Postup při údržbě |
|---|---|
| Po prvních 5 hodinách |
|
| Každý rok |
|
Note: Několik minut před výměnou oleje spusťte motor, aby se olej zahřál. Zahřátý olej má lepší viskozitu a odnáší více nečistot.
| Množství motorového oleje | 0,55 l |
| Viskozita oleje | detergentní olej SAE 30 nebo SAE 10W-30 |
| API klasifikace | SJ nebo vyšší |
Umístěte sekačku na rovnou plochu.
Viz Příprava na údržbu.
Otáčením uzávěru doleva a jeho vytažením vyjměte měrku hladiny oleje (Obrázek 24).

Nakloňte stroj na stranu (vzduchový filtr musí směřovat nahoru) a nechte vytéct olej plnicí trubicí (Obrázek 24).

Po vypuštění vyjetého oleje umístěte stroj znovu do provozní polohy.
Prostřednictvím plnicí trubice opatrně nalijte olej v množství přibližně ¾ objemu motoru.
Počkejte 3 minuty, než se olej v motoru usadí.
Otřete měrku hladiny oleje čistým hadříkem.
Zasuňte měrku do olejové plnicí trubice, avšak nezašroubovávejte ji. Poté měrku vytáhněte.
Odečtěte výšku hladiny oleje na měrce (Kontrola hladiny motorového oleje).
Pokud je hladina oleje na měrce příliš nízká, opatrně do plnicí trubice doplňte malé množství oleje, vyčkejte 3 minuty a opakujte kroky 8 až 10, dokud nebude dosaženo správné hladiny oleje na měrce.
Je-li hladina oleje příliš vysoká, vypusťte přebytečný olej, aby bylo dosaženo správné výšky oleje na měrce.
Important: Pokud spustíte motor s příliš nízkou nebo vysokou hladinou motorového oleje, můžete ho poškodit.
Zasuňte měrku pevně do plnicí trubice oleje.
Olej předejte k recyklaci podle platných předpisů.
| Servisní interval | Postup při údržbě |
|---|---|
| Po každých 100 hodinách provozu |
|
Použijte zapalovací svíčku Champion RN9YC nebo rovnocenný typ.
Vypněte motor a počkejte, dokud se všechny pohyblivé součásti nezastaví.
Odpojte koncovku zapalovací svíčky (Obrázek 22).
Vyčistěte okolí zapalovací svíčky.
Vytáhněte svíčku z hlavy válce.
Important: Prasklou, zanesenou nebo znečištěnou svíčku vyměňte. Nečistěte elektrody, protože nečistoty pronikající do válce by mohly poškodit motor.
Mezeru mezi elektrodami svíčky nastavte na 0,76 mm, jak znázorňuje Obrázek 26.

Namontujte zapalovací svíčku.
Utáhněte zapalovací svíčku na 20 N·m.
Připojte koncovku zapalovací svíčky ke svíčce.
| Servisní interval | Postup při údržbě |
|---|---|
| Každý rok |
|
Important: Pro správné namontování žacího nože budete potřebovat momentový klíč. Pokud nemáte momentový klíč nebo si provedením montáže nejste jistí, kontaktujte autorizované servisní středisko.
Po každém spotřebování paliva zkontrolujte žací nůž. Je-li žací nůž poškozený nebo prasklý, okamžitě jej vyměňte. Pokud ostří žacího nože je tupé nebo má vruby, nechte je nabrousit a vyvážit, nebo je vyměňte.
Žací nůž je ostrý; při kontaktu s nožem může dojít k vážnému poranění.
Při manipulaci se žacím nožem používejte rukavice.
Viz Příprava na údržbu.
Nakloňte stroj ke straně tak, aby vzduchový filtr směřoval nahoru.
K zajištění žacího nože použijte dřevěný špalek (Obrázek 27).

Sundejte žací nůž a uložte si veškeré upevňovací součástky (Obrázek 27).
Namontujte nový žací nůž a všechny upevňovací součástky (Obrázek 28).

Important: Zakřivené konce žacího nože musí směřovat ke krytu stroje.
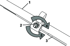
Momentovým klíčem utáhněte upevňovací šroub žacího nože na utahovací moment 82 N·m.
Important: Při použití momentu 82 N·m je šroub pevně utažen. Zajistěte žací nůž dřevěným špalkem a utahovákem nebo klíčem šroub pevně utáhněte. Přetáhnout šroub je velmi obtížné.
Při každé instalaci nového lanka ručního pohonu nebo v případě, že ruční pohon není správně seřízen, proveďte jeho seřízení.
Nastavení lanka povolte otáčením seřizovací matice proti směru hodinových ručiček (Obrázek 29).


Napnutí lanka (Obrázek 29) nastavte jeho zatažením dozadu nebo posunutím dopředu a jeho zajištěním v dané poloze.
Note: Chcete-li tahovou sílu zvýšit, posuňte lanko směrem k motoru; chcete-li tahovou sílu snížit, posuňte lanko směrem od motoru.
Nastavení lanka utáhněte otáčením seřizovací matice ve směru hodinových ručiček.
Note: Pomocí nástrčného klíče nebo obyčejného klíče matici pevně utáhněte.
Stroj uskladněte na chladném, čistém a suchém místě.
Před seřizováním, údržbou, čištěním nebo skladováním stroj vždy vypínejte, počkejte, dokud se nezastaví všechny pohyblivé součásti, a nechejte jej vychladnout.
Při posledním doplňování paliva v roce přidejte do paliva stabilizátor paliva (např. přípravek Toro Premium Fuel Treatment), jak je uvedeno na štítku.
Veškeré nespotřebované palivo řádně zlikvidujte. Palivo recyklujte v souladu s místními předpisy nebo je použijte ve svém automobilu.
Important: Staré palivo v palivové nádrži je hlavní příčinou obtížného startování. Palivo bez stabilizátoru paliva neskladujte déle než 30 dní a stabilizované palivo neskladujte déle, než doporučuje výrobce stabilizátoru paliva.
Nechte stroj pracovat, dokud se palivo nespotřebuje a motor se nezastaví.
Spusťte znovu motor a nechte jej pracovat, dokud se sám nezastaví. Jakmile motor nejde nastartovat, je dostatečně suchý.
Odpojte koncovku zapalovací svíčky a připevněte ji na přídržný kolík (je-li ve výbavě).
Demontujte svíčku, do otvoru pro svíčku nalijte 30 ml motorového oleje a několikrát pomalu zatáhněte za lanko startéru, aby se olej rozprostřel po celém válci a v období mimo sezónu tak ve válci nevznikala koroze.
Namontujte volně zapalovací svíčku.
Utáhněte všechny matice a šrouby.
Zkontrolujte a utáhněte všechny upevňovací součásti.
Vyjměte koncovku zapalovací svíčky a natočte rychle motor zatažením za držadlo ručního startéru, abyste z válce vyhnali přebytečný olej.
Namontujte zapalovací svíčku a utáhněte ji momentovým klíčem na utahovací moment 20 N·m.
Proveďte veškeré postupy údržby; viz .
Zkontrolujte hladinu oleje motoru; viz Kontrola hladiny motorového oleje.
Palivovou nádrž naplňte čerstvým palivem, viz Doplňování paliva do nádrže.
Připojte koncovku kabelu k zapalovací svíčce.