| Intervalo de mantenimiento y servicio | Procedimiento de mantenimiento |
|---|---|
| Cada vez que se utilice o diariamente |
|
Este cortacésped dirigido de cuchillas rotativas está diseñado para ser usado por usuarios domésticos. Está diseñado principalmente para segar césped bien mantenido en zonas verdes residenciales. El uso de este producto para otros propósitos que los previstos podría ser peligroso para usted y para otras personas.
Lea este manual detenidamente para aprender a utilizar y mantener correctamente su producto, y para evitar lesiones y daños al producto. Usted es el responsable de operar el producto de forma correcta y segura.
Visite www.Toro.com para obtener más información, incluidos consejos de seguridad, materiales de formación, información sobre accesorios, ayuda para encontrar a un distribuidor o para registrar su producto.
Cuando necesite asistencia técnica, piezas genuinas Toro o información adicional, póngase en contacto con un Servicio Técnico Autorizado o con Asistencia al Cliente de Toro, y tenga a mano los números de modelo y serie de su producto. Figura 1 identifica la ubicación en el producto de los números de modelo y de serie. Escriba los números en el espacio provisto.
Important: Con su dispositivo móvil, puede escanear el código QR de la pegatina del número de serie (en su caso) para acceder a información sobre la garantía, las piezas, y otra información sobre el producto.

Este manual identifica peligros potenciales y contiene mensajes de seguridad identificados por el símbolo de alerta de seguridad (Figura 2), que señala un peligro que puede causar lesiones graves o la muerte si usted no sigue las precauciones recomendadas.

Este manual utiliza 2 palabras para resaltar información. Importante llama la atención sobre información mecánica especial, y Nota resalta información general que merece una atención especial.
Este producto cumple todas las directivas europeas aplicables; si desea más detalles, consulte la Declaración de Conformidad (Declaration of Conformity – DOC) de cada producto.
Par Bruto o Neto: el par bruto o neto de este motor fue calculada por el fabricante del motor con arreglo a lo estipulado en el documento J1940 o J2723 de la Society of Automotive Engineers (Sociedad de Ingenieros del Automóvil – SAE). Debido a que el motor está configurado para cumplir los requisitos de seguridad, emisiones y operación, su potencia real en este tipo de cortacésped será significativamente menor. Consulte la información del fabricante del motor incluida con la máquina.
No manipule ni desactive los dispositivos de seguridad de la máquina, y compruebe su funcionamiento regularmente. No intente ajustar ni manipular el control de velocidad del motor; si lo hace, puede crear condiciones inseguras que pueden provocar lesiones personales.
Esta máquina ha sido diseñada con arreglo a lo estipulado en la norma EN ISO 5395.
Este producto es capaz de amputar manos y pies y de lanzar objetos al aire. Siga siempre todas las instrucciones de seguridad con el fin de evitar lesiones personales graves.
Antes de arrancar el motor, lea, comprenda y siga las instrucciones y advertencias de este Manual del operador y las que están colocadas en la máquina y en los accesorios.
No coloque las manos o los pies cerca de piezas móviles o debajo de la máquina. No se acerque a los orificios de descarga.
No utilice la máquina si no están colocados y si no funcionan correctamente todos los protectores y dispositivos de seguridad.
Mantenga a otras personas, especialmente a los niños, alejadas del área de operación. No permita que este vehículo sea utilizado por niños. Sólo permita que manejen la máquina personas responsables, formadas, familiarizadas con las instrucciones y físicamente capaces de utilizar la máquina.
Pare la máquina, apague el motor y espere a que se detengan todas las piezas en movimiento antes de realizar tareas de mantenimiento, repostar o eliminar obstrucciones en la máquina.
El uso o mantenimiento incorrecto de esta máquina puede
causar lesiones. Para reducir el peligro de lesiones, siga estas instrucciones
de seguridad y preste atención siempre al símbolo de
alerta de seguridad
, que significa: Cuidado, Advertencia o Peligro–instrucción
relativa a la seguridad personal. El incumplimiento de estas instrucciones
puede dar lugar a lesiones personales o la muerte.
![]() |
Las pegatinas e instrucciones de seguridad están a la vista del operador y están ubicadas cerca de cualquier zona de peligro potencial. Sustituya cualquier pegatina que esté dañada o que falte. |





Important: Retire y deseche la hoja protectora de plástico que cubre el motor, y cualquier otro plástico o envoltura de la máquina.
Si pliega o despliega el manillar de forma incorrecta, pueden dañarse los cables, creando unas condiciones de operación inseguras.
No dañe los cables al plegar o desplegar el manillar.
Si un cable está dañado, póngase en contacto con el Servicio Técnico Autorizado.
Afloje los pomos del manillar (Figura 3).

Mueva con cuidado la sección superior del manillar hacia adelante hasta que las dos mitades del mismo estén alineadas y encajen según se muestra en Figura 4.

Apriete los pomos del manillar firmemente a mano.
Gire el manillar hacia atrás a la posición de operación y bloquee el manillar a la altura deseada. Consulte Desplegado del manillar.
Important: Para arrancar el motor de forma segura y fácil cada vez que utilice la máquina, instale la cuerda de arranque en la guía de la cuerda.

Important: Si el nivel de aceite del motor es demasiado bajo o demasiado alto y usted arranca el motor, puede dañar el motor.



| Modelo | Peso | Longitud | Anchura | Altura |
| 21680 | 36.7 kg | 152 cm | 53 cm | 109 cm |
| (81 libras) | (60") | (21") | (43") |
Note: Los lados derecho e izquierdo de la máquina se determinan desde la posición normal del operador.
Apague siempre la máquina, espere a que se detengan todas las piezas en movimiento y deje que la máquina se enfríe antes de ajustarla, repararla, limpiarla o guardarla.
Familiarícese con la operación segura del equipo, los controles del operador y las señales de seguridad.
Compruebe que todos los protectores y dispositivos de seguridad, como por ejemplo deflectores y/o recogedores, están colocados y que funcionan correctamente.
Inspeccione siempre la máquina para asegurarse de que las cuchillas y los pernos de las cuchillas no están desgastados o dañados.
Inspeccione el área donde se va a utilizar la máquina, y retire cualquier objeto que pudiera interferir con el funcionamiento de la máquina o que pudiera ser arrojado por la máquina.
El contacto con la cuchilla en movimiento causará lesiones graves. No ponga los dedos debajo de la carcasa al ajustar la altura de corte.
El combustible es extremadamente inflamable y altamente explosivo. Un incendio o una explosión provocados por el combustible puede causarle quemaduras a usted y a otras personas así como daños materiales.
Para evitar que una carga estática incendie el combustible, coloque el recipiente y/o la máquina directamente sobre el suelo antes de repostar, no en un vehículo o sobre otro objeto.
Llene el depósito de combustible en el exterior, en una zona abierta y con el motor frío. Limpie cualquier combustible derramado.
No maneje combustible si está fumando, ni cerca de una llama desnuda o chispas.
No retire el tapón de combustible ni añada combustible al depósito si el motor está caliente o en marcha.
Si se derrama combustible, no intente arrancar el motor. Evite crear una fuente de ignición hasta que los vapores del combustible se hayan disipado.
Almacene el combustible en un recipiente homologado y manténgalo fuera del alcance de los niños.
El combustible es dañino o mortal si es ingerido. La exposición a largo plazo a los vapores puede causar lesiones y enfermedades graves.
Evite la respiración prolongada de los vapores.
Mantenga las manos y la cara alejadas de la boquilla y de la abertura del depósito de combustible.
Mantenga alejado el combustible de los ojos y la piel.
Para obtener los mejores resultados, utilice solamente gasolina fresca, sin plomo, de 87 o más octanos (método de cálculo (R+M)/2).
Son aceptables los combustibles oxigenados con hasta el 10% de etanol o el 15% de MTBE por volumen.
No utilice mezclas de gasolina con etanol (por ejemplo, E15 o E85) con más del 10 % de etanol por volumen. Pueden provocar problemas de rendimiento o daños en el motor que pueden no estar cubiertos bajo la garantía.
No utilice gasolina que contenga metanol.
No guarde combustible ni en el depósito de combustible ni en los recipientes de combustible durante el invierno, a menos que haya añadido un estabilizador al combustible.
No añada aceite a la gasolina.
Llene el depósito con gasolina fresca normal sin plomo, de una marca reconocida (Figura 9).
Important: Para reducir problemas de arranque, añada estabilizador/acondicionador al combustible fresco, tal y como indique el fabricante del estabilizador.
Consulte el manual del propietario del motor si desea más información.

| Intervalo de mantenimiento y servicio | Procedimiento de mantenimiento |
|---|---|
| Cada vez que se utilice o diariamente |
|
Important: Si el nivel de aceite del motor es demasiado bajo o demasiado alto y usted arranca el motor, puede dañar el motor.

Usted puede elevar o bajar el manillar hasta una posición que le sea cómoda.
Gire el bloqueo del manillar, mueva el manillar a una de las tres posiciones posibles, y bloquee el manillar en esa posición (Figura 11).

Ajuste la altura de corte según desee. Ajuste todas las palancas de altura de corte a la misma altura. Para elevar y bajar la máquina, consulte Figura 12.

Important: Las alturas de corte son 25 mm, 38 mm, 51 mm, 64 mm, 83 mm, 95 mm y 108 mm.
Lleve ropa adecuada, incluida protección ocular, pantalón largo, calzado resistente y antideslizante y protección auditiva. Si tiene el pelo largo, recójaselo, y no lleve prendas o joyas sueltas.
Preste toda su atención al utilizar la máquina. No realice ninguna actividad que cause distracciones; de lo contrario, podrían producirse lesiones o daños materiales.
No utilice la máquina si está enfermo, cansado, o bajo la influencia de alcohol o drogas.
La cuchilla está muy afilada; cualquier contacto con la cuchilla puede causar lesiones personales graves. Pare el motor y espere a que se detengan todas las piezas en movimiento antes de abandonar el puesto del operador.
Cuando suelta la barra de control de la cuchilla, el motor debe pararse y la cuchilla debe detenerse en 3 segundos o menos. Si no, deje de usar la máquina inmediatamente y póngase en contacto con un Servicio Técnico Autorizado.
Mantenga a otras personas alejadas de la zona de trabajo. Mantenga a los niños pequeños alejados de la zona de trabajo y bajo la supervisión de un adulto responsable que no esté utilizando la máquina. Pare la máquina si alguien entra en la zona.
Mire siempre hacia abajo y detrás de usted antes de conducir la máquina en marcha atrás.
Utilice la máquina únicamente con buena visibilidad y en condiciones meteorológicas apropiadas. No use la máquina si hay riesgo de rayos.
La hierba mojada o las hojas mojadas pueden causarle graves lesiones si usted resbala y toca la cuchilla. Evite segar en condiciones húmedas.
Extreme la precaución al acercarse a esquinas ciegas, arbustos, árboles u otros objetos que puedan taparle la vista.
No dirija el material de descarga hacia una persona. Evite la descarga de material contra una pared u obstrucción, ya que el material podría rebotar hacia usted. Pare la cuchilla o las cuchillas al cruzar superficies de grava.
Esté alerta a agujeros, surcos, montículos, rocas u otros objetos ocultos. El terreno irregular podría hacer que pierda el equilibrio.
Si la máquina golpea un objeto o empieza a vibrar, apague inmediatamente el motor, espere a que se detengan todas las piezas en movimiento y desconecte el cable de la bujía antes de examinar la máquina en busca de daños. Haga todas las reparaciones necesarias antes de volver a utilizar la máquina.
Antes de abandonar el puesto del operador, apague el motor y espere a que se detengan todas las piezas en movimiento.
Si el motor ha estado en marcha, estará caliente y puede causarle quemaduras graves. Manténgase alejado del motor caliente.
Accione el motor únicamente en áreas bien ventiladas. Los gases de escape contienen monóxido de carbono, que resulta letal si se inhala.
Inspeccione frecuentemente los componentes del recogedor y del conducto de descarga para comprobar que no estén desgastados o deteriorados y sustitúyalos por piezas genuinas Toro cuando sea necesario.
Siegue de través las cuestas y pendientes, nunca hacia arriba o hacia abajo. Extreme las precauciones al cambiar de dirección en cuestas o pendientes.
No siegue pendientes y cuestas excesivamente empinadas. Si no pisa firme, puede resbalar y caerse.
Extreme las precauciones al segar cerca de terraplenes, fosas o taludes.
Sujete la barra de control de las cuchillas contra el manillar (Figura 13, A).
Tire suavemente del arrancador de retroceso hasta que note resistencia, luego tire con fuerza y deje que vuelva lentamente a la guía de cuerda del manillar (Figura 13, B).


Note: Si la máquina no arranca después de varios intentos, póngase en contacto con el Servicio Técnico Autorizado.
Para activar el sistema de autopropulsión, simplemente camine con las manos sobre el manillar superior y los codos junto al cuerpo, y la máquina mantendrá automáticamente su misma velocidad (Figura 14).

Note: Si la máquina no rueda libremente hacia atrás después de usar la autopropulsión, deténgase, deje las manos en su sitio, y deje que la máquina ruede unos centímetros hacia adelante para desengranar la transmisión de las ruedas. También puede intentar poner la mano sobre el manillar metálico situado justo debajo del manillar superior y empujar la máquina hacia adelante unos centímetros/pulgadas. Si la máquina no rueda fácilmente hacia atrás, póngase en contacto con el Servicio Técnico Autorizado.
El manillar de tracción asistida (Figura 15) le permite usar las manos para controlar la velocidad de la máquina, en lugar de hacerlo con su velocidad de paseo. Esto es útil para efectuar giros cerrados o subir cuestas, cuando desea que se desplace la máquina pero usted no puede desplazarse. También es útil para segar a la velocidad máxima.

Estire los dedos hacia adelante y agarre las esquinas del manillar de tracción asistida (Figura 16).

Apriete los 2 manillares hasta que la máquina alcance la velocidad de avance deseada.
Suelte el manillar de tracción asistida cuando ya no lo necesite.
Important: La máquina seguirá avanza automáticamente hasta que usted suelte el manillar de tracción asistida y deje de caminar.
| Intervalo de mantenimiento y servicio | Procedimiento de mantenimiento |
|---|---|
| Cada vez que se utilice o diariamente |
|
Para apagar el motor, suelte la barra de control de las cuchillas.
Important: Cuando usted suelte la barra de control de la cuchilla, el motor y la cuchilla deberán detenerse en 3 segundos o menos. Si no se paran correctamente, deje de usar la máquina inmediatamente y póngase en contacto con un Servicio Técnico Autorizado.
Su máquina viene preparada de fábrica para reciclar, es decir, para picar los recortes de hierba y hojas y devolverlos al césped.
Note: El recogedor puede permanecer en la máquina mientras se reciclan los recortes.
Para reciclar los recortes, mueva la palanca de ensacado a demanda a la posición de RECICLADO (Figura 17).

Utilice el recogedor cuando para recoger los recortes de hierba y hojas del césped.
Si el recogedor está desgastado, pueden arrojarse pequeñas piedras y otros residuos similares hacia usted o hacia otras personas, provocando lesiones personales graves o la muerte.
Compruebe frecuentemente el recogedor. Si está dañado, instale un recogedor de recambio Toro nueva.
La cuchilla está muy afilada; cualquier contacto con la cuchilla puede causar lesiones personales graves.
Pare el motor y espere a que se detengan todas las piezas en movimiento antes de abandonar el puesto del operador.
Pare el motor y espere a que se detengan todas las piezas en movimiento.
Instale el recogedor; consulte Instalación del recogedor y mueva la palanca de ensacado a demanda a la posición de ENSACADO, como se muestra en la Figura 17.
Pare el motor y espere a que se detengan todas las piezas en movimiento.
Levante y sujete el deflector trasero, instale el recogedor en las muescas y baje el deflector trasero (Figura 18).

Pare el motor y espere a que se detengan todas las piezas en movimiento.
Levante el recogedor para separarlo del manillar.
Note: Incline el recogedor ligeramente hacia atrás para evitar que se derramen los recortes de hierba.
Utilice la descarga trasera al cortar hierba muy alta.
Note: Si el recogedor está instalado en la máquina, retírelo antes de proceder a la descarga lateral de los recortes; consulte Retirada del recogedor. La palanca de ensacado a demanda debe estar en la posición de ENSACADO, como se muestra en la Figura 17.
La cuchilla está muy afilada; cualquier contacto con la cuchilla puede causar lesiones personales graves.
Pare el motor y espere a que se detengan todas las piezas en movimiento antes de abandonar el puesto del operador.
Inspeccione la zona en la que va a utilizar la máquina y retire cualquier objeto que pudiera ser arrojado por la máquina.
Evite golpear objetos sólidos con la cuchilla. No siegue nunca por encima de objeto alguno.
Si la máquina golpea un objeto o empieza a vibrar, apague inmediatamente el motor, retire la llave (en su caso), desconecte el cable de la bujía e inspeccione la máquina en busca de daños.
Para obtener el mejor rendimiento, instale una cuchilla nueva antes de que empiece la temporada de siega.
Sustituya la cuchilla cuando sea preciso con una cuchilla de repuesto Toro.
Corte solamente un tercio de la hoja de hierba cada vez. No corte con un ajuste inferior a 51 mm a menos que la hierba sea escasa, o a finales del otoño cuando el ritmo de crecimiento de la hierba empieza a decaer.
Cuando corte hierba de más de 15 cm de alto, siegue primero usando la altura de corte más alta y camine despacio, luego siegue de nuevo a una altura menor para obtener el mejor aspecto del césped. Si la hierba es demasiado larga, puede atascar la máquina y hacer que se cale el motor.
La hierba mojada y las hojas mojadas tienden a pegarse al suelo, y pueden atascar la máquina o hacer que se cale el motor. Evite segar en condiciones húmedas.
Esté atento al posible riesgo de incendio en condiciones muy secas, siga todas las advertencias locales para casos de incendio y mantenga la máquina libre de hierba seca y residuos de hojas.
Alterne la dirección de corte. Esto ayuda a dispersar los recortes en todo el césped, dando una fertilización más homogénea.
Si el aspecto final del césped no es satisfactorio, pruebe con una o más de las técnicas siguientes:
Cambiar la cuchilla o mandarla a afilar.
Caminar más despacio mientras siega.
Elevar la altura de corte de la máquina.
Cortar el césped con más frecuencia.
Solapar los pasillos de corte en lugar de cortar un pasillo completo en cada pasada.
Después de segar el césped, asegúrese de que la mitad del césped se ve a través de la cobertura de hojas cortadas. Es posible que tenga que hacer más de una pasada por encima de las hojas.
Si hay más de 13 cm de hojas en el césped, siegue a una altura de corte más alta y después vuelva a segar a la altura de corte que desee.
Siegue más despacio si la máquina no corta las hojas suficientemente finas.
Apague siempre la máquina, espere a que se detengan todas las piezas en movimiento y deje que la máquina se enfríe antes de ajustarla, repararla, limpiarla o guardarla.
Limpie los recortes de hierba y los residuos de la máquina para ayudar a prevenir incendios. Limpie cualquier aceite o combustible derramado.
No guarde nunca la máquina o un recipiente de combustible cerca de una llama desnuda, chispa o llama piloto, por ejemplo en un calentador de agua u otro electrodoméstico.
Tenga cuidado al cargar o descargar la máquina.
Sujete la máquina para evitar que se desplace.
| Intervalo de mantenimiento y servicio | Procedimiento de mantenimiento |
|---|---|
| Cada vez que se utilice o diariamente |
|
Para obtener resultados óptimos, limpie la máquina inmediatamente después de terminar la siega.
Baje la máquina a la altura de corte más baja. Consulte Ajuste de la altura de corte.
Coloque la máquina en una superficie nivelada.
Conecte una manguera de jardín que esté conectada a un grifo al orificio de lavado (Figura 19).

Abra el grifo de la manguera.
Arranque el motor y déjelo funcionar hasta que no salgan más recortes de debajo de la máquina.
Pare el motor.
Cierre el grifo y desconecte la manguera de la máquina.
Arranque el motor y hágalo funcionar durante unos minutos para que se seque la parte inferior de la máquina.
Pare el motor y deje que se enfríe.
Si pliega o despliega el manillar de forma incorrecta, pueden dañarse los cables, creando unas condiciones de operación inseguras.
No dañe los cables al plegar o desplegar el manillar.
Si un cable está dañado, póngase en contacto con el Servicio Técnico Autorizado.
| Intervalo de mantenimiento y servicio | Procedimiento de mantenimiento |
|---|---|
| Después de las primeras 5 horas |
|
| Cada vez que se utilice o diariamente |
|
| Cada 100 horas |
|
| Cada año |
|
| Cada año o antes del almacenamiento |
|
Important: El manual del operador del motor contiene procedimientos adicionales de mantenimiento que debe consultar.
Desconecte el cable de la bujía antes de realizar cualquier procedimiento de mantenimiento.
Lleve guantes y protección ocular al realizar el mantenimiento de la máquina.
La cuchilla está muy afilada; cualquier contacto con la cuchilla puede causar lesiones personales graves. Lleve guantes al realizar el mantenimiento de la cuchilla. No repare ni cambie la(s) cuchilla(s).
No manipule nunca los dispositivos de seguridad. Compruebe regularmente que funcionan correctamente.
Al inclinar la máquina, puede haber fugas de combustible. El combustible es inflamable y explosivo, y puede causar lesiones personales. Deje funcionar el motor hasta que no quede combustible, o retire la gasolina con una bomba de mano; nunca utilice un sifón.
Para garantizar un rendimiento óptimo de la máquina, utilice únicamente piezas de repuesto y accesorios genuinos de Toro. Las piezas de repuesto y accesorios de otros fabricantes podrían ser peligrosos, y su uso podría invalidar la garantía del producto.
Pare el motor y espere a que se detengan todas las piezas en movimiento.
Desconecte el cable de la bujía (Figura 22).

Después de realizar el/los procedimiento(s) de mantenimiento, conecte el cable de la bujía a la bujía.
Important: Antes de inclinar la máquina para cambiar el aceite o sustituir la cuchilla, deje que se vacíe el depósito de combustible con el uso normal. Si es imprescindible inclinar la máquina antes de que se acabe el combustible, utilice una bomba manual para retirar el combustible. Siempre coloque la máquina de lado (con la varilla de aceite hacia abajo).
| Intervalo de mantenimiento y servicio | Procedimiento de mantenimiento |
|---|---|
| Cada año |
|
Presione hacia abajo los cierres de la parte superior de la tapa del filtro de aire (Figura 23).

Abra la tapa.
Retire el filtro de aire de papel y el pre-filtro de gomaespuma (Figura 23).
Inspeccione el pre-filtro de gomaespuma, y cámbielo si está dañado o excesivamente sucio.
Inspeccione el filtro de aire de papel.
Si el filtro de aire está dañado o humedecido con aceite o combustible, sustitúyalo.
Si el filtro de aire está sucio, golpéelo varias veces en una superficie dura o pase aire comprimido a menos de 2,07 bar a través del lado del filtro que está frente al motor.
Note: No utilice un cepillo para limpiar el filtro; el cepillado obliga a la suciedad a penetrar en las fibras.
Elimine cualquier suciedad del cuerpo del filtro de aire y de la tapa con un trapo húmedo.
Important: No deje que la suciedad penetre en el conducto de aire.
Instale el prefiltro de espuma y el filtro de aire de papel en el filtro de aire.
Coloque la tapa.
| Intervalo de mantenimiento y servicio | Procedimiento de mantenimiento |
|---|---|
| Después de las primeras 5 horas |
|
| Cada año |
|
Note: Haga funcionar el motor durante unos minutos antes de cambiar el aceite para calentar el aceite. El aceite caliente fluye mejor y transporta más contaminantes.
| Capacidad de aceite del motor | 0,55 l |
| Viscosidad del aceite | Aceite detergente SAE 30 o SAE 10W-30 |
| Clasificación API | SJ o superior |
Lleve la máquina a una superficie nivelada.
Consulte Preparación para el mantenimiento.
Retire la varilla girando el tapón en el sentido contrario a las agujas del reloj y tirando del mismo (Figura 24).

Ponga la máquina de lado (de modo que el filtro de aire quede hacia arriba) para drenar el aceite usado a través del tubo de llenado de aceite (Figura 24).

Después de drenar el aceite usado, ponga la máquina en su posición normal.
Con cuidado, vierta tres cuartas partes aproximadamente de la capacidad total de aceite del motor en el tubo de llenado.
Espere 3 minutos para que el aceite se asiente en el motor.
Limpie la varilla con un paño limpio.
Introduzca la varilla en el tubo de llenado de aceite, pero no la enrosque; luego retire la varilla.
Observe en la varilla el nivel de aceite (Comprobación del nivel de aceite del motor).
Si el nivel de aceite de la varilla es demasiado bajo, vierta con cuidado una pequeña cantidad de aceite en el tubo de llenado, espere 3 minutos, y repita los pasos 8 a 10 hasta que el nivel de aceite en la varilla sea correcto.
Si el nivel de aceite de la varilla es demasiado alto, drene el exceso de aceite hasta que el nivel de aceite en la varilla sea correcto.
Important: Si el nivel de aceite del motor es demasiado bajo o demasiado alto y usted arranca el motor, puede dañar el motor.
Instale la varilla firmemente en el tubo de llenado de aceite.
Recicle correctamente el aceite usado.
| Intervalo de mantenimiento y servicio | Procedimiento de mantenimiento |
|---|---|
| Cada 100 horas |
|
Utilice una bujía Champion RN9YC o equivalente.
Pare el motor y espere a que se detengan todas las piezas en movimiento.
Desconecte el cable de la bujía (Figura 22).
Limpie alrededor de la bujía.
Retire la bujía de la culata.
Important: Si la bujía está agrietada o sucia, cámbiela. No limpie los electrodos, porque cualquier arenilla que entre en el cilindro puede dañar el motor.
Ajuste la distancia entre los electrodos a 0,76 mm, según se muestra en Figura 26.

Instale la bujía.
Apriete la bujía a 20 N·m.
Conecte el cable de la bujía.
| Intervalo de mantenimiento y servicio | Procedimiento de mantenimiento |
|---|---|
| Cada año |
|
Important: Usted necesitará una llave dinamométrica para instalar la cuchilla correctamente. Si no dispone de una llave dinamométrica o prefiere no realizar este procedimiento, póngase en contacto con el Servicio Técnico Autorizado.
Examine la cuchilla cada vez que se acabe el combustible. Si la cuchilla está dañada o agrietada, sustitúyala inmediatamente. Si el filo de la cuchilla está romo o mellado, mande a afilar la cuchilla o cámbiela.
La cuchilla está muy afilada; cualquier contacto con la cuchilla puede causar lesiones personales graves.
Lleve guantes al realizar el mantenimiento de la cuchilla.
Consulte Preparación para el mantenimiento.
Coloque la máquina de lado con el filtro de aire hacia arriba.
Utilice un bloque de madera para inmovilizar la cuchilla (Figura 27).

Retire la cuchilla, conservando todos los herrajes de montaje (Figura 27).
Instale la cuchilla nueva y todos los herrajes de montaje (Figura 28).

Important: Coloque la cuchilla con los extremos curvos hacia la carcasa de la máquina.
Utilice una llave dinamométrica para apretar el perno de la cuchilla a 82 N·m.
Important: Un perno apretado a 82 N·m queda muy firme. Mientras sujeta la cuchilla con un bloque de madera, aplique toda su fuerza a la llave y apriete el perno firmemente. Será muy difícil apretar este perno demasiado.
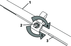
Cada vez que instale un cable de la transmisión autopropulsada nuevo, o si la transmisión autopropulsada está mal ajustada, ajuste la transmisión autopropulsada.
Gire la tuerca de ajuste en sentido antihorario para aflojar el cable (Figura 29).


Ajuste la tensión del cable (Figura 29) tirando del mismo hacia atrás o empujándolo hacia adelante, y manténgalo en esa posición.
Note: Empuje el cable hacia el motor para aumentar la tracción; tire del cable para reducir la tracción.
Gire la tuerca de ajuste en sentido horario para apretar el ajuste de los cables.
Note: Apriete con firmeza la tuerca con un conector hembra o una llave.
Almacene la máquina en un lugar fresco, limpio y seco.
Apague siempre la máquina, espere a que se detengan todas las piezas en movimiento y deje que la máquina se enfríe antes de ajustarla, repararla, limpiarla o guardarla.
En el último repostaje del año, añada estabilizador de combustible (por ejemplo, el Tratamiento de Combustible Premium de Toro) al combustible, siguiendo las instrucciones de la etiqueta.
Deseche adecuadamente cualquier combustible sobrante. Recíclelo según la normativa local, o utilícelo en su automóvil.
Important: La presencia de combustible viejo en el depósito de combustible es la principal causa de dificultades en el arranque. No guarde el combustible sin estabilizador durante más de 30 días, y no guarde combustible estabilizado durante más tiempo del recomendado por el fabricante del estabilizador de combustible.
Haga funcionar la máquina hasta que el motor se apague por haberse quedado sin gasolina.
Arranque el motor de nuevo y deje que funcione hasta que se apague. Cuando ya no se puede arrancar el motor, está suficientemente seco.
Desconecte el cable de la bujía y enganche el cable en el poste de retención (en su caso).
Retire la bujía, añada 30 ml de aceite de motor a través del orificio de la bujía, y tire lentamente de la cuerda de arranque varias veces para que se distribuya el aceite por el cilindro, con el fin de evitar la corrosión durante el periodo de inactividad.
Instale la bujía sin apretarla.
Apriete todos los pernos, tuercas y tornillos.
Compruebe y apriete todos los cierres.
Retire la bujía y haga girar el motor rápidamente usando el arrancador de retroceso para eliminar el exceso de aceite del cilindro.
Instale la bujía y apriétela con una llave dinamométrica a 20 N·m.
Lleve a cabo cualquier procedimiento de mantenimiento; consulte .
Compruebe el nivel de aceite del motor; consulte Comprobación del nivel de aceite del motor.
Llene el depósito de combustible con combustible fresco; consulte Llenado del depósito de combustible.
Conecte el cable de la bujía.