Manutenção
Plano de manutenção recomendado
| Intervalo de assistência | Procedimento de manutenção |
|---|---|
| Após as pimeiras 2 horas |
|
| Após as pimeiras 10 horas |
|
| Em todas as utilizações ou diariamente |
|
| Após cada utilização |
|
| A cada 50 horas |
|
| A cada 400 horas |
|
Lista de manutenção diária
Copie esta página para uma utilização de rotina.
| Verificações de manutenção | Para a semana de: | ||||||
|---|---|---|---|---|---|---|---|
| Seg. | Ter. | Qua. | Qui. | Sex. | Sáb. | Dom. | |
| Verifique se o defletor de relva está em baixo (caso aplicável). | |||||||
| Verifique a pressão dos pneus. | |||||||
| Verifique o estado das lâminas. | |||||||
| Aplique lubrificante em todos os bocais de lubrificação.1 | |||||||
| Retoque a pintura danificada. | |||||||
|
1. Imediatamente após cada lavagem, independentemente do intervalo previsto. |
|||||||
| Notas sobre zonas problemáticas | ||
| Inspeção executada por: | ||
| Item | Data | Informação |
Cuidado
Se deixar a chave na ignição, alguém pode ligar acidentalmente o motor e feri-lo a si ou às pessoas que se encontrarem próximo da máquina.
Retire a chave da ignição antes de fazer qualquer revisão.
Important: Os fixadores das coberturas desta máquina foram concebidos para permanecer na cobertura após remoção. Desaperte algumas voltas todos os fixadores de cada cobertura de forma a que a cobertura fique solta, mas ainda presa e então desaperte-os até que a cobertura saia completamente. Isto vai evitar que perca acidentalmente os parafusos dos fixadores.
Lubrificação
| Intervalo de assistência | Procedimento de manutenção |
|---|---|
| Em todas as utilizações ou diariamente |
|
| A cada 50 horas |
|
A máquina possui bocais de lubrificação que tem de lubrificar regularmente com massa lubrificante nº 2 à base de lítio. Lubrifique todos os rolamentos e casquilhos imediatamente após cada lavagem.
Lubrifique as seguintes áreas:
Verificação do lubrificante na caixa de velocidades
| Intervalo de assistência | Procedimento de manutenção |
|---|---|
| A cada 50 horas |
|
| A cada 400 horas |
|
A caixa de velocidades foi concebida para funcionar com o lubrificante para engrenagens a petróleo ou sintético SAE 80W-90 Apesar de a caixa de velocidades ser enviada com lubrificante de fábrica, verifique o seu nível antes de operar a unidade de corte. A capacidade da caixa de velocidades é de 283 ml.
-
Coloque a máquina e a unidade de corte numa superfície plana.
-
Retire a vareta/tampão de enchimento da parte superior da caixa de velocidades (Figura 18) e verifique se há lubrificante entre as marcas da vareta. Se o nível de lubrificante estiver baixo, adicione lubrificante suficiente até o nível ficar entre as marcas.

Separação da unidade de corte da unidade de tração
-
Coloque a máquina numa superfície plana.
-
Baixe a unidade de corte para o solo, mova a alavanca de elevação para a posição FLUTUAçãO, engate o travão de mão, coloque o pedal de tração na posição DESLIGAR, pare o motor e retire a chave da ignição.
-
Retire os parafusos e porcas de bloqueio que prendem as montagens da rótula esférica aos braços da roda giratória na unidade de corte (Figura 19).

-
Rode a unidade de corte afastando-a da unidade de tração, separando as secções macho e fêmea do veio da tomada de força (Figura 20).
Perigo
Se ligar o motor e o veio da tomada de força rodar, pode dar origem a ferimentos graves.
Não ligue o motor nem engate o interruptor da PTO quando o veio da tomada de força não estiver ligado à caixa de velocidades na unidade de corte.

Manutenção dos casquilhos nos braços da roda giratória
Os braços da roda giratória possuem casquilhos apertados no topo e no fundo da tubagem, que podem desgastar-se após muitas horas de utilização. Para verificar os casquilhos, desloque a forquilha da roda giratória para a frente e para trás e para os lados Se o eixo da roda giratória estiver solto, significa que os casquilhos estão gastos e devem ser substituídos.
-
Eleve a unidade de corte de forma a que as rodas fiquem elevadas do solo e bloqueie-a de forma a que não possa cair.
-
Retire a tampa de fixação, espaçador(es) e arruela de apoio do cimo do fuso da roda giratória.
-
Retire o fuso da roda giratória para fora do tubo de montagem. Mantenha a arruela de apoio e o(s) espaçador(es) no fundo do fuso.
-
Introduza um punção para cavilhas na zona superior ou inferior do tubo de montagem e retire o casquilho para fora do tubo (Figura 21). Retire igualmente o outro casquilho do tubo.

-
Limpe o interior dos tubos de montagem para remover a sujidade.
-
Aplique lubrificante no interior e exterior dos novos casquilhos.
-
Introduza os casquilhos nos tubos de montagem, utilizando um martelo e uma placa plana.
-
Verifique se o eixo da roda giratória apresenta desgaste e substitua-o se estiver danificado.
-
Pressione o eixo da roda giratória através dos casquilhos e do tubo de montagem.
-
Volte a colocar a anilha de apoio e o(s) espaçador(es) no fuso.
-
Monte a tampa de fixação no fuso da roda giratória para segurar todas as peças nos seus lugares.
Manutenção das rodas giratórias e rolamentos
| Intervalo de assistência | Procedimento de manutenção |
|---|---|
| Após as pimeiras 2 horas |
|
| Após as pimeiras 10 horas |
|
| A cada 50 horas |
|
As rodas giratórias rodam em rolamentos de rolo de alta qualidade suportados por um casquilho de vara de ligação. Mesmo depois de muitas horas de utilização, desde que o casquilho tenha sido mantido bem lubrificado, o desgaste será mínimo. No entanto, não manter o rolamento devidamente lubrificado irá provocar o rápido desgaste. Uma roda giratória pouco estável normalmente indica um rolamento gasto.
-
Retire a porca de bloqueio do parafuso que fixa o conjunto da roda giratória, no respetivo suporte (Figura 22).

-
Segure na roda giratória e deslize o parafuso para fora da forquilha.
-
Empurre o casquilho da barra de ligação para fora do cubo da roda (Figura 22).
-
Retire o rolamento do cubo da roda e deixe cair o espaçador do rolamento.
-
Retire o casquilho do lado oposto ao do cubo da roda.
-
Verifique o casquilho, barra de ligação e interior do cubo da roda no que respeita a desgaste e substitua qualquer peça danificada.
-
Para montar a roda giratória, basta pressionar o casquilho para dentro do cubo da roda.
-
Introduza o rolamento no cubo da roda.
-
Pressione o outro casquilho contra a extremidade aberta do cubo da roda para encaixar o respetivo casquilho dentro do cubo da roda (Figura 22).
-
Deslize cuidadosamente a barra de ligação através dos casquilhos e cubo da roda.
-
Instale a estrutura da roda giratória entre a forquilha da roda giratória e fixe-a nessa posição com o parafuso, anilhas e a porca de bloqueio.
-
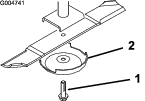
Lubrifique o rolamento da roda giratória através do bocal de lubrificação, utilizando lubrificante à base de lítio N.º 2.
Manutenção das lâminas de corte
Segurança da lâmina
-
Inspecione periodicamente se a lâmina apresenta sinais de desgaste ou outros danos.
-
Tome todas as precauções necessárias quando efetuar a verificação das lâminas. Envolva as lâminas ou utilize luvas e tome todas as precauções necessárias quando efetuar a manutenção das lâminas. Substitua ou afie apenas as lâminas, não as endireite ou solde.
-
Em máquinas multilâminas, esteja atento ao facto de que a rotação de lâmina pode provocar a rotação das restantes.
Deteção de lâminas deformadas
Depois de bater num objeto estranho, inspecione a máquina a fim de encontrar danos e poder fazer as respetivas reparações antes de voltar a utilizar o equipamento. Aperte as porcas das rodas com 176 a 203 N∙ m.
-
Posicione a máquina numa superfície nivelada, eleve as unidades de corte, engate o travão de mão, ponha o pedal de tração na posição PONTO MORTO, desloque a alavanca da tomada de força para a posição DESLIGAR, desligue o motor e retire a chave da ignição.
Note: Bloqueie a unidade de corte para não cair acidentalmente.
-
Rode a lâmina até que a extremidade fique virada para a frente e para trás e meça entre o interior da unidade de corte e a parte cortante na zona dianteira da lâmina (Figura 23).
Note: Anote esta medida.

-
Rode a extremidade oposta da lâmina para a frente e meça a distância entre a unidade de corte e a parte cortante da lâmina na mesma posição referida no passo 2.
Note: A diferença entre as dimensões obtidas nos passos 2 e 3 não pode ser superior a 3 mm. Se esta medida exceder 3 mm, a lâmina está dobrada e tem de ser substituída; consulte Desmontagem e montagem da(s) lâmina(s) da unidade de corte.
Desmontagem e montagem da(s) lâmina(s) da unidade de corte
Substitua a lâmina se esta atingir um objeto sólido ou se se encontrar desequilibrada ou deformada. Utilize sempre lâminas sobressalentes genuínas Toro para garantir um desempenho seguro e eficaz.
-
Estacione a máquina numa superfície nivelada, eleve a unidade de corte para a posição de transporte, engate o travão de mão, desligue o motor e retire a chave da ignição.
Note: Bloqueie a unidade de corte para não cair acidentalmente.
-
Fixe a extremidade da lâmina utilizando um pedaço de tecido ou uma luva grossa.
-
Retire o parafuso da lâmina, o recipiente antidanos e lâmina do eixo (Figura 24).

-
Instale a lâmina, recipiente antidanos e parafuso da lâmina e aperte o parafuso da lâmina com 115 a 149 N·m.
Important: A parte curva da lâmina tem de estar a apontar para o interior da unidade de corte para assegurar uma boa capacidade de corte.
Note: Depois de bater num objeto estranho aperte todas as porcas das polias do veio com 115 a 149 N·m.
Verificar e afiar a(s) lâmina(s) da unidade de corte
Tanto as partes cortantes como a aba (parte virada para cima oposta à parte cortante) contribuem para uma boa qualidade de corte.
Mantenha as lâminas afiadas durante toda a temporada. As lâminas fazem um corte uniforme sem arrancar nem rasgar a relva.
Inspecione se as lâminas apresentam sinais de desgaste ou danos. A parte curva coloca a relva direita, produzindo um corte direito e, gradualmente, desgasta-se durante o funcionamento.
-
Estacione a máquina numa superfície nivelada, eleve a plataforma de corte, engate o travão de mão, ponha o pedal de tração na posição PONTO MORTO, desloque a alavanca da tomada de força para a posição DESLIGAR, desligue o motor e retire a chave da ignição.
-
Examine cuidadosamente as extremidades da lâmina, prestando especial atenção à zona onde se encontram as partes curvas e planas da lâmina (Figura 25).
Note: A areia e os materiais abrasivos podem desgastar o metal entre as partes plana e curva da lâmina; por isso, verifique a lâmina antes de utilizar a máquina. Se der conta de desgaste (Figura 25), substitua a lâmina.

-
Inspecione as extremidades de corte de todas as lâminas e afie-as se apresentarem sinais de desgaste ou ranhuras (Figura 26).
Note: Afie apenas a zona superior da parte cortante e mantenha o ângulo de corte original para garantir um desempenho eficaz da lâmina (Figura 26). A lâmina manterá o equilíbrio se for retirada a mesma quantidade de metal de ambas as extremidades de corte.

Note: Retire as lâminas e afie-as num amolador: Após afiar a parte cortante, monte a lâmina com o dispositivo anti-danos e o parafuso da lâmina; consulte Desmontagem e montagem da(s) lâmina(s) da unidade de corte.
Verificação e correção das lâminas desalinhadas
Se uma lâmina de corte efetuar o corte mais abaixo do que a outra, corrija da seguinte forma:
-
Baixe a unidade de corte numa superfície nivelada, engate o travão de mão, ponha o pedal de tração na posição neutra, desloque a alavanca da tomada de força para a posição DESLIGAR, pare o motor e retire a chave da ignição.
-
Certifique-se de que a pressão dos pneus é igual em todos os pneus.
-
Defina a altura de corte para a posição de 102 mm; consulte Ajustar a altura de corte.
-
Rode as lâminas de forma a que as pontas fiquem alinhadas.
Note: As pontas das lâminas adjacentes têm de estar a uma distância de até 3 mm uma da outra. Se as pontas estiverem mais de 3 mm, passe para o passo 10 e adicione calços entre a caixa do eixo e a zona inferior da unidade de corte.
-
Certifique-se de que os pinos frontais da altura de corte apoiam devidamente nas almofadas da estrutura. Se os pinos não estiverem devidamente apoiados, coloque um calço ou calços sob a almofada para a elevar para alinhamento correto.
-
Posicione as 3 lâminas na posição A (Figura 27) e meça a partir da superfície nivelada até ao fundo da extremidade da ponta de cada lâmina (Figura 28) e anote a medida.


-
Rode as lâminas para posição B (Figura 27), meça a distância de todas as lâminas até uma superfície nivelada e anote as dimensões (Figura 28).
-
Rode as lâminas para posição C, meça e anote distância medida (Figura 27 e Figura 28).
-
Compare as medidas nas várias posições.
Note: Todas as dimensões têm de ser iguais a 6 mm de quaisquer 2 lâminas adjacentes. A diferença entre as medidas obtidas das 3 lâminas não deve exceder 10 mm. Se diferença exceder as especificações, avance para o passo 10.
-
Retire os parafusos, anilhas planas e anilhas de bloqueio do eixo exterior na zona onde deve introduzir os calços.
Note: Para levantar ou baixar uma lâmina, adicione um calço, peça n.º 3256 -24, entre a caixa do eixo e a zona inferior da unidade de corte.
-
Continue a verificar o alinhamento das lâminas e a introduzir calços até todas as pontas das lâminas apresentarem a dimensão correta.
Ajuste da polia intermédia
A polia intermédia aplica força contra a correia de forma a que a potência possa ser transmitida para as polias das lâminas. Se a intermédia não estiver tensionada contra a correia com força suficiente, não é transmitida a potência máxima para as polias. A tensão na correia requer 47 a 54 N·m de binário na porca grande, que aplica a força contra a correia. Se a intermédia não estiver ajustada nestas especificações, ajuste-a.
Important: As fixações das coberturas desta máquina foram concebidos para permanecer na cobertura após remoção. Desaperte algumas voltas todos os dispositivos de fixação de cada cobertura de forma a que a cobertura fique solta, mas ainda presa e então desaperte-os até que a cobertura saia completamente. Isto vai evitar que perca acidentalmente os parafusos dos fixadores.
-
Coloque a máquina numa superfície plana.
-
Baixe as unidades de corte, engate o travão de mão, ponha o pedal de tração na posição neutra, desloque a alavanca da tomada de força para a posição DESLIGAR, pare o motor e retire a chave da ignição.
-
Remova a cobertura da unidade de corte central.
-
Desaperte as duas porcas que prendem a placa intermédia no sítio.
-
Utilize uma chave e chave dinamométrica para apertar porca de ajuste intermédia a 47 a 54 N·m (Figura 29).

-
Segure a chave dinamométrica contra a correia e aperte as duas porcas de forma a que a placa intermédia fique bem presa no sítio.
-
Liberte a porca de ajuste intermédia
-
Colocação da cobertura.
Substituição da correia de transmissão
A correia da transmissão da lâmina, apertada pela intermédia ajustável, tem uma longa duração. No entanto, após muitas horas de utilização, esta deve apresentar alguns sinais de desgaste. Os sinais apresentados por uma correia desgastada incluem ruído durante a rotação da correia, patinagem das lâminas aquando do corte, extremidades desfiadas, marcas de queimaduras e rachas. Substitua a correia se existir algum destes sinais.
Important: As fixações das coberturas desta máquina foram concebidos para permanecer na cobertura após remoção. Desaperte algumas voltas todos os dispositivos de fixação de cada cobertura de forma a que a cobertura fique solta, mas ainda presa e então desaperte-os até que a cobertura saia completamente. Isto vai evitar que perca acidentalmente os parafusos dos fixadores.
-
Coloque a máquina numa superfície plana.
-
Baixe as unidades de corte, engate o travão de mão, ponha o pedal de tração na posição neutra, desloque a alavanca da tomada de força para a posição DESLIGAR, pare o motor e retire a chave da ignição.
-
Retire as coberturas da zona superior da unidade de corte.
-
Desaperte as 2 porcas que prendem a placa intermédia no sítio e retire a correia antiga das polias.
-
Para instalar uma nova correia, tem de remover a caixa de engrenagens removendo os 4 parafusos de carroçaria e porcas de bloqueio que prendem a base da caixa de engrenagens.
-
Instale a nova correia em redor da polia da caixa de engrenagens, polias do eixo, polia intermédia estacionária e polia intermédia ajustável (Figura 30).

-
Instale a base da caixa de engrenagens com os parafusos da carroçaria e porcas de bloqueio.
-
Utilize uma chave dinamométrica para ajustar a tensão da polia intermédia contra a correia; consulte Ajuste da polia intermédia.
-
Instale as tampas.
Substituição do defletor de relva
-
Coloque a máquina numa superfície plana.
-
Levante a unidade de corte, engate o travão de mão, coloque o pedal de tração na posição de ponto morto, desloque a alavanca da tomada de força para a posição DESLIGAR, desligue o motor e retire a chave da ignição.
-
Bloqueie a unidade de corte para não cair acidentalmente.
-
Retire os 2 parafusos, porcas de bloqueio e molas que fixam o defletor aos apoios de articulação (Figura 31).

-
Para remover os apoios de articulação, retire os parafusos de carroçaria e porcas (Figura 31).
-
Instale os apoios de articulação na parte superior da abertura de descarga com os parafusos de carroçaria e porcas.
Note: A cabeça do parafuso de carroçaria tem de estar no lado da unidade de corte.
-
Posicione as montagens do defletor nos apoios de articulação e prenda as peças juntas com os parafusos, porcas de bloqueio e molas.
Note: Os parafusos devem ficar virados um para o outro. Aperte as porcas de bloqueio até que estejam alinhados com as articulações do defletor.
-
Eleve o defletor e permita que baixe para verificar a tensão da mola.
Note: O defletor tem de ficar firme na posição totalmente para baixo pela tensão da mola. Corrija se necessário.
Limpeza do lado inferior da unidade de corte
| Intervalo de assistência | Procedimento de manutenção |
|---|---|
| Após cada utilização |
|
-
Desengate a tomada de força, liberte o pedal de tração para a posição PONTO MORTO e engate o travão de mão.
-
Desloque a alavanca do acelerador para a posição LENTO, desligue o motor, retire a chave e espere que todas as peças em movimento parem antes de deixar a posição de operador.
-
Levante a unidade de corte para a posição de TRANSPORTE.
-
Utilize um macaco para elevar a frente da máquina e apoie-a com preguiças.
-
Limpe muito bem a parte de baixo da unidade de corte com água.


O não cumprimento
destas instruções pode resultar em ferimentos pessoais
ou mesmo em morte.

























