Underhåll
Rekommenderat underhåll
| Underhållsintervall | Underhållsförfarande |
|---|---|
| Efter de första 2 timmarna |
|
| Efter de första 10 timmarna |
|
| Varje användning eller dagligen |
|
| Efter varje användning |
|
| Var 50:e timme |
|
| Var 400:e timme |
|
Kontrollista för dagligt underhåll
Kopiera sidan och använd den regelbundet.
| Kontrollpunkt | Vecka: | ||||||
|---|---|---|---|---|---|---|---|
| Mån. | Tis. | Ons. | Tors. | Fre. | Lör. | Sön. | |
| Kontrollera gräsriktaren i nedfällt läge (om tillämpligt). | |||||||
| Kontrollera däcktrycket. | |||||||
| Kontrollera knivarnas skick. | |||||||
| Smörj alla smörjnipplarna.1 | |||||||
| Bättra på skadad lack. | |||||||
|
1. Omedelbart efter varje tvätt, oavsett intervallet i listan. |
|||||||
| Anteckningar om särskilda problem | ||
| Kontrollen utförd av: | ||
| Artikel | Datum | Information |
Var försiktig
Om du lämnar nyckeln i tändningslåset kan någon råka starta motorn av misstag och skada dig eller någon annan person allvarligt.
Ta ut nyckeln ur tändningslåset innan du utför något underhåll.
Important: Fästelementen på maskinens skyddsplåtar är konstruerade så att de ska sitta kvar på plåten efter att de har lossats. Lossa alla fästelement på varje plåt något så att plåten sitter löst, men inte är helt loss. Gå sedan tillbaka och lossa dem helt så att plåten kan tas bort. På så sätt lossar du inte bultarna från hållarna av misstag.
Smörjning
| Underhållsintervall | Underhållsförfarande |
|---|---|
| Varje användning eller dagligen |
|
| Var 50:e timme |
|
Maskinen har smörjnipplar som måste smörjas regelbundet med fett nr 2 på litiumbas. Smörj alla lager och bussningar omedelbart efter varje tvätt.
Smörj följande områden:
Kontrollera smörjoljenivån i växellådan
| Underhållsintervall | Underhållsförfarande |
|---|---|
| Var 50:e timme |
|
| Var 400:e timme |
|
Växellådan är konstruerad för att drivas med bensin eller syntetisk olja av typen SAE 80–90. Även om växellådan levereras med olja från fabriken bör oljenivån kontrolleras innan klippenheten tas i drift. Växellådan rymmer 283 ml.
-
Placera maskinen och klippenheten på en plan yta.
-
Ta ut oljestickan/påfyllningspluggen från ovansidan av växellådan (Figur 18) och kontrollera att oljenivån ligger mellan markeringarna på oljestickan. Fyll på med olja så att nivån ligger mellan markeringarna, om nivån är låg.

Ta bort klippenheten från traktorenheten
-
Ställ maskinen på en plan yta.
-
Sänk ned klippenheten till golvet, för lyftspaken till FLYTANDE läge, koppla in parkeringsbromsen, flytta gaspedalen till neutralläget, sätt kraftuttagsspaken i det AVSTäNGDA läget, stäng av motorn och ta ur tändningsnyckeln.
-
Ta bort huvudskruvarna och låsmuttrarna som fäster kulledsfästena till svänghjulsarmarna på klippenheten (Figur 19).

-
Rulla bort klippenheten från traktorenheten och skilj kraftuttagsaxelns han- och hondelar åt (Figur 20).
Fara
Om motorn är igång och kraftuttagsaxeln får rotera kan detta leda till allvarliga skador.
Starta inte motorn och koppla inte in kraftuttagsspaken om inte kraftuttagsaxeln är ansluten till klippenhetens växellåda.

Serva bussningarna i svänghjulsarmarna
Svänghjulsarmarna har bussningar inpressade på översta och nedre delen av röret. Efter många körtimmar slits bussningarna. Kontrollera bussningarna genom att flytta svänghjulsgaffeln fram och tillbaka och från sida till sida. Om svänghjulsaxeln är lös inuti bussningarna är bussningarna utslitna och måste bytas ut.
-
Höj klippenheten så att hjulen lyfter från marken och palla upp klippenheten så att den inte kan falla ned.
-
Ta bort spännlocket, distansbrickorna och tryckbrickan från svänghjulsspindelns ovansida.
-
Dra ut svänghjulsspindeln ur monteringsröret. Låt tryckbrickan och distansbrickan/-brickorna sitta kvar längst ned på spindeln.
-
Skjut in ett pinndorn i monteringsrörets övre eller nedre del och skjut ut bussningen ur röret (Figur 21). Skjut också ut den andra bussningen ur röret.

-
Rengör insidan av monteringsrören så att smuts avlägsnas.
-
Stryk på fett på insidan och utsidan av de nya bussningarna.
-
Skjut in bussningarna i monteringsröret med en hammare och en platt skiva.
-
Undersök om svänghjulsspindeln är sliten och byt ut den om den är skadad.
-
Skjut svänghjulsspindeln genom bussningarna och monteringsröret.
-
Skjut på tryckbrickan och distansbrickan/-brickorna på spindeln.
-
Montera spännlocket på svänghjulsspindeln så att alla delar sitter stadigt.
Serva svänghjulen och lagren
| Underhållsintervall | Underhållsförfarande |
|---|---|
| Efter de första 2 timmarna |
|
| Efter de första 10 timmarna |
|
| Var 50:e timme |
|
Svänghjulet vrids på rullager av hög kvalitet och stöds av en rörbussning. Om lagret hålls ordentligt smörjt kommer slitaget på det att bli minimalt även efter många timmars användning. Om lagret inte smörjs som avsett kommer det dock att nötas snabbt. Ett ostadigt svänghjul tyder vanligtvis på ett utslitet lager.
-
Ta bort låsmuttern från huvudskruven som håller svänghjulsenheten i hjulgaffeln (Figur 22).

-
Fatta tag i svänghjulet och skjut av huvudskruven från gaffeln.
-
Skjut ut rörbussningen ur hjulnavet (Figur 22).
-
Ta bort bussningen från hjulnavet och låt lagret ramla ut.
-
Ta bort bussningen från motsatta sidan på hjulnavet.
-
Kontrollera om lagret, rörbussningen eller insidan av hjulnavet är slitna och byt ut skadade delar.
-
Montera ihop svänghjulet igen genom att skjuta in bussningen i hjulnavet.
-
Skjut in lagret i hjulnavet.
-
Skjut in den andra bussningen i den öppna ändan på hjulnavet så att lagret sitter fast inuti hjulnavet (Figur 22).
-
Skjut försiktigt in rörbussningen i bussningarna och hjulnavet.
-
Montera svänghjulet i hjulgaffeln och fäst det med huvudskruven, brickorna och låsmuttern.
-
Smörj svänghjulslagret genom smörjnippeln med litiumfett nr 2.
Utföra service på knivarna
Knivsäkerhet
-
Kontrollera om kniven är sliten eller skadad med jämna mellanrum.
-
Var försiktig när du kontrollerar knivarna. Linda in knivarna i något eller ta på dig handskar, och var försiktig när du servar knivarna. Knivarna får endast bytas ut eller slipas – de ska aldrig rätas ut eller svetsas.
-
Var försiktig när en kniv roteras på maskiner med flera knivar, eftersom den kan få även andra knivar att börja rotera.
Kontrollera om någon kniv är böjd
Om du kör på något föremål ska nu noga kontrollera om maskinen har skadats och reparera eventuella skador innan du startar och kör maskinen. Dra åt samtliga muttrar på spindelskivorna till 176–203 Nm.
-
Ställ maskinen på ett plant underlag, höj upp klippenheten, koppla in parkeringsbromsen, flytta gaspedalen till NEUTRALLäGET, för kraftuttagsspaken till AVSTäNGT läge, stäng av motorn och ta ut tändningsnyckeln.
Note: Palla upp klippenheten så att den inte kan falla av en olyckshändelse.
-
Rotera kniven tills ändarna är riktade framåt och bakåt och mät från klippenhetens insida till skäreggen framtill på knivbladet (Figur 23).
Note: Notera måttet.

-
Vrid motsatt ände på kniven framåt och mät avståndet mellan klippenheten och knivseggen vid samma position som i steg 2.
Note: Skillnaden mellan måtten i steg 2 och 3 får inte överstiga 3 mm. Om detta mått överstiger 3 mm är kniven böjd och måste bytas ut. Se Demontera och montera klippenhetsknivarna.
Demontera och montera klippenhetsknivarna
Byt en kniv om den har träffats av ett hårt föremål, om kniven är obalanserad eller böjd. Använd alltid originalknivar från Toro för att garantera säkerhet och optimal prestanda.
-
Ställ maskinen på ett plant underlag, höj upp klippenheten till transportläget, koppla in parkeringsbromsen, stäng av motorn och ta ut nyckeln.
Note: Palla upp eller lås klippenheten så att den inte kan falla av en olyckshändelse.
-
Fatta tag i knivens ände med en trasa eller en tjockt vadderad handske.
-
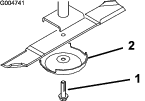
Ta bort knivskruven, antiskalpbehållaren och kniven från spindelaxeln (Figur 24).

-
Montera kniven, antiskalpbehållaren och knivskruven och dra åt knivskruven till 115–149 N·m.
Important: Knivens böjda del måste alltid vara vänd mot klippenhetens insida för att klippningen ska bli rätt.
Note: Om du har kört på något föremål ska du dra åt samtliga muttrar på spindelskivorna till 115–149 Nm.
Kontrollera och slipa knivarna på klippenheterna
Både eggar och segel (den uppåtvända delen mittemot eggen) bidrar till en god klippkvalitet.
Håll knivarna slipade under klippsäsongen. Vassa knivar ger ett bra klippresultat utan att de sliter eller rycker av grässtråna.
Kontrollera om knivarna är slitna eller skadade. Seglet lyfter gräset rakt upp och bidrar därmed till en jämn klippning. Dock slits det under arbetet.
-
Ställ maskinen på ett plant underlag, höj upp klippenheten, koppla in parkeringsbromsen, för gaspedalen till NEUTRALLäGET, för kraftuttagsspaken till AVSTäNGT läge, stäng av motorn och ta ut nyckeln ur tändningslåset.
-
Undersök knivseggarna noggrant, i synnerhet där knivens flata och böjda del möts (Figur 25).
Note: Kontrollera kniven innan du använder gräsklipparen, eftersom sand och slipande material kan slita bort metallen mellan knivens flata och böjda delar. Byt ut kniven om den är sliten (Figur 25).

-
Kontrollera samtliga knivseggar och vässa dem om de är slöa eller har fått hack (Figur 26).
Note: Slipa endast knivseggens översta del och behåll den ursprungliga skärvinkeln för bästa skärpa (Figur 26). Kniven förblir balanserad om lika mycket metall avlägsnas från båda eggarna.

Note: Demontera knivarna och slipa dem med en slipmaskin. När du har slipat knivseggarna monterar du kniven med antiskalpbehållaren och knivskruven. Se Demontera och montera klippenhetsknivarna.
Kontrollera och avhjälpa felanpassning av knivarna
Om en kniv skär lägre än de andra ska du åtgärda detta på följande sätt:
-
Placera maskinen på en plan yta, sänk klippenheten, koppla in parkeringsbromsen, sätt gaspedalen i neutralläge, sätt kraftuttagsspaken i det AVSTäNGDA läget, stäng av motorn och ta ut tändningsnyckeln.
-
Se till att däcktrycket är detsamma i alla däcken.
-
Höj klipphöjden till läget 102 mm. Se Justera klipphöjden.
-
Rotera knivarna så att spetsarna är i linje med varandra.
Note: Spetsarna på intilliggande knivar måste befinna sig inom 3 mm från varandra. Om spetsarna inte är inom ett avstånd på 3 mm från varandra fortsätter du till steg 10 och infogar mellanlägg mellan spindelhuset och klippenhetens nederdel.
-
Kontrollera att de främre klipphöjdspinnarna vilar ordentligt mot ramens stötkuddar. Om de inte gör det placerar du ett eller flera mellanlägg under stötkudden för att höja upp den, så att du kan få rätt inriktning.
-
Placera alla tre knivarna i läget A (Figur 27) och mät från det jämna underlaget till nederdelen på varje knivspets (Figur 28) och skriv ned måtten.


-
Rotera knivarna till läget B (Figur 27), mät avståndet från alla knivar till det jämna underlaget och anteckna måtten (Figur 28).
-
Rotera knivarna till läget C, mät och anteckna det uppmätta avståndet (Figur 27 och Figur 28).
-
Jämför måtten för de olika lägena.
Note: Skillnaden för alla mått från två knivar som ligger bredvid varandra får vara högst 6 mm. Skillnaden mellan måtten för alla tre knivarna får inte överstiga 10 mm. Om skillnaden överstiger specifikationerna fortsätter du till steg 10.
-
Ta bort huvudskruvarna, planbrickorna och låsmuttrarna från den yttre spindeln på den plats där mellanlägg måste infogas.
Note: Lägg till ett mellanlägg, artikelnr 3256-24, mellan spindelhuset och underdelen av klippenheten för att höja eller sänka kniven.
-
Fortsätt att kontrollera knivarnas inriktning och lägga till mellanlägg tills knivspetsarna befinner sig inom de mått som krävs.
Justera mellanremsskivan
Mellanremsskivan anbringar kraft mot remmen så att kraft kan överföras till knivremsskivorna. Om mellanremsskivan inte spänns tillräckligt mot remmen kommer maximal kraft inte att överföras till remskivorna. Remmen behöver vara spänd med ett vridmoment på 47–54 Nm på den stora muttern, som anbringar kraft mot remmen. Om mellanremsskivan inte är justerad efter dessa specifikationer krävs en justering.
Important: Beslagen på maskinens skyddsplåtar är konstruerade så att de ska sitta kvar på plåten efter att de har lossats. Lossa alla fästdon på varje plåt något så att plåten sitter löst, men inte är helt loss. Gå sedan tillbaka och lossa dem helt så att plåten kan tas bort. Då lossar du inte skruvarna från hållarna av misstag.
-
Ställ maskinen på en plan yta.
-
Sänk ned klippenheten, koppla in parkeringsbromsen, flytta gaspedalen till neutralläget, sätt kraftuttagsspaken i det AVSTäNGDA läget, stäng av motorn och ta ut tändningsnyckeln.
-
Ta bort kåpan från Mittklippenheten.
-
Lossa de två muttrar som håller remskivplattan på plats.
-
Dra åt remskivans justeringsmutter till 47–54 N·m med en hylsa och en momentnyckel (Figur 29).

-
Håll momentnyckeln mot remmen och dra åt de två muttrarna så att remskivplattan hålls på plats ordentligt.
-
Lossa på remskivplattans justeringsmutter.
-
Sätt tillbaka skyddet.
Byta ut drivremmen
Knivdrivremmen, som är mycket hållbar, spänns av en justeringsbar remskiva. Efter många timmars användning kan remmen dock visa tecken på slitage. Tecken på remslitage: gnissel när remmen roterar, slirande knivar vid gräsklippning, fransiga remkanter, brännmärken och sprickor. Byt ut remmen vid tecken på något av detta.
Important: Beslagen på maskinens skyddsplåtar är konstruerade så att de ska sitta kvar på plåten efter att de har lossats. Lossa alla fästdon på varje plåt något så att plåten sitter löst, men inte är helt loss. Gå sedan tillbaka och lossa dem helt så att plåten kan tas bort. Då lossar du inte skruvarna från hållarna av misstag.
-
Ställ maskinen på en plan yta.
-
Sänk ned klippenheten, koppla in parkeringsbromsen, flytta gaspedalen till neutralläget, sätt kraftuttagsspaken i det AVSTäNGDA läget, stäng av motorn och ta ut tändningsnyckeln.
-
Ta bort kåporna ovanpå klippenheten.
-
Lossa de två muttrarna som håller remskivplattan på plats och ta bort den gamla remmen från skivorna.
-
Om du vill installera en ny rem, måste du bort växellådan. Detta gör du genom att ta bort de fyra vagnsbultarna och låsmuttrarna som håller fast växellådan.
-
Montera en ny rem runt växellådsskivan, spindelremsskivorna, den stationära mellanremsskivan och den justerbara mellanremsskivan (Figur 30).

-
Montera växellådans underdel igen med vagnsbultarna och låsmuttrarna.
-
Justera mellanremsskivans spänning mot remmen med hjälp av en momentnyckel. Se Justera mellanremsskivan.
-
Montera kåporna.
Byta ut gräsriktaren
-
Ställ maskinen på en plan yta.
-
Höj upp klippenheten, koppla in parkeringsbromsen, flytta gaspedalen till neutralläget, sätt kraftuttagsspaken i det AVSTäNGDA läget, stäng av motorn och ta ut tändningsnyckeln.
-
Palla upp klippenheten så att den inte kan falla.
-
Ta bort de två huvudskruvarna, låsmuttrarna och fjädrarna som fäster utkastarfästena på tappfästena (Figur 31).

-
Ta bort tappfästena genom att avlägsna vagnsbultarna och muttrarna (Figur 31).
-
Montera tappfästena ovanpå utkastaröppningen med hjälp av vagnsbultarna och muttrarna.
Note: Vagnsbultarnas huvuden måste befinna sig på insidan av klippenheten.
-
Placera utkastarfästena på tappfästena och fäst ihop delarna med huvudskruvarna, låsmuttrarna och fjädrarna.
Note: De båda låsmuttrarna måste vara vända mot varandra. Dra åt låsmuttrarna tills de ligger tätt emot gräsriktarens tappfästen.
-
Lyft upp gräsriktaren och låt den falla ned för att kontrollera fjäderspänningen.
Note: Gräsriktaren måste hållas på plats ordentligt i helt nedåtriktat läge av fjäderspänningen. Korrigera den vid behov.
Rengöra klippenhetens undersida
| Underhållsintervall | Underhållsförfarande |
|---|---|
| Efter varje användning |
|
-
Koppla ur kraftuttaget, släpp upp gaspedalen till NEUTRALLäGET och koppla in parkeringsbromsen.
-
För gasreglaget till det LåNGSAMMA läget, stäng av motorn, ta ut nyckeln och vänta tills alla rörliga delar har stannat innan du kliver ur förarsätet.
-
Höj upp klippenheten till TRANSPORTLäGET.
-
Höj upp maskinens främre del med hjälp av en domkraft och stötta upp den med pallbockar.
-
Rengör noggrant gräsklipparens undersida med vatten.


. Symbolen betyder Var försiktig,
Varning eller Fara – anvisning om personsäkerhet. Underlåtenhet
att följa anvisningarna kan leda till personskador eller innebära
livsfara.

























