Manutenzione
Programma di manutenzione raccomandato
| Cadenza di manutenzione | Procedura di manutenzione |
|---|---|
| Dopo le prime 2 ore |
|
| Dopo le prime 10 ore |
|
| Prima di ogni utilizzo o quotidianamente |
|
| Dopo ogni utilizzo |
|
| Ogni 50 ore |
|
| Ogni 400 ore |
|
Lista di controllo della manutenzione quotidiana
Fotocopiate questa pagina e utilizzatela quando opportuno.
| Punto di verifica per la manutenzione | Per la settimana di: | ||||||
|---|---|---|---|---|---|---|---|
| Lun | Mar | Mer | Gio | Ven | Sab | Dom | |
| Controllate che il deflettore dell'erba sia abbassato (se pertinente). | |||||||
| Controllo della pressione degli pneumatici. | |||||||
| Controllate le condizioni delle lame. | |||||||
| Lubrificate gli ingrassatori.1 | |||||||
| Ritoccate la vernice danneggiata. | |||||||
|
1. Subito dopo ogni lavaggio, a prescindere dall'intervallo indicato. |
|||||||
| Nota sulle aree problematiche | ||
| Ispezione eseguita da: | ||
| Art. | Data | Informazioni |
Attenzione
Se lasciate la chiave nell'interruttore di accensione, qualcuno potrebbe accidentalmente avviare il motore e ferire gravemente voi od altre persone.
Togliete la chiave di accensione prima di ogni intervento di manutenzione.
Important: Gli elementi di fissaggio presenti sui coperchi di questa macchina sono progettati in modo tale che rimangano agganciati ai coperchi dopo la loro rimozione. Allentate di alcuni giri tutti gli elementi di fissaggio su ogni coperchio, così che il coperchio risulti mobile ma ancora agganciato, quindi allentate completamente gli elementi di fissaggio fino a liberare del tutto il coperchio. Questa procedura vi impedisce di staccare accidentalmente del tutto i bulloni dagli elementi di fissaggio.
Lubrificazione
| Cadenza di manutenzione | Procedura di manutenzione |
|---|---|
| Prima di ogni utilizzo o quotidianamente |
|
| Ogni 50 ore |
|
La macchina è dotata di raccordi di ingrassaggio che devono essere lubrificati a intervalli regolari con grasso n. 2 al litio. Lubrificate tutti i cuscinetti e le boccole immediatamente dopo ogni lavaggio.
Lubrificate le seguenti zone:
-
Boccole dei fuselli delle ruote anteriori (Figura 15)
-
Cuscinetti delle ruote orientabili anteriori e posteriori (Figura 15)

-
Perni girevoli del braccio di sollevamento destro e sinistro (Figura 16)

-
Cuscinetti del fusello della lama (Figura 17)

-
Giunti sferici del braccio di spinta destro e sinistro(Figura 17)
Controllo del lubrificante nella scatola ingranaggi
| Cadenza di manutenzione | Procedura di manutenzione |
|---|---|
| Ogni 50 ore |
|
| Ogni 400 ore |
|
Gli ingranaggi funzionano con lubrificante per ingranaggi SAE 80W-90 a petrolio o sintetico. Gli ingranaggi sono stati lubrificati in fabbrica, tuttavia si consiglia di controllare il livello del lubrificante prima di utilizzare l'apparato di taglio. La capacità della scatola ingranaggi è pari a 283 ml.
-
Parcheggiate la macchina e l'apparato di taglio su terreno pianeggiante.
-
Togliete il tappo di riempimento/asta di livello da sopra gli ingranaggi (Figura 18) e verificate che il lubrificante si trovi tra i segni riportati sull'asta. Se il lubrificante è insufficiente, rabboccatelo fino a raggiungere il livello compreso tra i segni.

Separazione dell’elemento di taglio dal trattorino
-
Parcheggiate la macchina su terreno pianeggiante.
-
Abbassate l'apparato di taglio a terra, spostate la leva di sollevamento in posizione di FLOTTAZIONE, inserite il freno di stazionamento, mettete in folle il pedale di comando della trazione, impostate la leva della PDF in posizione di SPEGNIMENTO, spegnete il motore e togliete la chiave di accensione.
-
Rimuovete le viti a testa cilindrica e i dadi che fissano i supporti del giunto sferico ai bracci della ruota orientabile sull'apparato di taglio (Figura 19).

-
Allontanate l'apparato di taglio dal trattorino, separando le sezioni maschio e femmina dell'albero della presa di forza (Figura 20).
Pericolo
L'avvio del motore quando l'albero della presa di forza è libero di ruotare potrebbe causare lesioni gravi.
Non avviate il motore né innestate la leva della PDF quando l'albero della PDF non è collegato alla scatola ingranaggi sull'apparato di taglio.

Manutenzione delle boccole dei bracci delle ruote orientabili
Nel tubo dei bracci delle ruote orientabili sono inserite, in alto e in basso, delle boccole che si usurano, dopo molte ore di servizio. Per controllare le boccole, spostate la forcella della ruota orientabile avanti e indietro e da un lato all'altro. Se l'albero della ruota orientabile risulta allentato all'interno delle boccole, significa che le boccole sono usurate e devono essere sostituite.
-
Alzate l'apparato di taglio, in modo che le ruote siano sollevate da terra e bloccate per prevenirne la caduta.
-
Togliete il cappuccio di tensione, il distanziale (o distanziali) e la rondella di spinta dalla parte superiore del mandrino della ruota orientabile.
-
Estraete il mandrino della ruota orientabile dal tubo di fissaggio. Lasciate la rondella di spinta e il distanziale (o distanziali) sulla base del mandrino.
-
Inserite un punteruolo nella parte superiore o inferiore del tubo di fissaggio, e spingete la boccola fuori del tubo (Figura 21). Estraete dal tubo anche l'altra boccola.

-
Pulite l'interno dei tubi di fissaggio per rimuovere lo sporco.
-
Lubrificate le nuove boccole all'interno ed all'esterno con del grasso.
-
Con un martello ed una piastra piatta inserite le boccole nel tubo di fissaggio.
-
Controllate che il perno della ruota orientabile non sia usurato, e sostituitelo se è danneggiato.
-
Spingete l'albero della ruota orientabile nelle boccole e nel tubo di fissaggio.
-
Fate scorrere la rondella di spinta e il distanziale (o distanziali) sul perno.
-
Mettete il cappuccio di tensione sul perno della ruota orientabile per fissare in sede tutte le parti.
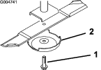
Revisione delle rotelle orientabili e dei cuscinetti
| Cadenza di manutenzione | Procedura di manutenzione |
|---|---|
| Dopo le prime 2 ore |
|
| Dopo le prime 10 ore |
|
| Ogni 50 ore |
|
La ruota orientabile gira su un cuscinetto a rulli sostenuto da una boccola chiave. Anche dopo diverse ore di utilizzo, se il cuscinetto è tenuto ben lubrificato, l'usura sarà minima. Tuttavia, in mancanza di lubrificazione adeguata, si usurerà rapidamente. Una ruota orientabile traballante è indice di cuscinetto usurato.
-
Togliete il dado di bloccaggio dalla vite a testa cilindrica che fissa la rotella orientabile alla forcella (Figura 22).

-
Afferrate la ruota orientabile ed estraete la vite a testa cilindrica dalla forcella.
-
Estraete la boccola chiave dal mozzo della ruota (Figura 22).
-
Togliete la boccola dal mozzo della ruota e lasciate cadere il cuscinetto.
-
Togliete la boccola dalla parte opposta del mozzo della ruota.
-
Ispezionate il cuscinetto, la boccola chiave e l'interno del mozzo della ruota per verificarne l'usura e sostituite le parti eventualmente danneggiate.
-
Per montare la ruota orientabile, inserite la boccola nel mozzo della ruota.
-
Fate scorrere il cuscinetto nel mozzo della ruota.
-
Spingete l'altra boccola nell'estremità aperta del mozzo della ruota, in modo da imprigionare il cuscinetto all'interno del mozzo (Figura 22).
-
Fate scorrere con cautela la boccola chiave nelle boccole e nel mozzo della ruota.
-
Montate il gruppo ruota orientabile tra le forcelle, e fissatelo in sede con la vite a testa cilindrica, le rondelle e il dado di bloccaggio.
-
Lubrificate il cuscinetto della ruota orientabile con il raccordo di ingrassaggio, utilizzando grasso al litio n. 2.
Revisione delle lame di taglio
Sicurezza delle lame
-
Controllate la lama ad intervalli regolari, per accertare che non sia consumata o danneggiata.
-
Prestate la massima attenzione quando controllate le lame. Durante gli interventi di manutenzione, avvolgete le lame o indossate guanti adatti allo scopo e fate attenzione. Sostituite o affilate solo le lame; non raddrizzatele né saldatele.
-
Su macchine multilama, ricordate che la rotazione di una lama può provocare la rotazione anche di altre lame.
Verifica dell’assenza di curvatura della lama
Dopo avere urtato contro un corpo estraneo, ispezionate la macchina per rilevare eventuali danni ed effettuate le riparazioni necessarie prima di avviare l'attrezzatura. Serrate tutti i dadi della puleggia del mandrino a 176 - 203 N·m.
-
Posizionate la macchina su una superficie piana, sollevate l'apparato di taglio, inserite il freno di stazionamento, mettete in FOLLE il pedale di comando della trazione, mettete la leva della PDF in posizione OFF, spegnete il motore e togliete la chiave di accensione.
Note: Bloccate l’apparato di taglio per impedire che cada accidentalmente.
-
Ruotate la lama fino a quando le estremità non sono rivolte in avanti e indietro e misurate la distanza tra l’interno dell'apparato di taglio e il tagliente sulla parte anteriore della lama (Figura 23).
Note: Ricordate questa misura.

-
Fate ruotare l'estremità opposta della lama in avanti e misurate la distanza tra l'apparato di taglio e il filo della lama nella stessa posizione di cui al punto 2.
Note: La differenza tra le misure rilevate alle voci 2 e 3 non deve superare i 3 mm. Se la differenza supera 3 mm, la lama è curva e dev'essere sostituita; vedere Rimozione e montaggio della lama o delle lame dell’apparato di taglio.
Rimozione e montaggio della lama o delle lame dell’apparato di taglio
Sostituite la lama se colpisce un corpo solido, se è sbilanciata o curva. Utilizzate solo lame di ricambio originali Toro per garantire sicurezza e prestazioni ottimali.
-
Parcheggiate la macchina su terreno pianeggiante, sollevate l’apparato di taglio alla posizione di trasferimento, inserite il freno di stazionamento, spegnete il motore e togliete la chiave.
Note: Bloccate o serrate l’apparato di taglio per impedire che cada accidentalmente.
-
Afferrate l’estremità della lama con un cencio o un guanto bene imbottito.
-
Togliete il bullone, la coppa antistrappo e la lama dall’asse del mandrino (Figura 24).

-
Montate la lama, la coppa antistrappo e il bullone della lama e serrate quest'ultimo a un valore compreso tra 115 e 149 N∙m.
Important: Perché tagli correttamente, il lato curvo della lama deve essere rivolto verso l'interno dell'apparato di taglio.
Note: Dopo avere urtato un corpo estraneo, serrate tutti i dadi della puleggia del mandrino a un valore compreso tra 115 e 149 N·m.
Controllo e affilatura della lama (o delle lame) dell'apparato di taglio
Sia i taglienti sia la costa, cioè la parte rivolta in alto opposta al tagliente, contribuiscono alla buona qualità del taglio.
Mantenete le lame affilate durante l'intera stagione di taglio Le lame affilate creano un taglio pulito senza strappare o lacerare i fili d'erba.
Controllate che le lame non presentino danni o segni di usura. La costa solleva l'erba in verticale, consentendo in questo modo un taglio uniforme e si usura gradualmente con il funzionamento.
-
Parcheggiate la macchina su una superficie pianeggiate, sollevate l'apparato di taglio, inserite il freno di stazionamento, mettete in FOLLE il pedale di comando della trazione, mettete la leva della PDF in posizione OFF, spegnete il motore e togliete la chiave dall'accensione.
-
Verificate accuratamente i taglienti, con particolare attenzione ai punti d'incontro delle sezioni piatta e curva della lama (Figura 25).
Note: Sabbia e materiali abrasivi possono consumare il metallo che connette le sezioni piatta e curva della lama, per cui si consiglia di controllare la lama prima di usare il tosaerba. Se notate dell'usura (Figura 25), sostituite la lama.

-
Esaminate l'affilatura di tutte le lame e affilate se risultano smussate o scheggiate (Figura 26).
Note: Affilate soltanto la parte superiore del tagliente e mantenete l'angolo di taglio originale per garantire l'affilatura (Figura 26). La lama resta bilanciata soltanto se viene rimossa una quantità uguale di metallo da entrambi i taglienti.

Note: Togliete le lame ed affilatele su un’affilatrice. Dopo avere affilato i taglienti, montate la lama insieme alla coppa antistrappo e al bullone della lama; fate riferimento a Rimozione e montaggio della lama o delle lame dell’apparato di taglio.
Controllo e rettifica dell'accoppiamento delle lame
Se una lama taglia più bassa delle altre, correggete come segue.
-
Abbassate l'apparato di taglio a terra, inserite il freno di stazionamento, mettete in folle il pedale di comando della trazione, spostate la leva della PDF in posizione di SPEGNIMENTO, spegnete il motore e togliete la chiave di accensione.
-
Accertatevi che la pressione sia uguale su tutti gli pneumatici.
-
Alzate l'altezza di taglio a 102 mm; fate riferimento a Regolazione dell'altezza di taglio.
-
Girate le lame in modo che le punte siano allineate.
Note: Le punte devono essere a una distanza max di 3 mm rispetto alla punta adiacente. In caso contrario, passate al punto 10 e inserite degli spessori tra l'alloggiamento del fusello e la parte inferiore dell'apparato di taglio.
-
Accertate che i perni dell'altezza di taglio siano correttamente posizionati sugli ammortizzatori del telaio. In caso contrario, posizionate uno o più spessori sotto l'ammortizzatore per sollevarlo e ottenere l'allineamento corretto.
-
Posizionate le 3 lame in posizione A (Figura 27), misurate dalla superficie piana alla parte inferiore dell'estremità della punta di ogni lama (Figura 28) e annotate la misura rilevata.


-
Ruotate le lame in posizione B (Figura 27), misurate la distanza delle lame dalla superficie piana e annotate le dimensioni (Figura 28).
-
Ruotate le lame in posizione C, misurate e annotate la distanza rilevata (Figura 27 e Figura 28).
-
Confrontate le misurazioni nelle varie posizioni.
Note: Le dimensioni devono essere max 6 mm da 2 lame adiacenti. La differenza tra le dimensioni delle 3 lame non deve superare i 10 mm. Se la differenza supera le specifiche, passate alla fase 10;
-
Togliete le viti a testa cilindrica, le rondelle piatte e i dadi di bloccaggio dal fusello esterno nell'area in cui è necessario aggiungere gli spessori.
Note: Per alzare o abbassare la lama, aggiungete uno spessore, n. cat. 3256-24, tra l'alloggiamento del fusello e la parte inferiore dell'apparato di taglio.
-
Continuate a controllare l'allineamento delle lame e ad aggiungere spessori finché le estremità delle lame non rientrano nei limiti della dimensione richiesta.
Regolazione della puleggia tendicinghia
La puleggia tendicinghia esercita una forza sulla cinghia in modo da trasmettere potenza alle pulegge della lama. Se la puleggia non è tesa rispetto alla cinghia con forza sufficiente, non trasmetterà potenza massima alle pulegge. La tensione della cinghia richiede una coppia di 47 - 54 N∙m sul dado grande, che esercita la forza sulla cinghia. Regolate la puleggia se non è regolata secondo queste specifiche.
Important: Gli elementi di fissaggio presenti sui coperchi di questa macchina sono progettati in modo tale che rimangano agganciati ai coperchi dopo la loro rimozione. Allentate di alcuni giri tutti gli elementi di fissaggio su ogni coperchio, così che il coperchio risulti mobile ma ancora agganciato, quindi allentate completamente gli elementi di fissaggio fino a liberare del tutto il coperchio. Questa procedura vi impedirà di staccare accidentalmente del tutto i bulloni dagli elementi di fissaggio.
-
Parcheggiate la macchina su terreno pianeggiante.
-
Abbassate l'apparato di taglio, inserite il freno di stazionamento, mettete in folle il pedale di comando della trazione, spostate la leva della PDF in posizione di SPEGNIMENTO, spegnete il motore e togliete la chiave di accensione.
-
Rimuovere il coperchio dall'apparato di taglio centrale.
-
Allentate le 2 viti che fissano la piastra intermedia in posizione.
-
Usate una chiave torsiometrica e a tubo per serrare il dado di regolazione del tendicinghia tra i 47 e i 54 N·m (Figura 29).

-
Mantenete la coppia rispetto alla cinghia e serrate le 2 viti che fissano la piastra intermedia in posizione.
-
Allentate il dado di regolazione del tendicinghia.
-
Montate la copertura.
Sostituzione della cinghia di trasmissione
La cinghia di trasmissione della lama, tesa dalla puleggia tendicinghia, ha una lunga durata. Tuttavia, dopo molte ore di funzionamento, presenterà segni di usura. I segnali di una cinghia usurata includono il cigolio durante la rotazione della cinghia, lo slittamento delle lame durante il taglio dell'erba, bordi frastagliati, segni di bruciature e crepe. Sostituite la cinghia se si verifica una delle seguenti situazioni.
Important: Gli elementi di fissaggio presenti sui coperchi di questa macchina sono progettati in modo tale che rimangano agganciati ai coperchi dopo la loro rimozione. Allentate di alcuni giri tutti gli elementi di fissaggio su ogni coperchio, così che il coperchio risulti mobile ma ancora agganciato, quindi allentate completamente gli elementi di fissaggio fino a liberare del tutto il coperchio. Questa procedura vi impedirà di staccare accidentalmente del tutto i bulloni dagli elementi di fissaggio.
-
Parcheggiate la macchina su terreno pianeggiante.
-
Abbassate l'apparato di taglio, inserite il freno di stazionamento, mettete in folle il pedale di comando della trazione, spostate la leva della PDF in posizione di SPEGNIMENTO, spegnete il motore e togliete la chiave di accensione.
-
Togliete i carter dalla parte superiore dell'apparato di taglio.
-
Allentate le 2 viti che fissano la piastra intermedia in posizione e rimuovete la cinghia usurata dalle pulegge.
-
Per installare una cinghia nuova, rimuovete gli ingranaggi togliendo i 4 bulloni a testa tonda e i dadi di bloccaggio che fissano la base degli ingranaggi.
-
Installate la nuova cinghia attorno alle pulegge degli ingranaggi, alle pulegge del fusello, alla puleggia tendicinghia fissa e alla puleggia tendicinghia regolabile (Figura 30).

-
Montate la base degli ingranaggi mediante bulloni a testa tonda e dadi di bloccaggio.
-
Utilizzate una chiave torsiometrica per regolare la tensione della puleggia tendicinghia rispetto alla cinghia; fate riferimento a Regolazione della puleggia tendicinghia.
-
Montaggio dei coperchi.
Sostituzione del deflettore dell'erba tagliata
-
Parcheggiate la macchina su terreno pianeggiante.
-
Sollevate l'apparato di taglio, inserite il freno di stazionamento, mettete in folle il pedale di comando della trazione e la leva della PDF in posizione di SPEGNIMENTO, spegnete il motore e togliete la chiave di accensione.
-
Bloccate l’apparato di taglio per impedire che cada accidentalmente.
-
Togliete le 2 viti a testa cilindrica, i dadi di bloccaggio e le molle che fissano i supporti del deflettore alle staffe orientabili (Figura 31).

-
Per rimuovere le staffe orientabili, togliete i bulloni a testa tonda e i dadi (Figura 31).
-
Installate le staffe orientabili sopra l'apertura di scarico con bulloni a testa tonda e dadi.
Note: La testa dei bulloni a testa tenda deve essere all'interno dell'apparato di taglio.
-
Posizionate i supporti del deflettore sulle staffe orientabili e unite le parti con viti a testa cilindrica, dadi di bloccaggio e molle.
Note: I due dadi di bloccaggio devono essere uno di fronte all'altro. Serrate i dadi di bloccaggio in modo che siano a filo con i perni del deflettore.
-
Sollevate il deflettore e lasciate che si abbassi per controllare la tensione della molla.
Note: Il deflettore deve essere tenuto saldamente in posizione completamente abbassata per tensione della molla. Correggete se necessario.
Pulizia della parte inferiore dell'apparato di taglio
| Cadenza di manutenzione | Procedura di manutenzione |
|---|---|
| Dopo ogni utilizzo |
|
-
Disinnestate la PDF, rilasciate il pedale di trazione in posizione di FOLLE e inserite il freno di stazionamento.
-
Portate la leva dell'acceleratore in posizione di MARCIA LENTA, spegnete il motore, togliete la chiave e prima di scendere dalla postazione dell'operatore attendete che le parti in movimento si siano fermate.
-
Sollevate l'apparato di taglio in posizione di TRASFERIMENTO.
-
Usate un martinetto per sollevare la parte anteriore della macchina e sostenetela su cavalletti.
-
Pulite accuratamente con acqua la parte inferiore dell'apparato di taglio.


che riporta l’indicazione di Attenzione,
Avvertenza o Pericolo – norme di sicurezza personali. Il mancato
rispetto di queste istruzioni può provocare infortuni o la
morte.






















