Wartung
Empfohlener Wartungsplan
| Wartungsintervall | Wartungsmaßnahmen |
|---|---|
| Nach zwei Betriebsstunden |
|
| Nach 10 Betriebsstunden |
|
| Bei jeder Verwendung oder täglich |
|
| Nach jeder Verwendung |
|
| Alle 50 Betriebsstunden |
|
| Alle 400 Betriebsstunden |
|
Checkliste – tägliche Wartungsmaßnahmen
Kopieren Sie diese Seite für regelmäßige Verwendung.
| Wartungsprüfpunkt | Für KW: | ||||||
|---|---|---|---|---|---|---|---|
| Mo | Di | Mi | Do | Fr | Sa | So | |
| Prüfen Sie das Grasablenkblech in der abgesenkten Stellung (falls zutreffend). | |||||||
| Prüfen Sie den Reifendruck. | |||||||
| Prüfen Sie den Messerzustand. | |||||||
| Schmieren Sie alle Schmiernippel ein.1 | |||||||
| Bessern Sie alle Lackschäden aus. | |||||||
|
1. Unmittelbar nach jeder Wäsche, ungeachtet des aufgeführten Intervalls. |
|||||||
| Aufzeichnungen irgendwelcher Probleme | ||
| Inspektion durchgeführt von: | ||
| Punkt | Datum | Informationen |
Achtung
Wenn Sie den Zündschlüssel im Zündschloss lassen, könnte eine andere Person den Motor versehentlich anlassen und Sie und Unbeteiligte schwer verletzen.
Ziehen Sie vor irgendwelchen Wartungsarbeiten den Zündschlüssel ab.
Important: Die Befestigungen an den Abdeckungen dieser Maschine bleiben nach dem Entfernen an der Abdeckung. Lösen Sie alle Befestigungen an jeder Abdeckung um ein paar Umdrehungen, sodass die Abdeckungen lose aber noch verbunden sind; lösen Sie dann alle Befestigungen, bis die Abdeckung nicht mehr befestigt ist. Dies verhindert, dass die Schrauben aus Versehen aus den Haltern herausgeschraubt werden.
Schmierung
| Wartungsintervall | Wartungsmaßnahmen |
|---|---|
| Bei jeder Verwendung oder täglich |
|
| Alle 50 Betriebsstunden |
|
Die Maschine hat Schmiernippel, die regelmäßig mit Nr. 2 Schmierfett auf Lithiumbasis eingefettet werden müssen. Schmieren Sie alle Lager und Buchsen sofort nach jedem Waschen.
Fetten Sie folgende Bereiche ein:
Prüfen des Schmiermittels im Getriebe
| Wartungsintervall | Wartungsmaßnahmen |
|---|---|
| Alle 50 Betriebsstunden |
|
| Alle 400 Betriebsstunden |
|
Für das Getriebe sollten Sie Getriebeschmiermittel der Sorte SAE 80W-90 auf Petroleum- oder synthetischer Basis verwenden. Obwohl das Getriebe werksseitig mit Öl versandt wird, sollten Sie den Stand vor dem Verwenden der Schneideinheit prüfen. Das Fassungsvermögen des Getriebes beträgt 283 ml.
-
Stellen Sie die Maschine und die Schneideinheit auf eine ebene Fläche.
-
Nehmen Sie den Ölpeilstab bzw. die Füllschraube oben am Getriebe ab (Bild 18) und stellen Sie sicher, dass der Schmiermittelstand zwischen den Markierungen am Peilstab liegt. Wenn der Ölstand niedrig ist, füllen Sie Öl ein, bis der Stand zwischen den Markierungen liegt.

Abnehmen der Schneideinheit von der Zugmaschine
-
Stellen Sie die Maschine auf eine ebene Fläche.
-
Senken Sie die Schneideinheit auf den Boden ab, heben Sie den Hubhebel auf die Stellung SCHWEBEN, aktivieren Sie die Feststellbremse, legen Sie den Leerlauf ein, stellen Sie den Zapfwellenhebel auf AUS, stellen Sie den Motor ab und ziehen Sie den Zündschlüssel ab.
-
Entfernen Sie die Kopfschrauben und Sicherungsmuttern, mit denen die Befestigungen der Kugelgelenke an den Laufradarmen an der Schneideinheit befestigt sind (Bild 19).

-
Rollen Sie die Schneideinheit von der Zugmaschine weg, trennen Sie die Außen- und Innengewindeteile der Zapfwelle (Bild 20).
Gefahr
Wenn der Motor läuft, und die Zapfwelle sich drehen kann, können schwere Verletzungen auftreten.
Lassen Sie den Motor nicht an und kuppeln Sie den Zapfwellenhebel nicht ein, wenn die Zapfwelle nicht am Getriebe der Schneideinheit angeschlossen ist.

Warten der Büchsen in den Laufradarmen
In die Ober- und Unterseite des Rohrs der Laufradarme sind Büchsen eingepresst, die sich nach einer längeren Einsatzdauer abnutzen. Bewegen Sie zum Prüfen der Büchsen die Laufradgabeln hin und her und von einer Seite zur anderen. Wenn die Laufradwelle locker ist, sind die Büchsen abgenutzt und müssen ausgetauscht werden.
-
Heben Sie die Schneideinheit so weit an, dass die Räder den Boden nicht mehr berühren und bocken Sie sie auf, damit sie nicht versehentlich herunterfallen kann.
-
Entfernen Sie die Spannkappe, das/die Distanzstück(e) und Druckscheibe von der Oberseite der Laufradspindel.
-
Ziehen Sie die Laufradspindel aus dem Befestigungsrohr heraus. Lassen Sie die Druckscheibe und das/die Distanzstück(e) unten in der Laufradspindel zurück.
-
Stecken Sie einen Dorn oben oder unten in das Befestigungsrohr und treiben die Büchsen heraus (Bild 21). Treiben Sie dann die andere Büchse aus dem Rohr heraus.

-
Reinigen Sie die Innenseite der Befestigungsrohre.
-
Fetten Sie die Innen- und Außenseiten der neuen Büchsen ein.
-
Treiben Sie die Büchsen mit einem Hammer und einem Stück Flachstahl in das Befestigungsrohr ein.
-
Prüfen Sie die Laufradspindel auf Abnutzung und tauschen sie aus, wenn sie beschädigt ist.
-
Schieben Sie die Laufradwelle durch die Büchsen und das Befestigungsrohr.
-
Schieben Sie die Druckscheibe und die/das Distanzstück(e) auf die Spindel.
-
Bringen Sie die Spannkappe auf der Laufradspindel an, um alle Teile zu befestigen.
Warten der Laufräder und -lager
| Wartungsintervall | Wartungsmaßnahmen |
|---|---|
| Nach zwei Betriebsstunden |
|
| Nach 10 Betriebsstunden |
|
| Alle 50 Betriebsstunden |
|
Das Laufrad läuft auf einem Rollenlager, das von einer Steckbüchse gehalten wird. Selbst nach längerem Einsatz ist das Lager kaum abgenutzt, wenn Sie es immer gut geschmiert war. Fehlendes Einfetten des Lagers führt zu einer schnellen Abnutzung. Ein wackeliges Laufrad weist normalerweise auf ein abgenutztes Lager hin.
-
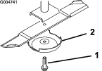
Entfernen Sie die Sicherungsmutter von der Kopfschraube, mit der das Laufrad an der der Gabel befestigt ist (Bild 22).

-
Halten Sie das Laufrad fest und schieben die Kopfschraube aus der Gabel.
-
Ziehen Sie die Spannbüchse aus der Radnabe (Bild 22).
-
Entfernen Sie die Büchse aus der Radnabe und lassen das Lager herausfallen.
-
Entfernen Sie die Büchse aus der gegenüberliegenden Seite der Radnabe.
-
Prüfen Sie das Lager, die Spannbüchse und die Innenseite der Radnabe auf Abnutzung und wechseln Sie beschädigte Teile aus.
-
Drücken Sie die Büchse zum Zusammenbauen des Laufrads in die Radnabe.
-
Schieben Sie das Lager in die Radnabe.
-
Drücken Sie die andere Büchse in das freie Ende der Radnabe, um das Lager im Inneren der Radnabe zu halten (Bild 22).
-
Schieben Sie die Spannbüchse vorsichtig durch die Büchse und die Radnabe.
-
Montieren Sie die Laufradgruppe in der Mitte der Laufradgabel und befestigen Sie sie mit der Kopfschraube, den Scheiben und der Sicherungsmutter.
-
Fetten Sie das Laufradlager durch den Schmiernippel mit Nr. 2 Lithiumschmiermittel ein.
Warten der Schnittmesser
Sicherheitshinweise zum Messer
-
Prüfen Sie das Messer regelmäßig auf Abnutzung und Defekte.
-
Prüfen Sie die Messer vorsichtig. Wickeln Sie die Messer in einen Lappen ein oder tragen Handschuhe; gehen Sie bei der Wartung der Messer mit besonderer Vorsicht vor. Wechseln oder schärfen Sie die Messer, sie dürfen keinesfalls geglättet oder geschweißt werden.
-
Denken Sie bei Maschinen mit mehreren Schnittmessern daran, dass ein sich bewegendes Messer das Mitdrehen anderer Messer verursachen kann.
Prüfen auf verbogene Messer
Wenn Sie auf einen Fremdkörper aufgeprallt sind, prüfen Sie die Maschine auf eventuelle Beschädigungen; führen Sie dann die erforderlichen Reparaturen durch, bevor Sie die Maschine erneut verwenden. Ziehen Sie die Riemenscheibenmuttern bis auf 176-203 N∙m an.
-
Parken Sie die Maschine auf einer ebenen Fläche, heben Sie die Schneideinheit an, aktivieren Sie die Feststellbremse, stellen Sie das Fahrpedal in die NEUTRAL-Stellung, stellen Sie den Zapfwellenhebel in die AUS-Stellung, stellen Sie den Motor ab und ziehen Sie den Zündschlüssel ab.
Note: Blockieren Sie die Schneideinheit, sodass sie nicht herunterfallen kann.
-
Drehen Sie die Messer, bis die Enden nach vorne und hinten zeigen und messen Sie von der Innenseite der Schneideinheit bis zur Schnittkante an der Vorderseite des Messers (Bild 23).
Note: Merken Sie sich diesen Wert.

-
Drehen Sie das andere Ende des Messers nach vorne und messen Sie zwischen der Schneideinheit und der Schnittkante des Messers an der gleichen Stelle wie in Schritt 2.
Note: Der Unterschied zwischen den Werten, die Sie in den Schritten 2 und 3 erhalten haben, darf nicht über 3 mm liegen. Bei einem Unterschied von mehr als 3 mm ist das Messer verbogen und muss ausgetauscht werden, siehe Entfernen und Einbauen der Mähwerkmesser.
Entfernen und Einbauen der Mähwerkmesser
Wechseln Sie das Messer aus, wenn es einen festen Gegenstand berührt, nicht ausgewuchtet oder verbogen ist. Benutzen Sie immer nur Originalersatzmesser von Toro, um die sichere und optimale Leistung der Maschine sicherzustellen.
-
Parken Sie die Maschine auf einer ebenen Fläche, heben Sie die Schneideinheit in die Transportstellung an, aktivieren Sie die Feststellbremse, stellen Sie den Motor ab und ziehen Sie den Schlüssel ab.
Note: Blockieren Sie oder sperren Sie die Schneideinheit so, dass sie nicht herunterfallen kann.
-
Halten Sie das Ende des Messers mit einem stark wattierten Handschuh oder wickeln Sie einen Lappen um es herum.
-
Entfernen Sie die Messerschraube, die Antiskalpierkuppe und das Messer von der Spindelwelle (Bild 24).

-
Bringen Sie das Messer, die Antiskalpierkuppe und die Messerschraube an und ziehen Sie die Messerschraube mit 115-149 Nm an.
Important: Der gebogene Teil des Schnittmessers muss zur Innenseite der Schneideinheit zeigen, um einen guten Schnitt sicherzustellen.
Note: Wenn Sie auf einen Fremdkörper aufgeprallt sind, ziehen Sie alle Riemenscheibenmuttern der Spindeln bis auf 115-149 Nm an.
Prüfen und Schärfen der Schneideinheitsmesser
Beide Schnittkanten und der Windflügel, d. h. der gegenüber der Schnittkante nach oben gebogene Teil, tragen zur guten Schnittqualität bei.
Halten Sie die Messer während der ganzen Mähsaison scharf. Scharfe Messer ergeben ein sauberes Schnittbild und zerreißen oder zerschnetzeln nicht die Grashalme.
Prüfen Sie die Messer auf starke Abnutzung oder sichtbare Beschädigung. Das Flügelmesser hebt das Gras gerade hoch, wodurch ein gleichmäßiger Schnitt entsteht und sich während des Betriebs allmählich abnutzt.
-
Parken Sie die Maschine auf einer ebenen Fläche, heben Sie die Schneideinheit an, aktivieren Sie die Feststellbremse, stellen Sie das Fahrpedal in die NEUTRAL-Stellung, stellen Sie den Zapfwellenhebel in die AUS-Stellung, stellen Sie den Motor ab und ziehen Sie den Schlüssel aus dem Zündschloss.
-
Prüfen Sie die Schnittkanten des Messers sorgfältig, insbesondere dort, wo die geraden Flächen die gebogenen berühren (Bild 25).
Note: Da Sand und anderes reibendes Material das Metall abschleifen kann, das die flachen mit den gebogenen Teilen verbindet, müssen Sie das Messer vor jedem Einsatz des Rasenmähers prüfen. Wenn Sie Abnutzungen feststellen (Bild 25), sollten Sie das Messer auswechseln.

-
Prüfen Sie die Schnittkanten aller Messer und schärfen die Kanten, wenn sie stumpf sind oder Kerben haben (Bild 26).
Note: Schärfen Sie nur die Oberseite der Schnittkante und behalten Sie den ursprünglichen Schnittwinkel bei, um die Schärfe des Messers zu gewährleisten (Bild 26). Das Schnittmesser bleibt ausgewuchtet, wenn von beiden Schnittkanten die gleiche Materialmenge entfernt wird.

Note: Entfernen Sie die Messer und schärfen sie mit Hilfe eines Schleifsteins. Bringen Sie nach dem Schärfen der Schnittkanten das Messer mit der Antiskalpierkuppe und der Messerschraube an, siehe Entfernen und Einbauen der Mähwerkmesser.
Prüfen und Beheben von ungleichmäßigen Messern
Führen Sie die folgende Korrektur durch, wenn ein Schnittmesser tiefer als das andere mäht:
-
Senken Sie die Schneideinheit auf eine ebene Fläche ab, aktivieren Sie die Feststellbremse, legen Sie den Leerlauf ein, stellen Sie den Zapfwellenhebel auf AUS, stellen Sie den Motor ab und ziehen Sie den Zündschlüssel ab.
-
Stellen Sie sicher, dass alle Reifen denselben Druck haben.
-
Erhöhen Sie die Schnitthöhe auf 102 mm, siehe Einstellen der Schnitthöhe.
-
Drehen Sie die Messer, sodass die Spitzen miteinander ausgerichtet sind.
Note: Der Abstand zwischen den Messerspitzen darf höchstens 3 mm sein. Wenn der Abstand zwischen den Spitzen über 3 mm liegt, gehen Sie auf Schritt 10 und legen Sie Beilagscheiben zwischen das Spindelgehäuse und die Unterseite der Schneideinheit.
-
Stellen Sie sicher, dass die vorderen Schnitthöhenstifte richtig auf den Rahmenpolstern aufliegen. Wenn die Stifte nicht richtig aufliegen, legen Sie Beilagscheiben unter das Polster, um es auf die richtige Höhe anzuheben.
-
Stellen Sie alle drei Messer in die A-Stellung (Bild 27) und messen von der ebenen Fläche bis zur Unterkante jeder Messerspitze (Bild 28), notieren Sie den Wert.


-
Drehen Sie die Messer auf die B-Stellung (Bild 27) und messen Sie den Abstand aller Messer zur ebenen Fläche; notieren Sie die Werte (Bild 28).
-
Drehen Sie die Messer in die C-Stellung, messen und notieren Sie den gemessenen Wert (Bild 27 und Bild 28).
-
Vergleichen Sie die Werte, die Sie an den verschiedenen Stellungen erhalten haben.
Note: Alle Werte müssen innerhalb von 6 mm von zwei nebeneinander liegenden Messern gleich sein. Der Unterschied zwischen den Werten aller drei Messer darf nicht mehr als 10 mm betragen. Wenn der Wert zu hoch ist, machen Sie mit Schritt 10 weiter.
-
Entfernen Sie die Kopfschrauben, Flachscheiben und Sicherungsscheiben von der äußeren Spindel dort, wo Sie Beilagscheiben hinzufügen müssen.
Note: Legen Sie zum Anheben oder Absenken des Messers Beilagscheiben (Teilenummer 3256-24) zwischen das Spindelgehäuse und die Unterseite der Schneideinheit.
-
Setzen Sie die Prüfung der Messerausrichtung fort und legen Beilagscheiben auf, bis die Spitzen der Messer den erforderliche Wert erreichen.
Einstellen der Spannscheibe
Die Spannscheibe übt Kraft auf den Riemen aus, sodass die Kraft an die Messerscheiben übertragen werden kann. Wenn die Spannscheibe nicht stark genug gegen den Riemen gespannt ist, wird die Höchstkraft nicht auf die Riemenscheiben übertragen. Die Spannung am Riemen benötigt einen Anzug von 47-54 N·m an der großen Mutter, die Kraft auf den Riemen ausübt. Wenn die Spannscheibe diese Werte nicht erfüllt, müssen Sie eine Einstellung vornehmen.
Important: Die Befestigungen an den Abdeckungen dieser Maschine bleiben nach dem Entfernen an der Abdeckung. Lösen Sie alle Befestigungen an jeder Abdeckung um ein paar Umdrehungen, sodass die Abdeckungen lose aber noch verbunden sind; lösen Sie dann alle Befestigungen, bis die Abdeckung nicht mehr befestigt ist. Dies verhindert, dass die Schrauben aus Versehen aus den Haltern herausgeschraubt werden.
-
Stellen Sie die Maschine auf eine ebene Fläche.
-
Senken Sie die Schneideinheit ab, aktivieren Sie die Feststellbremse, schalten Sie die Zugmaschine auf Neutral, stellen Sie den Zapfwellenhebel auf AUS, stellen Sie den Motor ab und ziehen Sie den Zündschlüssel ab.
-
Nehmen Sie die Abdeckung von der mittleren Schneideinheit ab.
-
Lösen Sie die zwei Muttern, mit denen die Spannscheibe befestigt ist.
-
Ziehen Sie die Einstellmutter der Spannscheibe mit einem Sechskantschlüssel oder Drehmomentschlüssel auf 47-54 N·m an (Bild 29).

-
Halten Sie den Drehmomentschlüssel gegen den Riemen und ziehen die zwei Muttern so an, dass die Spannscheibenplatte befestigt ist.
-
Lösen Sie die Einstellmutter der Spannscheibe.
-
Bringen Sie die Abdeckung wieder an.
Austauschen des Treibriemens
Der von der verstellbaren Riemenscheibe gespannte Messertreibriemen ist sehr haltbar. Nach einem längeren Einsatz wird er dennoch Anzeichen von Verschleiß aufweisen. Anzeichen eines abgenutzten Treibriemens sind u. a. das Quietschen des Riemens, wenn er sich dreht, das Schlüpfen der Messer beim Mähen, zerfranste Ränder, Versengen und Risse. Tauschen Sie den Riemen aus, wenn Sie derartige Anzeichen feststellen.
Important: Die Befestigungen an den Abdeckungen dieser Maschine bleiben nach dem Entfernen an der Abdeckung. Lösen Sie alle Befestigungen an jeder Abdeckung um ein paar Umdrehungen, sodass die Abdeckungen lose aber noch verbunden sind; lösen Sie dann alle Befestigungen, bis die Abdeckung nicht mehr befestigt ist. Dies verhindert, dass die Schrauben aus Versehen aus den Haltern herausgeschraubt werden.
-
Stellen Sie die Maschine auf eine ebene Fläche.
-
Senken Sie die Schneideinheit ab, aktivieren Sie die Feststellbremse, schalten Sie die Zugmaschine auf Neutral, stellen Sie den Zapfwellenhebel auf AUS, stellen Sie den Motor ab und ziehen Sie den Zündschlüssel ab.
-
Entfernen Sie die Abdeckungen von der Oberseite der Schneideinheit.
-
Lösen Sie die zwei Muttern, mit denen die Spannscheibenplatte befestigt ist, und nehmen Sie den alten Riemen von den Riemenscheiben.
-
Zum Verlegen eines neuen Riemens müssen Sie das Getriebe entfernen; entfernen Sie die vier Schlossschrauben und Sicherungsmuttern, mit denen das Getriebeunterteil befestigt ist.
-
Verlegen Sie den neuen Riemen um die Riemenscheibe des Getriebes, die Spindelriemenscheiben, die starre Riemenscheibe und die verstellbare Riemenscheibe (Bild 30).

-
Montieren Sie das Getriebeunterteil mit den Schlossschrauben und Sicherungsmuttern.
-
Stellen Sie die Spannung der Spannscheibe gegen den Riemen mit einem Drehmomentschlüssel ein; siehe Einstellen der Spannscheibe.
-
Bringen Sie die Abdeckungen an.
Austauschen des Ablenkblechs
-
Stellen Sie die Maschine auf eine ebene Fläche.
-
Heben Sie die Schneideinheit an, aktivieren Sie die Feststellbremse, stellen Sie das Fahrpedal in die Neutral-Stellung, stellen Sie den Zapfwellenhebel in die AUS-Stellung, stellen Sie den Motor ab und ziehen Sie den Zündschlüssel ab.
-
Blockieren Sie die Schneideinheit, sodass sie nicht herunterfallen kann.
-
Entfernen Sie die zwei Kopfschrauben, Sicherungsmuttern und Federn, mit denen die Befestigungen des Ablenkblechs an den Schwenkhalterungen befestigt sind (Bild 31).

-
Entfernen Sie die Schlossschrauben und die Muttern, um die Schwenkhalterung abzunehmen (Bild 31).
-
Montieren Sie die Schwenkhalterungen mit den Schlossschrauben und Muttern oben an der Auswurföffnung.
Note: Die Köpfe der Schlossschrauben müssen an der Innenseite der Schneideinheit sein.
-
Bringen Sie die Befestigungen des Ablenkblechs an den Schwenkhalterungen an und befestigen die Teile mit den Kopfschrauben, Sicherungsmuttern und Federn.
Note: Die zwei Sicherungsmuttern müssen sich gegenüberstehen. Ziehen Sie die Sicherungsmuttern an, bis sie bündig mit den Ablenkblechgelenken sind.
-
Heben Sie das Ablenkblech an und lassen es absinken, um die Federspannung zu prüfen.
Note: Das Ablenkblech muss von der Federspannung fest in der abgesenkten Stellung gehalten werden. Passen Sie die Spannung ggf. an.
Unterseite der Schneideinheit reinigen
| Wartungsintervall | Wartungsmaßnahmen |
|---|---|
| Nach jeder Verwendung |
|
-
Kuppeln Sie die Zapfwelle aus, lassen Sie das Fahrpedal in die NEUTRAL-Stellung zurückgehen und aktivieren Sie die Feststellbremse.
-
Schieben Sie den Gasbedienungshebel in die LANGSAM-Stellung, stellen Sie den Motor ab, ziehen Sie den Schüssel ab, und verlassen Sie den Sitz erst, wenn alle beweglichen Teile zum Stillstand gekommen sind.
-
Heben Sie die Schneideinheiten in die TRANSPORTSTELLUNG an.
-
Heben Sie die Maschine vorne an und stützen Sie sie auf Achsständern ab.
-
Reinigen Sie die Unterseite der Schneideinheit gründlich mit Wasser.


). Es bedeutet Vorsicht,
Warnung oder Gefahr – Hinweise für die Personensicherheit.
Wenn diese Hinweise nicht beachtet werden, kann es zu schweren bis
tödlichen Verletzungen kommen.

























