| Intervalo de mantenimiento y servicio | Procedimiento de mantenimiento |
|---|---|
| Cada vez que se utilice o diariamente |
|
Este cortacésped manual de cuchillas rotativas está diseñado para ser usado por usuarios domésticos. Está diseñado principalmente para segar césped bien mantenido en zonas verdes residenciales. El uso de este producto para otros propósitos que los previstos podría ser peligroso para usted y para otras personas.
Lea este manual detenidamente para aprender a utilizar y mantener correctamente su producto, y para evitar lesiones y daños al producto. Usted es el responsable de utilizar el producto de forma correcta y segura.
Visite www.Toro.com para más información, incluyendo consejos de seguridad, materiales de formación, información sobre accesorios, para localizar un distribuidor o para registrar su producto.
Cuando necesite asistencia técnica, piezas genuinas Toro o información adicional, póngase en contacto con un Servicio Técnico Autorizado o con Asistencia al Cliente Toro, y tenga a mano los números de modelo y serie de su producto. Figura 1 identifica la ubicación de los números de modelo y serie en el producto. Escriba los números en el espacio provisto.
Important: Con su dispositivo móvil, puede escanear el código QR de la pegatina del número de serie (en su caso) para acceder a información sobre la garantía, las piezas, y otra información sobre el producto.

Este manual identifica peligros potenciales y contiene mensajes de seguridad identificados por el símbolo de alerta de seguridad (Figura 2), que señala un peligro que puede causar lesiones graves o la muerte si usted no sigue las precauciones recomendadas.

Este manual utiliza 2 palabras para resaltar información. Importante llama la atención sobre información mecánica especial, y Nota resalta información general que merece una atención especial.
El uso o la operación del motor en cualquier terreno forestal, de monte o cubierto de hierba a menos que el motor esté equipado con parachispas (conforme a la definición de la sección 4442) mantenido en buenas condiciones de funcionamiento, o que el motor haya sido fabricado, equipado y mantenido para la prevención de incendios, constituye una infracción de la legislación de California (California Public Resource Code Section 4442 o 4443).
El manual del propietario del motor adjunto ofrece información sobre las normas de la Agencia de protección ambiental de EE. UU. (U.S. Environmental Protection Agency/EPA) y de la Norma de control de emisiones de California (California Emission Control Regulation) sobre sistemas de emisiones, mantenimiento y garantía. Puede solicitarse un manual nuevo al fabricante del motor.
Par bruto o neto: el par bruto o neto de este motor fue calculada por el fabricante del motor con arreglo a lo estipulado en el documento J1940 o J2723 de la Society of Automotive Engineers (Sociedad de Ingenieros del Automóvil – SAE). Debido a que el motor está configurado para cumplir los requisitos de seguridad, emisiones y operación, su potencia real en este tipo de cortacésped será significativamente menor. Consulte la información del fabricante del motor incluida con la máquina.
CALIFORNIA
Advertencia de la Propuesta 65
Los gases de escape de este producto contienen productos químicos que el Estado de California sabe que causan cáncer, defectos congénitos u otros peligros para la reproducción.
El uso de este producto puede provocar la exposición a sustancias químicas que el Estado de California considera causantes de cáncer, defectos congénitos u otros trastornos del sistema reproductor.
Esta máquina ha sido diseñada con arreglo a lo estipulado en la norma ANSI B71.1–2017.
Este producto es capaz de amputar manos y pies y de lanzar objetos al aire. Siga siempre todas las instrucciones de seguridad con el fin de evitar lesiones personales graves.
Antes de arrancar el motor, lea, comprenda y siga las instrucciones y advertencias de este Manual del operador y las que están colocadas en la máquina y en los accesorios.
No coloque las manos o los pies cerca de piezas móviles o debajo de la máquina. No se acerque a los orificios de descarga.
No haga funcionar la máquina si no están colocados y funcionando todos los protectores y dispositivos de seguridad de la máquina.
Mantenga a transeúntes y niños alejados de la zona de trabajo. No permita que este vehículo sea utilizado por niños. Sólo permita que manejen la máquina personas responsables, formadas, familiarizadas con las instrucciones y físicamente capaces de utilizar la máquina.
Pare la máquina, apague el motor y espere a que se detengan todas las piezas en movimiento antes de realizar tareas de mantenimiento, repostar o eliminar obstrucciones en la máquina.
El uso o mantenimiento incorrecto de esta máquina puede
causar lesiones. Para reducir el peligro de lesiones, cumpla estas
instrucciones de seguridad y preste atención siempre al símbolo
de alerta de seguridad
, que significa: Cuidado, Advertencia o Peligro
– instrucción relativa a la seguridad personal. El incumplimiento
de estas instrucciones puede dar lugar a lesiones personales o la
muerte.
![]() |
Las pegatinas de seguridad e instrucciones están a la vista del operador y están ubicadas cerca de cualquier zona de peligro potencial. Sustituya cualquier pegatina que esté dañada o que falte. |






Important: Retire y deseche la hoja protectora de plástico que cubre el motor, y cualquier otro plástico o envoltura de la máquina.
Note: Asegúrese de que los cables quedan por fuera del manillar y que no están aprisionados (Figura 3, D).


Important: Para arrancar el motor de forma segura y fácil cada vez que utilice la máquina, instale la cuerda de arranque en la guía de la cuerda.

Important: La máquina se suministra sin aceite en el motor, pero incluye una botella de aceite. Antes de arrancar el motor, llene el motor de aceite.




| Modelo | Peso | Longitud | Anchura | Altura |
|---|---|---|---|---|
| 20337HD | 35.4 kg | 150 cm | 59 cm | 109 cm |
| (78 libras) | (59") | (23") | (43") |
Note: Los lados derecho e izquierdo de la máquina se determinan desde la posición normal del operador.
Siempre apague la máquina, espere a que se detengan todas las piezas en movimiento, y deje que la máquina se enfríe antes de hacer trabajos de ajuste, revisión, limpieza o almacenamiento.
Familiarícese con la operación segura del equipo, los controles del operador y las señales de seguridad.
Compruebe que todos los protectores y dispositivos de seguridad, como por ejemplo deflectores y/o recogedores, están colocados y que funcionan correctamente.
Inspeccione siempre la máquina para asegurarse de que las cuchillas y los pernos de las cuchillas no están desgastados o dañados.
Inspeccione el área donde se va a utilizar la máquina, y retire cualquier objeto que pudiera interferir con el funcionamiento de la máquina o que pudiera ser arrojado por la máquina.
Un contacto con la cuchilla en movimiento causará lesiones graves. No ponga los dedos debajo de la carcasa al ajustar la altura de corte.
El combustible es extremadamente inflamable y altamente explosivo. Un incendio o una explosión provocados por el combustible puede causarle quemaduras a usted y a otras personas así como daños materiales.
Para evitar que una carga estática incendie el combustible, coloque el recipiente y/o la máquina directamente sobre el suelo antes de repostar, no en un vehículo o sobre otro objeto.
Llene el depósito de combustible en el exterior, en una zona abierta y con el motor frío. Limpie cualquier combustible derramado.
No maneje combustible si está fumando, ni cerca de una llama desnuda o chispas.
No retire el tapón de combustible ni añada combustible al depósito si el motor está caliente o en marcha.
Si se derrama combustible, no intente arrancar el motor. Evite crear una fuente de ignición hasta que los vapores del combustible se hayan disipado.
Almacene el combustible en un recipiente homologado y manténgalo fuera del alcance de los niños.
El combustible es dañino o mortal si es ingerido. La exposición a largo plazo a los vapores puede causar lesiones y enfermedades graves.
Evite la respiración prolongada de los vapores.
Mantenga las manos y la cara alejadas de la boquilla y de la abertura del depósito de combustible.
Mantenga alejado el combustible de los ojos y la piel.
Para obtener los mejores resultados, utilice solamente gasolina fresca, sin plomo, de 87 o más octanos (método de cálculo (R+M)/2).
Son aceptables los combustibles oxigenados con hasta el 10% de etanol o el 15% de MTBE por volumen.
No utilice mezclas de gasolina con etanol (por ejemplo, E15 o E85) con más del 10% de etanol por volumen. Pueden provocar problemas de rendimiento o daños en el motor que pueden no estar cubiertos bajo la garantía.
No utilice gasolina que contenga metanol.
No guarde combustible ni en el depósito de combustible ni en los recipientes de combustible durante el invierno, a menos que haya añadido un estabilizador al combustible.
No añada aceite a la gasolina.
Llene el depósito con gasolina fresca normal sin plomo, de una marca reconocida (Figura 9).
Important: Para reducir los problemas de arranque, agregue estabilizador/acondicionador a combustible fresco, siguiendo las indicaciones del fabricante del estabilizador de combustible.
Consulte el manual del propietario del motor si desea más información.

| Intervalo de mantenimiento y servicio | Procedimiento de mantenimiento |
|---|---|
| Cada vez que se utilice o diariamente |
|
Important: Si el nivel de aceite del motor es demasiado bajo o demasiado alto y usted arranca el motor, puede dañar el motor.


Usted puede elevar o bajar el manillar en 1 de 2 posiciones que le sea más cómoda (Figura 11).

Retire ambos pomos del manillar.
Mueva el manillar a la altura deseada.
Sujete el manillar con los pomos del manillar que retiró anteriormente.
Si el motor ha estado en marcha, el silenciador estará muy caliente y puede causarle quemaduras graves.
Manténgase alejado del silenciador si éste está caliente.
Ajuste la altura de corte según desee. Ajuste las cuatro ruedas a la misma altura de corte (Figura 12).


Lleve ropa adecuada, incluyendo protección ocular, pantalón largo, calzado resistente y antideslizante, y protección auricular. Si tiene el pelo largo, recójaselo, y no lleve joyas o prendas sueltas.
Dedique toda su atención al manejo de la máquina. No realice ninguna actividad que pudiera distraerle; de lo contrario, podrían producirse lesiones o daños materiales.
No utilice la máquina si está enfermo, cansado, o bajo la influencia de alcohol o drogas.
La cuchilla está muy afilada; cualquier contacto con la cuchilla puede causar lesiones personales graves. Pare el motor y espere a que se detengan todas las piezas en movimiento antes de abandonar el puesto del operador.
Cuando suelta la barra de control de la cuchilla, el motor debe pararse y la cuchilla debe detenerse en 3 segundos o menos. Si no, deje de usar la máquina inmediatamente y póngase en contacto con un Servicio Técnico Autorizado.
Mantenga a otras personas fuera de la zona de trabajo. Mantenga a los niños pequeños alejados de la zona de trabajo y bajo la atenta mirada de un adulto responsable que no sea el operador de la máquina. Pare la máquina si alguien entra en la zona.
Antes de desplazar la máquina hacia atrás, mire siempre hacia abajo y hacia atrás.
Utilice la máquina únicamente con buena visibilidad y en condiciones meteorológicas apropiadas. No use la máquina cuando hay riesgo de rayos.
La hierba mojada o las hojas mojadas pueden causarle graves lesiones si usted resbala y toca la cuchilla. Evite segar en condiciones húmedas.
Extreme la precaución al acercarse a esquinas ciegas, arbustos, árboles u otros objetos que puedan taparle la vista.
No dirija el material de descarga hacia nadie. Evite descargar material contra una pared u otra obstrucción; el material podría rebotar hacia usted. Pare la cuchilla o las cuchillas al cruzar superficies de grava.
Esté alerta a agujeros, surcos, montículos, rocas u otros objetos ocultos. Los terrenos irregulares pueden hacer que usted pierda el equilibrio o resbale.
Si la máquina golpea un objeto o empieza a vibrar, apague inmediatamente el motor, espere a que se detengan todas las piezas en movimiento, y desconecte el cable de la bujía antes de examinar la máquina en busca de daños. Haga todas las reparaciones necesarias antes de volver a utilizar la máquina.
Antes de abandonar el puesto del operador, pare el motor y espere a que se detengan todas las piezas en movimiento.
Si el motor ha estado en marcha, estará caliente y puede causarle quemaduras graves. Manténgase alejado del motor caliente.
Haga funcionar el motor únicamente en zonas bien ventiladas. Los gases de escape contienen monóxido de carbono, que es letal si se inhala.
Inspeccione frecuentemente los componentes del recogedor y del conducto de descarga para comprobar que no están desgastados o deteriorados, y sustitúyalos con piezas genuinas Toro cuando sea necesario.
Siegue de través las cuestas y pendientes, nunca hacia arriba o hacia abajo. Extreme las precauciones al cambiar de dirección en cuestas o pendientes.
No siegue pendientes y cuestas excesivamente empinadas. Si no pisa firme, puede resbalar y caerse.
Extreme las precauciones al segar cerca de terraplenes, fosas o taludes.
Sujete la barra de control de las cuchillas contra el manillar (Figura 13, A).
Tire suavemente del arrancador de retroceso hasta que note resistencia, luego tire con fuerza y deje que vuelva lentamente a la guía de cuerda del manillar (Figura 13, B)..


Note: Si la máquina no arranca después de varios intentos, póngase en contacto con el Servicio Técnico Autorizado.
Para activar el sistema de autopropulsión, simplemente camine con las manos sobre el manillar superior y los codos junto al cuerpo, y la máquina mantendrá automáticamente su misma velocidad (Figura 14).

Note: Si la máquina no rueda libremente hacia atrás después de usar la autopropulsión, deténgase, deje las manos en su sitio, y deje que la máquina ruede unos centímetros hacia adelante para desengranar la transmisión de las ruedas. También puede intentar poner la mano sobre el manillar metálico situado justo debajo del manillar superior y empujar la máquina hacia adelante unos centímetros/pulgadas. Si la máquina no rueda fácilmente hacia atrás, póngase en contacto con el Servicio Técnico Autorizado.
| Intervalo de mantenimiento y servicio | Procedimiento de mantenimiento |
|---|---|
| Cada vez que se utilice o diariamente |
|
Para parar el motor, suelte la barra de control de la cuchilla.
Important: Cuando usted suelte la barra de control de la cuchilla, el motor y la cuchilla deberán detenerse en 3 segundos o menos. Si no se paran correctamente, deje de usar la máquina inmediatamente y póngase en contacto con un Servicio Técnico Autorizado.
Su máquina viene preparada de fábrica para reciclar los recortes de hierba y hojas y devolverlos al césped.
Si la bolsa de recogida está instalada en la máquina y la palanca de ensacado a demanda está en la posición de ensacado, mueva la palanca a la posición de reciclado; consulte Funcionamiento de la palanca de ensacado a demanda. Si el conducto de descarga está instalado en la máquina, retírelo; consulte Instalación del conducto de descarga lateral.
Utilice la bolsa de recogida si desea recoger los recortes de hierba y hojas del césped.
Si el conducto de descarga lateral está instalado en la máquina, retírelo; consulte Cómo retirar el conducto de descarga lateral. Si la palanca de ensacado a demanda está en la posición de reciclado, muévala a la posición de ensacado; consulte Funcionamiento de la palanca de ensacado a demanda.
Para retirar la bolsa, siga los pasos de Instalación de la bolsa de recortes en sentido inverso.
La función de ensacado a demanda le permite recoger o reciclar los recortes de hierba y hojas con la bolsa de recogida instalada en la máquina.
Para ensacar los recortes de hierba y hojas, presione el botón de la palanca de ensacado a demanda y mueva la palanca hacia delante hasta que salte el botón de la palanca (Figura 16).

Para reciclar o descargar lateralmente los recortes de hierba y hojas, presione el botón de la palanca y mueva la palanca hacia atrás hasta que salte el botón de la palanca.
Important: Para asegurar un funcionamiento correcto, retire cualquier recorte de hierba y otros residuos de la tapa de ensacado a demanda y del hueco adyacente (Figura 17) antes de mover la palanca de ensacado a demanda de una posición a la otra.

Utilice la descarga lateral para cortar hierba muy alta.
Si la bolsa de recogida está instalada en la máquina y la palanca de ensacado a demanda está en la posición de Ensacado, mueva la palanca a la posición de Reciclado; consulte Funcionamiento de la palanca de ensacado a demanda.
Desenganche y levante el deflector lateral e instale el conducto de descarga lateral (Figura 18, A y B).


Para retirar el conducto de descarga lateral, levante el deflector lateral, retire el conducto de descarga lateral y baje el deflector del conducto de descarga lateral.
Inspeccione la zona en la que va a utilizar la máquina y retire cualquier objeto que pudiera ser arrojado por la máquina.
Evite golpear objetos sólidos con la cuchilla. No siegue nunca por encima de objeto alguno.
Si la máquina golpea un objeto o empieza a vibrar, apague inmediatamente el motor, retire la llave (en su caso), desconecte el cable de la bujía e inspeccione la máquina en busca de daños.
Para obtener el mejor rendimiento, instale una cuchilla nueva antes de que empiece la temporada de siega.
Sustituya la cuchilla cuando sea preciso por una cuchilla de repuesto Toro.
Corte solamente un tercio de la hoja de hierba cada vez. No corte a menos de 51 mm (2") a menos que la hierba sea escasa, o a finales del otoño cuando el ritmo de crecimiento de la hierba empieza a decaer.
Cuando corte hierba de más de 15 cm (6") de alto, siegue primero usando la altura de corte más alta y camine despacio, luego siegue de nuevo a una altura menor para obtener el mejor aspecto del césped. Si la hierba es demasiado larga, puede atascar la máquina y hacer que se cale el motor.
La hierba mojada y las hojas mojadas tienden a pegarse al suelo, y pueden atascar la máquina o hacer que se cale el motor. Evite segar en condiciones húmedas.
Esté atento al posible riesgo de incendio en condiciones muy secas, siga todas las advertencias locales para casos de incendio y mantenga la máquina libre de hierba seca y residuos de hojas.
Alterne la dirección de corte. Esto ayuda a dispersar los recortes en todo el césped, dando una fertilización más homogénea.
Si el aspecto final del césped no es satisfactorio, pruebe con una o más de las técnicas siguientes:
Cambiar la cuchilla o mandarla a afilar.
Caminar más despacio mientras siega.
Elevar la altura de corte de la máquina.
Cortar el césped con más frecuencia.
Solapar los pasillos de corte en lugar de cortar un pasillo completo en cada pasada.
Después de segar el césped, asegúrese de que la mitad del césped se ve a través de la cobertura de hojas cortadas. Es posible que tenga que hacer más de una pasada por encima de las hojas.
Si hay más de 13 cm (5") de hojas sobre el césped, siegue a una altura de corte superior y luego siegue nuevamente a la altura de corte deseada.
Siegue más despacio si la máquina no corta las hojas suficientemente finas.
Siempre apague la máquina, espere a que se detengan todas las piezas en movimiento, y deje que la máquina se enfríe antes de hacer trabajos de ajuste, revisión, limpieza o almacenamiento.
Limpie los recortes de hierba y los residuos de la máquina para ayudar a prevenir incendios. Limpie cualquier aceite o combustible derramado.
No guarde nunca la máquina o un recipiente de combustible cerca de una llama desnuda, chispa o llama piloto, por ejemplo en un calentador de agua u otro electrodoméstico.
Tenga cuidado al cargar o descargar la máquina.
Evite que la máquina ruede.
| Intervalo de mantenimiento y servicio | Procedimiento de mantenimiento |
|---|---|
| Cada vez que se utilice o diariamente |
|
Para obtener resultados óptimos, limpie la máquina inmediatamente después de terminar la siega.
Lleve la máquina a una superficie plana pavimentada.
Pare el motor y espere a que se detengan todas las piezas en movimiento antes de abandonar el puesto del operador.
Baje la máquina a la altura de corte más baja. Consulte Ajuste de la altura de corte.
Lave la zona que está debajo de la puerta trasera, por donde pasan los recortes en su camino desde la parte inferior de la máquina hasta la bolsa de recogida.
Note: Lave la zona con la palanca de ensacado a demanda (en su caso) totalmente hacia adelante y totalmente hacia atrás.
Conecte una manguera de jardín que esté conectada a un grifo al orificio de lavado (Figura 19).

Abra el grifo de la manguera.
Arranque el motor y déjelo funcionar hasta que no salgan recortes de debajo de la máquina.
Pare el motor.
Cierre el grifo y desconecte la manguera de la máquina.
Arranque el motor y hágalo funcionar durante unos minutos para que se seque la parte inferior de la máquina y evitar que se oxide.
Apague el motor y espere a que se enfríe antes de guardar la máquina en un lugar cerrado.
Si pliega o despliega el manillar de forma incorrecta, pueden dañarse los cables, creando condiciones de operación inseguras.
No dañe los cables al plegar o desplegar el manillar.
Si un cable está dañado, póngase en contacto con el Servicio Técnico Autorizado.
Retire y guarde los 2 pomos del manillar y los 2 pernos de cuello cuadrado de los soportes del manillar (Figura 20).
Important: Asegúrese de que los cables quedan por fuera de los pomos del manillar al plegar la sección superior.

Doble el manillar girándolo hacia adelante (Figura 21).

Inserte el perno de cuello cuadrado (con la cabeza del perno hacia el interior) a través del soporte del manillar y del orificio superior del extremo del manillar. Asegúrese de que los bordes cuadrados de cada perno de cuello cuadrado entre en el orificio cuadrado superior o inferior de su soporte del manillar relacionado (Figura 22).

Sin ajustarlos, instale los pomos del manillar y los pernos de cuello cuadrado en los soportes del manillar.
Para desplegar el manillar, consulte Cómo ensamblar y desplegar el manillar.
| Intervalo de mantenimiento y servicio | Procedimiento de mantenimiento |
|---|---|
| Cada vez que se utilice o diariamente |
|
| Cada año |
|
| Cada año o antes del almacenamiento |
|
Important: Consulte los procedimientos adicionales de mantenimiento del manual del propietario del motor.
Desconecte el cable de la bujía antes de realizar cualquier procedimiento de mantenimiento.
Lleve guantes y protección ocular al realizar el mantenimiento de la máquina.
La cuchilla está muy afilada; cualquier contacto con la cuchilla puede causar lesiones personales graves. Lleve guantes al realizar el mantenimiento de la cuchilla. No repare ni cambie la(s) cuchilla(s).
No manipule nunca los dispositivos de seguridad. Compruebe regularmente que funcionan correctamente.
Al volcar la máquina, puede haber fugas de combustible. El combustible es inflamable y explosivo, y puede causar lesiones personales. Deje funcionar el motor hasta que no quede combustible, o retire la gasolina con una bomba de mano; nunca utilice un sifón.
Para asegurar el rendimiento óptimo de la máquina, utilice solamente piezas de recambio y accesorios genuinos de Toro. Las piezas de recambio y accesorios de otros fabricantes podrían ser peligrosos, y su uso podría invalidar la garantía del producto.
Pare el motor y espere a que se detengan todas las piezas en movimiento.
Desconecte el cable de la bujía (Figura 23).

Después de realizar los procedimientos de mantenimiento, conecte el cable de la bujía a la bujía.
Important: Antes de inclinar la máquina para cambiar el aceite o sustituir la cuchilla, deje que se vacíe el depósito de combustible con el uso normal. Si es imprescindible inclinar la máquina antes de que se acabe el combustible, utilice una bomba manual para retirar el combustible. Siempre coloque la máquina de lado con la varilla de aceite hacia abajo.
| Intervalo de mantenimiento y servicio | Procedimiento de mantenimiento |
|---|---|
| Cada año |
|
Presione hacia abajo los cierres de la parte superior de la tapa del filtro de aire (Figura 24).

Abra la tapa.
Retire el filtro de aire de papel y el pre-filtro de gomaespuma (Figura 24).
Inspeccione el pre-filtro de gomaespuma, y cámbielo si está dañado o excesivamente sucio.
Inspeccione el filtro de aire de papel.
Si el filtro de aire está dañado o humedecido con aceite o combustible, sustitúyalo.
Si el filtro de aire está sucio, golpéelo varias veces en una superficie dura o pase aire comprimido a menos de 2.07 bar (30 psi) a través del lado del filtro que está frente al motor.
Note: No utilice un cepillo para limpiar el filtro; el cepillado obliga a la suciedad a penetrar en las fibras.
Elimine cualquier suciedad del cuerpo del filtro de aire y la tapa con un paño húmedo.
Important: No deje que la suciedad penetre en el conducto de aire.
Instale el pre-filtro de gomaespuma y el filtro de aire de papel en el filtro de aire.
Coloque la tapa.
| Intervalo de mantenimiento y servicio | Procedimiento de mantenimiento |
|---|---|
| Cada año |
|
Note: Haga funcionar el motor durante unos minutos antes de cambiar el aceite para calentar el aceite. El aceite caliente fluye mejor y transporta más contaminantes.
| Capacidad de aceite del motor | 0.55 litros (18.6 onzas fluidas) |
| Viscosidad del aceite | Aceite detergente SAE 30 o SAE 10W-30 |
| Clasificación API | SJ o superior |
Lleve la máquina a una superficie nivelada.
Consulte Preparación para el mantenimiento.
Retire la varilla girando el tapón en el sentido contrario a las agujas del reloj y tirando del mismo (Figura 25).

Ponga la máquina de lado (con el filtro de aire hacia arriba) para drenar el aceite usado del tubo de llenado de aceite (Figura 25).

Después de drenar el aceite usado, ponga la máquina en su posición de uso.
Con cuidado, vierta tres cuartas partes aproximadamente de la capacidad total de aceite del motor en el tubo de llenado.
Espere 3 minutos para que el aceite se asiente en el motor.
Limpie la varilla con un paño limpio.
Introduzca la varilla en el tubo de llenado de aceite, pero no la enrosque; luego retire la varilla.
Observe el nivel de aceite en la varilla (Figura 25).
Si el nivel de aceite de la varilla es demasiado bajo, vierta con cuidado una pequeña cantidad de aceite en el tubo de llenado, espere 3 minutos, y repita los pasos 8 a 10 hasta que el nivel de aceite en la varilla sea correcto.
Si el nivel de aceite de la varilla es demasiado alto, drene el exceso de aceite hasta que el nivel de aceite en la varilla sea correcto.
Important: Si el nivel de aceite del motor es demasiado bajo o demasiado alto y usted arranca el motor, puede dañar el motor.
Instale la varilla firmemente en el tubo de llenado de aceite.
Recicle correctamente el aceite usado.
| Intervalo de mantenimiento y servicio | Procedimiento de mantenimiento |
|---|---|
| Cada año |
|
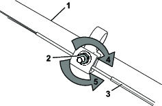
Important: Usted necesitará una llave dinamométrica para instalar la cuchilla correctamente. Si no dispone de una llave dinamométrica o prefiere no realizar este procedimiento, póngase en contacto con el Servicio Técnico Autorizado.
Examine la cuchilla cada vez que se acabe el combustible. Si la cuchilla está dañada o agrietada, sustitúyala inmediatamente. Si el filo de la cuchilla está romo o mellado, mande a afilar la cuchilla o cámbiela.
La cuchilla está muy afilada; cualquier contacto con la cuchilla puede causar lesiones personales graves.
Lleve guantes al realizar el mantenimiento de la cuchilla.
Consulte Preparación para el mantenimiento.
Coloque la máquina de lado con el filtro de aire hacia arriba.
Utilice un bloque de madera para inmovilizar la cuchilla (Figura 27).

Retire la cuchilla, conservando todos los herrajes de montaje (Figura 27).
Instale la cuchilla nueva y todos los herrajes de montaje (Figura 28).

Important: Coloque la cuchilla con los extremos curvos orientados hacia la carcasa de la máquina.
Utilice una llave dinamométrica para apretar el perno de la cuchilla a 82 N·m (60 pies-libra).
Important: Un perno apretado a 82 N·m (60 pies-libra) queda muy firme. Mientras sujeta la cuchilla con un bloque de madera, aplique toda su fuerza a la llave y apriete el perno firmemente. Será muy difícil apretar este perno demasiado.
Cada vez que instale un nuevo de la transmisión autopropulsada o si la transmisión autopropulsada está mal ajustada, ajuste el cable de la transmisión autopropulsada.
Gire la tuerca de ajuste en sentido antihorario para aflojar el ajuste del cable (Figura 28).


Ajuste la tensión del cable (Figura 29) tirando del mismo hacia atrás o empujándolo hacia adelante, y sujételo en esa posición.
Note: Empuje el cable hacia el motor para aumentar la tracción; tire del cable para reducir la tracción.
Gire la tuerca de ajuste en sentido horario para apretar el ajuste del cable.
Note: Apriete la tuerca firmemente con una llave de tubo o una llave inglesa.
Almacene la máquina en un lugar fresco, limpio y seco.
Siempre apague la máquina, espere a que se detengan todas las piezas en movimiento, y deje que la máquina se enfríe antes de hacer trabajos de ajuste, revisión, limpieza o almacenamiento.
En el último repostaje del año, añada estabilizador de combustible (por ejemplo, el Tratamiento de Combustible Premium de Toro) al combustible, siguiendo las instrucciones de la etiqueta.
Deseche adecuadamente cualquier combustible sobrante. Recíclelo según la normativa local, o utilícelo en su automóvil.
Important: La presencia de combustible viejo en el depósito de combustible es la principal causa de dificultades en el arranque. No guarde el combustible sin estabilizador durante más de 30 días, y no guarde combustible estabilizado durante más tiempo del recomendado por el fabricante del estabilizador de combustible.
Haga funcionar la máquina hasta que el motor se pare por haberse quedado sin gasolina.
Arranque el motor de nuevo y deje que funcione hasta que se apague. Cuando ya no se puede arrancar el motor, está suficientemente seco.
Desconecte el cable de la bujía y enganche el cable en el poste de retención (en su caso).
Retire la bujía, añada 30 ml (1 fl oz) de aceite de motor a través del orificio de la bujía, y tire de la cuerda de arranque lentamente varias veces para que se distribuya el aceite por el cilindro, con el fin de evitar la corrosión durante el periodo de inactividad.
Instale la bujía sin apretarla.
Apriete todos los pernos, tuercas y tornillos.
Compruebe y apriete todos los cierres.
Retire la bujía y haga girar el motor rápidamente usando el arrancador de retroceso para eliminar el exceso de aceite del cilindro.
Instale la bujía y apriétela con una llave dinamométrica a 20 N·m (15 pies-libra).
Lleve a cabo cualquier procedimiento de mantenimiento; consulte .
Compruebe el nivel de aceite del motor; consulte Comprobación del nivel de aceite del motor.
Llene el depósito de combustible con combustible fresco; consulte Cómo llenar el depósito de combustible.
Conecte el cable de la bujía.