Vedligeholdelse
Brug af støttebenet ved vipning af klippeenheden
Når det er nødvendigt at vippe klippeenheden, så bundkniven/knivcylinderen kommer til syne, skal det bageste af klippeenheden understøttes med støttebenet (leveres med traktionsenheden) for at sikre, at møtrikkerne på den bageste del af bundtværstangens justeringsskruer ikke hviler på arbejdsfladen (Figur 22).

Smøring af klippeenhederne
Smør jævnligt de fem smørenipler på hver klippeenhed (Figur 23) med litiumfedt nr. 2.
Der er to smørepunkter på forrullen, to på bagrullen og én på knivcylindermotorens not.
Note: Smøring af klippeenhederne umiddelbart efter vask hjælper med at rense vand ud af lejerne og øger lejernes levetid.
-
Tør hver smørenippel af med en ren klud.
-
Brug smørefedt, indtil rent smørefedt kommer ud af rullens pakninger og lejernes aflastningsventil.
-
Tør overskydende fedt af.

Bagslibning af knivcylinderen
Den nye knivcylinder har en gængebredde på 1,3 til 1,5 mm og en 30 graders bagslibning.
Når gængebredden overskrider 3 mm i bredden, skal følgende gøres:
-
Foretag en bagslibning på 30 grader på alle cylinderknive, indtil gængebredden er 1,3 mm (Figur 24).

-
Vinkelslib knivcylinderne for at opnå <0,025 mm cylinderudløb.
Note: Dette vil udvide gængebredden en smule.
Note: For at forlænge knivcylinderens og bundknivens skarphed – efter slibning af knivcylinderen og/eller bundkniven – skal du kontrollere knivcylinderens kontakt med bundkniven igen efter klipning af to fairways, idet grater fjernes og kan skabe upraktisk afstand mellem knivcylinder og bundkniv med skærpet slid til følge.
Serviceeftersyn af bundkniven
Servicegrænserne for bundkniven er anført i følgende oversigter.
Important: Betjening af klippeenheden med bundkniven placeret under ”servicegrænsen” kan resultere i et ringe udseende efterklipning og kan reducere bundknivens modstandsdygtighed over for slag.
| Oversigt over bundknivens servicegrænser | ||||
| Bundkniv | Reservedelsnr. | Højde på bundknivens kant* | Servicegrænse* | SlibevinklerØverste/forreste bundkniv |
| Lav klippehøjde (valgfri) | 120-1641 (69 cm)120-1642 (81 cm) | 5,6 mm | 4,8 mm | 10/5 grader |
| EdgeMax® (ekstraudstyr) | 112-8910 (69 cm)112-8956 (81 cm) | 6,9 mm | 4,8 mm | 10/5 grader |
| Standard (produktion) | 114-9388 (69 cm)114-9389 (81 cm) | 6,9 mm | 4,8 mm | 10/5 grader |
| Svær (valgfri) | 114-9390 (69 cm)114-9391 (81 cm) | 9,3 mm | 4,8 mm | 10/5 grader |

Note: Alle mål af bundknivens servicegrænser henviser til undersiden af bundkniven (Figur 26).

Kontrol af slibevinkel for den øverste bundkniv
Vinklen, som du bruger til at slibe bundknivene med, er meget vigtig.
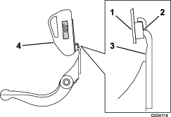
Brug vinkelindikatoren (Toro delnr. 131-6828) og vinkelindikatorbeslaget (Toro delnr. 131-6829) til at kontrollere og eventuelt rette vinklen.
-
Placer vinkelindikator på undersiden af bundkniven som vist i Figur 27.

-
Tryk på Alt Zero-knappen på vinkelindikatoren.
-
Placer vinkelindikatorbeslaget på kanten af bundkniven, så kanten af magneten er afstemt i forhold til kanten af bundkniven (Figur 28).
Note: Det digitale display skal kunne aflæses fra samme side under dette trin, som i trin 1.

-
Placer vinkelindikatoren på beslaget som vist i Figur 28.
Note: Dette er vinklen, som din slibemaskine producerer, og den bør være inden for 2 grader af den anbefalede slibevinkel for den øverste bundkniv.
Serviceeftersyn af bundtværstangen
Afmontering af bundtværstangen
-
Drej bundtværstangens justeringsskruer mod uret for at føre bundkniven væk fra knivcylinderen (Figur 29).

-
Før fjederspændingsmøtrikken bagud, indtil spændeskiven ikke længere sidder stramt mod bundtværstangen (Figur 29).
-
Løsn den låsemøtrik, som fastgør bundtværstangens bolt, på hver side af maskinen (Figur 30).

-
Afmonter bundtværstangens bolte, så bundtværstangen kan trækkes nedad og fjernes fra maskinbolten (Figur 30). Der skal være to nylonspændeskiver og en præget stålspændeskive på hver ende af bundtværstangen (Figur 31).

Montering af bundtværstangen
-
Monter bundtværstangen, idet monteringsørerne placeres mellem spændeskiven og bundtværstangens justeringsanordning.
-
Fastgør bundtværstangen på hver sideplade med boltene (møtrikker på bolte) og 6 skiver.
-
Placer en nylonspændeskive på hver side af sidepladens nav.
-
Anbring en stålskive på ydersiden af hver nylonskive (Figur 31).
Note: Tilspænd bundtværstangens bolte til et moment på 37 til 45 N·m. Tilspænd låsemøtrikkerne, indtil den udvendige stålskive holder op med at dreje, og endeslør er fjernet, uden at overspænde eller bøje sidepladerne. Indvendige skiver har muligvis et mellemrum.
-
Stram fjederspændingsmøtrikken, indtil fjederen er trykket sammen, og derefter ud igen med en halv omgang (Figur 32).

Montering af bundkniven
-
Fjern rust, afskallet materiale og korrosion fra bundknivens overflade, og påfør et tyndt lag olie på bundknivens overflade.
-
Rengør skruernes gevind.
-
Påfør anti-seize-middel på skruerne, og monter bundkniven på bundtværstangen på følgende måde (Figur 33):

-
Slib bundkniven.
Serviceeftersyn af HD-dobbeltpunktsjusteringsanordninger (DPA)
-
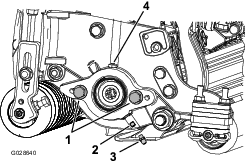
Fjern alle delene (se monteringsvejledningen til HD DPA-sættet og til Figur 35).
-
Påfør anti-seize-middel på indersiden af støbestykket på klippeenhedens midterste ramme (Figur 35).
-
Ret splitterne på flangebøsningerne ind i forhold til rammen og monter bøsningerne (Figur 35).
-
Monter en flad spændeskive på justeringsakslen, og skub justeringsakslen ind i flangebøsningerne i klippeenhedens ramme (Figur 35).
-
Fastgør justeringsakslen med en flad spændeskive og låsemøtrik (Figur 35).
-
Tilspænd låsemøtrikken til et moment på 20 til 27 N·m.
Note: Bundtværstangens justeringsaksel har venstregevind.

-
Påfør anti-seize-middel på gevindene på bundtværstangens justeringsskrue, som passer ind i justeringsakslen.
-
Skru bundtværstangens justeringsskrue ind i justeringsakslen.
-
Sæt den hærdede spændeskive, fjederen og fjederspændingsmøtrikken løst på justeringsskruen.
-
Monter bundtværstangen, idet monteringsørerne placeres mellem spændeskiven og bundtværstangens justeringsanordning.
-
Fastgør bundtværstangen på hver sideplade med boltene (møtrikker på bolte) og 6 skiver.
Note: Placer en nylonspændeskive på hver side af sidepladens nav.
-
Anbring en stålskive på ydersiden af hver nylonskive (Figur 35).
-
Tilspænd bundtværstangens bolte til et moment på 37 til 45 N·m.
-
Tilspænd låsemøtrikkerne, indtil den udvendige stålspændeskive holder op med at dreje, og endeslør er fjernet, uden at overspænde eller bøje sidepladerne.
Note: Indvendige spændeskiver har muligvis et mellemrum (Figur 35).
-
Stram møtrikken på hver bundtværstangs justeringsanordning, indtil trykfjederen er helt nedtrykket, løsn derefter møtrikken med ½ omgang (Figur 35).
-
Gentag proceduren i den anden ende af klippeenheden.
-
Juster bundkniven mod knivcylinderen. Se Justering af bundkniven mod knivcylinderen.
Serviceeftersyn af rullen
Sæt til genmontering af rullen (delnr. 114-5430) og værktøjssæt til genmontering af rullen (delnr. 115-0803) (Figur 36), er tilgængelige til serviceeftersyn af rullen. Sættet til genmontering af rullen indeholder alle lejer, lejemøtrikker, indvendige og udvendige pakninger til genmontering af en rulle. Værktøjssættet til genmontering af rullen indeholder alt det værktøj og alle de installationsvejledninger, der er nødvendige til genmontering af rullen med sættet. Se reservedelskataloget, eller kontakt din autoriserede Toro-forhandler, hvis du har brug for hjælp.



, der betyder Forsigtig,
Advarsel eller Fare – personlig sikkerhedsanvisning, for at
nedsætte risikoen for personskade. Hvis disse forskrifter ikke
følges, kan det medføre personskade eller død.



















