Important: Before installing this kit, equip the machine with the Auxiliary Power Unit Kit (Toro Part No. 30382).

Warning

CALIFORNIA

Proposition 65 Warning

Use of this product may cause exposure to chemicals known to the State of California to cause cancer, birth defects, or other reproductive harm.

Safety

Safety and Instructional Decals

Graphic

Safety decals and instructions are easily visible to the operator and are located near any area of potential danger. Replace any decal that is damaged or missing.

decal133-8061

Installation

Preparing the Machine

  1. Park the machine on a level surface, lower the cutting unit, stop the machine, engage the parking brake, and remove the key from the ignition switch.

    Caution

    If you leave the key in the ignition switch, someone could accidently start the engine and seriously injure you or bystanders.

    Remove the key from the ignition switch before you do any maintenance.

  2. Disconnect the negative (–) battery cable from the battery.

Installing the Lift-Arm Assembly

Model 30810

Parts needed for this procedure:

Cylinder-support assembly1
Bolt (3/8 x 2-3/4 inches)2
Bolt (3/8 x 1-1/4 inches)3
Bolt (3/8 x 1 inch)1
Nut (3/8 inch)3
Lift-arm assembly1
Bolt (7/8 x 4-1/2 inches)2
Jam nut (7/8 inch)2
Spindle washer8
Bolt (1/2 x 1-1/2 inches)1
Locknut (1/2 inch)1
Cylinder-mount pivot pin1
Grease fitting1

Note: To gain additional access during the assembly of the kit, raise the rear of the traction unit, support it with jack stands, and remove the right, rear tire.

  1. Remove the existing 3 bolts and 3 nuts from the skid assembly (Figure 1).

    Note: Retain the nuts.

    g029812
  2. Secure the cylinder-support assembly to the rear-bumper bracket and skid assembly with 2 bolts (3/8 x 2-3/4 inch), 3 bolts (3/8 x 1-1/4 inch), 2 nuts (3/8 inch), and the 3 existing nuts that you just removed.

    Note: Position the cylinder-support assembly as shown in Figure 2.

    g029526
  3. Mount the lift-arm assembly to the rear frame members, with 2 bolts (7/8 x 4-1/2 inch), 2 jam nuts (7/8 inch), and as many spindle washers as necessary to evenly shim between the right and left sides of the lift arm and rear frame members.

    Note: Position the components as shown in Figure 3.

    g029785
  4. Torque the bolts and locknuts 518 to 648 N-m (382 to 478 ft-lb).

  5. Adjust the length of the threaded link to 19 cm (7-1/2 inches) and tighten the jam nuts (Figure 4).

    g012818
  6. Secure the threaded link rod end to the cylinder-support assembly with a bolt (1/2 x 1-1/2 inch) and locknut (1/2 inch) as shown in Figure 5.

    g029786
  7. Mount the loose end of the hydraulic cylinder to the cylinder-support assembly with the cylinder-mount pivot pin, bolt (3/8 x 1 inch), and nut (3/8 inch) as shown in Figure 6.

    g029528
  8. Thread a grease fitting into the end of the pivot pin as shown in Figure 6.

Installing the Lift-Arm Assembly

Model 30812

Parts needed for this procedure:

Link mount1
Bolt (3/8 x 1 inch)3
Nut (3/8 inch)3
Lift-arm assembly1
Bolt (7/8 x 4-1/2 inches)2
Jam nut (7/8 inch)2
Spindle washer8
Bolt (1/2 x 1-1/2 inches)1
Locknut (1/2 inch)1
Pivot pin1
Grease fitting1

Note: To gain additional access during the assembly of the kit, raise the rear of the traction unit, support it with jack stands, and remove the right, rear tire.

  1. Secure the link mount to the rear-bumper bracket with 3 bolts (3/8 x 1 inch) and 3 nuts (3/8 inch).

    Note: Position the link mount as shown in Figure 7.

    g029787
  2. Mount the lift-arm assembly to the rear frame members, with 2 bolts (7/8 x 4-1/2 inch), 2 jam nuts (7/8 inch), and as many spindle washers as necessary to evenly shim between the right and left sides of the lift arm and rear frame members.

    Note: Position the components as shown in Figure 8.

    g029790
  3. Torque the bolts and locknuts 518 to 648 N-m (382 to 478 ft-lb).

  4. Adjust the length of the threaded link to 19 cm (7-1/2 inches) and tighten the jam nuts (Figure 9).

    g012818
  5. Secure the rod end of the threaded link to the link-support assembly with a bolt (1/2 x 1-1/2 inch) and locknut (1/2 inch) as shown in Figure 10.

    g029791
  6. Mount the stationary end of the hydraulic cylinder to the underside of the frame cross-member bracket with a pivot pin (Figure 11).

    g012820
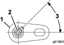
  7. Thread a grease fitting into the end of the pivot pin (Figure 11).

    Note: Position the grease fitting as shown in Figure 12.

    g012821

Installing the Hydraulic Hoses

Parts needed for this procedure:

Tee fitting (Model 30812 only)1
Hose clamp (3/8 inch)3
Cable tie4
  1. On the right side of the machine, just ahead of the radiator frame, place a drain pan under the oil-cooler-return hose (Figure 13 or Figure 14).

    g029810
    g029809
  2. Route the short hose from the manifold to the oil-cooler-return hose location.

  3. For Model 30810 only: Install the short hose to the oil-cooler hose as follows:

    1. Remove the cap from the hardline of the oil-cooler return hose (Figure 15).

      g029792
    2. Thread the short hose to the hardline (Figure 15).

    3. Continue to step 6.

  4. For Model 30812 only: Install the short hose to the oil-cooler hose as follows:

    1. Insert a clamp onto the short hose and then insert the tee fitting into the end of the short hose (Figure 16).

      g012826
    2. Measure approximately 12.7 cm (5 inches) from the radiator frame and cut the oil-cooler-return hose (Figure 17).

      Note: This is the hose between the deck-lift valve and the oil cooler. Hold the hose ends up to decrease the amount of hydraulic fluid lost.

      g012827
    3. Secure all 3 hoses to the tee fitting with hose clamps (7/8 inch).

    4. Install the short hose to the port in the oil-cooler-return hose.

  5. On the right frame, locate the deck-lift-valve assembly (Figure 18).

    g029530
  6. Remove the plug from the left side of the valve assembly (Figure 18).

  7. Thread the hydraulic valve fitting into the opening of the valve (Figure 19).

    g029531
  8. Route the long hose under the radiator frame, over the frame cross member, and along the frame rail to the valve (Figure 20).

    Note: The long hose will follow another hose from the transmission bay to the valve assembly.

    g030407
  9. Secure the long hose with 4 cable ties (Figure 20).

  10. Secure the hose fitting to the straight fitting (Figure 19).

Installing the Relays and Switches

Model 30810

Parts needed for this procedure:

Relay bracket1
Relay6
Bolt (1/4 x 1/2 inch)6
Nut (1/4 inch)7
Bolt (1/4 x 3/4 inch)1
Decal (from Auxiliary Power Unit Kit)1
Switch2
  1. On the right side of the machine, mount 6 relays onto the relay bracket using 6 bolts (1/4 x 1/2 inch) and 6 nuts (1/4 inch) as shown in Figure 21.

    g030287
  2. Remove the bolt and nut from the support tube.

  3. Using a bolt (1/4 x 3/4 inch), nut (1/4 inch), and the bolt and nut that you just removed, mount the relay bracket to the machine (Figure 21).

  4. Unlatch the control-panel cover and move it aside (Figure 22).

    g012831
  5. Locate and remove the 2 knockout plugs from the top of the control panel (Figure 23).

    g029533
  6. Carefully cut and remove the decal material to expose the control panel holes.

    Note: Remove only the knockout plugs and decal material for the required switches.

  7. Deburr the newly exposed edges of the control panel.

  8. Clean the control panel surface and affix the decal around the exposed holes (Figure 24).

    g029534
  9. Insert the switches into the appropriate mounting holes (Figure 24).

    Note: Position the flat portion of the switch toward the operator.

Installing the Relays and Switches

Model 30812

Parts needed for this procedure:

Relay bracket1
Relay6
Bolt (1/4 x 1/2 inch)6
Nut (1/4 inch)7
Bolt (3/8 x 2 inches)1
Washer (0.406 inch)1
Nut (3/8 inch)1
Bolt (1/4 x 1/2 inch)6
Locknut (1/4 inch)6
Decal (from Auxiliary Power Unit Kit)1
Switch2
  1. Loosely mount the relay bracket to the frame using a bolt (3/8 x 2 inches), washer (0.406 inch), and nut (3/8 inch), as shown in Figure 25.

    g029794
  2. Mark the location indicated in Figure 25.

  3. Remove the bracket, and drill a hole (0.281 inch) through both walls of the frame in the location that you marked.

  4. Install the bracket with the hardware you used to loosely install the bracket and secure the bracket to the new hole with a bolt (1/4 x 2-1/2 inches) and nut (1/4 inch).

  5. Install the 6 relays to the bracket using 6 bolts (1/4 x 1/2 inch) and 6 locknuts (1/4 inch).

    g029795
  6. Unlatch the control-panel cover and move it aside (Figure 22).

    g012831
  7. Locate and remove the 2 knockout plugs from the top of the control panel (Figure 28).

    g012832
  8. Carefully cut and remove the decal material to expose the holes in the control panel.

    Note: Remove only the knockout plugs and decal material for the required switches.

  9. Deburr the newly exposed edges of the control panel.

  10. Clean the control panel surface and affix the decal around the exposed holes (Figure 29).

    g012833
  11. Insert the switches into the appropriate mounting holes (Figure 29).

    Note: Position the flat portion of the switch toward the operator.

Installing the Wiring Harness

Parts needed for this procedure:

Wiring harness1

Note: The machine must be equipped with the Auxiliary Power Unit Kit, Toro part no. 30382.

  1. Cover exposed connectors on the wiring harness with masking tape or electrical tape to keep debris out of the connectors while routing the harness.

  2. Route and connect the wiring harness (Figure 30 and Figure 31) at the follows locations:

    • Hydraulic-manifold connectors

    • Relays (6) on the relay bracket

    • Main harness connector, located under the right operator controls by the standard control module

      Note: The main harness connector is a 2-wire Metri-pak connector (brown and tan wires)

    • Deck lift in A and B

      Note: Unplug the 2 connectors from the lift-manifold block and plug them into the wiring harness.

    • Deck lift out A and B

      Note: Plug the wiring harness into the lift-block manifold where you just unplugged the 2 connectors.

    • Pink power-wire connector

    • Ground to the ground block

    • Lift/lower switch

    • Float/enable switch

  3. Secure the wiring harness to the machine with cable ties.

    Important: Keep the harness away from all hot, sharp, or moving parts.

    Important: Secure the wiring harness away from the tail pipe of the machine.

g030288
g029798

Completing Installation

  1. Grease all the new grease fittings with Number 2 lithium-based grease.

  2. Check the hydraulic fluid level and replenish as required.

  3. Connect the negative (–) battery cable.

  4. Start the machine and operate the rear lift. Check for leaks and replenish hydraulic fluid as necessary.

    Note: If installed correctly, the manifold should have no electrical power when the key is in the OFF position.

Operation

Lift/Lower Switch

Move the switch to the LIFT position to raise the attachment and to the LOWER position to lower the attachment (Figure 33).

Float/Power Down Switch

Moving the switch to the FLOAT position allows the attachment to follow the contour of the ground. Moving the switch to the POWER DOWN position adds weight from the machine to increase ground engagement force (Figure 33). Higher ground engagement force decreases the traction capacity of the machine.

g029535
g012835

Adjusting the Attachment Angle

To increase or decrease the engagement angle of the attachment, proceed as follows:

  1. Loosen the jam nuts on the threaded link (Figure 34).

  2. Rotate the hex tube until you achieve the desired angle (Figure 34).

  3. Tighten the jam nut to lock the adjustment (Figure 34).

  4. With the engine operating at low idle, raise the rear attachment to make sure that it does not contact the hood.

    g029544

Weight Charts for Model 30810

Use the following weight charts to determine the correct amount of front weight required for your machine.

72 inch width of cutModels 30695 with 30354, 30481, or 30353 andAdditional Front Weight RequiredWeight Part NumberWeight DescriptionQty.
Rear QAS (Model 30810) and no attachment146 lb125-2655-03, 125-2670,and 114-4096Front frame weights, Weight bracket, and Suitcase weights411
Finish Grader (Box Rake) (Model 08754)211 lb125-2655-03, 125-2670, and 114-4096Front frame weights, Weight bracket, and Suitcase weights412
Steel Drag Mat (Model 08757)196 lb125-2655-03, 125-2670, and 114-4096Front frame weights, Weight bracket, and Suitcase weights412
Tooth Rake (Model 08751)169 lb125-2655-03,125-2670,and 114-4096Front frame weights,Weight bracket,and Suitcase weights411
Tooth rake with Spring Rake (Model 08752) attached208 lb125-2655-03, 125-2670, 114-4096Front frame weights, Weight bracket, and Suitcase weights412
Cocoa Drag Mat (Model 08758)196 lb125-2655-03, 125-2670, and 114-4096Front frame weights, Weight bracket, and Suitcase weights412
Nail Drag (Model 08781)208 lb125-2655-03, 125-2670, and 114-4096Front frame weights, Weight bracket, and Suitcase weights412
Debris Blower (Model 30393)211 lb125-2655-03,125-2670,and 114-4096Front frame weights, Weight bracket, and Suitcase weights412
Rahn Groomer (Allied Product)Not Approved
72 inch width of cutModels 30695 with 30354, 30481, or 30353With hard canopy, Model 30349 andAdditional Front Weight RequiredWeight Part NumberWeight DescriptionQty.
Rear QAS (Model 30810) and no attachment188 lb125-2655-03, 125-2670,and 114-4096Front frame weights, Weight bracket, and Suitcase weights412
Finish Grader (Box Rake) (Model 08754)253 lb125-2655-03, 125-2670,and 114-4096Front frame weights, Weight bracket, and Suitcase weights413
Steel Drag Mat (Model 08757)238 lb125-2655-03, 125-2670,and 114-4096Front frame weights, Weight bracket, and Suitcase weights413
Tooth Rake (Model 08751)211 lb125-2655-03, 125-2670,and 114-4096Front frame weights, Weight bracket, and Suitcase weights412
Tooth rake with Spring Rake (Model 08752) attached238 lb125-2655-03, 125-2670,and 114-4096Front frame weights, Weight bracket, and Suitcase weights413
Cocoa Drag Mat (Model 08758)238 lb125-2655-03, 125-2670,and 114-4096Front frame weights, Weight bracket, and Suitcase weights413
Nail Drag (Model 08781)238 lb125-2655-03, 125-2670,and 114-4096Front frame weights, Weight bracket, and Suitcase weights413
Debris Blower (Model 30393)253 lb125-2655-03, 125-2670,and 114-4096Front frame weights, Weight bracket, and Suitcase weights413
Rahn Groomer (Allied Product)Not Approved
60 or 62 inch width of cutModels 30695 with 30456 or 30457 andAdditional Front Weight RequiredWeight Part NumberWeight DescriptionQty.
Rear QAS (Model 30810) and no attachment146 lb125-2655-03, 125-2670,and 114-4096Front frame weights, Weight bracket, and Suitcase weights411
Finish Grader (Box Rake) (Model 08754)272 lb125-2655-03, 125-2670,and 114-4096Front frame weights, Weight bracket, and Suitcase weights414
Steel Drag Mat (Model 08757)259 lb125-2655-03, 125-2670,and 114-4096Front frame weights, Weight bracket, and Suitcase weights414
Tooth Rake (Model 08751)211 lb125-2655-03, 125-2670,and 114-4096Front frame weights, Weight bracket, and Suitcase weights412
Tooth rake with Spring Rake (Model 08752) attached252 lb125-2655-03, 125-2670,and 114-4096Front frame weights, Weight bracket, and Suitcase weights413
Cocoa Drag Mat (Model 08758)252 lb125-2655-03, 125-2670,and 114-4096Front frame weights, Weight bracket, and Suitcase weights413
Nail Drag (Model 08781)252 lb125-2655-03, 125-2670,and 114-4096Front frame weights, Weight bracket, and Suitcase weights413
Debris Blower (Model 30393)276 lb125-2655-03, 125-2670,and 114-4096Front frame weights, Weight bracket, and Suitcase weights414
Rahn Groomer (Allied Product)Not Approved
60 or 62 inch width of cutModels 30362 and 30365With hard canopy, Model 30359 andAdditional Front Weight RequiredWeight Part NumberWeight DescriptionQty.
Rear QAS (Model 30810) and no attachment188 lb125-2655-03, 125-2670,and 114-4096Front frame weights, Weight bracket, and Suitcase weights412
Finish Grader (Box Rake) (Model 08754)314 lb125-2655-03, 125-2670,and 114-4096Front frame weights, Weight bracket, and Suitcase weights415
Steel Drag Mat (Model 08757)301 lb125-2655-03, 125-2670,and 114-4096Front frame weights, Weight bracket, and Suitcase weights415
Tooth Rake (Model 08751)236 lb125-2655-03, 125-2670,and 114-4096Front frame weights, Weight bracket, and Suitcase weights413
Tooth rake with Spring Rake (Model 08752) attached294 lb125-2655-03, 125-2670,and 114-4096Front frame weights, Weight bracket, and Suitcase weights414
Cocoa Drag Mat (Model 08758)294 lb125-2655-03, 125-2670,and 114-4096Front frame weights, Weight bracket, and Suitcase weights414
Nail Drag (Model 08781)294 lb125-2655-03, 125-2670,and 114-4096Front frame weights, Weight bracket, and Suitcase weights414
Debris Blower (Model 30393)318 lb125-2655-03, 125-2670,and 114-4096Front frame weights, Weight bracket, and Suitcase weights415
Rahn Groomer (Allied Product)Not Approved

Weight Charts for Model 30812

Use the following weight charts to determine the correct amount of front weight required for your machine.

72 inch width of cutModels 30495, or 30487 with 30354, 30481, or 30353With no hard canopy, Model 30349 andAdditional Front Weight RequiredWeight Part NumberWeight DescriptionQty.
Rear QAS (Model 30812) and no attachment0 lbNA
Finish Grader (Box Rake) (Model 08754)0 lbNA
Steel Drag Mat (Model 08757)0 lbNA
Tooth Rake (Model 08751)0 lbNA
Tooth rake with Spring Rake (Model 08752) attached0 lbNA
Cocoa Drag Mat (Model 08758)67 lb125-2670 and114-4096Front weight bracketand42 lb front weight11
Nail Drag (Model 08781)67 lb125-2670and114-4096Front weight bracketand42 lb front weight11
Debris Blower (Model 30393)109 lb125-2670and114-4096Front weight bracketand42 lb front weight12
Rahn Groomer (Allied Product)151 lb125-2670 and114-4096Front weight bracketand42 lb front weight13
72 inch width of cutModels 30495, or 30487 with 30354, 30481, or 30353With hard canopy, Model 30359 andAdditional Front Weight RequiredWeight Part NumberWeight DescriptionQty.
Rear QAS (Model 30812) and no attachment0 lbNA
Finish Grader (Box Rake) (Model 08754)25 lb125-2670Front weight bracket1
Steel Drag Mat (Model 08757)25 lb125-2670Front weight bracket1
Tooth Rake (Model 08751)25 lb125-2670Front weight bracket1
Tooth rake with Spring Rake (Model 08752) attached25 lb125-2670Front weight bracket11
Cocoa Drag Mat (Model 08758)109 lb 125-2670 and114-4096Front weight bracketand42 lb front weight12
Nail Drag (Model 08781)109 lb125-2670 and114-4096Front weight bracketand42 lb front weight12
Debris Blower (Model 30393)151 lb125-2670and114-4096Front weight bracketand42 lb front weight13
Rahn Groomer (Allied Product)Not Approved
62 inch width of cutModels 30495, or 30487 with 30456 or 30457With no hard canopy, Model 30349 andAdditional Front Weight RequiredWeight Part NumberWeight DescriptionQty.
Rear QAS (Model 30812) and no attachment67 lb 125-2670and114-4096Front weight bracketand42 lb front weight11
Finish Grader (Box Rake) (Model 08754)151 lb125-2670and114-4096Front weight bracketand42 lb front weight13
Steel Drag Mat (Model 08757)151 lb125-2670and114-4096Front weight bracketand42 lb front weight13
Tooth Rake (Model 08751)151 lb125-2670and114-4096Front weight bracketand42 lb front weight12
Tooth rake with Spring Rake (Model 08752) attached151 lb125-2670and114-4096Front weight bracketand42 lb front weight13
Cocoa Drag Mat (Model 08758)151 lb125-2670and114-4096Front weight bracketand42 lb front weight13
Nail Drag (Model 08781)151 lb125-2670and114-4096Front weight bracketand42 lb front weight13
Debris Blower (Model 30393)151 lb125-2670and114-4096Front weight bracketand42 lb front weight13
Rahn Groomer (Allied Product)Not Approved
62 inch width of cutModels 30362 and 30365With hard canopy, Model 30359 andAdditional Front Weight RequiredWeight Part NumberWeight DescriptionQty.
Rear QAS (Model 30812) and no attachment109 lb 125-2670and114-4096Front weight bracketand42 lb front weight12
Finish Grader (Box Rake) (Model 08754)193 lb125-2670and114-4096Front weight bracketand42 lb front weight13
Steel Drag Mat (Model 08757)193 lb 125-2670and114-4096Front weight bracketand42 lb front weight14
Tooth Rake (Model 08751)151 lb125-2670and114-4096Front weight bracketand42 lb front weight13
Tooth rake with Spring Rake (Model 08752) attached193 lb125-2670and114-4096Front weight bracketand42 lb front weight14
Cocoa Drag Mat (Model 08758)193 lb 125-2670and114-4096Front weight bracketand42 lb front weight14
Nail Drag (Model 08781)193 lb125-2670and114-4096Front weight bracketand42 lb front weight14
Debris Blower (Model 30393)193 lb 125-2670and114-4096Front weight bracketand42 lb front weight14
Rahn Groomer (Allied Product)Not Approved

Operating Tips

  • Read and understand the attachment Operator's Manual before using the machine.

  • Make sure that the appropriate weight mount bracket and front weight(s) are installed for the rear attachment.

  • Remove rear attachment and any loose front-end weights prior to mowing.

  • Use care when operating the machine when a rear attachment is installed, because it is wider than the machine and may contact poles, fences, or trees.

  • Never operate the machine near bystanders.

Maintenance

  • Lubricate the grease fittings with Number 2 lithium-based grease weekly or after every washing.

  • When operating in dusty conditions, the air cleaner should be checked daily. A safety air-cleaner element is available and may be added to the existing air cleaner for additional engine protection.