| Периодичность технического обслуживания | Порядок технического обслуживания |
|---|---|
| Перед каждым использованием или ежедневно |
|
Данная машина является специальным транспортным средством для опрыскивания грунта, предназначенным для использования профессиональными наемными операторами в коммерческих целях. Она предназначена главным образом для аэрации ухоженных газонов в парках, на площадках для игры в гольф, спортивных площадках и коммерческих территориях. Данная машина рассчитана в основном на использование вне магистральных дорог, она не предназначена для активного применения на дорогах общего пользования. Использование этого изделия не по прямому назначению может быть опасным для пользователя и находящихся рядом людей.
Внимательно изучите данное руководство, чтобы знать как правильно использовать и обслуживать машину, не допуская ее повреждения и травмирования персонала. Вы несете ответственность за правильное и безопасное использование машины.
Посетите www.Toro.com для получения дополнительной информации, в том числе рекомендаций по технике безопасности, обучающих материалов, информации о вспомогательных приспособлениях, для помощи в поисках дилера или для регистрации изделия.
Для выполнения технического обслуживания, приобретения оригинальных запчастей Toro или получения дополнительной информации обращайтесь в сервисный центр официального дилера или в отдел технического обслуживания компании Toro. Не забудьте при этом указать модель и серийный номер изделия. На Рисунок 1 показано расположение номера модели и серийного номера. Запишите номера в предусмотренном для этого месте.
Important: С помощью мобильного устройства вы можете отсканировать QR-код на табличке с серийным номером (при наличии), чтобы получить информацию по гарантии и запчастям, а также другие сведения об изделии.

В настоящем руководстве приведены потенциальные опасности и рекомендации по их предотвращению, обозначенные символом (Рисунок 2), который предупреждает об опасности серьезного травмирования или гибели в случае несоблюдения пользователем рекомендуемых мер безопасности.

Для выделения информации в данном руководстве используются два слова. Внимание – привлекает внимание к специальной информации, относящейся к механической части машины, и Примечание – выделяет общую информацию, требующую специального внимания.
Данное изделие удовлетворяет всем соответствующим европейским директивам; подробные сведения содержатся в документе «Декларация соответствия» на каждое отдельное изделие.
Раздел 4442 или 4443 Калифорнийского свода законов по общественным ресурсам запрещает использовать или эксплуатировать на землях, покрытых лесом, кустарником или травой, двигатель без исправного искрогасительного устройства, описанного в разделе 4442 и поддерживаемого в надлежащем рабочем состоянии; или двигатель должен быть изготовлен, оборудован и проходить обслуживание с учетом противопожарной безопасности.
Прилагаемое Руководство владельца двигателя содержит информацию о требованиях Агентства по охране окружающей среды США (EPA) и (или) Директивы по контролю вредных выбросов штата Калифорния, касающихся систем выхлопа, технического обслуживания и гарантии. Запасные части можно заказать у изготовителя двигателя.
КАЛИФОРНИЯ
Положение 65, Предупреждение
Согласно законам штата Калифорния считается, что выхлопные газы дизельного двигателя и некоторые их составляющие вызывают рак, врождённые пороки, и представляют опасность для репродуктивной функции.
Полюсные выводы аккумуляторной батареи, клеммы, и сопутствующие принадлежности содержат свинец и соединения свинца - химические вещества, которые в штате Калифорния расцениваются как вызывающие рак и нарушающие репродуктивную функцию. После работы с этими элементами необходимо мыть руки.
Лица, использующие данное вещество, должны иметь в виду, что, согласно информации, имеющейся в распоряжении компетентных органов штата Калифорния, оно содержит химическое соединение (соединения), отнесенные к категории канцерогенных, способных вызвать врождённые пороки и оказывающих вредное воздействие на репродуктивную систему человека.
Несоблюдение оператором или владельцем указаний по эксплуатации или техническому обслуживанию машины может стать причиной травм. Рисунок 2Чтобы снизить вероятность травмирования, соблюдайте правила техники безопасности и всегда обращайте внимание на предупреждающие символы, которые имеют следующее значение: Внимание!, Осторожно! или Опасно! – указания по обеспечению личной безопасности. Несоблюдение данных инструкций может стать причиной травмы или гибели.
Данная машина была спроектирована согласно требованиям стандарта SAE J2258.
Нарушение правил работы с данным изделием может стать причиной травм. Во избежание тяжелых травм всегда соблюдайте все правила техники безопасности.
Перед запуском двигателя прочтите и усвойте содержание настоящего Руководства оператора.
Будьте предельно внимательны при работе на данной машине. Во избежание травмирования людей или повреждения имущества не отвлекайтесь во время работы.
Для предотвращения контакта с химикатами используйте подходящие средства индивидуальной защиты (СИЗ). Химические вещества, используемые в системе опрыскивания, могут быть опасными и ядовитыми.
Не помещайте руки и ноги рядом с движущимися компонентами машины.
Не эксплуатируйте данную машину без установленных на ней исправных ограждений и других защитных устройств.
Не допускайте посторонних лиц в зону выходных отверстий сопл опрыскивателя и в зону сноса распыла. Не допускайте посторонних лиц и детей в рабочую зону.
Запрещается допускать детей к эксплуатации машины.
Прежде чем покинуть рабочее место оператора, выключите двигатель, извлеките ключ (при наличии) и дождитесь остановки всех движущихся частей машины. Дайте машине остыть перед регулировкой, техническим обслуживанием, очисткой или помещением на хранение.
Нарушение правил
эксплуатации или
технического обслуживания
машины может привести
к травме. Чтобы
снизить вероятность
травмирования,
выполняйте правила
техники безопасности
и всегда обращайте
внимание на символы,
предупреждающие
об опасности (
, которые
имеют следующее
значение: «Осторожно!»,
«Внимание!» или
«Опасно!» – указания
по обеспечению
личной безопасности.
Несоблюдение данных
инструкций может
стать причиной
травмы или гибели.
В настоящем руководстве рассматривается не все навесное оборудование, которое может применяться с данной машиной. Дополнительные инструкции по технике безопасности см. в руководстве оператора, прилагаемом к каждому навесному оборудованию.
![]() |
Предупреждающие наклейки и инструкции по технике безопасности должны быть хорошо видны оператору и установлены во всех местах потенциальной опасности. Если наклейка отсутствует или повреждена, установите новую наклейку. |





























Note: Определите левую и правую стороны машины относительно места оператора.
Note: Если у вас есть вопросы или вам нужна дополнительная информация по системе управления опрыскиванием, см. Руководство оператора, прилагаемое к системе.
Important: Данный опрыскиватель продается без сопел.Чтобы использовать опрыскиватель, необходимо приобрести и установить сопла. Свяжитесь с официальным дистрибьютором Toro, чтобы узнать о наличии в продаже комплекта секции стрелы и принадлежностей. После установки сопел и перед первым использованием опрыскивателя отрегулируйте перепускные клапаны секций так, чтобы при выключении одной или нескольких секций давление и норма внесения во всех остальных секциях оставались на том же уровне. См. Регулировка клапанов перепуска секций.
Детали, требуемые для этой процедуры:
| Быстроразъемный штуцер | 1 |
Note: Для выполнения этой процедуры понадобится шланг подачи со штуцером, имеющим наружную резьбу 1 дюйм NPT (американская национальная трубная резьба) и тефлоновый уплотнитель для резьбы.
В передней правой части крышки бака извлеките 2 игольчатых шплинта, которые крепят защелки быстроразъемного соединителя противосифонной входной части бака (Рисунок 3).

Откройте защелки, чтобы отсоединить быстроразъемный штуцер от быстроразъемного соединителя (Рисунок 3).
Снимите быстроразъемный штуцер с быстроразъемного соединителя (Рисунок 3).
Закройте защелки и вставьте игольчатые шплинты во фланцы быстроразъемного соединителя (Рисунок 3).
Наложите тефлоновый уплотнитель для резьбы (Рисунок 4) на резьбу штуцера заливного шланга (1 дюйм — американская национальная трубная резьба).

Заверните быстроразъемный соединитель в заливной шланг и затяните его от руки (Рисунок 4).
Important: Эксплуатация системы опрыскивания при неправильном сжатии пружин шарнира секции может привести к повреждению стрелы в сборе. Измерьте пружины и используйте зажимную гайку, чтобы сжать пружины до 4 см, если необходимо.
Опрыскиватель поставляется с удлинителями секций, которые можно откинуть вперед для облегчения транспортировки машины. При изготовлении пружины затягивают не полностью, чтобы секции были установлены в положение для транспортировки. Перед работой на машине необходимо отрегулировать правильное сжатие пружин.
Если необходимо, снимите упаковочные компоненты, которые крепят правую и левую удлиненные секции во время транспортировки.
Поместите подставки под секции, выдвинутые в положение опрыскивания.
На шарнире секции измерьте степень сжатия верхней и нижней пружин, пока секции находятся в выдвинутом положении (Рисунок 5).
Сожмите обе пружины до размера 4 см.
Если длина какой-либо из пружин больше 4 см, сожмите ее с помощью контргайки.

Повторите эту процедуру для каждой пружины на обоих шарнирах секций.
Переведите секции в положение транспортировки "X". См. дополнительную информацию в разделе Изменение положения секций опрыскивания.



Педаль тяги (Рисунок 10) управляет движением машины в прямом и обратном направлениях. Для движения вперед нажимайте носком правой ступни на верхнюю часть педали, а для движения задним ходом — пяткой правой ступни на нижнюю часть педали. Для замедления и остановки машины отпустите педаль.
Important: Прежде чем переключаться между положениями Передний ход и Задний ход, убедитесь, что опрыскиватель полностью остановился.
Note: Чем сильнее вы нажимаете педаль в одном из направлений, тем быстрее будет двигаться опрыскиватель. Чтобы получить максимальную скорость движения в прямом направлении, установите рычаг дроссельной заслонки в положение Быстро и нажмите педаль тяги до упора вперед.
Note: Чтобы получить максимальную мощность при большой нагрузке или движении вверх по уклону, установите рычаг дроссельной заслонки в положение FAST (Быстро), при этом только слегка нажимая педаль тяги, чтобы сохранить большую скорость двигателя. Если обороты двигателя начинают снижаться, слегка отпустите педаль управления тягой, чтобы двигатель мог снова набрать обороты.

Педаль тормоза предназначена для остановки или замедления автомобиля (Рисунок 10).
Управление опрыскивателем с плохо отрегулированными или изношенными тормозами может привести к потере контроля над машиной, что может стать причиной серьезной травмы и даже гибели оператора и находящихся поблизости людей.
Всегда проверяйте тормоза перед эксплуатацией опрыскивателя, сохраняйте их надлежащую регулировку и своевременно ремонтируйте их.
Стояночный тормоз – это педаль, расположенная слева от педали тормоза (Рисунок 10). Чтобы предотвратить случайное движение опрыскивателя, включайте стояночный тормоз, прежде чем покинуть рабочее место. Чтобы включить стояночный тормоз, нажмите педаль тормоза и, удерживая ее, нажмите педаль стояночного тормоза. Для выключения нажмите и отпустите педаль тормоза. Если опрыскиватель припаркован на крутом склоне, включите стояночный тормоз и поставьте колодки под колеса с той стороны, которая находится ниже по уклону.
Замок зажигания (Рисунок 9) используется для включения и выключения двигателя и имеет 3 положения: Выкл. , Вкл. и Пуск.
Переключатель фиксатора скорости движения при включении фиксирует положение педали тяги (Рисунок 11). Таким образом обеспечивается движение опрыскивателя по ровной поверхности с одинаковой скоростью.

Рычаг дроссельной заслонки, расположенный на панели управления между сиденьями (Рисунок 11), используется для управления частотой вращения двигателя. Переместите рычаг вперед, чтобы увеличить частоту вращения двигателя, и потяните назад, чтобы уменьшить ее.
Данный переключатель управляет рабочим освещением (Рисунок 9). Нажмите его вперед для включения фар и назад – для выключения.
Указатель уровня топлива, расположенный на приборной панели машины, показывает уровень топлива в топливном баке (Рисунок 9).
2-гнездовой разъем питания USB расположен в задней части подлокотника (Рисунок 12).


Сигнальная лампа давления масла загорается, если давление масла в двигателе падает ниже 48 кПа.
Если машина работает нормально, сигнальная лампа давления масла загорается при повороте замка зажигания в положение Вкл. и гаснет после запуска двигателя.
Сигнальная лампа температуры охлаждающей жидкости загорается, когда температура охлаждающей жидкости превышает 102 – 108° C.
Сигнальная лампа напряжения аккумуляторной батареи загорается, если напряжение генератора переменного тока падает на 1,5 В и более ниже напряжения аккумуляторной батареи.
Если машина работает нормально, сигнальная лампа напряжения аккумуляторной батареи загорается при повороте замка зажигания в положение Вкл. и гаснет после запуска двигателя.
Сигнальная лампа свечи предпускового подогрева загорается при подаче питания на свечу предпускового подогрева. При повороте ключа в замке зажигания в положение Вкл. сигнальная лампа свечи предпускового подогрева загорается на 6 секунд, в течение которых на свечу предпускового подогрева подается питание. Когда сигнальная лампа свечи предпускового подогрева погаснет, двигатель готов к запуску.

Манометр (Рисунок 14) расположен на приборной панели. Этот манометр показывает давление жидкости в системе опрыскивания в фунтах на кв. дюйм и кПа.
Используйте переключатель режима опрыскивания для переключения между режимом заданной нормы внесения (закрытый контур) и ручным режимом (открытый контур)..
Переключатель нормы внесения расположен на приборной панели с правой стороны от рулевого колеса (Рисунок 14). Используйте переключатель нормы внесения опрыскивания для управления скоростью работы насоса для опрыскивания, когда опрыскиватель работает в ручном режиме. Переведите переключатель вперед и удерживайте для увеличения нормы внесения (давления) или переведите его назад и удерживайте для уменьшения нормы внесения (давления).
Выключатель насоса расположен на центральной консоли с правой стороны от сиденья (Рисунок 14). Переведите этот переключатель вперед, чтобы запустить насос для опрыскивания, и назад, чтобы остановить его. Когда этот переключатель включен, его индикатор загорается.
Important: Чтобы предотвратить повреждение привода насоса, устанавливайте в положение «Вкл.» выключатель насоса для опрыскивания только в случае, если двигатель находится на малой частоте холостого хода.
Переключатели подъема секций стрелы расположены на центральной консоли справа от сиденья и используются для подъема или опускания левой и правой секций стрелы (Рисунок 14).
Главный переключатель секций расположен на центральной консоли машины. Этот переключатель позволяет запускать и останавливать распыление. Нажмите выключатель, чтобы включить или выключить систему опрыскивания (Рисунок 14).
Переключатели трех секций расположены на центральной консоли напротив подлокотника (Рисунок 14). Чтобы включить секцию, переведите соответствующий переключатель вперед, а чтобы отключить — назад. При установке переключателя в положение Вкл. в верхней части дисплея инфо-центра появляется соответствующий значок.
Note: Эти выключатели воздействуют на систему опрыскивания, только когда главный переключатель секций находится в положенииВкл. .
Переключатель перемешивания расположен на центральной консоли справа от сиденья (Рисунок 14). Переведите этот переключатель вперед, чтобы включить перемешивание в баке, и назад, чтобы остановить перемешивание. При включении этого переключателя на нем загорается индикатор. Для управления функцией перемешивания включите насос системы опрыскивания, двигатель при этом должен работать на частоте выше малой частоты холостого хода.
При выключении функции перемешивания перепускной клапан перемешивания перенаправляет поток жидкости в насос системы опрыскивания (Рисунок 15). Перепускной клапан перемешивания расположен над клапаном перемешивания. Перепускной клапан можно отрегулировать так, чтобы обеспечить сохранение постоянного давления при циклическом включении и выключении перемешивания; см. Калибровка перепускного клапана перемешивания.

Расходомер измеряет расход жидкости и используется системой инфо-центра, а также применяется при опрыскивании в режиме заданной нормы внесения (Рисунок 15).
Дроссельный клапан перемешивания — это механический шаровой клапан, управляющий расходом жидкости, подаваемой для перемешивания в сопла основного бака. С помощью этого клапана оператор опрыскивателя может контролировать давление системы опрыскивания в соплах перемешивания основного бака, когда требуется более высокая норма внесения. Дроссельный клапан перемешивания расположен над насосом (Рисунок 16).

Перепускные клапаны секций используются для регулировки давления в системе опрыскивателя, подаваемого на клапаны секций, чтобы обеспечить постоянное давление в секциях опрыскивания независимо от того, сколько секций включено (Рисунок 17).
Note: Используйте перепускные клапаны только при опрыскивании в ручном режиме (открытый контур).

Используйте отсечной клапан перепуска секции для контроля расхода жидкости, поступающей от перепускных клапанов секций в бак при опрыскивании в ручном режиме (с открытым контуром); см. Рисунок 17.
Note: Закройте отсечной клапан перепуска секции при опрыскивании в режиме заданной нормы внесения (с закрытым контуром).
В передней части крышки бака находится розетка для шланга с резьбовым штуцером, 90-градусным штуцером типа «елочка» и коротким шлангом, который можно направить в отверстие бака. Эта входная часть позволяет подсоединить водяной шланг и заполнить бак водой, не загрязняя шланг химикатами из бака.
Important: Не растягивайте шланг, чтобы добиться контакта с жидкостью в баке. Расстояние между концом шланга и самым высоким уровнем воды должно быть в пределах местных установленных норм.

Крышка бака расположена посередине верхней части бака. Чтобы открыть ее, выключите двигатель, поверните переднюю половину крышки влево и откиньте ее в открытое положение. Можно извлечь для очистки находящийся внутри сетчатый фильтр. Чтобы герметично закрыть бак, закройте крышку и поверните переднюю половину вправо.
Органы управления инфо-центра включают 5 кнопок под жидкокристаллическим дисплеем, с помощью которых можно переходить по меню, вводить данные и изменять функции.

Note: Технические характеристики и конструкция могут быть изменены без уведомления.
| Описание | Значение |
|---|---|
| Сухая масса | 1307 кг |
| Масса со стандартной системой опрыскивания без воды и без оператора | 1307 кг |
| Масса со стандартной системой опрыскивания с водой, без оператора | 2499 кг |
| Максимальная полная масса машины (GVW) (на ровной поверхности) | 3023 кг |
| Емкость бака | 1135,6 л |
| Габаритная ширина со стандартной системой опрыскивания с секциями, сложенными для хранения в положении "X" | 226 см |
| Описание | Значение |
|---|---|
| Габаритная длина со стандартной системой опрыскивания | 391 см |
| Габаритная длина со стандартной системой опрыскивания до верха секций, сложенных для хранения в положении «X». | 442 см |
| Габаритная высота со стандартной системой опрыскивания | 146 см |
| Габаритная высота со стандартной системой опрыскивания до верха секций, сложенных для хранения в положении "X" | 231 см |
| Дорожный просвет | 18,4 см |
| Колесная база | 198 см |
Для улучшения и расширения возможностей машины можно использовать ряд утвержденных компанией Toro вспомогательных приспособлений и навесного оборудования. Обратитесь к официальному дистрибьютору компании Toro.
Для поддержания оптимальных рабочих характеристик машины и регулярного прохождения сертификации безопасности всегда приобретайте только оригинальные запасные части и приспособления компании Toro. Использование запасных частей и приспособлений, изготовленных другими производителями, может быть опасным и привести к аннулированию гарантии на изделие.
Note: Определите левую и правую стороны машины относительно места оператора.
| Периодичность технического обслуживания | Порядок технического обслуживания |
|---|---|
| Перед каждым использованием или ежедневно |
|
Запрещается допускать к эксплуатации или обслуживанию данной машины детей или неподготовленных людей. Минимальный возраст оператора устанавливается местными правилами и нормами. Владелец несет ответственность за подготовку всех операторов и механиков.
Ознакомьтесь с приемами безопасной эксплуатации оборудования, органами управления и знаками безопасности.
Прежде чем покинуть рабочее место оператора, выключите двигатель, извлеките ключ (при наличии) и дождитесь остановки всех движущихся частей машины. Дайте машине остыть перед регулировкой, техническим обслуживанием, очисткой или помещением на хранение.
Освойте порядок экстренной остановки машины и двигателя.
Проверьте надежность крепления и исправность органов контроля присутствия оператора, защитных выключателей и ограждений. Не приступайте к эксплуатации машины, пока не убедитесь в правильной работе этих устройств.
Если машина не работает правильно или каким-либо образом повреждена, не эксплуатируйте ее. Устраните неисправность до начала эксплуатации машины или навесного оборудования.
Убедитесь в чистоте мест оператора и пассажира, в отсутствии на них остатков химикатов и скоплений мусора.
Перед подачей давления в систему убедитесь, что все соединители гидравлических трубопроводов затянуты и все шланги находятся в хорошем состоянии.
Будьте предельно осторожны при обращении с топливом. Топливо легко воспламеняется, а его пары взрывоопасны.
Потушите все сигареты, сигары, трубки и другие источники возгорания.
Используйте только разрешенную к применению емкость для топлива.
Запрещается снимать крышку топливного бака и доливать топливо в бак во время работы двигателя или когда двигатель нагрет.
Запрещается доливать или сливать топливо в закрытом пространстве.
Запрещается хранить машину или емкость с топливом в местах, где есть открытое пламя, искры или малая горелка, используемая, например, в водонагревателе или другом оборудовании.
В случае разлива топлива не пытайтесь запустить двигатель; пока пары топлива не рассеются, следите, чтобы не возникло возгорания.
Химические вещества, используемые в системе опрыскивателя, могут быть опасными и ядовитыми для оператора, находящихся поблизости людей, животных, растений, почвы и других объектов.
Прочитайте информацию по каждому химикату. При отсутствии данной информации не приступайте к работе с опрыскивателем.
До начала работы с системой опрыскивания убедитесь, что она была трижды промыта и нейтрализована в соответствии с рекомендациями изготовителя (изготовителей) химикатов и все клапаны были приведены в действие на полный рабочий ход 3 раза.
Убедитесь в наличии достаточного количества чистой воды и мыла вблизи места выполнения работ. Следует немедленно смывать любые химикаты, попавшие на кожу.
Внимательно прочтите указания на предупреждающих табличках по химическим веществам и в паспортах безопасности материалов (SDS) по всем используемым химикатам, чтобы защитить себя в соответствии с рекомендациями изготовителя, и следуйте этим указаниям.
Всегда защищайте тело при использовании химикатов. Для предотвращения контакта с химикатами используйте подходящие средства индивидуальной защиты (СИЗ), например:
защитные очки рекомендуемого типа и/или защитную маску;
защитный противохимический костюм;
респиратор или маску с фильтром;
перчатки, устойчивые к воздействию химикатов;
резиновые сапоги или другую прочную обувь;
чистую смену белья, мыло и одноразовые полотенца для очистки.
Прежде чем использовать химикаты, пройдите надлежащее обучение.
Используйте для работы подходящие химикаты.
Следуйте указаниям изготовителя химиката по его безопасному применению. Не превышайте рекомендованное давление опрыскивания в системе.
Не выполняйте заполнение, калибровку или очистку машины, когда кто-либо (особенно дети или животные) находятся в рабочей зоне.
Работайте с химикатами в хорошо проветриваемых помещениях.
Не ешьте, не пейте и не курите при работе с химикатами.
Запрещается очищать распылительные сопла продувкой или помещая их в рот.
Обязательно мойте руки и другие открытые части тела сразу после завершения работы с химикатами.
Храните химикаты в их заводских упаковках и в безопасном месте.
Правильно утилизируйте неиспользованные химикаты и их емкости в соответствии с указаниями изготовителя и местными правилами.
Химикаты и испарения являются опасными; никогда не спускайтесь в бак, не держите голову над отверстием бака и не опускайте ее в отверстие.
Соблюдайте все местные, государственные и федеральные требования к нанесению и распылению ядохимикатов.
Проверяйте следующие компоненты в начале каждого дня эксплуатации опрыскивателя:
Проверьте давление воздуха в шинах.
Note: Шины этой машины отличаются от автомобильных шин, они требуют меньшего давления воздуха, чтобы свести к минимуму уплотнение и повреждение травяного покрова.
Проверьте уровни всех жидкостей; при обнаружении низкого уровня добавьте соответствующее количество жидкости указанного типа.
Проверьте работу педали тормоза.
Проверьте работу фар.
Поверните рулевое колесо влево и вправо, чтобы проверить реакцию рулевого управления.
При выключенном двигателе проверьте, нет ли утечек масла, ослабления крепления частей и любых других заметных нарушений.
При обнаружении какой-либо неполадки из вышеперечисленных сообщите об этом механику или выполните проверку со своим руководителем, прежде чем начать дневную работу опрыскивателя. Ваш руководитель может поручить вам ежедневно проверять и другие позиции, поэтому уточните, за какие проверки вы несете ответственность.
Прежде чем запускать двигатель и использовать машину, проверьте уровень масла в картере двигателя, см. Проверка масла в двигателе.
Прежде чем запускать двигатель и использовать машину, проверьте систему охлаждения, см. Проверка уровня охлаждающей жидкости.
Прежде чем запускать двигатель и использовать машину, проверьте гидравлическую систему, см. Проверка гидравлической жидкости.
| Периодичность технического обслуживания | Порядок технического обслуживания |
|---|---|
| Перед каждым использованием или ежедневно |
|
Регулярно проверяйте уровень давления в шинах. Накачивайте шины до 138 кПа.
Note: Кроме того, проверяйте шины на наличие износа или повреждений.
| Периодичность технического обслуживания | Порядок технического обслуживания |
|---|---|
| Перед каждым использованием или ежедневно |
|
Перед запуском опрыскивателя слегка нажмите педаль тормоза. Если ход педали до появления сопротивления превышает 2,5 см, отрегулируйте тормоза; см. Регулировка тормозов.
Управление опрыскивателем с плохо отрегулированными или изношенными тормозами может привести к потере контроля над машиной, что может стать причиной серьезной травмы и даже гибели оператора и находящихся поблизости людей.
Всегда проверяйте тормоза перед эксплуатацией опрыскивателя, сохраняйте их надлежащую регулировку и своевременно ремонтируйте их.
Important: Чтобы топливо всегда было свежим, приобретайте его в количествах, которые могут быть использованы в течение 180 дней.
Note: Для двигателя данной машины может потребоваться топливо с более высоким цетановым числом, если машина работает на большой высоте над уровнем моря или при низкой температуре окружающей среды.
Запрещается использовать керосин или бензин вместо дизельного топлива.
Запрещается смешивать керосин или использованное моторное масло с дизельным топливом.
Используйте только чистое, свежее дизельное или биодизельное топливо.
| Дизельное топливо с цетановым числом не менее 40. |
| Используйте дизельное топливо с низким или сверхнизким содержанием серы. |
| Используйте летнее дизельное топливо (№ 2-D) при температуре выше -7 °C и зимнее (№ 1-D или смесь № 1-D/2-D) при более низкой температуре. |
Note: Применение зимнего топлива при пониженных температурах обеспечивает более низкую температуру воспламенения и требуемую текучесть при низких температурах, что облегчает пуск двигателя и уменьшает засорение топливного фильтра.
Использование летнего топлива при температурах выше -7 °C способствует увеличению срока службы топливного насоса и повышению мощности по сравнению с зимним топливом.
| Используйте смесь биодизельного топлива в пропорции до B20 (20% биодизтоплива, 80% нефтяного дизтоплива). |
| Нефтяная составляющая дизельного топлива должна иметь низкое или сверхнизкое содержание серы. |
| Биодизельная часть топлива должна отвечать стандартам ASTM D6751 или EN14214. Состав смешанного топлива должен отвечать стандартам ASTM D975 или EN590. |
| В холодную погоду используйте смеси B5 (содержание биодизельного топлива 5%) или менее. |
Соблюдайте следующие меры предосторожности:
Через какое-то время после перехода на биодизельные смеси возможно засорение топливного фильтра.
Проверяйте уплотнения, шланги и прокладки, находящиеся в контакте с топливом, т. к. они со временем изнашиваются.
Биодизельные смеси могут повредить окрашенные поверхности.
Для получения дополнительной информации о биодизельном топливе обратитесь к своему дистрибьютору.
Емкость топливного бака: приблизительно 45 л.
Припаркуйте машину на ровной поверхности, включите стояночный тормоз, остановите насос для опрыскивания, выключите двигатель, извлеките ключ и дайте двигателю остыть.
Очистите поверхность вокруг крышки топливного бака (Рисунок 20).

Снимите крышку топливного бака.
Заправляйте бак до уровня, не доходящего примерно на 2,5 см до верха бака (нижнего уровня заливной горловины).
Note: Оставшееся в баке воздушное пространство позволяет топливу расширяться. Не переполняйте бак.
Надежно закройте крышку топливного бака.
Вытрите весь расплескавшийся бензин.
| Периодичность технического обслуживания | Порядок технического обслуживания |
|---|---|
| Через первые 100 часа |
|
Регулярно проверяйте уровни моторного масла и рабочих жидкостей, а также будьте внимательны, чтобы не пропустить признаков перегрева каких-либо компонентов опрыскивателя.
После пуска холодного двигателя дайте ему прогреться около 15 секунд, прежде чем начать движение.
Старайтесь не повышать резко обороты двигателя.
Меняйте скорость опрыскивателя во время эксплуатации. Не следует резко трогаться и останавливаться.
Все специальные проверки после малого пробега описаны в разделе .
Note: См. руководство по выбору сопел, имеющееся у официального дилера компании Toro.
В поворотные головки можно установить до трех различных сопел. Для выбора нужного сопла выполните следующие действия:
Установите опрыскиватель на ровной горизонтальной поверхности, выключите двигатель, извлеките ключ и включите стояночный тормоз.
Установите главный выключатель секций в положение Выкл., а затем установите выключатель насоса для опрыскивания в положение Выкл.
Поверните поворотную головку с соплами в любом направлении, чтобы выбрать нужное сопло.
Если машина работает в режиме заданной нормы внесения, выполните калибровку расхода; см. Руководство по программному обеспечению на опрыскиватели травяного покрова Multi Pro 5800-D и 5800-G с системой опрыскивания ExcelaRate.
Стандартная комплектация: сетчатый фильтр линии всасывания 50 меш (синий)
Используйте таблицу выбора фильтров линии нагнетания для определения размера ячейки (меш) сетчатого фильтра для используемых распылительных сопел в зависимости от применяемых химикатов или растворов с вязкостью, эквивалентной вязкости воды.
| Цветовой код распылительного сопла (расход) | Размер ячейки сетчатого фильтра (меш)* | Цветовой код фильтра |
|---|---|---|
| Желтый (0,2 галлона в минуту) | 50 | Синий |
| Красный (0,4 галлона в минуту) | 50 | Синий |
| Коричневый (0,5 галлона в минуту) | 50 (или 30) | Синий (или зеленый) |
| Серый (0,6 галлона в минуту) | 30 | Зеленый |
| Белый (0,8 галлона в минуту) | 30 | Зеленый |
| Синий (1,0 галлон в минуту) | 30 | Зеленый |
| Зеленый (1,5 галлона в минуту) | 30 | Зеленый |
| * Размер ячейки (размер меш) фильтров линии всасывания в данной таблице указан в соответствии с распыляемыми химикатами или растворами с вязкостью, эквивалентной вязкости воды. | ||
Important: При распылении химикатов с более высокой вязкостью (более плотных) или растворов со смачивающимися порошками может потребоваться применение более грубого сетчатого фильтра линии для приобретаемого отдельно фильтра линии всасывания; см. Рисунок 21.

При опрыскивании с более высокой нормой внесения может потребоваться использование приобретаемого отдельно более грубого фильтра линии всасывания; см. Рисунок 22.

В наличии имеются сетчатые фильтры следующих размеров:
Стандартная комплектация: сетчатый фильтр линии всасывания 50 меш (синий)
Используйте таблицу выбора фильтров линии нагнетания для определения размера ячейки (меш) сетчатого фильтра для используемых вами распылительных сопл в зависимости от применяемых химикатов или растворов с вязкостью, эквивалентной вязкости воды.
| Цветовой код распылительного сопла (расход) | Размер ячейки сетчатого фильтра (меш)* | Цветовой код фильтра |
|---|---|---|
| По мере необходимости для химикатов или растворов низкой вязкости или для малой нормы внесения | 100 | Зеленый |
| Желтый (0,2 галлона в минуту) | 80 | Желтый |
| Красный (0,4 галлона в минуту) | 50 | Синий |
| Коричневый (0,5 галлона в минуту) | 50 | Синий |
| Серый (0,6 галлона в минуту) | 50 | Синий |
| Белый (0,8 галлона в минуту) | 50 | Синий |
| Синий (1,0 галлон в минуту) | 50 | Синий |
| Зеленый (1,5 галлона в минуту) | 50 | Синий |
| По мере необходимости для химикатов или растворов высокой вязкости или для высокой нормы внесения | 30 | Красный |
| По мере необходимости для химикатов или растворов высокой вязкости или для высокой нормы внесения | 16 | Коричневый |
| * Размер ячейки (размер меш) фильтров линии нагнетания в данной таблице указан в соответствии с распыляемыми химикатами и растворами с вязкостью, эквивалентной вязкости воды. | ||
Important: При распылении химикатов с более высокой вязкостью (более плотных) или растворов со смачивающимися порошками может потребоваться применение более грубого сетчатого фильтра для приобретаемого отдельно фильтра нагнетания; см. Рисунок 23.

При опрыскивании с более высокой нормой внесения может потребоваться использование приобретаемого отдельно более грубого сетчатого фильтра линии нагнетания; см. Рисунок 24.

Note: Используйте приобретаемый дополнительно фильтр наконечника сопла для защиты наконечника распылительного сопла и увеличения его срока службы.
Используйте таблицу выбора фильтров наконечников сопл для определения размера ячейки (меш) сетчатого фильтра для используемых вами распылительных сопл в зависимости от применяемых химикатов или растворов с вязкостью, эквивалентной вязкости воды.
| Цветовой код распылительного сопла (расход) | Размер сетчатого фильтра (меш)* | Цветовой код фильтра |
|---|---|---|
| Желтый (0,2 галлона в минуту) | 100 | Зеленый |
| Красный (0,4 галлона в минуту) | 50 | Синий |
| Коричневый (0,5 галлона в минуту) | 50 | Синий |
| Серый (0,6 галлона в минуту) | 50 | Синий |
| Белый (0,8 галлона в минуту) | 50 | Синий |
| Синий (1,0 галлон в минуту) | 50 | Синий |
| Зеленый (1,5 галлона в минуту) | 50 | Синий |
| * Размер ячейки (размер меш) фильтров сопл в данной таблице указан в соответствии с распыляемыми химикатами и растворами с вязкостью, эквивалентной вязкости воды. | ||
Important: При распылении химикатов с более высокой вязкостью (более плотных) или растворов со смачивающимися порошками может потребоваться применение более грубого сетчатого фильтра для приобретаемого отдельно фильтра наконечника; см. Рисунок 25.

При опрыскивании с более высокой нормой внесения может потребоваться использование приобретаемого отдельно более грубого фильтра наконечника; см. Рисунок 26.

Important: Не заливайте регенерированную воду (бытовые сточные воды без туалетного смыва) в бак свежей воды.
Note: Бак свежей воды используется в качестве источника чистой воды для промывания кожи, глаз и других частей тела в случае их случайного контакта с химикатами.
Прежде чем работать с какими-либо химикатами или смешивать их, обязательно заполните бак чистой водой.
Чтобы заполнить бак, отверните крышку в верхней части бака и залейте в него свежую воду, затем затяните крышку (Рисунок 27).
Чтобы открыть кран бака свежей воды, поверните рычаг на кране (Рисунок 27).

Установите комплект предварительного смешивания химикатов, чтобы обеспечить оптимальное смешивание и чистоту наружных поверхностей бака.
Important: По возможности не заливайте регенерированную воду (бытовые сточные воды без туалетного смыва) в бак опрыскивателя.
Important: Убедитесь, что химикаты, которые будут использоваться, совместимы с материалом Viton™ (см. этикетку изготовителя, на ней должны быть указаны несовместимые материалы). Если использовать химикат, не совместимый с материалом Viton™, он ухудшит состояние уплотнительных колец в опрыскивателе, что приведет к возникновению утечек.
Important: Метки объема на баке являются ориентировочными, их нельзя считать достаточно точными для калибровки.
Остановите машину на ровной горизонтальной поверхности, выключите двигатель, извлеките ключ и включите стояночный тормоз.
Определите количество воды, необходимое для смешивания объема химиката, предписанного его изготовителем.
Откройте крышку бака опрыскивателя.
Note: Крышка бака расположена в центре верхней части бака. Чтобы открыть крышку, поверните переднюю половину крышки против часовой стрелки и откиньте ее. Вы можете снять сетчатый фильтр под крышкой бака и очистить его.
Подсоедините заливной шланг к быстроразъемному соединителю противосифонной входной части бака.
Залейте 3/4 требуемого объема воды в бак опрыскивателя (Рисунок 28).
Important: Всегда заливайте чистую пресную воду в бак опрыскивателя. Не заливайте концентрат в пустой бак.

Запустите двигатель, включите стояночный тормоз, установите выключатель насоса для опрыскивания в положение Вкл. и переведите рычаг дроссельной заслонки в положение высокой частоты холостого хода.
Переведите выключатель перемешивания в положение Вкл.
Important: Перед добавлением смачивающихся порошков в систему опрыскивания Toro перемешайте порошки в подходящей емкости с достаточным количеством пресной воды, чтобы получить свободно текущую суспензию. Если не сделать этого, на дне бака может возникнуть осадок из химикатов, что приведет к ухудшению перемешивания, засорению фильтров и неправильной норме внесения.Компания Toro рекомендует использовать утвержденный комплект эжекторов для данной машины. Обратитесь к официальному дистрибьютору компании Toro для получения дополнительной информации.
Долейте требуемое количество концентрата химиката в бак согласно указаниям производителя химиката.
Добавьте оставшийся объем воды в бак, отсоедините заливной шланг и закройте крышку бака.
Note: Чтобы герметично закрыть бак, закройте крышку и поверните верхнюю половину по часовой стрелке.
Important: После заполнения бака в первый раз проверьте хомуты бака на наличие любых люфтов. При необходимости затяните.
| Периодичность технического обслуживания | Порядок технического обслуживания |
|---|---|
| Перед каждым использованием или ежедневно |
|
Important: Слишком сильная затяжка хомутов бака может привести к деформации и повреждению бака и хомутов.
Important: По возможности не заливайте регенерированную воду (бытовые сточные воды без туалетного смыва) в бак опрыскивателя.
Заполните основной бак водой.
Убедитесь в отсутствии люфта между хомутами и баком (Рисунок 29).

Если хомуты вокруг бака ослаблены, затяните фланцевые контргайки и болты в верхней части хомутов заподлицо с поверхностью бака (Рисунок 29).
Note: Не допускайте чрезмерной затяжки крепежных элементов хомутов бака.
Important: При работе в режиме заданной нормы внесения необходимо установить перепускные клапаны секций в закрытые положения.
Important: По возможности не заливайте регенерированную воду (бытовые сточные воды без туалетного смыва) в бак опрыскивателя.
Перед первым использованием опрыскивателя, во всех случаях после замены сопла или при возникновении необходимости выполните калибровку расхода, скорости опрыскивателя и перепускного клапана секции.
Important: Для выполнения этой процедуры выберите открытое ровное пространство.
Заполните бак опрыскивателя чистой водой наполовину.
Опустите секции опрыскивания.
Включите стояночный тормоз.
Переведите переключатель управления опрыскиванием в положение ручного режима.
Установите 3 переключателя секций в положения Вкл., но оставьте главный переключатель секций в положении Выкл.
Установите выключатель насоса для опрыскивания в положение Вкл. и включите перемешивание.
На дисплее инфо-центра перейдите на экран Calibration (Калибровка) и выберите настройку Test Speed (Испытательная скорость); см. раздел «Имитация испытательной скорости» в Руководстве по программному обеспечению на опрыскиватели травяного покрова Multi Pro 5800-D и 5800-G с системой опрыскивания ExcelaRate.
Нажмите кнопку 3 или 4 для увеличения или уменьшения имитационной скорости до 5,6 км/ч.
Нажмите кнопку 4, чтобы включить имитацию испытательной скорости.
Нажмите кнопку 5 для сохранения в памяти и выхода из экрана TEST SPEED (испытательной скорости).
С помощью переключателя нормы внесения отрегулируйте норму внесения в соответствии с приведенной ниже таблицей.
| Цвет сопла | Единицы СИ (метрические) | Британские единицы | Единицы Turf (для газонов) |
| Желтый | 159 л/га | 17 галлонов на акр | 0,39 галлона на 1000 кв. футов |
| Красный | 319 л/га | 34 галлона на акр | 0,78 галлона на 1000 кв. футов |
| Коричневый | 394 л/га | 42 галлона на акр | 0,96 галлона на 1000 кв. футов |
| Серый | 478 л/га | 51 галлон на акр | 1,17 галлона на 1000 кв. футов |
| Белый | 637 л/га | 68 галлонов на акр | 1,56 галлона на 1000 кв. футов |
| Синий | 796 л/га | 85 галлонов на акр | 1,95 галлона на 1000 кв. футов |
| Зеленый | 1,190 л/га | 127 галлонов на акр | 2,91 галлона на 1000 кв. футов |
Выключите переключатель левой секции и отрегулируйте ручку перепуска левой секции (Рисунок 30) так, чтобы установить отображенную на дисплее норму внесения на прежний уровень в соответствии с таблицей.
Note: Обозначенные номерами индикаторы на ручке перепуска и стрелка служат только в качестве ориентиров.

Включите переключатель левой секции и выключите переключатель правой секции.
Отрегулируйте ручку перепуска правой секции (Рисунок 30) так, чтобы установить отображенную на дисплее норму внесения на прежний уровень в соответствии с таблицей.
Включите переключатель правой секции и выключите переключатель средней секции.
Отрегулируйте ручку перепуска средней секции (Рисунок 30) так, чтобы установить отображенную на дисплее норму внесения на прежний уровень в соответствии с таблицей.
Выключите главный переключатель секций.
Выключите насос для опрыскивания.
Перепускной клапан перемешивания находится в полностью открытом положении, как показано на Рисунок 31А.
Перепускной клапан перемешивания находится в закрытом (0) положении, как показано на Рисунок 31В.
Перепускной клапан перемешивания находится в промежуточном положении (отрегулированном в соответствии с показаниями манометра системы опрыскивателя), как показано на Рисунок 31C.

| Периодичность технического обслуживания | Порядок технического обслуживания |
|---|---|
| Ежегодно |
|
Important: По возможности не заливайте регенерированную воду (бытовые сточные воды без туалетного смыва) в бак опрыскивателя.
Для выполнения этой процедуры выберите открытое ровное пространство.
Заполните бак опрыскивателя наполовину его объема чистой водой.
Убедитесь, что клапан управления перемешиванием открыт.
Note: Если он был отрегулирован, откройте его полностью на данном этапе.
Включите стояночный тормоз и запустите двигатель.
Установите кнопку режима опрыскивателя в ручной режим; см. (Опрыскивание в ручном режиме).
Установите выключатель насоса для опрыскивания и переключатель перемешивания в положения Вкл.
Установите главный переключатель секций в положение Выкл.
Переведите рычаг дроссельной заслонки в положение Быстро.
С помощью переключателя нормы внесения установите давление в системе опрыскивания на 689 кПа (100 фунтов на кв. дюйм).
Переведите переключатель перемешивания в положение «Выкл.» и прочитайте показание манометра.
Если манометр показывает 689 кПа, перепускной клапан перемешивания откалиброван правильно.
Если манометр показывает другое значение, перейдите к следующему пункту.
Отрегулируйте перепускной клапан перемешивания (Рисунок 32) на задней стороне клапана перемешивания так, чтобы давление в системе опрыскивания, показываемое манометром, составляло 689 кПа.

Переведите выключатель насоса для опрыскивания в положение Выкл.
Переведите рычаг дроссельной заслонки в положение Холостой ход/Медленно и поверните ключ зажигания в положение Выкл.
Насос для опрыскивания расположен около задней части бака с левой стороны (Рисунок 33).

Владелец или пользователь несет полную ответственность за любые несчастные случаи с людьми, а также за нанесение ущерба имуществу, и должен предпринять все меры для предотвращения таких случаев.
Используйте подходящую одежду, включая защитные очки, длинные брюки, нескользящую прочную обувь и средства защиты органов слуха. Закрепляйте длинные волосы на затылке и не носите свободную одежду и ювелирные украшения.
Используйте соответствующие средства индивидуальной защиты, как описано в разделе «Безопасность при работе с химикатами».
Будьте предельно внимательны при работе на данной машине. Во избежание травмирования людей или повреждения имущества не отвлекайтесь во время работы.
Запрещается управлять машиной в состоянии болезни, усталости, а также под воздействием алкоголя или сильнодействующих лекарственных препаратов.
Запрещается перевозить на данной машине более одного пассажира; пассажир должен сидеть только на сиденье, предусмотренном изготовителем.
Эксплуатируйте машину только в условиях хорошей видимости, избегайте ям и скрытых опасностей.
Прежде чем запускать двигатель, займите рабочее место оператора и убедитесь, что коробка передач находится в нейтральном положении (в случае механической коробки передач) или в положении Парковка (в случае автоматической коробки передач), а стояночный тормоз включен.
Во время движения машины оставайтесь на сиденье. По возможности держите обе руки на рулевом колесе, руки и ноги всегда должны находиться в пределах габаритов места оператора.
Будьте осторожны, приближаясь к закрытым поворотам, кустарникам, деревьям или к другим объектам, которые могут ухудшать обзор.
Перед началом движения задним ходом посмотрите назад и убедитесь в том, что позади машины никого нет. Двигайтесь задним ходом медленно.
Запрещается выполнять опрыскивание, если в непосредственной близости находятся посторонние люди (в особенности дети), а также домашние животные.
Запрещается эксплуатировать машину в непосредственной близости от ям и канав, а также на берегах водоемов. В случае наезда колесом на край обрыва или канавы, а также в случае обрушения их кромки машина может внезапно опрокинуться.
Снижайте скорость при движении по пересеченной и неровной местности, рядом с бордюрами, ямами и другими резкими изменениями поверхности. Груз может сместиться, при этом машина станет неустойчивой.
В случае удара о какой-либо предмет или при появлении аномальной вибрации в машине остановите машину, выключите двигатель, извлеките ключ зажигания, включите стояночный тормоз и проверьте машину на наличие повреждений. Прежде чем возобновлять работу, устраните все неисправности.
При выполнении поворотов, а также при пересечении дорог и тротуаров на машине замедляйте ход и будьте внимательны. Всегда уступайте дорогу другим транспортным средствам.
Будьте особенно осторожны при эксплуатации машины на мокрых поверхностях, в неблагоприятных погодных условиях, на повышенных скоростях или с полной нагрузкой. В этих условиях возрастает время остановки и тормозной путь.
Не дотрагивайтесь до двигателя или глушителя во время работы двигателя или вскоре после его останова. Эти зоны могут быть горячими и стать причиной ожогов.
Прежде чем покинуть рабочее место оператора, выполните следующие действия:
Установите машину на ровной поверхности.
Установите педаль управления тягой в положение Нейтраль.
Включите стояночный тормоз.
Выключите двигатель и извлеките ключ (при наличии).
Дождитесь остановки всех движущихся частей.
Запрещается включать двигатель в закрытом пространстве, где могут накапливаться выхлопные газы.
Запрещается работать на машине, если существует вероятность удара молнией.
Используйте только принадлежности и навесное оборудование, утвержденные компанией Toro.
Note: У каждой машины, описанной в данном Руководстве оператора, кабина, установленная компанией Toro, служит системой защиты при опрокидывании (ROPS).
Запрещается демонтировать систему защиты при опрокидывании (ROPS).
Убедитесь, что ремень безопасности застегнут и вы можете быстро отстегнуть его в экстренной ситуации. Всегда застегивайте ремень безопасности.
Тщательно проверяйте наличие препятствий сверху и не касайтесь их.
Содержите конструкцию ROPS (систему защиты при опрокидывании) в безопасном рабочем состоянии, периодические тщательно осматривая ее на наличие повреждений, и проверяя плотность затяжки креплений.
Обслуживайте и очищайте ремень (ремни) безопасности по мере необходимости.
Замените все поврежденные детали конструкции ROPS. Ремонт или переделка запрещены.
Основная опасность при работе на склонах – потеря управляемости и опрокидывание машины, которое может привести к травме или гибели. Вы несете ответственность за безопасную работу на склонах. Эксплуатация машины на любых склонах требует максимальной осторожности.
Перед эксплуатацией машины на склонах оператор должен прочитать приведенные ниже инструкции и проверить условия эксплуатации машины, чтобы определить, можно ли работать в этот день на этой рабочей площадке. Режим работы машины на склоне может меняться в зависимости от рельефа местности.
Осмотрите склон и оцените условия, чтобы определить, безопасно ли работать там на машине. При выполнении этого осмотра всегда руководствуйтесь здравым смыслом и правильно оценивайте ситуацию.
Старайтесь не начинать движение, не останавливаться и не поворачивать на склоне. Двигайтесь по склонам прямо вверх или вниз. Не изменяйте резко скорость или направление движения. В случае необходимости поворота выполняйте маневр медленно и постепенно, по возможности, направляя машину вниз по склону. Будьте осторожны при развороте машины.
Не эксплуатируйте машину, когда имеются сомнения относительно сцепления колес с грунтом, управляемости или устойчивости машины.
Устраните или пометьте препятствия, такие как канавы, ямы, колеи, впадины, камни или другие скрытые опасности. Высокая трава может скрывать различные препятствия. При движении по неровной поверхности машина может перевернуться.
Помните, что при работе на влажной траве, а также при движении поперек поверхности склонов или вниз по склону машина может потерять сцепление колес с поверхностью. Потеря сцепления с поверхностью ведущих колес может привести к соскальзыванию и потере рулевого управления и возможности торможения.
Будьте предельно осторожны при работе на машине рядом с обрывами, канавами, насыпями, водоемами или другими опасностями. Машина может внезапно опрокинуться в случае обрушения кромки. Поддерживайте установленную безопасную дистанцию между машиной и любой опасностью.
Соблюдайте повышенные меры предосторожности при эксплуатации машины с навесным оборудованием; оно может снизить устойчивость машины.
Если двигатель заглох или машина начинает терять момент инерции при движении вверх по склону, плавно нажмите на тормоз и медленно двигайтесь задним ходом и по прямой траектории вниз по склону.
При движении машины вниз по склону в коробке передач должна быть все время включена передача (при наличии).
Не ставьте машину на стоянку на уклоне.
Вес жидкости в баке может изменить управляемость машины. Во избежание потери управляемости и получения травмы соблюдайте следующие рекомендации:
При работе с тяжелым грузом снизьте скорость и обеспечьте достаточный тормозной путь. Не нажимайте резко на тормоз. Будьте особенно осторожны при работе на склонах.
Смещение жидких грузов чаще всего происходит при повороте, на подъеме или на спуске с холма, при резком изменении скорости или при движении по неровным поверхностям. Смещение груза может привести к опрокидыванию машины.
Сядьте на сиденье оператора, но не ставьте ногу на педаль тяги.
Убедитесь, что следующие органы управления установлены правильно:
Стояночный тормоз включен.
Педаль управления тягой находится в нейтральном положении.
Насос для опрыскивания выключен.
Рычаг дроссельной заслонки находится в положении Медленно.
Поверните выключатель в положение Вкл./Подогрев.
Note: Автоматический таймер управляет предпусковым подогревом, который длится приблизительно 6 секунд.
После окончания предпускового подогрева поверните ключ в положение Пуск.
Проворачивайте коленчатый вал двигателя стартером не более 15 секунд.
Когда двигатель заведется, отпустите ключ.
Если для двигателя требуется дополнительный предпусковой подогрев, поверните ключ в положение Выкл., затем снова поверните в положение Вкл./подогрев.
Note: При необходимости повторите действия c 3 по 7.
Дайте двигателю поработать на холостом ходу или при частично открытом положении дроссельной заслонки до его прогрева.
Выключите стояночный тормоз и нажмите педаль тяги вперед, чтобы перемещать машину вперед, или назад, чтобы перемещать машину назад.
Important: Прежде чем переключаться между положениями Передний ход и Задний ход, убедитесь, что опрыскиватель полностью остановился.
Для медленной остановки машины отпустите педаль тяги.
Note: Педаль тяги возвратится в положение Нейтраль.
Для быстрой остановки нажмите педаль тормоза.
Note: Остановочный путь машины может изменяться в зависимости от заполнения бака опрыскивания и скорости движения машины.
При нажатии на переключатель фиксатора скорости движения не убирайте ногу с педали тяги во избежание резкой остановки тягового блока и потери контроля над машиной, что может нанести травму вам или находящимся рядом людям.
При выключении переключателя фиксатора скорости движения убедитесь, что нога находится на педали тяги.
Запустите насос для опрыскивания, установив выключатель насоса в положение Вкл.; см. раздел Выключатель насоса для опрыскивания.
Ведите машину вперед и наберите желаемую скорость; см. Управление движением машины.
Note: Для установки фиксатора скорости движения машина должна двигаться со скоростью менее 11 км/ч.
Нажмите верхнюю часть переключателя фиксатора скорости движения.
Note: На переключателе загорится индикатор.
Уберите ногу с педали тяги.
Note: Опрыскиватель будет сохранять установленную скорость.
Чтобы отключить переключатель фиксатора скорости движения, либо поставьте ногу на педаль тяги и нажмите на нижнюю часть переключателя, либо уберите ногу с педали тяги и нажмите педаль тормоза.
Note: Индикатор на переключателе погаснет и управление тягой снова переключится на педаль тяги.
Переведите все органы управления в положения Нейтраль.
Нажмите педаль тормоза, чтобы остановить опрыскиватель.
Включите стояночный тормоз.
Переведите рычаг дроссельной заслонки в положение Холостой ход/Медленно.
Поверните ключ зажигания в положение Вкл.
Во избежание запуска двигателя посторонними людьми никогда не оставляйте ключ в замке зажигания.
При эксплуатации опрыскивателя Multi Pro® сначала заполните бак опрыскивателя, распылите смесь на рабочем участке и в конце работы очистите бак и систему опрыскивания. Очень важно выполнить все эти три этапа последовательно, чтобы предотвратить повреждение опрыскивателя. Например, не допускается смешивать и добавлять химикаты в бак опрыскивателя вечером, а производить опрыскивание на следующее утро. При этом произойдет разделение химикатов, что может привести к повреждению деталей опрыскивателя.
Химикаты являются опасными веществами и могут причинить травмы.
Прочитайте указания на этикетках химикатов, прежде чем работать с ними, и следуйте всем рекомендациям и предостережениям изготовителя.
Не допускайте попадания химикатов на кожу. В случае контакта тщательно промойте пораженное место чистой водой с мылом.
Используйте подходящие средства индивидуальной защиты (PPE) в соответствии с указаниями изготовителей химикатов.
Конструкция опрыскивателя Multi Pro® отличается повышенной прочностью и рассчитана на продолжительный срок службы. Все материалы подобраны с учетом специфики работы в различных местах, поэтому опрыскиватель удовлетворяет всем требованиям. К сожалению, нет идеального материала для всех непредвиденных обстоятельств.
Некоторые химикаты более агрессивны, чем другие, и каждый химикат по-разному взаимодействует с различными материалами. Некоторые вещества (например, смачивающиеся порошки, древесный уголь) имеют высокую абразивность и могут привести к преждевременному износу. При наличии химиката с альтернативным составом, обеспечивающим повышенный срок службы опрыскивателя, используйте этот альтернативный состав.
Следует всегда тщательно очищать опрыскиватель и систему опрыскивания после всех видов применения. Это обеспечит длительный срок безотказной работы опрыскивателя.
Note: При возникновении вопросов или для получения дополнительной информации по системе управления опрыскиванием обратитесь к Руководству оператора, прилагаемому к системе.
См. Руководство по программному обеспечению на опрыскиватели травяного покрова Multi Pro 5800-D и 5800-G с системой опрыскивания ExcelaRate, чтобы получить информацию по следующим темам:
Перед эксплуатацией
Главный экран инфо-центра
Экран главного меню
Вспомогательные экраны главного меню
Экраны Service (Обслуживание)
Диагностические экраны
Экраны About (Сведения о машине)
Во время эксплуатации
Ввод информации по рабочему заданию
Экраны Spray-Area (Зона опрыскивания) на дисплее инфо-центра
Рекомендации на дисплее инфо-центра
Прочтите Руководство по программному обеспечению на опрыскиватели травяного покрова Multi Pro 5800-D и 5800-G с системой опрыскивания ExcelaRate, чтобы получить информацию по следующим процедурам:
Important: Для качественного перемешивания раствора всегда включайте функцию перемешивания, когда в баке есть раствор.
Убедитесь, что система опрыскивания откалибрована под выбранные вами сопла, установленные в активное положение распыления; см. информацию по опрыскивателям травяного покрова Multi Pro 5800-D и 5800-G с системой опрыскивания ExcelaRate в Руководстве по программному обеспечению.
Поверните ручку отсечного клапана перепуска секции в закрытое положение (Рисунок 34).

Установите кнопку режима опрыскивателя в режим заданной нормы внесения (Application Rate Mode) (Рисунок 35).

Переместите опрыскиватель в зону травяного покрова, где будет осуществляться опрыскивание.
Для сбора данных по опрыскиваемой площади и объему распыленного материала для каждой рабочей площадки выберите экран вспомогательной рабочей зоны (вспомогательные зоны с 1 по 20), чтобы записывать индивидуальную информацию по рабочей зоне и объему; см. раздел «Использование экрана вспомогательной рабочей зоны» в Руководстве по программному обеспечению для опрыскивателя травяного покрова Multi Pro 5800-D и 5800-G с системой опрыскивания ExcelaRate.
Note: При перемещении на другую рабочую площадку необходимо выбрать другой экран вспомогательной рабочей зоны, чтобы автоматически регистрировать индивидуальную информацию по этой рабочей зоне и объему распыленного материала.
Если необходимо переключить действующую норму внесения со значения 1 на значение 2, на главном экране дисплея инфо-центра нажмите кнопки 1 и 2 одновременно, чтобы выбрать норма внесения 1 (RATE 1), или нажмите одновременно кнопки 4 и 5, чтобы выбрать норма внесения 2 (RATE 2); см. Руководство по программному обеспечению на опрыскиватели травяного покрова Multi Pro 5800-D и 5800-G с системой опрыскивания ExcelaRate.
Установите переключатель (переключатели) секций опрыскивания в положение Вкл. (Рисунок 36).

Установите переключатель перемешивания и выключатель насоса для опрыскивания в положения Вкл. (Рисунок 37).

Установите регулятор дроссельной заслонки в положение Быстро (Рисунок 37).
Начните движение на машине с требуемой скоростью, а затем установите главный переключатель секций в положение Вкл., чтобы начать опрыскивание (Рисунок 36).
Note: Для запуска или остановки потока химикатов к выбранным секциям опрыскивания используйте главный переключатель секции.
После окончания опрыскивания установите главный выключатель секций в положение Выкл., чтобы выключить все секции опрыскивания, затем переведите выключатель насоса для опрыскивания в положение Выкл.
Note: Поднимите наружные секции опрыскивания в транспортировочное положение и переместите опрыскиватель в зону очистки.
Important: При перемещении опрыскивателя из одной зоны опрыскивания в другую или в зону хранения (очистки) всегда поднимайте секции стрел до тех пор, пока они полностью не войдут в транспортировочную опору, заняв транспортировочное положение «X», при этом подъемные цилиндры должны быть полностью втянуты.
Note: При выполнении этой процедуры предполагается, что насос для опрыскивания включен; см. Рисунок 37 в разделе Опрыскивание в режиме заданной нормы внесения.
Убедитесь, что система опрыскивателя отрегулирована под выбранные вами сопла, установленные в активное положение распыления; см. раздел Калибровка перепускного клапана перемешивания.
Установите кнопку режима опрыскивателя в ручной режим (Рисунок 38).

Установите главный переключатель секций в положение Выкл.; см. Рисунок 36 в разделе Опрыскивание в режиме заданной нормы внесения.
Установите рычаг дроссельной заслонки в требуемое положение частоты вращения двигателя для опрыскивания; см. Рисунок 37 в разделе Опрыскивание в режиме заданной нормы внесения.
Подведите машину в зону выполнения опрыскивания.
Опустите секции в рабочее положение.
Устанавливайте переключатели секций по мере необходимости в положения Вкл.; см. Рисунок 36 в разделе Опрыскивание в режиме заданной нормы внесения.
С помощью переключателя нормы внесения установите необходимое давление, как описано в руководстве по выбору сопел, поставляемом вместе с опрыскивателем (Рисунок 39).

Начните движение на машине с требуемой скоростью, а затем установите главный переключатель секций в положение Вкл., чтобы начать опрыскивание .Рисунок 36Опрыскивание в режиме заданной нормы внесения
Note: Когда бак почти опустеет, перемешивание может вызвать пенообразование внутри бака. В этом случае установите переключатель перемешивания в положение Выкл. Или же добавьте пеногасящий состав в бак.
После окончания опрыскивания установите главный выключатель секций в положение Выкл., чтобы выключить все секции, затем переведите выключатель насоса для опрыскивания в положение Выкл.
Note: Верните секции в транспортное положение и переместите опрыскиватель в зону очистки.
Important: При перемещении опрыскивателя из одной зоны опрыскивания в другую или в зону хранения (очистки) всегда поднимайте стрелы до тех пор, пока они полностью не войдут в транспортировочную опору, образуя транспортное положение «X», при этом цилиндры стрел должны быть полностью втянуты.
Оборудование, обеспечиваемое заказчиком: градуированная емкость для сбора жидкости (предпочтительно использовать емкость с делениями шкалы по 0,01 мл) и секундомер.
Important: По возможности не заливайте регенерированную воду (бытовые сточные воды без туалетного смыва) в бак опрыскивателя.
Убедитесь, что бак опрыскивателя чистый; см. Очистка системы опрыскивателя.
Залейте в бак опрыскивателя не менее 568 литров пресной воды; см. раздел Заполнение бака опрыскивателя.
Убедитесь, что сопла, которые вы хотите проверить, находятся в активном положении опрыскивания (направлены вниз).
Если машина работает в режиме заданной нормы внесения, убедитесь, что ручка отсечного клапана перепуска секции находится в закрытом положении (Рисунок 40).

Если машина работает в режиме заданной нормы внесения, убедитесь, что отсечной клапан перепуска секции находится в закрытом положении (Рисунок 40).
Включите стояночный тормоз и запустите двигатель.
Note: Дайте двигателю прогреться в течение 10 минут.
Если машина работает в режиме заданной нормы внесения, выполните пункты в разделе «Использование испытательной скорости движения»; см. Руководство по программному обеспечению на опрыскиватели травяного покрова Multi Pro 5800-D и 5800-G с системой опрыскивания ExcelaRate.
Note: Установите имитационную испытательную скорость движения в пределах от 4 до 14 км/ч.
Установите переключатели секций опрыскивания в положение Вкл. для тех секций, которые вы будете проверять.
Установите регулятор дроссельной заслонки в положение Быстро.
Установите главный выключатель секций в положение Вкл.
Выполните 15-секундную проверку со сбором жидкости на одном из сопл в активном положении распыления.

Выключите главный переключатель секций, установите рычаг дроссельной заслонки в положение «Медленно», выключите насос для опрыскивания и заглушите двигатель.
Поставьте градуированную емкость на ровную поверхность и определите объем жидкости (Рисунок 42).
Important: При определении объема жидкости в градуированной емкости эта емкость должна стоять на ровной поверхности.
Important: Объем жидкости в градуированной емкости необходимо определить по самой нижней точке профиля поверхности жидкости.
Important: Даже небольшие ошибки в определении объема жидкости в градуированной емкости в значительной степени повлияют на точность калибровки опрыскивателя.

Сравните объем воды в градуированной емкости с объемом для соответствующего сопла по таблице 15-секундной проверки со сбором жидкости.
| Цвет сопла | Количество миллиметров, собранное за 15 секунд | Количество унций, собранное за 15 секунд |
| Желтый | 189 | 6,4 |
| Красный | 378 | 12,8 |
| Коричневый | 473 | 16,0 |
| Серый | 567 | 19,2 |
| Белый | 757 | 25,6 |
| Синий | 946 | 32,0 |
| Зеленый | 1 419 | 48,0 |
Если объем жидкости в градуированной емкости для сбора жидкости на 7,4 мл больше или меньше объема для соответствующего сопла по таблице 15-секундной проверки со сбором жидкости, выполните одно из следующих действий:
Выполните калибровку расхода или замените изношенные сопла и выполните эту калибровку; см. процедуру калибровки расхода в Руководстве по программному обеспечению на опрыскиватели травяного покрова Multi Pro 5800-D и 5800-G с системой опрыскивания ExcelaRate.
Выполните калибровку перепускного клапана перемешивания или замените изношенные сопла, а затем выполните калибровку этого клапана; см. раздел Калибровка перепускного клапана перемешивания.
Переключатели подъема секций на панели управления опрыскивателем позволяют переводить секции в транспортировочное положение из положения опрыскивания и наоборот, не вставая с сиденья оператора. По возможности всегда останавливайте машину, прежде чем изменить положения секций.
Выполните следующие действия для перевода наружных секций в положение опрыскивания:
Установите машину на ровной поверхности.
Используйте переключатели подъема секций стрел, чтобы опустить наружные секции.
Note: Подождите, пока наружные секции опрыскивания достигнут полностью выдвинутого положения опрыскивания.
Произведите опрыскивание, затем выполните следующие действия, чтобы убрать наружные секции опрыскивания в положение транспортировки:
Important: Если на вашей машине установлен комплект кожуха стрелы для снижения сноса капель химикатов при ветре, комплект ультразвукового выравнивания стрелы или оба этих комплекта, поочередно переведите наружные секции опрыскивания положение транспортировки.Одновременное перемещение обеих наружных секций опрыскивания при установленном комплекте кожуха или комплекте выравнивания может повредить кожухи, датчики или и те и другие компоненты.
Установите машину на ровной поверхности.
Поднимите наружные секции опрыскивания с помощью переключателей подъема секций стрел так, чтобы они полностью вошли в транспортировочные опоры, образуя транспортное положение "X"; при этом подъемные цилиндры должны быть полностью втянуты.
Important: После установки наружных секций опрыскивания в требуемое положение отпустите переключатель (переключатели) подъема секций стрел. Перемещение приводов до механических упоров может повредить подъемные цилиндры и (или) другие гидравлические компоненты.

Important: Во избежание повреждения подъемного цилиндра убедитесь, что приводы полностью втянуты, прежде чем начать транспортировку машины.
Опрыскиватель оборудован транспортировочными опорами секций стрелы, имеющими уникальную функцию. При случайном контакте секции опрыскивания с низко нависающим объектом, когда она находится в транспортном положении, происходит мягкое выталкивание стрелы из транспортировочной опоры. Если это произойдет, секции опрыскивания опустятся почти в горизонтальное положение в сторону задней части машины. Несмотря на то что секции опрыскивания не будут повреждены при таком перемещении, их необходимо немедленно вернуть обратно в транспортировочную опору.
Important: Никакое положение транспортировки, кроме транспортного положения «X», с использованием транспортировочной опоры стрел, не обеспечивает защиту стрел от повреждения.
Чтобы вернуть наружные секции опрыскивания обратно в транспортировочную опору, опустите секцию (секции) опрыскивания в положение опрыскивания, затем поднимите секцию (секции) опрыскивания обратно в транспортное положение. Убедитесь, что подъемные цилиндры полностью втянуты, чтобы предотвратить повреждение штока привода.
Important: В некоторых ситуациях тепло от двигателя, радиатора и глушителя может повредить траву, когда опрыскиватель работает в стационарном режиме. При работе в стационарных режимах производится перемешивание в баке, ручное опрыскивание с помощью распылительного пистолета или используется стрела на колесах с пешеходным управлением.
Соблюдайте следующие меры предосторожности:
Старайтесь не выполнять опрыскивание на неподвижной машине при очень жаркой или сухой погоде, так как в такие периоды травяной покров подвергается наиболее вредному воздействию.
Не располагайте машину на травяном покрове при опрыскивании в стационарном режиме. По возможности установите машину на дорожке для технологических автомобилей.
Сведите к минимуму продолжительность работы машины на каждом отдельном участке травяного покрова. Время и температура влияют на то, какой объем травы может быть поврежден.
Установите как можно более низкую частоту вращения двигателя, чтобы получить необходимое давление и расход. Это приведет к минимальному выделению тепла и снижению скорости воздуха, выходящего из охлаждающего вентилятора.
Во избежание попадания тепла из двигательного отсека под машину во время работы в стационарном режиме обеспечьте уход тепла вверх, подняв сиденья.
Не перекрывайте зоны, на которых ранее было произведено опрыскивание.
Следите, чтобы сопла не засорялись. Заменяйте все изношенные или поврежденные сопла.
Перед остановкой опрыскивателя остановите распыляемый поток с помощью главного выключателя секций. После остановки используйте орган управления дроссельной заслонкой двигателя для удержания повышенной частоты вращения, чтобы функция перемешивания продолжала работать.
Для получения наилучших результатов включайте секции опрыскивания во время движения опрыскивателя.
Если сопла засорятся во время опрыскивания, очистите их следующим образом:
Установите опрыскиватель на ровной поверхности, выключите двигатель и включите стояночный тормоз.
Установите главный выключатель секций в положение Выкл. и затем установите переключатель насоса для опрыскивания в положение Выкл.
Снимите засоренное сопло и очистите его, используя распылительный баллон с водой и зубную щетку.
Установите сопло.
Прежде чем покинуть рабочее место оператора, выполните следующие действия:
Установите машину на ровной поверхности.
Включите стояночный тормоз.
Выключите двигатель и извлеките ключ (при наличии).
Дождитесь остановки всех движущихся частей.
После завершения работы с машиной в конце рабочего дня смойте все остатки химикатов с наружной части машины и проследите, чтобы система была нейтрализована и трижды промыта в соответствии с рекомендациями изготовителя (изготовителей) химикатов, а все клапаны были приведены в действие на полный цикл 3 раза; см. раздел «Безопасность при работе с химикатами».
Перед постановкой машины на хранение в закрытом пространстве дайте двигателю остыть.
Запрещается хранить машину или емкость с топливом вблизи открытого пламени, искр или малых горелок, используемых, например, в водонагревателях или другом оборудовании.
Следите, чтобы все компоненты машины были в исправном состоянии, а все крепежные детали были затянуты.
Если предупреждающая наклейка изношена, повреждена или отсутствует, установите новую наклейку.
Мойте машину по мере необходимости, используя только воду или воду с мягким моющим средством. При мойке машины можно использовать ткань.
Important: Не допускается использовать для очистки машины солоноватую воду или регенерированные сточные воды.
Note: Не допускается использовать для мойки машины оборудование, подающее воду под давлением. Мойка под давлением может вывести из строя электрооборудование, ослабить важные предупреждающие таблички или смыть необходимую консистентную смазку в трущихся местах. Старайтесь не использовать много воды около панели управления, двигателя и аккумулятора.
Important: Не мойте автомобиль при работающем двигателе. Мойка автомобиля при работающем двигателе может привести к внутренним повреждениям двигателя.
Остановите опрыскиватель, включите стояночный тормоз, выключите двигатель и извлеките ключ.
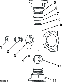
Найдите сливной клапан бака на левом заднем крыле машины (Рисунок 44).
Note: Сливной клапан присоединен к кронштейну, установленному на левом заднем крыле.

Поднимите клапан, чтобы его монтажные штыри вышли из пазов кронштейна сливного клапана, и переместите клапан назад (Рисунок 45А).

Направьте конец клапана в сливную емкость и поверните ручку клапана в открытое положение (Рисунок 45В).
Когда бак будет полностью опорожнен, поверните ручку сливного клапана в закрытое положение и установите клапан на кронштейн сливного клапана (Рисунок 45B и Рисунок 45A).
Important: Утилизируйте химикаты, слитые из бака опрыскивателя, в соответствии с местными правилами и указаниями производителей веществ.
| Периодичность технического обслуживания | Порядок технического обслуживания |
|---|---|
| После каждого использования |
|
Important: Для очистки опрыскивателя используйте только чистую воду.
Important: После каждого использования следует незамедлительно опорожнять и промывать опрыскиватель, включая все установленные принадлежности системы опрыскивания. Несоблюдение требования по промывке и очистке опрыскивателя может привести к высыханию и уплотнению химикатов внутри трубопроводов, засорению фильтров, клапанов, корпусов сопел, насоса и других компонентов.
Используйте утвержденный комплект чистой промывки для данной машины. Обратитесь к официальному дистрибьютору компании Toro для получения дополнительной информации.
Note: В следующих рекомендациях и инструкциях подразумевается, что на машине не установлен комплект промывки Toro.
Очищайте систему опрыскивания и все установленные принадлежности для опрыскивания после каждого опрыскивания. Для правильной очистки системы опрыскивания выполните следующие действия:
Выполните 3 отдельных цикла промывки.
Используйте очистители и нейтрализирующие вещества, рекомендуемые производителями химикатов.
При последней промывке используйте чистую прозрачную воду (без очистителей или нейтрализующих веществ) .
Залейте в бак по крайней мере 190 л чистой воды и закройте крышку.
Note: В случае необходимости в воду можно добавить очищающий или нейтрализующий состав. При окончательной промывке используйте только чистую воду.
Опустите наружные секции опрыскивания в положение опрыскивания.
Запустите двигатель, установите выключатель насоса опрыскивания в положение Вкл. и переведите рычаг дроссельной заслонки в положение высокой частоты вращения двигателя.
Переведите выключатель перемешивания в положение Вкл.
С помощью переключателя нормы внесения увеличьте давление до максимального значения.
Установите отдельные выключатели секций и главный выключатель секций в положения Вкл.
Проверьте сопла, чтобы убедиться в правильном распылении.
Подождите, пока вся вода из бака не будет распылена через сопла.
Установите главный выключатель секций в положение Выкл., установите выключатель перемешивания и выключатель насоса опрыскивания в положение Выкл. и заглушите двигатель.
Повторите действия, указанные в пунктах 1–9, не менее двух раз, чтобы убедиться, что система опрыскивания полностью чистая.
Important: Необходимо выполнить 3 полных цикла промывки, чтобы обеспечить полную промывку системы опрыскивания и принадлежностей для опрыскивания и предотвратить повреждение системы.
Очистите фильтры линии всасывания и нагнетания; см. разделы Очистка фильтра линии всасывания и Очистка фильтра линии нагнетания.
Important: В случае использования смачивающихся порошковых химикатов очищайте сетчатый фильтр после каждого бака.
Используя садовый шланг, промойте наружную поверхность опрыскивателя чистой водой.
Снимите сопла и очистите их вручную.
Note: Замените поврежденные или изношенные сопла.
Note: Если у вашей машины имеются дополнительные фильтры сопел, очистите их перед установкой сопел; см. раздел Очистка фильтра сопла.
| Периодичность технического обслуживания | Порядок технического обслуживания |
|---|---|
| Перед каждым использованием или ежедневно |
|
Припаркуйте машину на ровной поверхности, включите стояночный тормоз, выключите насос, выключите двигатель и извлеките ключ.
В верхней части бака опрыскивателя снимите держатель, который крепит шланговый штуцер, подсоединенный к большому шлангу, идущему от корпуса фильтра (Рисунок 46).

Отсоедините шланг и шланговый штуцер от корпуса фильтра (Рисунок 46).
Извлеките фильтр линии всасывания из его корпуса в баке (Рисунок 47).

Промойте фильтр линии всасывания чистой водой.
Important: Замените фильтр, если он поврежден или его невозможно очистить.
Вставьте фильтр линии всасывания в его корпус до полной посадки.
Совместите шланг и шланговый штуцер с корпусом фильтра в верхней части бака и закрепите штуцер и шланг на корпусе с помощью фиксатора, снятого при выполнении пункта 2.
| Периодичность технического обслуживания | Порядок технического обслуживания |
|---|---|
| Перед каждым использованием или ежедневно |
|
Припаркуйте машину на ровной поверхности, включите стояночный тормоз, выключите насос опрыскивателя, выключите двигатель и извлеките ключ.
Поместите сливной поддон под фильтр линии нагнетания (Рисунок 48).

Поверните крышку сливного отверстия против часовой стрелки и снимите ее со стакана фильтра линии нагнетания (Рисунок 48).
Note: Дождитесь полного слива жидкости из стакана.
Поверните стакан против часовой стрелки и отделите его от головки фильтра (Рисунок 48).
Снимите элемент фильтра линии нагнетания (Рисунок 48).
Промойте элемент фильтра линии нагнетания чистой водой.
Important: Замените фильтр, если он поврежден или его невозможно очистить.
Проверьте прокладку пробки сливного отверстия (расположенную внутри стакана) и прокладку стакана (расположенную внутри головки фильтра) на наличие повреждений и износа (Рисунок 48).
Important: Замените поврежденные или изношенные прокладки пробки и (или) стакана.
Вставьте элемент фильтра линии нагнетания в головку фильтра (Рисунок 48).
Note: Убедитесь, что элемент плотно посажен в головку фильтра.
Установите стакан на головку фильтра, затянув от руки (Рисунок 48).
Установите крышку сливного отверстия на штуцер в нижней части стакана и затяните крышку от руки (Рисунок 48).
Припаркуйте машину на ровной поверхности, включите стояночный тормоз, выключите насос опрыскивателя, выключите двигатель и извлеките ключ.
Снимите сопло с поворотной распылительной головки (Рисунок 49).

Снимите фильтр сопла (Рисунок 49).
Промойте фильтр сопла чистой водой.
Important: Замените фильтр, если он поврежден или его невозможно очистить.
Установите фильтр сопла (Рисунок 49).
Note: Убедитесь, что фильтр вставлен до упора.
Установите сопло на поворотную распылительную головку (Рисунок 49).
| Периодичность технического обслуживания | Порядок технического обслуживания |
|---|---|
| После каждого использования |
|
Характеристики кондиционирующей присадки: пропиленгликолевый «нетоксичный антифриз RV» с ингибитором коррозии
Important: Используйте только пропиленгликоль с ингибитором коррозии. Не используйте переработанный пропиленгликоль. Не используйте антифриз на основе этиленгликоля.Не используйте пропиленгликоль с растворимыми спиртами (метиловым, этиловым или изопропиловым) или с добавлением минеральных растворов.
Переместите машину на ровную поверхность, включите стояночный тормоз, выключите двигатель и извлеките ключ.
Добавьте кондиционирующую присадку в бак следующим образом:
В случае готового к применению (предварительно смешанного) пропиленгликолевого антифриза RV: залейте 10 галлонов пропиленгликолевого антифриза RV в бак.
В случае концентрированного пропиленгликолевого антифриза RV выполните следующие действия:
Залейте 10 галлонов смеси пропиленгликолевого антифриза RV и воды в бак опрыскивателя. Смесь антифриза следует подготовить в соответствии с инструкциями изготовителя так, чтобы его концентрация была рассчитана как минимум на температуру -45 °C.
Important: Для очистки опрыскивателя используйте только чистую воду.
Запустите двигатель и установите выключатель насоса опрыскивания в положение Вкл.
Нажмите педаль акселератора для увеличения частоты вращения двигателя.
Переведите выключатель перемешивания в положение Вкл.
Подождите, чтобы раствор кондиционирующей присадки и воды циркулировал в системе не менее 3 минут.
Рекомендуемый инструмент: чистая емкость для сбора жидкости.
Переместите машину в зону сливной площадки и включите стояночный тормоз.
Опустите наружные секции стрел.
Установите выключатели левой, средней и правой секций, а также главный выключатель секций в положения Вкл.
Подождите, пока система опрыскивания не распылит всю жидкость с кондиционирующей присадкой из сопел.
Note: Большинство пропиленгликолевых антифризов RV имеют розовую окраску. Чтобы собрать образцы распыляемой жидкости из нескольких сопл используйте емкость для сбора.
Установите в положение «Выкл.» главный выключатель секций, 3 выключателя секций, выключатель перемешивания, выключатель насоса опрыскивания и остановите двигатель.
Для перемещения машины на большие расстояния используйте прицеп или грузовой автомобиль.
В экстренной ситуации опрыскиватель можно отбуксировать на небольшое расстояние, открыв клапан буксировки. Однако не рекомендуется использовать буксировку в качестве стандартной процедуры.
Буксировка на повышенной скорости может вызвать потерю рулевого управления и стать причиной травмы.
Запрещается буксировка опрыскивателя со скоростью свыше 4,8 км/ч.
Буксировку опрыскивателя должны выполнять два человека. Если автомобиль требуется перевезти на значительное расстояние, транспортируйте его на грузовом автомобиле или прицепе; см. Транспортировка машины.
Дайте выхлопной системе полностью остыть.
Снимите кожух ходовой части; см. раздел Демонтаж кожуха ходовой части.
Поверните клапан буксировки (Рисунок 52) на 90 градусов в любом направлении, чтобы открыть его.

Important: Во избежании повреждения трансмиссии откройте клапан буксировки перед буксировкой опрыскивателя.
Прикрепите буксирный трос к раме; см. описание расположения передних и задних точек крепления для буксировки (Рисунок 53 и Рисунок 54).


Отпустите стояночный тормоз.
Буксируйте опрыскиватель со скоростью менее 4,8 км/ч.
По завершении закройте клапан буксировки и затяните его с моментом 7–11 Н∙м.
Important: Перед возвращением машины в эксплуатацию установите кожух ходовой части; см. раздел Установка защитного кожуха ходовой части.
Note: Загрузите бесплатную электрическую или гидравлическую схему, посетив веб-сайт www.Toro.com, где можно найти модель своей машины, перейдя по ссылке Manuals (Руководства) с главного экрана.
Important: Для получения информации о дополнительном техническом обслуживании см. руководство владельца двигателя.
Note: Определите левую и правую стороны машины относительно места оператора.
Прежде чем покинуть рабочее место оператора, выполните следующие действия:
Установите машину на ровной поверхности.
Переключите коробку передач в нейтральное положение (в случае механической коробки передач) или Парковка (в случае автоматической коробки передач).
Включите стояночный тормоз.
Выключите двигатель и извлеките ключ (при наличии).
Дождитесь остановки всех движущихся частей.
Прежде чем выполнять техническое обслуживание, дайте компонентам машины остыть.
К выполнению технического обслуживания, ремонта, регулировки или проверки машины должен допускаться только обученный и аттестованный персонал.
Перед выполнением любого технического обслуживания тщательно очистите и промойте опрыскиватель; см. раздел «Безопасность при работе с химикатами».
Химические вещества, используемые в системе опрыскивания, могут быть опасными и ядовитыми для оператора, находящихся поблизости людей, животных, растений, почвы или других объектов.
Внимательно прочтите указания на предупреждающих табличках по химическим веществам и в паспортах безопасности материалов (SDS) по всем используемым химикатам, чтобы защитить себя в соответствии с рекомендациями изготовителя, и следуйте этим указаниям.
Всегда защищайте кожу при работе с химикатами. Для предотвращения контакта с химикатами используйте подходящие средства индивидуальной защиты (СИЗ), включая следующее:
защитные очки рекомендуемого типа и/или защитную маску;
защитный противохимический костюм;
респиратор или маску с фильтром;
перчатки, устойчивые к воздействию химикатов;
резиновые сапоги или другую прочную обувь;
чистую смену белья, мыло и одноразовые полотенца для очистки.
В случае отсутствия информации по безопасности при работе с химикатами откажитесь работать с опрыскивателем.
Не выполняйте заполнение, калибровку или очистку машины, когда кто-либо (особенно дети или животные) находятся в рабочей зоне.
Работайте с химикатами в хорошо проветриваемых помещениях.
Имейте в наличии чистую воду, особенно при заполнении бака опрыскивателя.
Не ешьте, не пейте и не курите при работе с химикатами.
Запрещается очищать распылительные сопла продувкой или помещая их в рот.
Обязательно мойте руки и другие открытые части тела сразу после завершения работы с химикатами.
Химикаты и испарения являются опасными; никогда не спускайтесь в бак, не держите голову над отверстием бака и не опускайте ее в отверстие.
Чтобы убедиться, что машина полностью исправна, проверьте правильность затяжки всех крепежных деталей.
Для уменьшения опасности возгорания не допускайте области двигателя чрезмерного количества смазки, химикатов, травы, листьев и грязи.
Если для выполнения регулировок при техническом обслуживании двигатель должен работать, держите руки, ноги и другие части тела, а также одежду на безопасном расстоянии от двигателя и любых движущихся частей. Не подпускайте никого к машине.
Не регулируйте скорость движения машины по земле. Для обеспечения безопасности и точности попросите официального дистрибьютора компании Toro проверить скорость движения по земле.
Для проведения капитального ремонта машины или получения технической помощи обращайтесь к официальному дистрибьютору компании Toro.
Любая переделка данного опрыскивателя, влияющая на его работу, рабочие характеристики, долговечность или использование, может привести к травмам или гибели. Использование такой машины может сделать недействительной гарантию.
При работе под машиной всегда используйте для поддержки машины подъемные опоры.
Осторожно сбрасывайте давление из компонентов с накопленной энергией.
| Периодичность технического обслуживания | Порядок технического обслуживания |
|---|---|
| Через первые 8 часа |
|
| Через первые 50 часа |
|
| Через первые 100 часа |
|
| Через первые 200 часа |
|
| Перед каждым использованием или ежедневно |
|
| После каждого использования |
|
| Через каждые 50 часов |
|
| Через каждые 100 часов |
|
| Через каждые 200 часов |
|
| Через каждые 400 часов |
|
| Через каждые 800 часов |
|
| Через каждые 1000 часов |
|
| Через каждые 2000 часов |
|
| Ежегодно |
|
Скопируйте эту страницу для повседневного использования.
|
Позиция проверки при техобслуживании |
Дни недели: |
||||||
|---|---|---|---|---|---|---|---|
|
Понедельник |
Вторник |
Среда |
Четверг |
Пятница |
Суббота |
Воскресенье |
|
|
Проверьте работу тормоза и стояночного тормоза. | |||||||
|
Проверьте работу переключателя блокировки нейтрального положения. | |||||||
|
Проверьте уровень топлива. | |||||||
|
Проверьте уровень масла в двигателе. | |||||||
|
Проверьте уровень гидравлической жидкости. | |||||||
|
Проверьте уровень охлаждающей жидкости. | |||||||
|
Осмотрите воздушный фильтр. | |||||||
|
Осмотрите радиатор и маслоохладитель на наличие загрязнений. | |||||||
|
Убедитесь в отсутствии посторонних шумов двигателя. | |||||||
|
Убедитесь в отсутствии посторонних шумов при работе машины. | |||||||
|
Проверьте давление в шинах. | |||||||
|
Проверьте систему на наличие утечек жидкостей. | |||||||
|
Проверьте все гидравлические шланги и шланги рабочих жидкостей на наличие повреждений, перегибов или износа. | |||||||
|
Проверьте работу приборов. | |||||||
|
Проверьте работу педали акселератора. | |||||||
|
Очистите сетчатый фильтр линии всасывания. | |||||||
|
Заправьте все масленки консистентной смазкой1 | |||||||
|
Вымойте машину. | |||||||
|
Отремонтируйте поврежденное лакокрасочное покрытие. | |||||||
1Непосредственно после каждой мойки, независимо от указанного интервала.
| Проверил: | ||
| Позиция | Дата | Информация |
| 1 | ||
| 2 | ||
| 3 | ||
| 4 | ||
| 5 | ||
| 6 | ||
| 7 | ||
| 8 | ||
| 9 | ||
| 10 | ||
Оставленный в замке зажигания ключ может привести к несанкционированному запуску двигателя посторонним лицом, в результате чего оператор или находящиеся рядом люди могут получить серьезные травмы.
Перед выполнением любого технического обслуживания извлеките ключ из замка зажигания.
При запуске двигателя для планового технического обслуживания и (или) диагностики задние колеса опрыскивателя должны быть подняты на 25 мм от земли, а задний мост должен опираться на подъемные опоры.
Положение опрыскивателя при установке на домкрате может быть неустойчивым; он может соскользнуть с домкрата и травмировать находящегося под ним человека.
По окончании работы на опрыскивателе обязательно извлекайте ключ из замка зажигания.
Заблокируйте шины, когда машина находится на домкрате.
Установите под машину подъемные опоры.
Точка подъема домкратом передней стороны опрыскивателя расположена под передним мостом, непосредственно под листовыми рессорами (Рисунок 55).

Точка подъема домкратом задней стороны опрыскивателя находится в задней части, где расположены опоры стрелы (Рисунок 56).

Включите стояночный тормоз, остановите насос для опрыскивания, выключите двигатель и извлеките ключ.
Поднимите переднюю и заднюю части машины и зафиксируйте машину с помощью подъемных опор; см. Подъем опрыскивателя.
Выверните 6 болтов с шестигранными головками и снимите 6 шайб, которые крепят передний теплоизолирующий экран к шасси, и снимите экран (Рисунок 57).
Note: Сохраните болты, шайбы и теплоизолирующий экран для последующей установки, описанной в пункте Установка переднего теплоизолирующего экрана.

Расположите задний фланец переднего теплоизолирующего экрана над передним фланцем заднего теплоизолирующего экрана, выровняв их по краям (Рисунок 58).

Совместите отверстия в переднем теплоизолирующем экране с резьбовыми отверстиями в шасси (Рисунок 58).
Установите передний теплоизолирующий экран на машину с помощью 6 болтов с шестигранными головками и 6 шайб (Рисунок 58), снятых на этапе 3 раздела Демонтаж переднего теплоизолирующего экрана.
Затяните болты с моментом от 19,78 до 25,42 Н∙м.
Удалите подъемные опоры и опустите машину.
Удалите 5 болтов с фланцем (5/16 x ⅞ дюйма) и 7 шайб (5/16 дюйма), которые крепят заднюю часть кожуха ходовой части к шасси машины (Рисунок 59).
Note: Сохраните болты с фланцем и шайбы для установки, описанной в пункте 5 раздела Установка защитного кожуха ходовой части.


Удалите 4 фланцевые контргайки (5/16 дюйма) с болтов и каретный болт, которые крепят монтажные выступы кожуха ходовой части к кронштейнам крепления двигателя на машине (Рисунок 60).
Note: Не снимайте болты с машины. Сохраните фланцевые контргайки для последующей установки, как описано в пункте 3 раздела Установка защитного кожуха ходовой части.

Снимите монтажные выступы с болтов, которые крепят кожух ходовой части к монтажным кронштейнам двигателя.
Снимите кожух ходовой части с машины (Рисунок 59 и Рисунок 60).
Выровняйте кожух ходовой части относительно нижнего шасси машины; см. Рисунок 60 в разделе Демонтаж кожуха ходовой части.
Наденьте монтажные выступы кожуха ходовой части на болты и каретный болт в месте расположения монтажных кронштейнов двигателя на машине; см. Рисунок 60 в разделе Демонтаж кожуха ходовой части.
Установите кожух ходовой части на монтажные кронштейны двигателя и болты (Рисунок 60) с помощью 4 фланцевых контргаек (5/16 дюйма), снятых при выполнении пункта 2 раздела Демонтаж кожуха ходовой части.
Совместите отверстия в задней части кожуха ходовой части с отверстиями в шасси; см. Рисунок 59 в разделе Демонтаж кожуха ходовой части.
Присоедините заднюю часть кожуха ходовой части к шасси (Рисунок 59) с помощью 5 болтов с фланцем (5/16 x ⅞ дюйма) и 5 шайб (5/16 дюйма), снятых при выполнении пункта 1 раздела Демонтаж кожуха ходовой части.
Затяните гайки и болты с моментом от 11,29 до 15,82 Н∙м.
Совместите отверстия в панели доступа к основанию сиденья с отверстиями в основании сиденья (Рисунок 61).
Прикрепите панель доступа к основанию сиденья с помощью двух болтов с фланцевыми головками (Рисунок 61), снятыми при выполнении пункта 1 раздела Демонтаж панели доступа к основанию сиденья.
Затяните болты с моментом от 19,75 до 25,42 Н∙м.
| Периодичность технического обслуживания | Порядок технического обслуживания |
|---|---|
| Через каждые 50 часов |
|
Тип консистентной смазки: Mobil XHP 461.
| Периодичность технического обслуживания | Порядок технического обслуживания |
|---|---|
| Через каждые 50 часов |
|
Тип консистентной смазки: консистентная смазка № 2 на литиевой основе. Дистрибьютор компании Toro может предложить универсальную высококачественную консистентную смазку Toro.
Цилиндр рулевого управления — по 2 масленки на штоковой части каждого цилиндра
Рулевая тяга — по 2 масленки на конце каждой рулевой тяги
Ось поворота — по 2 масленки с каждой стороны машины
Закачайте в масленки консистентную смазку (Рисунок 63 и Рисунок 64).
Вытрите избыточную смазку.
Note: Расположение масленок показано на Рисунок 63.


| Периодичность технического обслуживания | Порядок технического обслуживания |
|---|---|
| Через каждые 100 часов |
|
Important: Если шарнир стрелы был промыт водой, необходимо удалить из шарнира всю воду и мусор и заправить его свежей консистентной смазкой.
Тип консистентной смазки: консистентная смазка № 2 на литиевой основе.
Тщательно протрите масленки, чтобы посторонние вещества не могли проникнуть в подшипник или втулку.
Закачайте консистентную смазку в подшипник или втулку через каждую масленку (Рисунок 65).

Вытрите избыточную смазку.
Повторите эту процедуру для каждой оси поворота стрелы.
| Периодичность технического обслуживания | Порядок технического обслуживания |
|---|---|
| Через каждые 400 часов |
|
Тип консистентной смазки: консистентная смазка № 2 на литиевой основе.
Опустите наружные секции опрыскивания в положение опрыскивания.
Извлеките шплинт из шплинтуемого штифта (Рисунок 66).
Поднимите секцию, извлеките шплинтуемый штифт и медленно опустите секцию на землю (Рисунок 66).
Проверьте шплинтуемый штифт на наличие повреждений и при необходимости замените его.

Отклоните подшипник наконечника штока и заправьте подшипник консистентной смазкой (Рисунок 67).
Note: Вытрите избыточную смазку.

Поднимите секцию стрелы опрыскивателя, чтобы совместить ось поворота со штоком привода.
Удерживая секцию опрыскивания, вставьте шплинтуемый штифт через ось поворота стрелы и шток привода (Рисунок 66).
Когда штифт будет установлен на месте, отпустите секцию опрыскивания и зафиксируйте шплинтуемый штифт ранее снятым шплинтом.
Повторите действия, описанные в пунктах 2 – 8, для подшипника штока привода с другой стороны машины.
Перед проверкой уровня масла или добавлением масла в картер выключите двигатель.
| Периодичность технического обслуживания | Порядок технического обслуживания |
|---|---|
| Перед каждым использованием или ежедневно |
|
Включите стояночный тормоз, остановите насос для опрыскивания, выключите двигатель и извлеките ключ.
Наклоните пассажирское сиденье вперед и вставьте опорную стойку в фиксатор направляющего паза опорной стойки.
Очистите пылезащитную крышку и корпус воздухоочистителя (Рисунок 68).

Проверьте корпус воздухоочистителя на отсутствие повреждений, которые могли бы вызвать утечку воздуха (Рисунок 68).
Note: Замените пылезащитную крышку или корпус воздухоочистителя, если они повреждены.
Сожмите пылезащитный клапан, чтобы очистить его от загрязнений, пыли и мусора (Рисунок 68).
Отпустите 2 защелки, фиксирующие пылезащитную крышку на корпусе воздухоочистителя.
Проверьте элемент воздушного фильтра на чрезмерное скопление пыли, загрязнений и мусора (Рисунок 68).
Note: В случае загрязнения элемента воздушного фильтра не очищайте, а замените его.
Установите пылезащитную крышку на корпус воздухоочистителя и зафиксируйте ее двумя защелками (Рисунок 68).
Note: Убедитесь, что пылезащитный клапан установлен в положение «между 5 и 7 часами», если смотреть с торца.
Опустите сиденье пассажира.
| Периодичность технического обслуживания | Порядок технического обслуживания |
|---|---|
| Через каждые 100 часов |
|
При установке нового фильтра осмотрите элемент нового воздушного фильтра, включая уплотнительный торец фильтра, на наличие повреждений, которые могут быть получены при транспортировке.
Important: Не устанавливайте поврежденный фильтр.
Очистите пылезащитную крышку и корпус воздухоочистителя (Рисунок 68).
Поднимите расширительный бачок охлаждающей жидкости вверх и снимите его с опорного кронштейна бачка (Рисунок 69).

Отпустите 2 защелки, фиксирующие пылезащитную крышку на корпусе воздухоочистителя (Рисунок 69).
Аккуратно извлеките старый элемент фильтра из корпуса воздухоочистителя, чтобы при этом вытеснить из фильтра как можно меньше грязи.
Note: Запрещается ударять элементом фильтра по корпусу воздухоочистителя.
Очистите внутреннюю поверхность пылезащитной крышки, корпус воздухоочистителя и пылезащитный клапан влажной тканью (Рисунок 68 и Рисунок 69).
Вставьте элемент воздушного фильтра в корпус воздухоочистителя (Рисунок 69).
Note: Обеспечьте правильное положение фильтра в корпусе воздухоочистителя, надавливая на внешний обод элемента фильтра во время его установки. Не нажимайте на гибкую среднюю область фильтра.
Установите крышку на корпус воздухоочистителя и зафиксируйте ее двумя защелками (Рисунок 69).
Note: Убедитесь, что пылезащитный клапан установлен в положение «между 5 и 7 часами», если смотреть с торца (Рисунок 69).
Совместите расширительный бачок охлаждающей жидкости с опорным кронштейном бачка и плотно посадите бачок на место (Рисунок 69).
Important: Убедитесь, что шланг сброса давления направлен вперед и вниз, а вентиляционный шланг бачка направлен назад, как показано на Рисунок 69.
Опустите сиденье пассажира.
Тип масла — эксплуатационные категории по классификации API: CH-4, CI-4 или выше.
Предпочтительная вязкость масла — SAE 15W-40 (выше -17 °C)
Альтернативная вязкость масла — SAE 10W-30 или 5W-30 (все температуры)
Моторное масло Toro Premium с вязкостью 15W40 или 10W30 можно приобрести у дистрибьютора Toro. Номера по каталогу см. в Каталоге частей.
| Периодичность технического обслуживания | Порядок технического обслуживания |
|---|---|
| Перед каждым использованием или ежедневно |
|
Note: Наилучший момент для проверки уровня масла в двигателе — когда двигатель холодный перед его запуском в начале рабочего дня. Если двигатель уже поработал, перед проверкой дайте маслу стечь обратно в поддон картера (в течение не менее 10 минут).
Двигатель отгружается с заправленным маслом в картере, однако до и после первого запуска двигателя необходимо проверить уровень масла.
Поставьте машину на ровную поверхность.
Извлеките масломерный щуп, расположенный под сиденьем пассажира, и протрите его чистой ветошью (Рисунок 70).
Note: Вставьте щуп в трубку и убедитесь в том, что он посажен до упора. Выньте щуп и проверьте уровень масла.


Если уровень масла низкий, снимите крышку заливной горловины с крышки клапана и залейте масло в заливную горловину до уровня отметки Full (Полный) на масломерном щупе (Рисунок 71).
Note: Медленно заливайте масло и во время этого процесса часто проверяйте уровень. Не допускайте переполнения.

Установите крышку маслозаливной горловины.
Вставьте масломерный щуп до упора.
| Периодичность технического обслуживания | Порядок технического обслуживания |
|---|---|
| Через первые 50 часа |
|
| Через каждые 200 часов |
|
Снимите передний теплоизолирующий экран; см. Демонтаж переднего теплоизолирующего экрана.
Поднимите сиденья.
Поверхности под сиденьем будут горячими, если опрыскиватель только что работал. Прикосновение к горячим компонентам может стать причиной ожога.
Прежде чем выполнять работы по техническому обслуживанию или прикасаться к компонентам под капотом, дайте опрыскивателю остыть.
Поместите сливной поддон под масляный фильтр двигателя (Рисунок 72).

Снимите старый масляный фильтр (Рисунок 72).
Note: Утилизируйте использованный масляный фильтр в сертифицированном центре вторичной переработки.
Начисто протрите поверхность переходника масляного фильтра двигателя тканью.
Заполните масляный фильтр моторным маслом указанного типа.
Note: Подождите, пока элемент фильтра пропитается маслом.
Нанесите тонкий слой масла указанного типа на резиновую прокладку нового фильтра.
Установите масляный фильтр на переходник фильтра и поворачивайте его по часовой стрелке, пока резиновая прокладка не войдет в контакт с переходником фильтра, после чего затяните фильтр, повернув его еще на 1/2 оборота (Рисунок 72).
Note: Не затягивайте масляный фильтр слишком сильно.
Полностью вытрите все остатки масла.
4,6 л с фильтром; см. раздел Характеристики моторного масла.
| Периодичность технического обслуживания | Порядок технического обслуживания |
|---|---|
| Через первые 50 часа |
|
| Через каждые 200 часов |
|
Подставьте под пробку сливного отверстия сливной поддон (Рисунок 72).
Снимите сливную пробку и дайте маслу полностью стечь (Рисунок 72).
Note: Проверьте уплотнение пробки сливного отверстия на наличие износа и повреждений; замените уплотнение, если оно изношено или повреждено.
Note: Утилизируйте использованное масло в сертифицированном центре вторичной переработки.
Установите сливную пробку в сливное отверстие картера двигателя и затяните пробку с моментом 33–37 Н∙м.
Наклоните пассажирское сиденье вперед и вставьте опорную стойку в фиксатор направляющего паза опорной стойки.
Снимите крышку маслозаливной горловины с крышки клапанного механизма двигателя и медленно залейте примерно 80% указанного количества масла в заливную горловину (Рисунок 73).

Выньте масломерный щуп и проверьте уровень масла в двигателе (Рисунок 74).

Медленно долейте дополнительное масло указанного типа, чтобы довести его уровень до метки Full (Полный) на масломерном щупе (Рисунок 74).
Important: Переполнение картера двигателя маслом может стать причиной повреждения двигателя.
Установите крышку маслозаливной горловины (Рисунок 73).
Установите передний теплоизолирующий экран; см. Установка переднего теплоизолирующего экрана.
| Периодичность технического обслуживания | Порядок технического обслуживания |
|---|---|
| Через каждые 400 часов |
|
Выполните все операции в рамках ежегодного технического обслуживания, указанные в Руководстве владельца двигателя.
При определенных условиях топливо и пары топлива являются легковоспламеняющимися и взрывоопасными. Возгорание или взрыв топлива могут вызвать ожоги у людей и повредить имущество.
Пользуйтесь воронкой и заправляйте топливный бак вне помещения, на открытом месте, когда двигатель выключен и холодный. Сразу же вытирайте пролитое топливо.
Не заправляйте топливный бак до предела. Заливайте топливо в топливный бак до уровня, не доходящего 25 мм до нижнего края заливной горловины. Это пустое пространство в баке позволит топливу расширяться.
Запрещается курить при работе с топливом. Держитесь на расстоянии от открытого пламени или от мест, где искры могут воспламенить пары топлива.
Храните топливо в чистой, разрешенной правилами техники безопасности емкости для топлива с закрытой крышкой.
| Периодичность технического обслуживания | Порядок технического обслуживания |
|---|---|
| Через первые 50 часа |
|
| Через каждые 400 часов |
|
Проверьте трубопроводы и соединения на отсутствие износа, повреждения или ослабления соединений.
Note: При обнаружении любых утечек топлива отремонтируйте компоненты топливной системы, прежде чем работать на машине.
Note: Убедитесь, что топливный бак заполнен по меньшей мере наполовину.
Включите стояночный тормоз, остановите насос для опрыскивания, выключите двигатель и извлеките ключ.
Снимите передний теплоизолирующий экран; см. Демонтаж переднего теплоизолирующего экрана.
Наклоните пассажирское сиденье вперед и вставьте опорную стойку в фиксатор направляющего паза опорной стойки.
Поместите сливной поддон под топливный фильтр; см.Рисунок 77 в разделе Замена фильтра водоотделителя.
Откройте пробку вентиляционного отверстия в верхней части водоотделителя топливной системы (Рисунок 75).

Поверните ключ в замке зажигания в положение Вкл.
Note: Электрический топливный насос начнет вытеснять воздух через зазор вокруг вентиляционной пробки. Удерживайте ключ в положении Вкл. до тех пор, пока через вентиляционную пробку не пойдет сплошной поток топлива.
Затяните вентиляционную пробку и поверните замок зажигания в положение Выкл. (Рисунок 75).
Поместите сливной поддон под ту часть двигателя, где находится насос для впрыска топлива (Рисунок 76).

Выверните винт стравливания воздуха из насоса для впрыска топлива (Рисунок 76).
Поверните ключ в замке зажигания в положение Вкл.
Note: Электрический топливный насос начнет работать, вытесняя воздух через продувочный винт на насосе для впрыска топлива.
Оставьте ключ в положении Вкл. до тех пор, пока через продувочный винт не начнет вытекать сплошной поток топлива (Рисунок 76).
Затяните продувочный винт (Рисунок 76) и поверните ключ в положение Выкл.
Note: Обычно после стравливания воздуха из топливной системы двигатель должен запуститься. Тем не менее, если двигатель не запускается, возможно, между насосом для впрыска топлива и инжекторами остался воздух; см. Стравливание воздуха из инжекторов.
Данную процедуру следует выполнять только в том случае, если после стравливания воздуха из топливной системы двигатель не запускается; см. Удаление воздуха из топливной системы.
Поместите сливной поддон под правую сторону двигателя..
Ослабьте натяжение гайки трубки, идущей к соплу инжектора № 1, и держателя в сборе.
Установите регулятор дроссельной заслонки в положение Быстро.
Поверните ключ в замке зажигания в положение Пуск и наблюдайте за потоком топлива вокруг соединителя.
Когда топливо начнет вытекать сплошным потоком, поверните ключ в положение Выкл.
Затяните гайку трубки.
Удалите остатки топлива из зоны вокруг топливного инжектора.
Повторите действия с 2 по 7 для остальных сопел топливных инжекторов.
Установите передний теплоизолирующий экран; см. Установка переднего теплоизолирующего экрана.
| Периодичность технического обслуживания | Порядок технического обслуживания |
|---|---|
| Через каждые 400 часов |
|
Снимите передний теплоизолирующий экран; см. Демонтаж переднего теплоизолирующего экрана.
Установите сливной поддон под фильтр водоотделителя (Рисунок 77).

Поверните сливной клапан в нижней части фильтра водоотделителя против часовой стрелки (Рисунок 77).
Note: Дайте топливу полностью стечь из фильтра и затем закройте клапан.
Очистите область вокруг фильтра водоотделителя и крепления переходника фильтра (Рисунок 77).
Снимите фильтр водоотделителя (Рисунок 77).
Note: Утилизируйте использованное топливо и корпус фильтра в сертифицированном центре вторичной переработки.
Очистите монтажную поверхность переходника фильтра.
Смажьте прокладку на фильтре водоотделителя чистым моторным маслом.
Установите фильтр вручную до контакта уплотнительной прокладки с монтажной поверхностью, затем поверните его еще на 1/2 оборота.
Убедитесь, что сливной клапан в нижней части фильтра водоотделителя завернут до упора по часовой стрелке (Рисунок 77).
| Периодичность технического обслуживания | Порядок технического обслуживания |
|---|---|
| Через каждые 400 часов |
|
Note: Топливный фильтр является частью узла вертикальной трубы.
Включите стояночный тормоз, остановите насос для опрыскивания, выключите двигатель и извлеките ключ.
На топливном баке выверните 4 винта (№ 10 x ¾ дюйма), которые крепят крышку к верхней части топливного бака, и снимите крышку (Рисунок 78А).

Ослабьте хомуты крепления 2 топливных шлангов к 2 шланговым штуцерам в верхней части узла вертикальной трубы (Рисунок 78В).
Отсоедините 2 шланга от шланговых штуцеров и дайте топливу стечь из шлангов в утвержденную к применению топливную емкость (Рисунок 78В).
Поверните крышку вертикальной трубы / датчика уровня топлива против часовой стрелки, затем снимите крышку (Рисунок 79).

Поднимите узел вертикальной трубы / датчика уровня топлива, чтобы снять его с топливного бака (Рисунок 79).
Note: Удалите в отходы старый узел вертикальной трубы.
Note: Приобретите новый узел вертикальной трубы в сборе у местного официального дистрибьютора компании Toro. Возможно потребуется новое уплотнение для подсоединения углового штуцера и узла вертикальной трубы к верхней части топливного бака.
Установите крышку на вертикальную трубу и вставьте вертикальную трубу в уплотнение (Рисунок 79).
Совместите крышку, вертикальную трубу и уплотнение с баком и осторожно вставьте новый узел вертикальной трубы в топливный бак (Рисунок 79).
Note: Выровняйте штуцеры шланга по средней линии машины.
Установите крышку на горловину топливного бака и затяните крышку от руки (Рисунок 79).
Подсоедините топливный шланг диам. 6,4 мм к шланговому штуцеру 6,4 мм и закрепите шланг на штуцере с помощью шлангового хомута (Рисунок 78B).
Подсоедините топливный шланг диам. 8 мм к шланговому штуцеру 8 мм и закрепите шланг на штуцере с помощью шлангового хомута (Рисунок 78B).
Установите крышку на бак (Рисунок 78A), закрепив ее с помощью 4 винтов (№ 10 x ¾ дюйма), снятых при выполнении пункта 2 раздела Удаление топливного фильтра из бака.
Затяните винты с моментом 113 Н∙см.
| Периодичность технического обслуживания | Порядок технического обслуживания |
|---|---|
| Через каждые 400 часов |
|
Слейте топливо из топливного бака и очистите его в случае загрязнения системы или при постановке машины на длительное хранение. Для промывки топливного бака используйте свежее и чистое топливо.
Переливайте топливо из бака в утвержденную канистру для топлива, используя сифонный насос, или снимите бак с машины и слейте топливо из бака через заливную горловину в канистру для топлива.
Note: Прежде чем снимать топливный бак, необходимо отсоединить шланги линии подачи и возврата топлива от узла вертикальной трубы; см. пункты с 1 по 4 раздела Удаление топливного фильтра из бака.
Замените топливные фильтры; см. Замена фильтра водоотделителя.
При необходимости промойте топливный бак свежим, чистым топливом.
Установите бак, если он снят; см. пункты с 1 по 5 в разделе Удаление топливного фильтра из бака.
Заполните бак свежим чистым топливом.
Прежде чем приступать к ремонту машины, отсоедините аккумулятор. Сначала отсоедините отрицательную клемму, затем положительную. При повторном подключении аккумулятора сначала подсоедините положительную, затем отрицательную клемму.
Заряжайте аккумулятор в открытом, хорошо проветриваемом месте, вдали от искр и открытого огня. Отсоединяйте зарядное устройство перед подсоединением или отсоединением аккумулятора.
Используйте защитную одежду и электроизолированный инструмент.
Блок предохранителей электрической системы расположен под сиденьем оператора (Рисунок 80).

| Периодичность технического обслуживания | Порядок технического обслуживания |
|---|---|
| Через каждые 50 часов |
|
Всегда храните аккумулятор чистым и полностью заряженным. Для очистки аккумуляторной батареи и аккумуляторного отсека используйте бумажное полотенце. Если клеммы аккумулятора корродировали, очистите их раствором, состоящим из четырех частей воды и одной части пищевой соды. Для предотвращения коррозии нанесите на клеммы аккумулятора тонкий слой консистентной смазки.
Напряжение: 12 В, ток холодной прокрутки 690 А при -18 °C
Расположите опрыскиватель на ровной поверхности, включите стояночный тормоз, выключите насос для опрыскивания, выключите двигатель и извлеките ключ.
Снимите крышку аккумуляторной батареи и отсоедините отрицательный (черный, «земля») кабель от штыря аккумуляторной батареи (Рисунок 81).

Неправильное подключение кабеля к аккумуляторной батарее может вызвать искрение и привести к повреждению автомобиля и кабеля. Искры могут вызвать взрыв аккумуляторных газов, что приведет к получению травмы.
Всегда отсоединяйте отрицательный (черный) кабель аккумулятора перед отсоединением положительного (красного) кабеля.
Всегда присоединяйте положительный (красный) кабель аккумулятора перед присоединением отрицательного (черного) кабеля.
Клеммы аккумулятора или металлические инструменты могут закоротить на металлические детали опрыскивателя, вызвав искрение. Искры могут вызвать взрыв аккумуляторных газов, что приведет к получению травмы.
При демонтаже или установке аккумулятора не допускайте прикосновения клемм к металлическим частям опрыскивателя.
Не допускайте короткого замыкания клемм аккумулятора металлическими инструментами на металлические части опрыскивателя.
Хомут для защиты и фиксации аккумулятора всегда должен быть на месте .
Отсоедините положительный (красный) кабель от клеммы аккумулятора.
Снимите аккумулятор.
Установите аккумулятор в аккумуляторный отсек так, чтобы штыри аккумулятора были направлены в сторону передней части опрыскивателя.
Подсоедините положительный (красный) кабель к положительному (+) штырю аккумулятора, а отрицательный (черный) кабель – к отрицательному (-) штырю, используя болты и гайки.
Наденьте изоляционный колпачок на положительный штырь аккумуляторной батареи.
Установите крышку аккумуляторной батареи и закрепите ее хомутом, снятым ранее (Рисунок 81).
Important: Держатель аккумулятора должен быть всегда на месте для защиты и фиксации аккумулятора.
Important: Всегда храните аккумулятор полностью заряженным. Это особенно важно для предотвращения повреждения аккумуляторной батареи, когда температура опускается ниже 0°C.
Извлеките аккумулятор из шасси; см. Снятие аккумулятора.
Подсоедините к полюсным штырям аккумуляторной батареи зарядное устройство на 3–4 А и зарядите аккумуляторную батарею током 3–4 А в течение 4–8 часов (напряжение 12 В).
Important: Не допускайте избыточного заряда аккумулятора.
Установите аккумулятор на шасси; см. Установка аккумулятора.
Если машина помещается на хранение на срок более 30 дней, снимите аккумуляторную батарею и полностью ее зарядите. Храните аккумулятор на полке или установленным на машине. Отсоедините кабели аккумуляторной батареи, если аккумуляторная батарея хранится на машине. Храните аккумулятор в прохладном месте во избежание быстрого снижения заряда. Для предотвращения замерзания аккумулятора храните его полностью заряженным.
| Периодичность технического обслуживания | Порядок технического обслуживания |
|---|---|
| Через первые 8 часа |
|
| Через первые 200 часа |
|
| Через каждые 100 часов |
|
| Через каждые 400 часов |
|
Затяните зажимные гайки передних колес с моментом 75-102 Н∙м, а зажимные гайки задних колес – с моментом 95-122 Н∙м.
Аварии в процессе эксплуатации, такие как удар о бордюрный камень, могут повредить шину или обод и нарушить регулировку углов установки колес, поэтому после аварии следует проверить состояние шин.
Трансмиссионное масло SAE 85W-140

Установите машину на ровной горизонтальной поверхности, поверните колеса в такое положение, чтобы пробка заливочного отверстия оказалась в крайнем верхнем положении («на 12 часов»), а пробка сливного отверстия — в крайнем нижнем положении («на 6 часов») (Рисунок 83).

Снимите контрольную пробку (Рисунок 45).
Вы должны увидеть уровень масла на нижней части резьбы контрольного отверстия.

Убедитесь в отсутствии повреждений уплотнительных колец пробки контрольного отверстия.
В случае повреждения уплотнительного кольца замените его.
Если уровень масла низкий, снимите пробку заливного отверстия и доливайте масло указанного типа, пока оно не начнет выливаться из контрольного отверстия (Рисунок 85); см. раздел Характеристики масла в планетарной передаче.

Убедитесь в отсутствии повреждений уплотнительных колец пробки заливного отверстия.
В случае повреждения уплотнительного кольца замените его.
Поставьте пробку заливного отверстия и пробку контрольного отверстия на свои места (Рисунок 85).
Повторите пункты с 1 по 6 для планетарной передачи с другой стороны автомобиля.
| Периодичность технического обслуживания | Порядок технического обслуживания |
|---|---|
| Через первые 8 часа |
|
| Через каждые 400 часов |
|
Установите машину на ровной поверхности, поверните колеса в такое положение, чтобы пробка заливочного отверстия оказалась в крайнем верхнем положении («на 12 часов»), а пробка сливного отверстия — в крайнем нижнем положении («на 6 часов»); см. Рисунок 83 в разделе Проверка масла в планетарной передаче.
Установите сливной поддон под ступицу планетарной передачи, снимите пробку сливного отверстия, пробку заливного отверстия и пробку контрольного отверстия и дайте маслу полностью стечь (Рисунок 86).

Осмотрите пробки заливного и сливного отверстий на предмет наличия металлической стружки.
Если на пробках заливного и сливного отверстий есть металлическая стружка, планетарная передача нуждается в ремонте.
Убедитесь в отсутствии повреждений уплотнительных колец пробок заливного, сливного и контрольного отверстий
В случае повреждения уплотнительных колец замените их.
Установите сливную пробку.
Установите сливной поддон под корпус тормоза, снимите пробку сливного отверстия и дайте маслу полностью стечь (Рисунок 87).

Установите пробку сливного отверстия в корпус тормоза.
0,62 л; см. раздел Характеристики масла в планетарной передаче
Через заливное отверстие медленно долейте трансмиссионное масло указанного типа; см. Рисунок 85 в разделе Проверка масла в планетарной передаче.
Вы должны увидеть уровень масла на нижней части резьбы контрольного отверстия.
Important: Если планетарная передача заполнится до того, как будет залит указанный объем масла, подождите 1 час или установите пробки на место и передвиньте машину примерно на 3 метра, чтобы распределить масло по тормозной системе. Затем отверните пробки и долейте остаток масла.
Дайте уровню масла установиться в течение 10 минут, проверьте уровень масла и долейте масло в количестве, необходимом, чтобы поднять его уровень до нижнего края резьбы в контрольном отверстии.
Установите на место пробку заливного отверстия и пробку контрольного отверстия, см. Рисунок 85 в разделе Проверка масла в планетарной передаче.
Повторите пункты Слив масла из планетарной передачи и Заполнение планетарного редуктора маслом для планетарной передачи с другой стороны машины.
| Периодичность технического обслуживания | Порядок технического обслуживания |
|---|---|
| Через каждые 200 часов |
|
Ширина по средней линии шин в передней части должна отличаться от ширины по средней линии шин в задней части не более чем на 0-3 мм.
Проверьте давление во всех шинах и накачайте их; см. Проверка давления в шинах.
Измерьте расстояние между обеими передними шинами на уровне моста, с передней и задней стороны передних шин (Рисунок 88).
Note: Расстояние между передними частями шин должно быть на 0–3 мм меньше, чем расстояние между задними частями передних шин.

Если измеренное значение выходит за пределы заданного диапазона, ослабьте контргайки с обоих концов тяг (Рисунок 89).

Поверните тягу, чтобы переместить переднюю часть шины внутрь или наружу.
Затяните контргайки тяг, когда будет получена правильная регулировка.
Убедитесь, что рулевое колесо поворачивается на одинаковый угол в обоих направлениях.
Проглатывание охлаждающей жидкости двигателя может вызвать отравление. Храните ее в месте, недоступном для детей и домашних животных.
Выброс под давлением горячей охлаждающей жидкости или прикосновение к горячему радиатору и расположенным рядом деталям могут привести к тяжелым ожогам.
Прежде чем снимать крышку радиатора, подождите не менее 15 минут, чтобы двигатель остыл.
При открывании крышки радиатора используйте ветошь; открывайте крышку медленно, чтобы выпустить пар.
Не эксплуатируйте машину без установленных на штатные места крышек.
Следите, чтобы пальцы и кисти рук, а также одежда не оказались вблизи вращающегося вентилятора и приводного ремня.
Раствор 50% воды и 50% стабильного этиленгликолевого антифриза.
Проверьте концентрацию охлаждающей жидкости в двигателе в соответствии с указаниями ее изготовителя.
| Периодичность технического обслуживания | Порядок технического обслуживания |
|---|---|
| Перед каждым использованием или ежедневно |
|
Если двигатель работал, охлаждающая жидкость может быть горячей и под давлением. Не открывайте крышку радиатора, когда охлаждающая жидкость горячая, она может выйти наружу струей и нанести серьезные ожоги находящимся поблизости людям.
Дайте двигателю остыть по крайней мере 15 минут, прежде чем открывать крышку радиатора.
Important: Не заправляйте охлаждающую жидкость в перегретый двигатель, пока он полностью не остынет. Добавление охлаждающей жидкости в перегретый двигатель может привести к растрескиванию блока двигателя.
Поставьте опрыскиватель на ровную поверхность.
Включите стояночный тормоз, остановите насос для опрыскивания, выключите двигатель и извлеките ключ.
Осторожно снимите крышку радиатора и крышку расширительного бачка (Рисунок 90).

Проверьте уровень охлаждающей жидкости в радиаторе и расширительном бачке.
Note: Радиатор должен быть заполнен до верха заливной горловины, а расширительный бачок должен быть заполнен до отметки Full (Полный) на бачке (Рисунок 90).
Если уровень охлаждающей жидкости низкий, снимите крышку расширительного бачка и крышку радиатора, долейте жидкость в расширительный бачок до отметки Full (Полный) и в радиатор до верха заливной горловины (Рисунок 90).
Important: Не переполняйте расширительный бачок.
Important: Не допускается использовать только воду и/или охлаждающую жидкость на основе этилового/метилового спирта.
Установите крышку радиатора и крышку расширительного бачка (Рисунок 90).
5,5 л; см. раздел Характеристики охлаждающей жидкости
| Периодичность технического обслуживания | Порядок технического обслуживания |
|---|---|
| Через каждые 400 часов |
|
Оборудование, предоставляемое владельцем: ручной термометр охлаждающей жидкости
Расположите опрыскиватель на ровной поверхности, включите стояночный тормоз, выключите насос для опрыскивания, выключите двигатель и извлеките ключ.
Подождите, когда двигатель остынет, затем снимите крышку радиатора (Рисунок 90).
Установите под радиатор большой сливной поддон.
Откройте сливной клапан и слейте охлаждающую жидкость в сливной поддон (Рисунок 91).

Закройте сливной клапан (Рисунок 91).
Снимите крышку радиатора (Рисунок 90).
Медленно залейте в радиатор охлаждающую жидкость приблизительно до уровня на 2,5 см ниже уплотнительной поверхности крышки.
Note: Используйте достаточное количество охлаждающей жидкости, чтобы заполнить двигатель и линии системы охлаждения. Это позволит охлаждающей жидкости расширяться без перелива во время прогрева двигателя.
Запустите двигатель с незатянутой крышкой на радиаторе (Рисунок 90).
Дайте двигателю прогреться до открывания термостата.
Note: Термостат двигателя должен открыться, когда ручной термометр показывает температуру охлаждающей жидкости в пределах от 79 до 88 °C.
После прогрева охлаждающей жидкости доведите уровень охлаждающей жидкости до уплотнительной поверхности и затяните крышку (Рисунок 90).
Откройте крышку расширительного бачка и заполните бачок охлаждающей жидкостью до уровня Cold (Холодный) (Рисунок 90).
Проверьте уровень жидкости после нескольких циклов запуска и останова двигателя.
Note: Добавляйте охлаждающую жидкость в радиатор и расширительный бачок по мере необходимости.
Если ход педали до появления сопротивления превышает 2,5 см, отрегулируйте тормоза следующим образом:
Установите опрыскиватель на ровной поверхности, выключите насос для опрыскивания, выключите двигатель и извлеките ключ.
Включите стояночный тормоз.
Установите подставки под колеса для предотвращения скатывания машины.
Отпустите стояночный тормоз.
Ослабьте передние контргайки на тросах тормоза под передним концом опрыскивателя (Рисунок 92).

Равномерно затягивайте задние контргайки до тех пор, пока педаль тормоза не будет перемещаться в пределах от 1 до 2 см до ощущения сопротивления (Рисунок 92).
Important: Затягивайте обе задние контргайки равномерно, чтобы резьбовые концы тросов тормоза напротив передних гаек были одинаковой длины.
Затяните передние контргайки.
| Периодичность технического обслуживания | Порядок технического обслуживания |
|---|---|
| Через первые 8 часа |
|
| Через каждые 100 часов |
|
Проверьте состояние и натяжение ремня генератора/охлаждающего вентилятора. При необходимости замените ремень.
Расположите опрыскиватель на ровной поверхности, включите стояночный тормоз, выключите насос для опрыскивания, выключите двигатель и извлеките ключ.
Проверьте натяжение ремня генератора, надавив на ремень посередине между шкивами генератора и коленчатого вала с усилием 10 кг.
Note: Отклонение ремня должно составлять 10–12 мм. Если отклонение ремня слишком большое, перейдите к пункту 3. Если отклонение ремня находится в пределах нормы, можно пропустить оставшуюся часть данной процедуры и возобновить работу на опрыскивателе.
Ослабьте болт в оси поворота генератора; ослабьте болт крепления генератора к скобе с пазом (Рисунок 93).

Вставьте монтировку между генератором и двигателем и осторожно переместите генератор наружу, действуя монтировкой как рычагом.
При достижении надлежащего натяжения ремня затяните болты генератора и скобы, чтобы зафиксировать полученное натяжение.
Затяните контргайку для фиксации выполненной регулировки.
При попадании жидкости под кожу немедленно обратитесь к врачу. Если жидкость оказалась впрыснута под кожу, необходимо, чтобы врач удалил ее хирургическим путем в течение нескольких часов.
Перед выполнением любых работ на гидравлической системе безопасно стравите все давление в гидравлической системе.
Перед подачей давления в гидравлическую систему убедитесь, что все гидравлические шланги и трубопроводы исправны, а все гидравлические соединения и штуцеры герметичны.
Не приближайтесь к местам точечных утечек или штуцерам, из которых под высоким давлением выбрасывается гидравлическая жидкость.
Для обнаружения гидравлических утечек используйте картон или бумагу.
Бак гидросистемы заполняется на заводе высококачественной гидравлической жидкостью. Проверьте уровень гидравлической жидкости перед первым запуском двигателя и в дальнейшем проверяйте его ежедневно; см. раздел Проверка гидравлической жидкости.
Рекомендуемая гидравлическая жидкость: гидравлическая жидкость Toro PX Extended Life (выпускается в 19-литровых емкостях или 208-литровых бочках).
Note: На машине, в которой используется рекомендуемая для замены жидкость, требуются менее частые замены жидкости и фильтра.
Другие варианты гидравлических жидкостей: при отсутствии гидравлической жидкости Toro PX Extended Life допускается использование других стандартных гидравлических жидкостей на нефтяной основе, при условии, что они соответствуют всем указанным далее характеристикам материала и требованиям отраслевых стандартов. Не используйте синтетическую жидкость. Для определения подходящего продукта проконсультируйтесь у местного дистрибьютора смазочных материалов.
Note: Компания Toro не несет ответственности за повреждения, вызванные применением несоответствующей рабочей жидкости, поэтому используйте продукты только признанных изготовителей, рекомендациям которых можно доверять.
| Свойства материалов: | ||
| Вязкость, ASTM D445 | сСт при 40 °C: от 44 до 48 | |
| Индекс вязкости по ASTM D2270 | 140 или выше | |
| Температура текучести, ASTM D97 | от -37°C до -45°C | |
| Отраслевые ТУ: | Eaton Vickers 694 (I-286-S, M-2950-S/35VQ25 или M-2952-S) | |
Note: Многие гидравлические жидкости почти бесцветны, что затрудняет обнаружение точечных утечек. Красный краситель для добавки в гидравлическую жидкость поставляется во флаконах емкостью 20 мл. Одного флакона достаточно для 15–22 л гидравлической жидкости. № по каталогу 44-2500 для заказа у местного официального дистрибьютора компании Toro.
Important: Синтетическая биоразлагаемая гидравлическая жидкость Toro Pemium является единственной синтетической биоразлагаемой рабочей жидкостью, одобренной компанией Toro. Эта жидкость совместима с используемыми в гидравлических системах TORO эластомерами и пригодна для широкого диапазона температур. Эта жидкость совместима с традиционными минеральными маслами, но для максимальной биоразлагаемости и высоких эксплуатационных характеристик гидравлическую систему необходимо тщательно промыть стандартной рабочей жидкостью. Масло поставляется официальным дистрибьютором компании Toro в 19-литровых емкостях или 208-литровых бочках.
| Периодичность технического обслуживания | Порядок технического обслуживания |
|---|---|
| Перед каждым использованием или ежедневно |
|
Important: В случае загрязнения рабочей жидкости обратитесь к официальному дистрибьютору компании Toro, чтобы промыть систему.По сравнению с чистой загрязненная жидкость может выглядеть белесоватой или черной.
Расположите опрыскиватель на ровной поверхности, включите стояночный тормоз, выключите насос для опрыскивания, выключите двигатель и извлеките ключ.
Очистите зону вокруг крышки гидравлического бака с масломерным щупом и снимите ее (Рисунок 94).

Important: Будьте осторожны, чтобы не допустить попадания грязи или других посторонних веществ в отверстие при проверке рабочей жидкости.
Протрите масломерный щуп начисто ветошью и установите его до упора в бак.
Извлеките масломерный щуп из заливной горловины и проверьте уровень гидравлической жидкости (Рисунок 95).
Note: Когда жидкость холодная, ее уровень должен находиться у нижней отметки на масломерном щупе.

Если уровень рабочей жидкости низкий, добавьте в бак гидравлическую жидкость указанного типа, чтобы повысить уровень до нижней отметки; см. раздел Характеристики гидравлической жидкости.
Вставьте крышку с масломерным щупом в бак и затяните.
| Периодичность технического обслуживания | Порядок технического обслуживания |
|---|---|
| Через каждые 800 часов |
|
| Через каждые 1000 часов |
|
Горячая гидравлическая жидкость может вызвать сильные ожоги.
Прежде чем выполнять работы по техническому обслуживанию гидросистемы, дайте гидравлической жидкости остыть.
Important: Использование любого другого фильтра может привести к аннулированию гарантии на некоторые компоненты.
Используйте сменный фильтр компании Toro (см. правильный код детали в Каталоге запчастей).
Расположите опрыскиватель на ровной поверхности, включите стояночный тормоз, выключите насос для опрыскивания, выключите двигатель и извлеките ключ.
Найдите два гидравлических фильтра на машине (Рисунок 96 и Рисунок 97).
Note: Один фильтр расположен под баком с гидравлической жидкостью, а другой – в задней части машины на раме.
Передний фильтр расположен под гидравлическим баком.

Задний фильтр расположен на раме машины.

Очистите область вокруг места крепления фильтра.
Установите под фильтр сливной поддон.
Извлеките фильтр.
Утилизируйте использованный фильтр в сертифицированном центре вторичной переработки.
Смажьте прокладку нового фильтра чистой гидравлической жидкостью; см. раздел Характеристики гидравлической жидкости.
Начисто протрите ветошью область в месте крепления фильтра.
Наверните фильтр до контакта прокладки с монтажной пластиной, после чего затяните фильтр еще на половину оборота.
Запустите двигатель, установите дроссельную заслонку на высокую частоту холостого хода и дайте двигателю поработать от 3 до 5 минут для вытеснения воздуха из гидравлической системы.
Выключите двигатель, проверьте уровень гидравлической жидкости, а также проверьте на наличие утечек; см. раздел Проверка гидравлической жидкости.
54 л; см. раздел Характеристики гидравлической жидкости
| Периодичность технического обслуживания | Порядок технического обслуживания |
|---|---|
| Через каждые 800 часов |
|
| Через каждые 2000 часов |
|
Горячая гидравлическая жидкость может вызвать сильные ожоги.
Прежде чем выполнять работы по техническому обслуживанию гидросистемы, дайте гидравлической жидкости остыть.
Important: Использование любой другой жидкости может привести к аннулированию гарантии на некоторые компоненты.
Замените фильтры гидравлической жидкости; см. раздел Замена гидравлических фильтров.
Очистите зону вокруг штуцера гидравлического шланга в нижней части гидравлического бака (Рисунок 98).

Поместите большой сливной поддон под штуцеры гидравлического бака.
Снимите штуцер шланга с бака и дайте рабочей жидкости стечь в поддон (Рисунок 98).
Утилизируйте использованную рабочую жидкость в сертифицированном центре вторичной переработки.
Установите шланг и штуцер в бак и надежно затяните его.
Залейте в гидравлический бак приблизительно 53 литра указанной гидравлической жидкости или ее эквивалент; см. Характеристики гидравлической жидкости.
Запустите двигатель, установите дроссельную заслонку на высокую частоту холостого хода и дайте двигателю поработать от 3 до 5 минут для вытеснения воздуха из гидравлической системы.
Выключите двигатель, проверьте уровень гидравлической жидкости, а также проверьте на наличие утечек; см. раздел Проверка гидравлической жидкости.
| Периодичность технического обслуживания | Порядок технического обслуживания |
|---|---|
| Через каждые 200 часов |
|
| Через каждые 400 часов |
|
Осмотрите каждый шланг в системе опрыскивания на наличие трещин, утечек или других повреждений. Одновременно осмотрите соединения и штуцеры на наличие аналогичных повреждений. Замените все поврежденные шланги и штуцеры.
| Периодичность технического обслуживания | Порядок технического обслуживания |
|---|---|
| Через каждые 400 часов |
|
Note: Определите размер ячейки сетчатого фильтра линии всасывания (меш), необходимый для выполнения вашей работы; см. раздел Выбор фильтра линии всасывания.
Припаркуйте машину на ровной поверхности, включите стояночный тормоз, выключите насос, выключите двигатель и извлеките ключ.
В верхней части бака опрыскивателя снимите держатель, который крепит шланговый штуцер, подсоединенный к большому шлангу, идущему от корпуса фильтра (Рисунок 99).

Отсоедините шланг и шланговый штуцер от корпуса фильтра (Рисунок 99).
Извлеките старый фильтр линии всасывания из его корпуса в баке (Рисунок 100).
Note: Удалите старый фильтр в отходы.

Установите новый фильтр линии всасывания в корпус фильтра.
Note: Убедитесь, что фильтр вставлен до упора.
Совместите шланг и шланговый штуцер с корпусом фильтра в верхней части бака и закрепите штуцер и корпус с помощью фиксатора, снятого при выполнении пункта 2.
| Периодичность технического обслуживания | Порядок технического обслуживания |
|---|---|
| Через каждые 400 часов |
|
Переместите машину на ровную поверхность, выключите насос для опрыскивания, выключите двигатель и извлеките ключ.
Поместите сливной поддон под фильтр линии нагнетания (Рисунок 101).

Поверните маслосливную пробку против часовой стрелки и снимите ее со стакана фильтра линии нагнетания (Рисунок 101).
Note: Дождитесь полного слива жидкости из стакана.
Поверните стакан против часовой стрелки и снимите его с головки фильтра (Рисунок 101).
Извлеките старый элемент фильтра линии нагнетания (Рисунок 101).
Note: Удалите старый фильтр в отходы.
Проверьте уплотнительное кольцо сливной пробки (расположенное внутри стакана) и уплотнительное кольцо стакана (расположенное внутри головки фильтра) на повреждения и износ (Рисунок 101).
Note: Замените поврежденные или изношенные уплотнительные кольца пробки и (или) стакана.
Вставьте новый элемент фильтра линии нагнетания в головку фильтра (Рисунок 101).
Note: Убедитесь, что элемент плотно посажен в головку фильтра.
Установите стакан на головку фильтра и затяните вручную (Рисунок 101).
Установите пробку в стакан и затяните ее от руки (Рисунок 101).
Note: Определите соответствующий размер сетчатого фильтра сопла (меш), необходимый для выполнения данной операции; см. раздел Выбор фильтра для наконечника сопла (дополнительно)..
Припаркуйте машину на ровной поверхности, включите стояночный тормоз, выключите насос опрыскивателя, выключите двигатель и извлеките ключ.
Снимите сопло с поворотной распылительной головки (Рисунок 102).

Снимите старый фильтр сопла (Рисунок 102).
Note: Удалите старый фильтр в отходы.
Установите новый фильтр сопла (Рисунок 102).
Note: Убедитесь, что фильтр вставлен до упора.
Установите сопло на поворотную распылительную головку (Рисунок 102).
Следующую процедуру можно использовать для регулировки приводов в центре стрелы, чтобы удерживать в горизонтальном положении левую и правую стрелы.
Выдвиньте стрелы в положение опрыскивания.
Извлеките шплинт из оси поворота (Рисунок 103).

Поднимите стрелу, извлеките штифт (Рисунок 103) и медленно опустите стрелу на землю.
Проверьте штифт на наличие повреждений и при необходимости замените его.
Удерживайте шток привода в неподвижном положении с помощью ключа, накинутого на плоские грани штока привода, затем ослабьте контргайку, чтобы можно было регулировать шток с проушиной (Рисунок 104).

Поверните шток с проушиной в штоке привода, чтобы сократить или удлинить привод для установки в требуемое положение (Рисунок 104).
Note: Шток с проушиной необходимо поворачивать по половине оборота или по полному обороту, чтобы можно было заново присоединить шток к стреле.
После достижения нужного положения затяните контргайку, чтобы зафиксировать шток привода и шток с проушиной.
Поднимите стрелу, чтобы совместить ось поворота со штоком привода.
Удерживая стрелу, проденьте штифт сквозь ось поворота стрелы и шток привода (Рисунок 103).
Когда штифт будет установлен на место, отпустите стрелу и зафиксируйте штифт ранее снятым шплинтом.
Если необходимо, повторите эту процедуру для каждого подшипника штока привода.
| Периодичность технического обслуживания | Порядок технического обслуживания |
|---|---|
| Через каждые 400 часов |
|
Припаркуйте машину на ровной поверхности, включите стояночный тормоз, выключите насос, выключите двигатель и извлеките ключ.
Выдвиньте наружные секции стрел в положение опрыскивания и поддерживайте их, поставив подставки или подвесив к подъемному устройству стропами.
Отверните болт и гайку, которые крепят ось поворота, и снимите ось поворота (Рисунок 105).

Снимите стрелу и кронштейн поворота в сборе с концевого швеллера центральной рамы, чтобы получить доступ к нейлоновым втулкам.
Снимите и осмотрите нейлоновые втулки с передней и задней сторон кронштейна шарнира (Рисунок 105).
Note: Замените все изношенные или поврежденные втулки.
Нанесите тонкий слой масла на нейлоновые втулки и установите их в кронштейн оси поворота (Рисунок 105).
Совместите отверстия в кронштейне шарнира с отверстиями в швеллере (Рисунок 105).
Установите ось поворота и закрепите ее болтом и фланцевой контргайкой, снятыми при выполнении пункта 3.
Повторите пункты 2 – 8 для других наружных секций стрелы.
| Периодичность технического обслуживания | Порядок технического обслуживания |
|---|---|
| Через каждые 400 часов |
|
Note: Следующие компоненты машины считаются деталями, расходуемыми при эксплуатации, если только в них не будут обнаружены дефекты и на них не будет распространяться гарантия, связанная с данной машиной.
Направьте официальному дистрибьютору компании Toro запрос на проверку следующих внутренних компонентов насоса на наличие повреждений:
Диафрагмы насоса
Узлы обратных клапанов насоса
В случае необходимости замените соответствующие компоненты.
Мойте машину по мере необходимости, используя только воду или воду с мягким моющим средством. При мойке машины можно использовать ткань.
Important: Не допускается использовать для очистки машины солоноватую воду или регенерированные сточные воды.
Note: Не допускается использовать для мойки машины оборудование, подающее воду под давлением. Мойка под давлением может вывести из строя электрооборудование, ослабить важные предупреждающие таблички или смыть необходимую консистентную смазку в трущихся местах. Старайтесь не использовать много воды около панели управления, двигателя и аккумулятора.
Important: Не мойте автомобиль при работающем двигателе. Мойка автомобиля при работающем двигателе может привести к внутренним повреждениям двигателя.
| Периодичность технического обслуживания | Порядок технического обслуживания |
|---|---|
| Через каждые 200 часов |
|
Important: Не распыляйте воду в горячий двигательный отсек, так как это может повредить двигатель.
Расположите опрыскиватель на ровной поверхности, включите стояночный тормоз, выключите насос для опрыскивания, выключите двигатель и извлеките ключ.
Наклоните сиденья водителя и пассажира вперед и вставьте опорную стойку в фиксатор направляющего паза опорной стойки.
Дайте системе охлаждения остыть.
Снимите крышку доступа к основанию сиденья; см. Демонтаж панели доступа к основанию сиденья.
Используя мягкую кисточку и сжатый воздух низкого давления, очистите ребра радиатора.
Note: При необходимости очищайте ребра радиатора чаще. Проверьте состояние всех шлангов охлаждающей жидкости, замените все изношенные, протекающие или поврежденные шланги.
Опустите сиденья водителя и пассажира.
Установите крышку доступа к основанию сиденья; см. Установка панели доступа к основанию сиденья.
| Периодичность технического обслуживания | Порядок технического обслуживания |
|---|---|
| Через каждые 200 часов |
|
Тщательно промойте и слейте воду из всей системы опрыскивания.
Снимите расходомер с опрыскивателя и промойте его чистой водой.
Снимите стопорное кольцо со стороны входа (Рисунок 106).

Тщательно очистите турбину и ступицу турбины от металлической стружки и следов смачивающихся порошков.
Осмотрите лопатки турбины на наличие износа.
Note: Держа турбину в руке, прокрутите ее. Она должна вращаться свободно с очень небольшим торможением. В противном случае замените ее.
Установите расходомер.
С помощью струи воздуха низкого давления (50 кПа) убедитесь в свободном вращении турбины.
Note: Если турбина не вращается свободно, ослабьте шестигранный винт в нижней части ступицы турбины на 1/16 оборота так, чтобы турбина вращалась свободно.
Для очистки клапана перемешивания см. следующие разделы:
Для очистки трех клапанов секций см. следующие разделы:
Расположите опрыскиватель на ровной поверхности, включите стояночный тормоз, выключите насос для опрыскивания, выключите двигатель и извлеките ключ.
Снимите держатель, который крепит привод к коллекторному клапану секции или клапану перемешивания (Рисунок 107).
Note: Сожмите две ножки держателя вместе, одновременно нажимая на него вниз.
Note: Сохраните привод и держатель для последующей установки на этапе Установка привода клапана.

Снимите привод с коллекторного клапана.
Снимите штифт быстроразъемного соединения, который крепит быстроразъемный соединитель шланга перемешивания к коллектору клапана перемешивания (Рисунок 108).

Снимите 3 фланцевых хомута, которые крепят коллектор клапана перемешивания к фланцам головки фильтра линии нагнетания и переходного соединителя (Рисунок 108).
Выверните 2 болта с фланцем (¼ x ¾ дюйма) и 2 фланцевые контргайки (¼ дюйма), с помощью которых коллектор клапана перемешивания подсоединен к опоре клапана (Рисунок 109).

Снимите коллектор клапана перемешивания и прокладки с машины (Рисунок 109).
Note: При необходимости ослабьте крепежные детали головки фильтра линии нагнетания, чтобы обеспечить зазор.
Note: Сохраните фланцевые хомуты, прокладки и штифты быстроразъемного соединения для последующей установки, описанной в разделе Установка коллекторного клапана перемешивания.
Снимите штифт быстроразъемного соединения, который крепит быстроразъемный соединитель перепускного клапана секции к коллекторному клапану секции (Рисунок 110).

Снимите штифт быстроразъемного соединения, который крепит быстроразъемный соединитель шланга подачи секции к коллектору быстроразъемного штуцера на коллекторном клапане секции (Рисунок 110).
Снимите 2 фланцевых хомута, которые крепят коллекторный клапан секции к фланцам соседних компонентов (Рисунок 111).

На коллекторах клапанов левой и правой секции выверните 2 болта с фланцем (¼ x ¾ дюйма) и 2 фланцевые контргайки (¼ дюйма), которые крепят коллектор клапана секции к опоре клапана (Рисунок 112).

Чтобы освободить доступ к перепускному клапану секции, переместите коллектор клапана секции и прокладки вниз и в сторону от машины (Рисунок 112).
Note: Если необходимо, ослабьте крепежные детали левого или правого коллектора клапана секции настолько, чтобы обеспечить зазор.
Note: Сохраните фланцевые хомуты, прокладки и штифты быстроразъемного соединения для последующей установки, описанной в разделе Установка коллекторного клапана секции.
Расположите шток клапана таким образом, чтобы он был в закрытом положении (Рисунок 113 B).

Снимите два штуцера торцевой крышки в сборе с каждого конца корпуса коллектора (Рисунок 114 и Рисунок 115).


Поверните шток клапана таким образом, чтобы шарик был в открытом положении (Рисунок 113А).
Note: Когда шток клапана будет параллелен направлению потока внутри клапана, шарик выскользнет наружу.
Извлеките держатель штока из пазов в отверстии штока в коллекторе (Рисунок 114 и Рисунок 115).
Снимите держатель штока и седло штока клапана с коллектора (Рисунок 114 и Рисунок 115).
Просуньте руку внутрь корпуса коллектора и извлеките оттуда шток клапана в сборе (Рисунок 114 и Рисунок 115).
Очистите внутреннюю часть коллектора и наружные поверхности шарового клапана, шток клапана в сборе, захват штока и торцевые штуцеры.
Материал, поставляемый оператором: прозрачная силиконовая консистентная смазка.
Important: При сборке клапана используйте только силиконовую смазку.
Проверьте состояние уплотнительных колец выпускных штуцеров (только коллектор клапана секции), уплотнительных колец торцевых крышек, задних уплотнительных колец седла и седла шарового клапана на отсутствие повреждений или износа (Рисунок 114 и Рисунок 115).
Note: Замените все поврежденные или изношенные уплотнительные кольца или седла.
Нанесите силиконовую консистентную смазку на шток клапана и вставьте его в седло штока клапана (Рисунок 114 и Рисунок 115).
Вставьте шток и седло клапана в коллектор и закрепите шток и седло держателем штока (Рисунок 114 и Рисунок 115).
Убедитесь, что заднее уплотнительное кольцо седла и седло шарового клапана выровнены и правильно установлены в штуцере торцевой крышки (Рисунок 114 и Рисунок 115).
Установите штуцер торцевой крышки в сборе на корпус коллектора так, чтобы фланец штуцера торцевой крышки касался корпуса коллектора (Рисунок 114 и Рисунок 115), затем доверните штуцер торцевой крышки еще на 1/8–1/4 оборота.
Note: Соблюдайте меры предосторожности, чтобы не повредить конец штуцера.
Вставьте шар в корпус клапана (Рисунок 116).
Note: Шток клапана должен быть установлен внутри паза привода шара. Если шток клапана не устанавливается в него, отрегулируйте положение шара (Рисунок 116).

Поверните шток клапана в сборе таким образом, чтобы клапан был закрыт (Рисунок 113B).
Повторите действия, описанные в пунктах 4 и 5, для другого штуцера торцевой крышки в сборе.
Совместите 2 прокладки, снятые при выполнении действий, описанных в разделе Демонтаж коллекторного клапана секции, с фланцами коллектора клапана секции (Рисунок 117).
Note: Если необходимо, ослабьте крепежные детали левого или правого коллектора клапана секции настолько, чтобы обеспечить зазор.

Совместите фланец коллектора клапана секции с фланцами другого клапана секции (клапанов секций) и/или переходного соединителя (Рисунок 117).
Вставьте быстроразъемный штуцер коллектора клапана секции в быстроразъемное гнездо перепускного клапана секции и зафиксируйте с помощью штифта быстроразъемного соединения (Рисунок 117 и Рисунок 118).

Установите, не затягивая, фланцевые хомуты, снятые при выполнении действий, описанных в разделе Демонтаж коллекторного клапана секции, на фланцы коллектора клапана секции и фланцы другого клапана секции (клапанов секций) и/или переходного соединителя (Рисунок 119).

Левый или правый коллектор клапана секции: установите коллектор клапана секции на опору клапана (Рисунок 117) с помощью 2 болтов с фланцем (1/4 x 3/4 дюйма) и 2 фланцевых контргаек (1/4 дюйма), снятых при выполнении действий, описанных в разделе Демонтаж коллекторного клапана секции.
Затяните болты с фланцем и фланцевые контргайки с моментом от 19,78 до 25,42 Н∙м.
Затяните 2 фланцевых хомута от руки (Рисунок 119).
Установите быстроразъемный соединитель шланга секции на быстроразъемный штуцер коллектора клапана секции и зафиксируйте при помощи штифта быстроразъемного соединения (Рисунок 118).
Если вы ослабили крепежные детали левого или правого коллектора клапана секции, затяните гайку и болт с моментом от 19,78 до 25,42 Н∙м.
Совместите фланец коллектора клапана перемешивания и 3 прокладки с фланцами перепускного клапана перемешивания, головки фильтра линии нагнетания и переходного соединителя (Рисунок 120 и Рисунок 121).
Note: При необходимости ослабьте крепежные детали головки фильтра линии нагнетания, чтобы обеспечить зазор.


Прикрепите, не затягивая, коллектор клапана перемешивания к перепускному клапану перемешивания, головке фильтра линии нагнетания и переходному соединителю (Рисунок 121) с помощью 3 фланцевых хомутов, снятых при выполнении действий, описанных в разделе Демонтаж коллекторного клапана перемешивания.
Установите коллектор клапана перемешивания на опору клапана с помощью 2 болтов с фланцем (¼ x ¾ дюйма) и 2 фланцевых контргаек (¼ дюйма), снятых при выполнении действий, описанных в разделе Демонтаж коллекторного клапана перемешивания.
Затяните болты с фланцем и фланцевые контргайки с моментом от 19,78 до 25,42 Н∙м.
Затяните 3 фланцевых хомута от руки (Рисунок 121).
Установите быстроразъемный соединитель шланга перемешивания на быстроразъемный штуцер коллектора клапана перемешивания при помощи штифта быстроразъемного соединения (Рисунок 121).
Если крепежные детали на головке фильтра линии нагнетания были ранее ослаблены, затяните гайку и болт с моментом от 19,8 до 25,4 Н∙м.
Совместите привод с коллекторным клапаном (Рисунок 107).
Закрепите привод и клапан с помощью держателя, снятого на этапе 2 раздела Снятие привода клапана.
Прежде чем покинуть рабочее место оператора, выключите двигатель, извлеките ключ (при наличии) и дождитесь остановки всех движущихся частей машины. Дайте машине остыть перед регулировкой, техническим обслуживанием, очисткой или помещением на хранение.
Запрещается хранить машину или емкость с топливом в местах, где есть открытое пламя, искры или малая горелка, используемая, например, в водонагревателе или другом оборудовании.
Выполните следующие процедуры:
Important: Не допускается использовать для очистки машины солоноватую воду или регенерированные сточные воды.
Прежде чем покинуть машину, припаркуйте ее на ровной горизонтальной поверхности, включите стояночный тормоз, выключите насос для опрыскивания и двигатель, извлеките ключ и дождитесь остановки всех движущихся частей.
Очистите всю машину от грязи и сажевого налета, включая наружные поверхности ребер головки цилиндров и корпус вентилятора двигателя.
Important: Машину можно мыть мягким моющим средством с водой. Не допускается использовать для мойки машины струю воды под высоким давлением . Мойка под давлением может вывести из строя электрооборудование или смыть необходимую консистентную смазку в трущихся местах. Избегайте излишнего использования воды, в особенности около панели приборов, фар, двигателя и аккумулятора.
Прежде чем покинуть рабочее место оператора, переместите машину в зону сливной площадки, включите стояночный тормоз, остановите насос для опрыскивания, выключите двигатель, извлеките ключ и дождитесь остановки всех движущихся частей.
Полностью слейте жидкость из бака пресной воды и оставьте кран бака открытым.
Полностью слейте жидкость из бака опрыскивателя, насколько это возможно.
Подготовьте раствор антифриза RV не на спиртовой основе, обладающий антикоррозионными свойствами; см. раздел Подготовка кондиционирующей присадки.
Отсоедините трубку от задней части манометра и поместите конец трубки в емкость (Рисунок 122).

Запустите двигатель и опустите наружные секции стрел.
Включите насос для опрыскивания на несколько минут для циркуляции антифриза RV по системе опрыскивания и всем установленным приспособлениям для опрыскивания.
Переведите переключатели левой, средней и правой секций в положения Вкл.
Установите главный переключатель секций в положение Вкл. и проследите за следующим:
Убедитесь, что антифриз RV вытекает из отсоединенного конца трубки манометра.
Распылите раствор антифриза RV из сопл, чтобы его можно было увидеть.
Установите главный переключатель секций в положение Выкл.
Переведите переключатель насоса в положение Выкл.
Поднимите секции с помощью переключателей подъема секций.
Поднимите секции стрелы так, чтобы они полностью вошли в транспортировочную опору стрелы, образуя транспортное положение «X», при этом подъемные цилиндры должны быть полностью втянуты.
Note: Убедитесь, что подъемные цилиндры полностью втянуты, чтобы предотвратить повреждение штоков приводов.
Выключите двигатель.
Полностью слейте жидкость из бака опрыскивателя, насколько это возможно.
Выполните следующие процедуры, описанные в разделеКраткосрочное хранение:
В дополнение к этому выполните следующие процедуры:
Проверьте давление воздуха в шинах; см. Проверка давления в шинах.
Проверьте тормоза; см. Регулировка тормозов.
Проверьте и затяните все болты, гайки и винты.
Note: Отремонтируйте или замените все изношенные или поврежденные детали.
Подкрасьте все поцарапанные или оголенные металлические поверхности (краску можно приобрести у официального дистрибьютора компании Toro).
Очистите клапан перемешивания и три клапана секций; см. Очистка клапанов перемешивания и секций
Смажьте опрыскиватель; см. Смазка насоса для опрыскивания.
Проверьте состояние всех шлангов опрыскивателя.
Note: Замените все изношенные или поврежденные шланги.
Затяните все шланговые хомуты и штуцеры.
Обслужите воздухоочиститель, см. Проверка давления воздухоочистителя.
Замените масляный фильтр двигателя и масло, см. Замена масляного фильтра двигателя и Замена масла в двигателе.
Слейте топливо из топливного бака; см. раздел Опорожнение топливного бака.
Приготовьте топливо со стабилизирующей присадкой в соответствии с указаниями изготовителя и долейте его в топливный бак.
Запустите двигатель и дайте ему поработать в режиме холостого хода в течение 5 минут.
Выключите двигатель.
Закрепите все штуцеры топливной системы.
Переместите машину в чистое и сухое место для хранения.
Извлеките аккумулятор из шасси; см. Снятие аккумулятора.
Note: Во время хранения не подсоединяйте аккумуляторные кабели к штырям аккумулятора.
Проверьте уровень электролита.
Полностью зарядите аккумулятор; см. раздел Зарядка аккумулятора.
Important: Аккумулятор должен быть полностью заряжен для предотвращения его замерзания и повреждения при температурах ниже 0 °C. Полностью заряженный аккумулятор сохраняет свой заряд около 50 суток при температуре ниже 4 °C. Если температура выше 4 °C, проверяйте уровень воды в аккумуляторе и заряжайте его через каждые 30 дней.
Извлеките ключ из замка зажигания и уберите его в безопасное место, недоступное для детей.
Накройте машину для ее защиты и сохранения в чистоте.
Вставьте трубку в соединительную муфту в задней части манометра (Рисунок 123).

Закройте кран бака пресной воды.
Долейте топливо в топливный бак.
Полностью зарядите аккумулятор; см. раздел Зарядка аккумулятора.
Установите аккумулятор на ходовую часть; см. раздел Установка аккумулятора.
| Problem | Possible Cause | Corrective Action |
|---|---|---|
| Стартер не прокручивает вал двигателя. |
|
|
| Двигатель прокручивается стартером, но не запускается. |
|
|
| Двигатель запускается, но перестает работать. |
|
|
| Двигатель работает со стуком и перебоями. |
|
|
| Двигатель не держит холостые обороты. |
|
|
| Двигатель перегревается. |
|
|
| Двигатель теряет мощность. |
|
|
| Аномальная вибрация или шум. |
|
|
| Машина не работает или движется замедленно в любом направлении из-за того, что двигатель работает с перебоями или затормаживается. |
|
|
| Машина не движется ни в каком направлении. |
|
|
| Problem | Possible Cause | Corrective Action |
|---|---|---|
| Какая-либо из секций опрыскивания не распыляет. |
|
|
| Секция опрыскивания не выключается. |
|
|
| Клапан секции опрыскивания протекает. |
|
|
| Давление падает при включении секции опрыскивания. |
|
|
| Подтекание жидкости из распылительного сопла (сопел), когда выключатель (выключатели) секции выключен(ы) |
|
|
| Во время опрыскивания падает давление. |
|
|
