| Vedlikeholdsintervall | Vedlikeholdsprosedyre |
|---|---|
| For hver bruk eller daglig |
|
Denne maskinen er et dedikert gressprederkjøretøy og er beregnet på bruk av profesjonelle, innleide operatører i kommersielle anvendelser. Det er hovedsakelig utviklet for sprøyting på allerede godt vedlikeholdte parkplener, golfbaner, idrettsbaner og plener i kommersielle områder. Denne maskinen er laget hovedsakelig som et terrengkjøretøy og er ikke tiltenkt omfattende bruk på offentlige veier. Hvis du bruker dette produktet til andre formål enn det er beregnet på, kan du utsette deg selv eller andre for fare.
Les denne håndboken nøye, slik at du lærer å bruke og vedlikeholde produktet på riktig måte og unngår person- eller produktskade. Du har ansvar for å bruke produktet på en riktig og sikker måte.
Gå til www.Toro.com for mer informasjon, inkludert sikkerhetstips, opplæringsmateriale og informasjon om tilbehør, hjelp til å finne en forhandler eller for å registrere produktet ditt.
Hvis maskinen må repareres eller du trenger originale Toro-deler eller mer informasjon, kan du kontakte et autorisert forhandlerverksted eller Toros kundeserviceavdeling. Ha modell- og serienummer for hånden når du tar kontakt. Figur 1 viser hvor på produktet modell- og serienumrene er plassert. Skriv inn numrene i de tomme feltene.
Important: Du kan skanne QR-koden på serienummermerket (hvis det finnes) med en mobil enhet for å få tilgang til garantien, deler og annen produktinformasjon.

Denne brukerhåndboken identifiserer potensielle farer og har sikkerhetsmeldinger som identifiseres ved hjelp av sikkerhetsvarselssymbolet (Figur 2) som advarer om farer som kan føre til alvorlig personskade eller død hvis du ikke følger anbefalte forholdsregler.

I tillegg brukes to ord for å utheve informasjon. Viktig gjør oppmerksom på spesiell mekanisk informasjon og Obs henviser til generell informasjon som er verdt å huske.
Dette produktet er i samsvar med alle relevante europeiske direktiver. Se eget samsvarserklæringsskjema for produktet for detaljert informasjon.
Det er i strid med Californias Public Resource Code, avsnitt 4442 eller 4443, å bruke denne motoren i skogs-, busk- eller gressområder med mindre motoren er utstyrt med en fungerende gnistfanger, som definert i avsnitt 4442, eller en motor som er beregnet, utstyrt og vedlikeholdt for å unngå brann.
Den vedlagte brukerhåndboken for motoren inneholder informasjon om amerikanske miljømyndigheters (EPA) og Californias utslippskontrollreguleringer for utslippssystemer, vedlikehold og garanti. Du kan bestille nye brukerhåndbøker fra motorprodusenten.
CALIFORNIA
Proposition 65-advarsel
Staten California kjenner til at motoreksosen fra dette produktet inneholder kjemikalier som kan forårsake kreft, fosterskader og skade forplantningsevnen på andre måter.
Batteriklemmer og -poler og tilknyttet tilbehør inneholder bly og blysammensetninger. Dette er kjemikalier som kan forårsake kreft og forplantningsskader. Vask hendene etter håndtering.
Bruk av dette produktet kan forårsake eksponering for kjemikalier som staten California vet forårsaker kreft, fødselsdefekter eller annen forplantningsskade.
Hvis føreren eller eieren bruker maskinen på feil måte eller utfører feil vedlikeholdsarbeid, kan det føre til personskader. For å redusere muligheten for skader bør du følge disse sikkerhetsinstruksjonene og alltid være oppmerksom på sikkerhetsalarmsymbolet (Figur 2) som betyr Forsiktig, Advarseleller Fare – personsikkerhetsinstruks. Hvis ikke disse instruksjonene blir tatt til følge, kan det føre til at noen blir alvorlig skadet eller drept.
Denne maskinen er designet i henhold til SAE J2258.
Dette produktet kan forårsake personskade. Følg alltid alle sikkerhetsinstruksjoner for å unngå alvorlige skader.
Les og forstå innholdet i denne brukerhåndboken før du starter motoren.
Vær alltid fokusert på oppgaven når du bruker maskinen. Ikke delta i aktiviteter som forårsaker distraksjoner, da dette kan føre til personskade eller materiell skade.
Bruk passende personlig verneutstyr (PVU) for å beskytte mot kontakt med kjemikalier. Kjemiske stoffer som brukes i spredersystemet, kan være helsefarlige og giftige.
Hold hender og føtter borte fra roterende deler på maskinen.
Bruk aldri maskinen uten at alle verneplater og andre sikkerhetsanordninger sitter på plass og fungerer.
Hold avstand til eventuelle utslippsområder på sprederdysene og sprayskyer. Hold tilskuere og barn borte fra arbeidsområdet.
La aldri barn få bruke maskinen.
Slå av motoren, ta ut nøkkelen (hvis utstyrt), og vent til alle bevegelige deler har stoppet før du forlater førerstillingen. La maskinen kjøles ned før justering, service, rengjøring eller oppbevaring.
Feilaktig bruk og vedlikehold av maskinen kan føre til
personskade. For å redusere muligheten for skader må du
følge disse sikkerhetsinstruksjonene og alltid være oppmerksom
på sikkerhetsvarselssymbolet (
) som betyr Forsiktig, Advarsel eller Fare –
personsikkerhetsinstruks. Hvis ikke disse instruksjonene tas hensyn
til, kan dette føre til at noen blir alvorlig skadet eller
drept.
Ikke alt tilleggsutstyr som passer til denne maskinen, dekkes i denne håndboken. Se den spesifikke brukerhåndboken som følger med hvert tilbehør for ekstra sikkerhetsinstruksjoner.
![]() |
Sikkerhetsmerker og -instruksjoner er lett synlige for føreren og er plassert i nærheten av alle områder som representerer en potensiell fare. Skift ut alle merker som er ødelagte eller mangler. |





























Note: Angi hva som er høyre og venstre side på maskinen ved å stå i normal arbeidsstilling.
Note: Hvis du har spørsmål eller trenger ytterligere informasjon om sprederkontrollsystemet, se brukerhåndboken som følger med systemet.
Important: Denne sprederen selges uten sprederdyser.For å bruke sprederen må du anskaffe og montere dyser. Kontakt din autoriserte Toro-forhandler for informasjon om tilgjengelige seksjonssett og tilbehør. Etter at du har montert alle dysene og før du bruker sprederen for første gang, må du justere seksjonsomløpsventilene slik at trykket og sprøytemengden forblir lik for alle seksjonene når du slår av én eller flere seksjoner. Se Justere omløpsventilene for seksjonene.
Deler som er nødvendige for dette trinnet:
| Hurtigfrakoblingsnippel | 1 |
Note: For å gjennomføre denne prosedyren må du bruke en slange med en 1 tommes standard hannrørgjengekobling (NPT) og PTFE-gjengeforsegling.
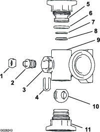
Ved fremre, høyre side av tankdekselet fjerner du de to hårnålssplintene som fester låsene for hurtigfrakoblingen for antihevertpåfyllingsbeholderen (Figur 3).

Vri låsene opp for å låse opp hurtigfrakoblingsnippelen fra hurtigfrakoblingen (Figur 3).
Fjern hurtigfrakoblingsnippelen fra hurtigfrakoblingen (Figur 3).
Lukk låsene og monter hårnålssplintene i flensene på hurtigfrakoblingen (Figur 3).
Påfør PTFE-gjengeforsegling (Figur 4) på gjengene på påfyllingsslangenippelen (1 tomme – standard rørgjenge).

Skru hurtigfrakoblingen på påfyllingsslangen, og stram for hånd (Figur 4).
Important: Bruk av spredersystemet med seksjonshengselfjærer under feil kompresjon kan skade bommen. Mål fjærene og bruk låsemutteren til å trykke inn fjærene til 4 cm hvis det er nødvendig.
Sprederen leveres med seksjonsforlengere vendt fremover for å gjøre det enklere å transportere maskinen. Fjærene er ikke helt strammet ved tidspunktet for produksjon. Dette for at seksjonene skal kunne innta stillingen for transport. Før du tar i bruk maskinen må du justere fjærene til korrekt kompresjon.
Hvis nødvendig, fjerner du pakkekomponentene som fester høyre og venstre forlengelsesseksjonene under transport.
Støtt seksjonene mens de er forlenget til sprederstilling.
Ved seksjonshengselen måler du kompresjonen til øvre og nedre fjærer mens seksjonene er i utstrakt stilling (Figur 5).
Begge fjærer må være trykket sammen til de måler 4 cm.
Bruk låsemutteren til å trykke sammen enhver fjær som måler mer enn 4 cm.

Gjenta prosedyren for hver fjær på begge seksjonshengslene.
Flytt seksjonene til transporteringsstilling X-stilling. Se Skifte stilling for sprederseksjonen for mer informasjon.



Trekkpedalen (Figur 10) kontrollerer bevegelsen til maskinen, både fremover og bakover. Bruk tåen og hælen på den høyre foten til å trykke ned den øvre delen av pedalen for å kjøre fremover og den nedre delen av pedalen for å kjøre bakover. Slipp pedalen for å sakke farten og stoppe.
Important: Kontroller at sprederen har stoppet helt før du skifter mellom FREMOVER- og REVERS-stillingene.
Note: Jo lengre du beveger pedalen i én av retningene, desto raskere beveger sprederen seg. For å nå maksimal hastighet fremover, setter du gasspaken i HURTIG-stillingen og trykker trekkpedalen helt frem.
Note: Hvis du vil oppnå maksimal kraft når lasten er tung eller når du kjører i oppoverbakke, setter du gassen i HURTIG-stillingen mens du trykker trekkpedalen litt ned for å holde den høye motorhastigheten. Når motorhastigheten reduseres, slipper du trekkpedalen litt opp for å øke motorhastigheten.

Bruk bremsepedalen til å stanse eller senke maskinens hastighet (Figur 10).
Hvis du bruke sprederen med sårlig innstilte eller slitte bremser kan du miste kontrollen på sprederen, noe som kan føre til alvorlige skader eller dødsfall for deg eller bivånere.
Kontroller alltid bremsene før du bruker sprederen og påse at de er korrekt justert og i god stand.
Parkeringsbremsen er en pedal som finnes til venstre for bremsepedalen (Figur 10). Aktiver parkeringsbremsen når du planlegger å forlate setet for å hindre at sprederen foretar uventede bevegelser. For å aktivere parkeringsbremsen trykker du ned bremsepedalen og, mens du holder bremsen, trykker du ned parkeringsbremsepedalen. For å frakoble trykker du inn og slipper bremsepedalen. Dersom sprederen parkeres i bratt helling, kobler du inn parkeringsbremsen og plasserer klosser på nedsiden av hjulene.
Tenningsbryteren (Figur 9), som brukes til å starte og stoppe motoren, har tre stillinger: AV, På/FORVARMING og START.
Hastighetslåsbryteren låser stillingen til trekkpedalen når bryteren aktiveres (Figur 11). Dette sikrer at sprederen holder konstant hastighet mens man kjører på jevnt underlag.

Gasspaken er plassert på kontrollpanelet mellom setene (Figur 11), og gassen brukes til å styre motorhastigheten. Skyv spaken fremover for å øke motorhastigheten og trekk den bakover for å redusere den.
Trykk på bryteren for å bruke arbeidslysene (Figur 9). Trykk den forover for slå lysene på og bakover for å slå dem av.
Drivstoffmåleren er plassert på dashbordet på maskinen, og måleren viser drivstoffnivået i tanken (Figur 9).
USB-strømporten med to kontakter er plassert bak på armlenet (Figur 12).


Varsellampen for motoroljetrykk lyser når oljetrykket synker til under 0,48 bar.
Når maskinen fungerer normalt, lyser varsellampen for oljetrykk når tenningsbryteren vris til På og slås av når motoren går.
Varsellampen for kjølevæsketemperatur lyser når kjølevæsketemperaturen er varmere enn 102 til 108 °C.
Varsellampen for batterispenning lyser når generatorspenningen synker til 1,5 V under batterispenningen eller mer.
Når maskinen fungerer normalt, lyser varsellampen for batterispenning når tenningsbryteren vris til På og slås av når motoren går.
Indikatorlampen for glødeplugg lyser når glødepluggen lades. Når tenningsnøkkelen vris til På-stillingen, lyser indikatorlampen for glødeplugg i seks sekunder mens glødepluggen lades. Når indikatorlampen for glødeplugg slutter å lyse, kan du starte motoren.

Trykkmåleren (Figur 14) finnes på instrumentpanelet. Denne måleren viser trykket for væsken inne i systemet i både psi og kPa.
Bruk sprøytemodusbryteren til å bytte mellom sprøytemengdemodus (lukket sløyfe) og manuell modus (åpen sløyfe).
Sprøytemengdebryteren er på dashbordet, til høyre for rattet (Figur 14). Bruk sprøytemengdebryteren til å kontrollere sprederpumpens hastighet når du bruker sprederen i manuell modus. Trykk og hold bryteren fremover for å øke sprøytemengdetrykket, eller trykk og hold den bakover for å redusere trykket.
Sprederpumpebryteren finnes på midtkonsollen, til høyre for setet (Figur 14). Juster denne bryteren forover for å slå på sprederpumpen eller bakover for å slå av pumpen. Når bryteren slås på, tennes en lampe på bryteren.
Important: Aktiver kun sprederpumpebryteren når motoren er på LAV TOMGANG for å unngå å skade pumpedrivverket.
Løftebryterne for bomseksjoner er plassert på midtkonsollen til høyre for setet og brukes til å heve og senke de venstre og høyre bomseksjonene (Figur 14).
Hovedseksjonsbryteren finnes på midtkonsollen til maskinen. Ved hjelp av bryteren kan du starte og stoppe sprederen. Trykk på bryteren for å aktivere eller deaktivere spredersystemet (Figur 14).
De tre seksjonsbryterne er plassert på midtkonsollen foran armlenet (Figur 14). Skyv hver bryter forover for å slå på den tilsvarende seksjonen, og bakover for å slå den av. Når bryteren er i På-stillingen, vises et ikon øverst på InfoCenter.
Note: Disse bryterne påvirker bare spredersystemet når hovedseksjonsbryteren er i På-stillingen.
Ristebryteren finnes på midtkonsollen, til høyre for setet (Figur 14). Trykk denne bryteren forover for å slå på ristingen eller bakover for å slå av ristingen. Når du slår på bryteren, lyser det en lampe på bryteren. Ristefunksjonen virker kun når spredersystempumpen er slått på og motoren ikke går på tomgang.
Risteomløpsventilen omdirigerer væskestrømmen til spredersystempumpen når du slår av ristefunksjonen (Figur 15). Risteomløpsventilen er plassert over risteventilen. Du kan justere omløpsventilen for å sikre at trykket forblir konstant når ristingen slås på og av. Se Kalibrere risteomløpsventilen.

Gjennomstrømningsmåleren måler flytraten til væsken som brukes i InfoCenter-systemet og ved spredning i sprøytemengdemodus (Figur 15).
Risteregulatorventilen er en manuell kuleventil som regulerer tilførselsmengden til ristemunnstykkene i hovedtanken. Bruk av denne ventilen gjør sprederoperatøren i stand til å kontrollere spredersystemtrykket ved ristemunnstykkene i hovedtanken når det kreves større sprøytemengder. Risteregulatorventilen er plassert over pumpen (Figur 16).

Seksjonsomløpsventilene brukes til å justere spredersystemets trykk på seksjonsventilene, for å sikre at spredertrykket til sprederseksjonen forblir konstant uansett hvor mange sprederseksjoner som er på (Figur 17).
Note: Bruk omløpsventilene bare når du sprøyter i manuell modus (åpen sløyfe).

Bruk avstengingsventilen for seksjonsomløp til å kontrollere væskestrømmen fra seksjonsomløpsventilene til tanken når du sprøyter i manuell modus (åpen sløyfe). Se Figur 17.
Note: Lukk avstengingsventilen for seksjonsomløp når du sprøyter i sprøytemengdemodus (lukket sløyfe).
Foran tankdekselet finnes en slangebeholder med gjenget nippel, et 90-graders vinkelrør med mothaker og en kort slange som du kan rette mot tankåpningen. Det er mulig å koble en vannslange til denne beholderen, og dermed fylle på tanken uten å forurense slangen med kjemikaliene i tanken.
Important: Du må ikke forlenge slangen slik at den kommer i kontakt med væskene i tanken. Avstanden fra enden av slangen til det øverste vannivået skal være innen grensene som er fastsatt i lokalt regelverk.

Tankdekslet finnes midt på oversiden av tanken. For å åpne dekslet må du slå av motoren, dreie den fremre halvdelen av dekslet mot venstre og svinge det åpent. Du kan fjerne sugefilteret inne i tanken for å rense det. For å forsegle tanken må du lukke dekslet og dreie det foran mot høyre.
InfoCenter-kontrollene bruker de fem knappene under LED-displayet til å navigere menyer, angi data og endre funksjoner.

Note: Spesifikasjoner og konstruksjon kan forandres uten varsel.
| Beskrivelse | Mål |
|---|---|
| Grunnvekt | 1307 kg |
| Vekt med standard spredersystem, tom, uten fører | 1307 kg |
| Vekt med standard spredersystem, full, uten fører | 2499 kg |
| Kjøretøyets maksimum bruttovekt (på bakkenivå) | 3023 kg |
| Tankkapasitet | 1135,6 l |
| Total bredde med standard spredersystemseksjoner lagret i «X»-stillingen | 226 cm |
| Beskrivelse | Mål |
|---|---|
| Total lengde med standard spredersystem | 391 cm |
| Total lengde med standard spredersystem til toppen av seksjonene lagret i «X»-stilling | 442 cm |
| Total høyde med standard spredersystem | 146 cm |
| Total høyde med standard spredersystem øverst på seksjonene lagret i «X»-stilling | 231 cm |
| Bakkeklaring | 18,4 cm |
| Hjulavstand | 198 cm |
Et utvalg av Toro-godkjent tilbehør som kan brukes sammen med maskinen for å forbedre og utvide dens funksjoner er tilgjengelig. Ta kontakt med en autorisert Toro-forhandler.
For å oppnå optimal ytelse og holde maskinen i sikkerhetsgodkjent stand, bruker du bare ekte Toro-reservedeler og -tilbehør. Reservedeler og tilbehør som er laget av andre produsenter kan være farlige, og de kan derfor føre til at garantien blir ugyldig.
Note: Angi hva som er høyre og venstre side på maskinen ved å stå i normal arbeidsstilling.
| Vedlikeholdsintervall | Vedlikeholdsprosedyre |
|---|---|
| For hver bruk eller daglig |
|
Ikke la barn eller personer som ikke er opplært, kjøre eller utføre vedlikehold på maskinen. Det kan hende at lokale forskrifter setter en aldersgrense for bruk. Eieren er ansvarlig for opplæring av alle operatører og mekanikere.
Gjør deg kjent med sikker bruk av utstyret, driftskontrollene og sikkerhetssymbolene.
Slå av motoren, ta ut nøkkelen (hvis utstyrt) og vent til alle bevegelige deler har stoppet før du forlater førerplassen. La maskinen kjøle seg ned før justering, vedlikehold, rengjøring, eller oppbevaring.
Lær deg å stanse maskinen og slå av motoren raskt.
Kontroller at brukerens kontroller, sikkerhetsbrytere og verneplater er montert og virker riktig. Ikke bruk maskinen dersom disse ikke fungerer som de skal.
Hvis maskinen ikke fungerer riktig eller er skadet på noen måte, må du ikke bruke maskinen. Rett opp problemet før du bruker maskinen eller tilleggsutstyret.
Påse at fører- og passasjerområdet er rent og fritt for kjemisk stoff og avfall.
Påse at alle koblingspunkter for væskeledninger er tette og at alle slanger er i god stand, før systemet settes under trykk.
Vær svært forsiktig når du håndterer drivstoff. Det er brannfarlig, og dampen er eksplosiv.
Slukk alle sigaretter, sigarer, piper og andre tennkilder.
Bruk kun en godkjent drivstoffkanne.
Ta aldri lokket av drivstofftanken eller fyll på drivstofftanken mens motoren går eller er varm.
Ikke fyll eller tøm drivstofftanken i et innelukket rom.
Oppbevar aldri maskinen eller bensinkannen i nærheten av åpen ild, gnister eller kontrollampe, som på en varmtvannstank eller andre apparater.
Hvis du søler drivstoff, må du ikke prøve å starte motoren. Unngå alt som kan antennes, til all drivstoffdamp er forsvunnet.
Kjemiske stoffer som brukes i spredersystemet, kan være helsefarlige og giftige for deg, tilskuere og dyr, og de kan skade planter, jordsmonn eller annen eiendom.
Les informasjon om hver kjemikalie. Nekt å bruke eller arbeide på sprederen hvis denne informasjonen ikke er tilgjengelig.
Før du arbeider på et spredersystem må du forsikre deg om at systemet har blitt nøytralisert og trippelrenset i henhold til anbefalingene til kjemikalieprodusenten(e), og at alle ventilene har fullført tre sykluser.
Påse at det finnes tilstrekkelig med rent vann og såpe i nærheten, og vask umiddelbart av eventuelle kjemikalier du måtte komme i kontakt med.
Les og følg de kjemiske advarselsmerkene og sikkerhetsdatabladene (SDS-ene) for alle kjemikalier som brukes, og beskytt deg i overensstemmelse med anbefalingene fra produsenten av kjemikaliene.
Du må alltid beskytte kroppen under bruk av kjemikalier. Bruk passende personlig verneutstyr (PVU) for å beskytte mot kontakt med kjemikaliene, for eksempel:
vernebriller og/eller ansiktsvern
en kjemikaliebestandig drakt
en vernemaske eller filtermaske
kjemikaliebestandige hansker
gummistøvler eller annet passende fottøy
et rent skift med klær, såpe og engangshåndklær til rengjøring
Sørg for egnet opplæring før bruk eller håndtering av kjemikalier.
Bruk kjemikalier som er egnet for jobben.
Følg kjemikalieprodusentens instrukser for sikker påføring av kjemikaliene. Ikke overskrid det anbefalte systemtrykket for påføring.
Ikke fyll, kalibrer eller vask enheten mens det er folk, spesielt barn, eller dyr i nærheten.
Pass på at du kun håndterer kjemikalier i et godt ventilert område.
Ikke spis, drikk eller røyk mens du arbeider i nærheten av kjemikalier.
Ikke rengjør sprederdysene ved å blåse gjennom dem eller plassere dem i munnen.
Vask alltid hendene og andre eksponerte områder så raskt som mulig etter at du har jobbet med kjemikalier.
Hold kjemikaliene i originalforpakningen og lagret på et trygt sted.
Ubrukte kjemikalier og kjemikaliebeholdere må kasseres i henhold til produsentens instrukser og lokale forskrifter.
Kjemikalier og dunst i tankene er farlig, du må aldri gå oppi tanken eller plassere hodet over eller i åpningen til tanken.
Følg alle lokale og offentlige forskrifter for spredning eller spraying av kjemikalier.
Kontroller følgende ting hver dag før du bruker sprederen:
Kontroller lufttrykket i dekkene.
Note: Dekkene på denne maskinen er annerledes enn bildekk. De krever mindre lufttrykk for å minimalisere gresskomprimering og skade.
Kontroller alle væskenivåene, og tilsett passende mengder med spesialvæsker hvis de er lave.
Kontroller at bremsepedalen virker.
Kontroller at lysene virker.
Snu rattet til venstre og høyre for å kontrollere styreevnen.
Når motoren er slått av, kan du se etter oljelekkasjer og andre merkbare feil.
Dersom noen av punktene ovenfor ikke er som de skal, må du si ifra til en mekaniker eller høre med din overordnede før du bruker sprederen. Din overordnede vil kanskje at du skal kontrollere andre deler daglig, så spør om hvilke inspeksjoner du er ansvarlig for å utføre.
Før du starter motoren og bruker maskinen, må du sjekke oljenivået i veivhuset. Se Kontrollere motoroljen.
Før du starter motoren og bruker maskinen, sjekk kjølesystemet. Se Kontrollere kjølemiddelnivået.
Før du starter motoren og bruker maskinen, sjekk hydraulikksystemet. Se Kontrollere den hydrauliske oljen.
| Vedlikeholdsintervall | Vedlikeholdsprosedyre |
|---|---|
| For hver bruk eller daglig |
|
Kontroller at lufttrykket i dekkene er på korrekt nivå. Fyll dekkene til 1,38 bar.
Note: Sjekk også dekkene for slitasje og skader.
| Vedlikeholdsintervall | Vedlikeholdsprosedyre |
|---|---|
| For hver bruk eller daglig |
|
Før du starter sprederen, trykker du bremsepedalen lett inn. Hvis pedalen har en frigang på mer enn 2,5 cm før du kjenner motstand, juster bremsene. Se Justere bremsene.
Hvis du bruke sprederen med sårlig innstilte eller slitte bremser kan du miste kontrollen på sprederen, noe som kan føre til alvorlige skader eller dødsfall for deg eller bivånere.
Kontroller alltid bremsene før du bruker sprederen og påse at de er korrekt justert og i god stand.
Important: Ikke kjøp mer drivstoff enn det som kan brukes opp i løpet av 180 dager, dette for å sikre at drivstoffet er ferskt.
Note: Motoren krever kanskje drivstoff med høyre cetanverdi hvis du bruker maskinen i høytliggende områder eller ved lave temperaturer.
Du må aldri bruke parafin eller bensin i stedet for diesel.
Bland aldri parafin eller brukt motorolje med dieseldrivstoffet.
Bruk kun rent, ferskt dieseldrivstoff eller biodieseldrivstoff.
| Dieseldrivstoff med en minimum cetanverdi på 40. |
| Bruk diesel med lavt eller ultralavt svovelinnhold. |
| Bruk dieseldrivstoff av sommertype (nr. 2-D) ved temperaturer over -7 °C og drivstoff av vintertype (nr. 1-D eller nr. 1-D/2-D) ved lavere temperaturer. |
Note: Når du bruker drivstoff av vintertype ved lavere temperaturer, medfører det et lavere flammepunkt og kaldflytkarakteristika som gjør det lettere å starte, og som reduserer tetting av drivstoffilteret.
Bruk av drivstoff av sommertype over -7 °C medfører lengre levetid for drivstoffpumpen, og gir økt effekt sammenlignet med drivstoff av vintertype.
| Bruk en biodieselblanding på opptil B20 (20 % biodiesel, 80 % petrodiesel). |
| Petrodiesel-delen må ha lavt eller ultralavt svovelinnhold. |
| Biodieseldelen av drivstoffet må oppfylle kravene i spesifikasjonen ASTM D6751 eller EN 14214. Den blandede dieselsammensetningen må oppfylle kravene i ASTM D975 eller EN 590. |
| Bruk B5 (biodieselinnhold på 5 %) eller lavere blandinger i kaldt vær. |
Ta følgende forholdsregler:
Man kan forvente å oppleve tett drivstoffilter en tid etter å ha konvertert til biodieselblandinger.
Hold øye med forseglinger, slanger og pakninger som kommer i kontakt med drivstoffet, da de kan forringes over tid.
Biodieselblandinger kan skade lakkerte overflater.
Ta kontakt med din distributør hvis du ønsker mer informasjon om biodiesel.
Drivstofftankkapasitet: ca. 45 liter.
Parker maskinen på en jevn flate, sett på parkeringsbremsen, stopp sprederpumpen, slå av motoren, ta ut nøkkelen og la motoren kjøle seg ned.
Rengjør området rundt drivstofftanklokket (Figur 20).

Fjern drivstofftanklokket.
Fyll tanken til om lag 2,5 cm under toppen av tanken (bunnen av påfyllingshalsen).
Note: Dette tomrommet i tanken gir drivstoffet plass til å utvide seg. Ikke fyll på for mye.
Sett drivstofftanklokket ordentlig på tanken.
Tørk opp eventuelt drivstoffsøl.
| Vedlikeholdsintervall | Vedlikeholdsprosedyre |
|---|---|
| Etter de 100 første timene |
|
Sjekk motoroljenivå og væskenivåer regelmessig og vær generelt oppmerksom på tegn på overoppheting i sprederen.
Når du har startet en kald motor, lar du den varmes opp i ca. 15 sekunder før du begynner å kjøre.
Unngå å ruse motoren.
Varier sprederhastigheten under bruk. Unngå å starte og stoppe raskt.
Se for informasjon om spesielle lavtidskontroller.
Note: Se veiledningen for valg av dyser som er tilgjengelig via din autoriserte Toro-forhandler.
Dreieskiven kan ta opp til tre forskjellige munnstykker. For å velge ønsket munnstykke:
Stans sprederen på et jevnt underlag, slå av motoren, og sett på parkeringsbremsen.
Sett hovedseksjonsbryteren i AV-stilling, og sett deretter sprederpumpebryteren i AV-stilling.
Drei dreieskiven med munnstykkene i begge retninger til det korrekte munnstykket.
For maskiner brukt i sprøytemengdemodus utfører du en gjennomstrømningskalibrering. Se programvareveiledningen for Multi Pro 5800-D- og 5800-G-gresspredere med ExcelaRate-spredersystem.
Standardutstyr: 50 nettingsugefilter (blått)
Bruk sugefiltertabellen for å identifisere siktnettingen for sprederdysene du bruker, basert på kjemiske produkter eller løsninger med viskositet som tilsvarer vann.
| Sprederdysefargekode (strømningshastighet) | Siktnettingstørrelse* | Filterfargekode |
|---|---|---|
| Gul (0,8 l/min) | 50 | Blå |
| Rød (1,5 l/min) | 50 | Blå |
| Brun (1,9 l/min) | 50 (eller 30) | Blå (eller grønn) |
| Grå (2,2 l/min) | 30 | Grønn |
| Hvit (3 l/min) | 30 | Grønn |
| Blå (3,8 l/min) | 30 | Grønn |
| Grønn (5,7 l/min) | 30 | Grønn |
| *Nettingsstørrelsen til sugefiltrene i denne tabellen er basert på sprøytekjemikalier eller løsninger med viskositet som tilsvarer vann. | ||
Important: Når du sprøyter med kjemiske produkter med høyere viskositet (mer tyktflytende) eller løsninger med fuktbare pulver, kan det hende du må bruke en grovere nettingstørrelse for sugefilteret (valgfritt). Se Figur 21.

Når du sprøyter med høyere sprøytemengde, bør du vurdere å bruke et sugefilter med grovere nettingstørrelse (valgfritt). Se Figur 22.

Tilgjengelige skjermstørrelser omfatter:
Standardutstyr: 50 nettingsugefilter (blått)
Bruk trykkfiltertabellen for å identifisere siktnettingen for sprederdysene du bruker, basert på kjemiske produkter eller løsninger med viskositet som tilsvarer vann.
| Sprederdysefargekode (strømningshastighet) | Siktnettingstørrelse* | Filterfargekode |
|---|---|---|
| Etter behov for kjemikalier eller løsninger med lavere viskositet eller for lavere sprøytemengde | 100 | Grønn |
| Gul (0,8 l/min) | 80 | Gul |
| Rød (1,5 l/min) | 50 | Blå |
| Brun (1,9 l/min) | 50 | Blå |
| Grå (2,2 l/min) | 50 | Blå |
| Hvit (3 l/min) | 50 | Blå |
| Blå (3,8 l/min) | 50 | Blå |
| Grønn (5,7 l/min) | 50 | Blå |
| Etter behov for kjemikalier eller løsninger med høyere viskositet eller større sprøytemengder | 30 | Rød |
| Etter behov for kjemikalier eller løsninger med høyere viskositet eller større sprøytemengder | 16 | Brun |
| *Nettingsstørrelsen til trykkfiltrene i denne tabellen er basert på sprøytekjemikalier eller løsninger med viskositet som tilsvarer vann. | ||
Important: Når du sprøyter med kjemiske produkter med høyere viskositet (mer tyktflytende) eller løsninger med fuktbare pulver, kan det hende du må bruke et grovere siktgitter for trykkfilteret (valgfritt). Se Figur 23.

Når du sprøyter med høyere sprøytemengde, bør du vurdere å bruke et trykkfilter med grovere maske (valgfritt). Se Figur 24.

Note: Bruk dysefilteret (valgfritt) for å beskytte sprederdysen og øke levetiden.
Bruk dysefiltertabellen for å identifisere siktnettingen for sprederdysene du bruker, basert på kjemiske produkter eller løsninger med viskositet som tilsvarer vann.
| Sprederdysefargekode (strømningshastighet) | Nettingstørrelse, filter* | Filterfargekode |
|---|---|---|
| Gul (0,8 l/min) | 100 | Grønn |
| Rød (1,5 l/min) | 50 | Blå |
| Brun (1,9 l/min) | 50 | Blå |
| Grå (2,2 l/min) | 50 | Blå |
| Hvit (3 l/min) | 50 | Blå |
| Blå (3,8 l/min) | 50 | Blå |
| Grønn (5,7 l/min) | 50 | Blå |
| *Nettingsstørrelsen til dysefiltrene i denne tabellen er basert på sprøytekjemikalier eller løsninger med viskositet som tilsvarer vann. | ||
Important: Når du sprøyter med kjemiske produkter med høyere viskositet (mer tyktflytende) eller løsninger med fuktbare pulver, kan det hende du må bruke et grovere siktgitter for dysefilteret (valgfritt). Se Figur 25.

Når du sprøyter med høyere sprøytemengde, bør du vurdere å bruke en grovere dysefilternetting. Se Figur 26.

Important: Ikke bruk gjenvunnet vann (grått vann) i ferskvannstanken.
Note: Ferskvannstanken brukes til å levere rent vann slik at du kan vaske kjemikalier av huden, fra øynene eller andre overflater hvis du ved et uhell utsettes for søl.
Fyll alltid ferskvannstanken med friskt, rent vann før du behandler eller blander kjemikalier.
Du fyller på tanken ved å skru av lokket på toppen av tanken, fylle tanken med rent vann og skru på lokket igjen (Figur 27).
For å åpne tappekranen for ferskvannstanken, vri spaken på toppen av kranen (Figur 27).

Monter det kjemiske forhåndsblandingssettet (ekstrautstyr) for optimal blanding og en ren utvendig tank.
Important: Når mulig, ikke bruk gjenvunnet vann (grått vann) i spredertanken.
Important: Påse at kjemikaliene du bruker, er kompatible med Viton™ (se produsentens merke, dette skal angi om det ikke er kompatibelt). Ved å bruke et kjemikalie som ikke kompatibelt med Viton vil degradere O-ringene i sprederen og føre til lekkasjer.
Important: Tankvolummerkene er kun for referanse og kan ikke regnes som nøyaktige nok for kalibrering.
Stans maskinen på et jevnt underlag, slå av motoren, ta ut nøkkelen, og sett på parkeringsbremsen.
Avgjør hvor mye vann som er nødvendig for å blande mengden kjemikalier du trenger, ved å følge anvisningen fra kjemikalieprodusenten.
Åpne tankdekslet på spredertanken.
Note: Tankdekslet er midt på tanken øverst. For å åpne den må du dreie halve dekslet mot klokken og svinge det åpent. Du kan fjerne sugefilteret under tankdekselet for å rense det.
Monter påfyllingsslangen til hurtigfrakoblingsnippelen på antihevertpåfyllingsbeholderen.
Tilsett 3/4 av påkrevd vannmengde på spredertanken (Figur 28).
Important: Du må alltid bruke ferskt, rent vann i spredertanken. Ikke hell konsentrat i en tom tank.

Start motoren, sett på parkeringsbremsen, still sprederpumpebryteren til På-stillingen, og flytt gasspaken til HøY TOMGANG.
Sett ristebryteren i På-STILLING.
Important: Før du tilfører fuktbart pulver i et Toro-spredersystem, må du blande pulverne i en passende beholder sammen med nok friskt vann til du får en tungtflytende blanding. Dersom du ikke gjør det, kan det føre til avleiring av kjemikalier i bunnen av tanken, redusert risting, tilstopping av filtre og feil sprøytemengder.Toro anbefaler bruk av det godkjente eduktorsettet for denne maskinen. Ta kontakt med en autorisert Toro-forhandler for mer informasjon.
Tilsett riktig mengde kjemikaliekonsentrat i tanken. Følg anvisningene fra kjemikalieprodusenten.
Hell resten av vannet i tanken, fjern påfyllingsslangen og lukk tankdekslet.
Note: For å forsegle tanken må du lukke dekslet og dreie fronten halvveis med klokken.
Important: Kontroller tankremmen for slark etter første gangs fylling av tank. Trekk til etter behov.
| Vedlikeholdsintervall | Vedlikeholdsprosedyre |
|---|---|
| For hver bruk eller daglig |
|
Important: Hvis festene for tankstroppene strammes for hardt, kan det resultere i deformerte og ødelagte remmer og skader på tanken.
Important: Når mulig, ikke bruk gjenvunnet vann (grått vann) i spredertanken.
Important: Ved bruk i sprøytemengdemodus må du sette seksjonsomløpventilene til lukket stilling.
Important: Når mulig, ikke bruk gjenvunnet vann (grått vann) i spredertanken.
Still inn spredestrømning, spredehastighet og seksjonsomløp etter behov, eller hvis du skal bruke sprederen for første gang eller bytte dyser.
Important: Velg et åpent og flatt område å gjøre dette på.
Fyll spredertanken halvfull med rent vann.
Senk sprederseksjonene.
Sett på parkeringsbremsen.
Sett sprederens kontrollbryter til manuelt.
Sett de tre seksjonsbryterne til På-stillingen, men la hovedseksjonsbryteren være i AV-stillingen.
Sett sprederpumpebryteren i På-stillingen, og slå på ristingen.
På InfoCenter navigerer du til skjermen Kalibrering og velger Testhastighet. Se Simulere en testhastighet i programvareveiledningen for Multi Pro 5800-D- og 5800-G-gressprederne med ExcelaRate-spredersystem.
Trykk på knapp 3 eller 4 for å heve eller senke den simulerte hastigheten til 5,6 km/t.
Trykk på knapp 4 for å slå På testhastighetssimuleringen.
Trykk på knapp 5 for å lagre og avslutte TESTHASTIGHET-skjermen.
Bruk regulatorbryteren for sprøytemengde til å justere sprøytemengden i henhold til tabellen som følger.
| Munnstykkefarge | SI (metrisk) | Engelsk | Turf |
| Gul | 159 l/ha | 17 gpa | 0,39 gpk |
| Rød | 319 l/ha | 34 gpa | 0,78 gpk |
| Brun | 394 l/ha | 42 gpa | 0.96 gpk |
| Grå | 478 l/ha | 51 gpa | 1,17 gpk |
| Hvit | 637 l/ha | 68 gpa | 1.56 gpk |
| Blå | 796 l/ha | 85 gpa | 1.95 gpk |
| Grønn | 1190 l/ha | 127 gpa | 2,91 gpk |
Slå av bryteren for venstre seksjon og juster seksjonsomløpsknotten (Figur 30) til verdien som vises, er ved det forrige nivået i henhold til tabellen.
Note: De nummererte indikatorene på omløpsknotten og nålen er kun for referanse.

Slå på bryteren for venstre seksjon og slå av bryteren for høyre seksjon.
Juster høyre seksjonsomløpsknott (Figur 30) til verdien som vises, er ved det forrige nivået i henhold til tabellen.
Slå på bryteren for høyre seksjon og slå av bryteren for midtre seksjon.
Juster midtre seksjonsomløpsknott (Figur 30) til verdien som vises, er ved det forrige nivået i henhold til tabellen.
Slå av hovedseksjonsbryteren.
Slå av sprederpumpen.
| Vedlikeholdsintervall | Vedlikeholdsprosedyre |
|---|---|
| Årlig |
|
Important: Når mulig, ikke bruk gjenvunnet vann (grått vann) i spredertanken.
Velg et åpent og flatt område å gjøre dette på.
Fyll spredertanken halvfull med rent vann.
Kontroller at ristekontrollventilen er åpnet.
Note: Har den vært justert tidligere, må du åpne den helt opp nå.
Sett på parkeringsbremsen og start motoren.
Sett spredermodusknappen til manuell modus. Se Sprøyte i manuell modus.
Sett sprederpumpebryteren og ristebryteren i På-stillingen.
Sett hovedseksjonsbryteren i AV-stillingen.
Flytt gasspaken til HURTIG-stillingen.
Bruk sprøytemengdebryteren for å justere spredersystemtrykket til 6,89 bar (689 kPa).
Skru ristebryteren til AV-stillingen, og les av trykkmåleren.
Dersom målingen forblir 6,89 bar (689 kPa), er risteomløpsventilen riktig kalibrert.
Dersom trykkmåleren gir et annet resultat, må du følge instruksjonene i neste trinn.
Juster risteomløpsventilen (Figur 32) på baksiden av risteventilen helt til trykkmåleren på spredersystemet viser 6,89 bar (689 kPa).

Sett sprederpumpebryteren i AV-stillingen.
Flytt gasspaken til TOMGANG/SAKTE-stillingen og vri nøkkelbryteren til AV-stillingen.
Sprederpumpen finnes nær bakdelen på tanken, på venstre side (Figur 33).

Eieren/brukeren kan forhindre og er ansvarlig for ulykker som kan forårsake personskader eller materielle skader.
Ha på deg passende klær, inkludert vernebriller, vernebukser, sklisikkert og kraftig fottøy og hørselsvern. Ikke bruk løstsittende klesplagg eller smykker, og sett opp langt hår.
Bruk egnet personlig verneutstyr som oppgitt i Kjemisk sikkerhet.
Vær alltid fokusert på oppgaven når du bruker maskinen. Ikke delta i aktiviteter som forårsaker distraksjoner, da dette kan føre til personskade eller materiell skade.
Ikke bruk maskinen når du er syk, trett eller påvirket av alkohol eller andre rusmidler.
Ikke ha med mer enn én passasjer på maskinen. Passasjeren skal sitte på plassen beregnet for passasjerer.
Bruk maskinen bare når det er god sikt. Unngå hull eller skjulte farer.
Før du starter motoren, sørg for at du er i driftsstilling, at drivverket er i NøYTRAL-posisjon (manuell) eller PARKER-posisjon (automatisk) og at parkeringsbremsen er aktivert.
Du skal alltid sitte når maskinen er i bevegelse. Hold begge hendene på rattet når mulig, og hold alltid armer og bein inni operatørrommet.
Vær forsiktig når du nærmer deg hjørner, busker, trær eller annet som reduserer synsfeltet ditt.
Se bakover og pass på det ikke står noen bak kjøretøyet før du rygger. Rygg langsomt.
Ikke sprøyt hvis andre personer, spesielt barn, eller dyr befinner seg i nærheten.
Ikke bruk maskinen i nærheten av kanter, grøfter eller voller. Maskinen kan plutselig velte hvis et hjul går over kanten eller hvis kanten gir etter.
Reduser hastigheten når du kjører i kupert terreng, på ujevn bakke samt i nærheten av fortauskanter, hull og andre plutselige endringer i terrenget. Lasten kan forskyves og gjøre maskinen ustabil.
Stopp maskinen, slå av motoren, ta ut nøkkelen, aktiver parkeringsbremsen, og se etter skader hvis du har kjørt over gjenstander, eller hvis maskinen begynner å vibrere unormalt. Foreta alle nødvendige reparasjoner før du gjenopptar bruk.
Kjør sakte, og vær forsiktig når du svinger og krysser veier og fortau med maskinen. Overhold alltid vikeplikten.
Vær spesielt forsiktig når du bruker maskinen på våte overflater, i dårlig vær, i stor fart eller med full last. Bremsetiden og -lengden øker under disse forholdene.
Ikke ta på motoren eller eksosrøret når motoren er i gang, eller like etter at den har stanset. Disse områdene kan være varme nok til å forårsake brannskader.
Før du forlater førerplassen, gjør følgende:
Parker maskinen på et jevnt underlag.
Flytt trekkpedalen til NøYTRAL stilling.
Sett på parkeringsbremsen.
Slå av motoren, og ta ut nøkkelen (hvis utstyrt).
Vent til alle bevegelige deler har stoppet.
La aldri motoren gå i et lukket rom hvor eksosen ikke slipper ut.
Ikke bruk maskinen hvis det er fare for lynnedslag.
Bruk tilbehør og utstyr som er godkjent av Toro.
Note: For hver maskin som dekkes i denne Brukerhåndboken, er førerhus montert av Toro veltebeskyttet.
Ikke fjern veltebeskyttelsen fra maskinen.
Fest sikkerhetsbeltet og påse at du kan frigjøre det raskt i et nødstilfelle. Ha alltid på sikkerhetsbeltet.
Kontroller nøye om det finnes overhengende hindringer, og sørg for at du ikke kommer i kontakt med slike.
Sørg for at veltebeskyttelsen er i sikker driftstilstand ved å inspisere den grundig for skade med jevne mellomrom og kontrollere at alle monteringsfester er strammet til.
Vedlikehold og rengjør sikkerhetsbelte(r) etter behov.
Skift eventuelle skadde komponenter i veltebeskyttelsen. Ikke reparer eller endre den.
Skråninger er en ledende årsak til tap av kontroll og velting. Dette kan føre til alvorlige skader eller dødsfall. Du er ansvarlig for trygg drift i skråninger. Bruk av maskinen i skråninger krever ekstra forsiktighet.
Les instruksjonene for bruk av maskinen i skråninger, oppført nedenfor, og vurder om du kan bruke maskinen under forholdene den dagen og på det stedet. Endringer i terreng kan føre til endringer ved bruk av maskinen i skråninger.
Vurder og inspiser området for å avgjøre om det er trygt å bruke maskinen i skråningen. Bruk alltid sunn fornuft og god dømmekraft når du utfører denne kontrollen.
Unngå start, stopp eller sving av maskinen i skråninger. Kjør opp og ned i skråninger. Ikke foreta brå endringer i hastighet eller retning. Hvis du må svinge maskinen, drei den sakte og gradvis nedover, hvis mulig. Vær forsiktig når du rygger maskinen.
Ikke bruk en maskin når du er usikker på trekkraften, styringen eller stabiliteten.
Fjern eller marker hindringer som grøfter, hull, hjulspor, ujevnheter, steiner eller andre skjulte objekter. Høyt gress kan skjule hindringer. Maskinen kan velte i ujevnt terreng.
Vær oppmerksom på at bruk av maskinen på våte overflater, på tvers av skråninger eller i nedoverbakker, kan føre til at maskinen mister veigrepet. Hvis drivhjulene mister veigrepet, kan det føre til at maskinen sklir og at bremse- og styringsevnen går tapt.
Vær svært forsiktig når du bruker maskinen nær kanter, grøfter, voller, vann eller andre faremomenter. Maskinen kan plutselig velte hvis et hjul går over kanten eller kanten gir etter. Fastsett et sikkerhetsområde mellom maskinen og eventuelle farer.
Vær ekstra forsiktig når maskinen brukes med tilbehør, da dette kan virke inn på maskinens stabilitet.
Hvis motoren stanser eller du begynner å miste drivkraft i en bakke, bremser du gradvis ned og rygger rett ned bakken.
Hold alltid girspaken i gir (hvis relevant) når du kjører maskinen ned en bakke.
Ikke parker maskinen i en skråning.
Vekten av materiale i tanken kan påvirke håndteringen av maskinen. Følg disse retningslinjene for å unngå at du mister kontroll og at det oppstår personskader.
Når du har tung last, må du redusere farten for å få lang nok bremseavstand. Ikke bråbrems. Vær ekstra forsiktig i bakker.
Væskelast forflytter seg, særlig når du svinger, kjører opp eller ned bakker, plutselig endrer hastighet eller kjører i kupert terreng. Hvis lasten beveger på seg, kan dette føre til at maskinen velter.
Sitt i førersetet, og hold foten borte fra trekkpedalen.
Påse at følgende kontroller er angitt:
Parkeringsbremsen er tilkoblet.
Trekkpedalen er i FRI-stillingen.
Sprederpumpen er slått av.
Gassen er i SAKTE-stillingen.
Vri bryteren til På/FORVARME-stillingen.
Note: En automatisk timer vil kontrollere forvarmen i omtrent seks sekunder.
Vri tenningsnøkkelen til START-stillingen etter forvarmingen.
Ikke drei motoren i mer enn 15 sekunder.
Slipp nøkkelen når motoren starter.
Hvis motoren trenger ytterligere forvarming, vrir du nøkkelen til AV-stillingen og deretter til På/FORVARME-stillingen.
Note: Gjenta trinnene 3 til 7 etter behov.
Kjør motoren på TOMGANG eller delvis gass til motoren er oppvarmet.
Slipp parkeringsbremsen og trykk trekkpedalen fremover for å kjøre fremover, eller trykk pedalen bakover for å kjøre i revers.
Important: Kontroller at sprederen har stoppet helt før du skifter mellom FREMOVER- og REVERS-stillingen.
For å sakte stoppe maskinen, slipp trekkpedalen.
Note: Trekkpedalen går tilbake til FRI-stillingen.
For å stoppe raskt, trykk ned bremsepedalene.
Note: Bremseavstanden for maskinen kan variere avhengig av lasten i spredertanken og hastigheten på maskinen.
Hvis du trykker på hastighetslåsbryteren og ikke har foten på trekkpedalen, kan trekkenheten kanskje stoppe plutselig og gjøre at du mister kontrollen, noe som kan skade deg selv eller andre.
Påse at du har foten på trekkpedalen når du kobler fra hastighetslåsbryteren.
Start sprederpumpen ved å trykke sprederpumpebryteren til På-stillingen. Se Sprederpumpebryter.
Kjør fremover, og finn ønsket hastighet. Se Kjøre maskinen.
Note: Du må kjøre maskinen saktere enn 11 km/t for å angi hastighetslåsebryteren.
Trykk øverst på hastighetslåsbryteren.
Note: Lampen på bryteren tennes.
Ta foten av trekkpedalen.
Note: Sprederen opprettholder hastigheten du stiller inn.
For å slå av hastighetslåsbryteren setter du enten foten på trekkpedalen og trykker på den nedre delen av bryteren, eller tar foten bort fra trekkpedalen og trykker på bremsepedalen.
Note: Lampen på bryteren slås av og trekkontrollen går tilbake til trekkpedalen.
Flytt alle kontrollene til FRI-stillingen.
Trykk på bremsen for å stoppe sprederen.
Sett på parkeringsbremsen.
Flytt gasspaken til TOMGANG/SAKTE-stillingen.
Vri nøkkelen til AV-stilling.
Ta nøkkelen ut av tenningen for å unngå at noen starter kjøretøyet ved et uhell.
For å bruke Multi Pro®-sprederen må du først fylle spredertanken, påføre produktblandingen på arbeidsområdet og til slutt rengjøre tanken og spredersystemet. Det er viktig at du utfører alle tre trinnene etter hverandre, slik at du unngår å ødelegge sprederen. Ikke bland og tilsett kjemikalier i spredertanken på kvelden for å sprøyte om morgenen, for eksempel. Dette kan føre til separering av kjemikaliene og skade på sprederkomponentene.
Kjemikalier er farlige, og kan forårsake personskade.
Les anvisningene på de kjemiske merkene før du håndterer kjemikaliene. Følg alle anbefalinger og advarsler fra produsenten.
Ikke la kjemikalier komme i kontakt med huden. Skulle slik kontakt skje, må du vaske huden grundig med såpe og rent vann.
Bruk egnet personlig verneutstyr (PPE) iht. kjemikalieprodusentens instrukser.
Multi Pro®-sprederen er utviklet spesielt for høy holdbarhet og lang levetid. Forskjellige materialer har blitt valgt av spesielle grunner på forskjellige steder på sprederen din for å oppnå dette målet. Dessverre finnes det ikke ett enkelt materiale som passer perfekt til alle mulige bruksområder.
Enkelte kjemikalier er mer aggressive enn andre og hvert kjemikalie samhandler forskjellig med forskjellige materialer. Enkelte konsistenser (f.eks. fuktbart pulver, kull) er mer slipende og fører til høyere slitasjenivåer. Hvis et kjemikalie er tilgjengelig i en formulering som vil gi økt levetid til sprederen, bør du bruke denne alternative formuleringen.
Som alltid må du huske å rengjøre sprederen og spredersystemet nøye etter all bruk. Dette sørger for at sprederen har lang levetid uten problemer.
Note: Hvis du har spørsmål, eller trenger ytterligere informasjon om sprederkontrollsystemet, se brukerhåndboken som følger med systemet.
Se programvareveiledningen for Multi Pro 5800-D- og 5800-G-gresspredere med ExcelaRate-spredersystem for informasjon om følgende:
Før bruk
InfoCenter-startskjermen
Hovedmenyskjermen
Hovedmenyens underskjermer
Tjenesteskjermene
Diagnostikksskjermene
Om-skjermene
Under bruk
Angi jobbinformasjon
InfoCenter-skjermer for sprøyteområde
InfoCenter-varsler
Se programvareveiledningen for Multi Pro 5800-D- og 5800-G-gresspredere med ExcelaRate-spredersystem for informasjon om følgende prosedyrer:
Important: For å sørge for at produktet forblir godt blandet, bør du bruke ristefunksjonen når du har oppløsning i tanken.
Påse at spredersystemet er kalibrert for de aktive sprederdysene du har valgt. Se programvareveiledningen for Multi Pro 5800-D- og 5800-G-gresspredere med ExcelaRate-spredersystem.
Vri knotten for avstengingsventilen for seksjonsomløp til lukket stilling (Figur 34).

Sett spredermodusknappen til sprøytemengdemodus (Figur 35).

Flytt sprederen til gressområde som du sprøyter.
Hvis du samler inn data om område som er sprøytet og volum sprøytet for hvert arbeidsområde, velger du en underområdeskjerm (underområder 1 til og med 20) for å registrere informasjon for det individuelle området og volumet. Se Bruke underområdeskjermen i programvareveiledningen for Multi Pro 5800-D- og 5800-G-gresspredere med ExcelaRate-spredersystem.
Note: Når du flytter til et annet arbeidsområde, må du velge en annen underområdeskjerm for å registrere informasjonen for det individuelle området og volumet.
Hvis du må skifte den aktive sprøytemengden mellom mengde 1-verdien og mengde 2-verdien, trykker du på knapp 1 og 2 samtidig på InfoCenter-startskjermen for å velge MENGDE 1 eller knapp 4 og 5 samtidig for å velge MENGDE 2. Se programvareveiledningen for Multi Pro 5800-D- og 5800-G-gresspredere med ExcelaRate-spredersystem.
Sett sprederseksjonsbryteren/-bryterne til På-stillingen (Figur 36).

Sett riste- og sprederpumpebryteren i På-stillingen (Figur 37).

Sett gassen til HURTIG-stillingen (Figur 37).
Kjør i ønsket hastighet og sett hovedseksjonsbryteren i På-stilling for å starte sprøytingen (Figur 36).
Note: Bruk hovedseksjonsbryteren til å starte og stoppe gjennomstrømningen av kjemikalier til de valgte sprederseksjonene.
Når du er ferdig med å sprøyte, setter du hovedseksjonsbryteren i AV-stillingen for å slå av alle sprederseksjonene. Deretter setter du sprederpumpebryteren i AV-stillingen.
Note: Hev de ytre sprederseksjonene til transportstillingen, og kjør sprederen til rengjøringsområdet.
Important: Hev alltid bomseksjonene til de er i seksjonstransportstillingen; trukket sammen i en X, og pass på at løftesylinderne er helt trukket tilbake når du flytter sprederen fra et sprøyteområde til et annet eller flytter den til et lagrings- eller rengjøringsområde.
Note: Denne prosedyren forutsetter at sprederpumpen er på. Se Figur 37 i Sprøyte i sprøytemengdemodus.
Påse at spredersystemet er justert for de aktive sprederdysene du har valgt. Se Kalibrere risteomløpsventilen.
Sett spredermodusknappen til manuell modus (Figur 38).

Sett hovedseksjonsbryteren i AV-stillingen. Se Figur 36 i Sprøyte i sprøytemengdemodus.
Juster gassen til ønsket motorhastighet for å utføre sprøyting. Se Figur 37 i Sprøyte i sprøytemengdemodus.
Kjør til sprøytestedet.
Senk seksjonene på plass.
Sett bryterne for de forskjellige seksjonene i På-stillingene, etter behov. Se Figur 36 i Sprøyte i sprøytemengdemodus.
Bruk sprøytemengdebryteren til å oppnå ønsket trykk som indikert i veiledningen for dysevalg som følger med sprederen (Figur 39).

Kjør i ønsket hastighet og sett hovedseksjonsbryteren i På-stilling for å starte sprøytingen. Se Figur 36 i Sprøyte i sprøytemengdemodus.
Note: Når tanken nesten er tom, kan ristingen føre til skumdannelse i tanken. Skru ristebryteren til AV-stillingen hvis dette er tilfelle. Du kan også tilsette antiskummingsmiddel i tanken.
Når du er ferdig med å sprøyte, setter du hovedseksjonsbryteren i AV-stillingen for å slå av alle seksjonene. Deretter setter du sprederpumpebryteren i AV-stillingen.
Note: Før seksjonene tilbake til transportstillingen og kjør sprederen til rengjøringsområdet.
Important: Hev alltid seksjonene til de er i seksjonstransportstillingen, trukket sammen i form av en X, og se til at seksjonssylinderne er helt trukket tilbake når du flytter sprederen fra et sprøyteområde til et annet eller flytter den til et lagrings- eller rengjøringsområde.
Utstyr som må skaffes til veie av eieren: en gradert oppsamlingsbeholder (en beholder med volum avmerket i trinn på 0,01 ml foretrekkes) og stoppeklokke.
Important: Når mulig, ikke bruk gjenvunnet vann (grått vann) i spredertanken.
Påse at spredertanken er ren. Se Rengjøre spredersystemet.
Fyll spredertanken med minst 568 liter ferskvann. Se Fylle på spredertanken.
Påse at dysene du skal teste, er i aktiv sprøytestilling (ned).
For maskiner som brukes i sprøytemengdemodus, må du sørge for at knotten for avstengingsventilen for seksjonsomløp er i lukket stilling (Figur 40).

For maskiner som brukes i sprøytemengdemodus, må du sørge for at avstengingsventilen for seksjonsomløp er lukket (Figur 40).
Sett på parkeringsbremsen og start motoren.
Note: La motoren varme opp i 10 minutter.
For maskiner brukt i sprøytemengdemodus utfører du trinnene i Bruke testhastigheten. Se programvareveiledningen for Multi Pro 5800-D- og 5800-G-gresspredere med ExcelaRate-spredersystem.
Note: Sett den simulerte testhastigheten mellom 4 km/t og 14 km/t.
Sett sprederseksjonsbryteren/-bryterne til På-stillingen for seksjon(e) du tester.
Sett gassen til HURTIG-stillingen.
Sett hovedseksjonsbryteren i På-stillingen.
Utfør en 15-sekunders fangtest ved én av de aktive sprederdysene.

Slå av hovedseksjonsbryteren, sett gassen til sakte-stillingen, slå av sprederpumpen og slå av motoren.
Sett den graduerte beholderen på en jevn overflate og noter væskevolumet (Figur 42).
Important: Når du leser av den graduerte beholderen, må du sette beholderen på en jevn overflate.
Important: Når du leser av den graduerte beholderen, les av væskevolumet i den graduerte beholderen ved det laveste punktet på væskeoverflatekurven.
Important: Små feil i avlesningen av væskevolumet i den graduerte beholderen påvirker nøyaktigheten til sprederkalibrering betydelig.

Sammenlign vannvolumet i den graduerte beholderen med dysevolumet i tabellen for den 15-sekunders fangtesten.
| Munnstykkefarge | Oppsamlede millilitre på 15 sekunder | Oppsamlede unser på 15 sekunder |
| Gul | 189 | 6,4 |
| Rød | 378 | 12,8 |
| Brun | 473 | 16,0 |
| Grå | 567 | 19,2 |
| Hvit | 757 | 25,6 |
| Blå | 946 | 32,0 |
| Grønn | 1 419 | 48,0 |
Hvis væskenivået i den graderte oppsamlingsbeholderen er 7,4 ml mer eller mindre enn dysevolumet i tabellen for 15-sekunders fangtesten, utfører du én av følgende:
Utfør en gjennomstrømningskalibrering, eller skift ut slitte dyser og utfør en gjennomstrømningskalibrering. Se prosedyren for gjennomstrømningskalibrering i programvareveiledningen for Multi Pro 5800-D- og 5800-G-gresspredere med ExcelaRate-spredersystem.
Kalibrer omløpsspaken for risteventilen, eller skift ut slitte dyser og kalibrer omløpsspaken for risteventilen. Se Kalibrere risteomløpsventilen.
Hevebryterne for bomseksjoner på sprederkontrollpanelet gjør det mulig å flytte de ytre sprederseksjonene mellom transportstilling og sprederstilling uten å gå ut av førersetet. Når det er mulig, stopp maskinen før du skifter sprederseksjonsstillinger.
Utfør følgende trinn for å flytte de ytre sprederseksjonene til SPREDER-stilling:
Parker maskinen på en jevn flate.
Bruk løftebryterne for bomseksjonene til å senke de ytre seksjonene.
Note: Vent til de ytre sprederseksjonene når helt utstrakt sprederstilling.
Fullfør sprederjobben, og utfør deretter følgende trinn for å trekke de ytre sprederseksjonene tilbake til transportstilling:
Important: Hvis maskinen din er utstyrt med bomdekselsettet for begrensning av spredning, Ultra Sonic Boom-nivelleringssettet eller begge deler, flytt sprayseksjonene til transportstilling én om gangen.Flytter du begge sprayseksjonene på én gang når dekselsettet eller nivelleringssettet er montert, kan det føre til skade på dekslene, sensorene eller begge.
Parker maskinen på en jevn flate.
Bruk løftebryterne for bomseksjonen til å heve de ytre sprederseksjonene til de er i flyttet helt inn i transportunderstellet for bomseksjonen og danner X-transportstillingen, og løftesylindrene er fullstendig tilbaketrukket.
Important: Løs ut løftebryteren/-bryterne for bomseksjonen når de ytre sprederseksjonene har nådd ønsket stilling. Å kjøre aktuatorene mot de mekaniske stopperne kan skade sylinderne og/eller andre hydraulikkomponenter.

Important: For å forhindre skade på løftesylinderen må du kontrollere at aktuatorene er helt trukket tilbake før maskinen transporteres.
Sprederen er utstyrt med et transportunderstell for bomseksjoner som har en unik funksjon. Hvis det oppstår utilsiktet kontakt mellom en sprederseksjon og lavt overhengende gjenstander når i transportstillingen, kan du skyve sprederseksjonen(e) ut av transportunderstellet. Hvis dette skjer, stanser seksjonene i en nesten horisontal stilling bak på maskinen. Selv om denne bevegelsen ikke skader sprederseksjonene, må de umiddelbart trekkes tilbake til transportunderstellet.
Important: Sprederseksjonene kan ta skade av å transporteres i enhver annen posisjon enn X-transportstillingen som benyttes når man bruker understellet for bomtransport.
For å sette de ytre sprederseksjonene tilbake i transportunderstellet skal du senke sprederseksjonen(e) til sprederstilling og deretter heve sprederseksjonen(e) tilbake til transportstilling. Kontroller at løftesylinderne er helt tilbaketrukket for å forhindre skade på aktuatorstangen.
Important: Under visse forhold kan varme fra motoren, radiatoren og støydemperen føre til skader på gresset når man bruker sprederen mens maskinen er stillestående. Stillestående moduser omfatter tankristing, bruk av håndspreder med sprøytepistol eller bruk av spaserbom.
Ta følgende forholdsregler:
Unngå bruk av sprederen i stillestående modus under svært varme og/eller tørre forhold, da plenen kan være under større belastning i disse periodene.
Unngå å parkere på plenen under stillestående bruk av spreder. Parker på en kjøresti der det mulig.
Begrens hvor mye tid maskinen er i gang over et spesielt gressområde. Både tid og temperatur berører hvor mye gresset kan skades.
Still motorhastigheten så lavt som mulig for å oppnå ønsket trykk og strømning. Dette begrenser hvor mye varme som genereres samt begrense lufthastigheten fra kjøleviften.
Sørg for at varmen kan slippe ut oppover fra motorrommet ved å heve seteenheten under stasjonær bruk, ikke la varmen slippe ut under kjøretøyet.
Ikke sprøyt områder som allerede er blitt sprøytet.
Pass på at ikke munnstykkene har tettet seg. Skift ut slitte eller skadde munnstykker.
Bruk hovedseksjonsbryteren slik at du stopper gjennomstrømningen før du stopper selve sprederen. Når den stopper, kan du bruke motorhastighetskontrollen til å holde motorhastigheten i gang for å opprettholde ristingen.
Du vil oppnå bedre resultater hvis sprederen er i bevegelse når du slår på sprederseksjonene.
Hvis en dyse blir tilstoppet mens du sprøyter, rengjør dysen som følger:
Stans sprederen på et jevnt underlag, slå av motoren og sett på parkeringsbremsen.
Sett hovedseksjonsbryteren i AV-stilling og sett deretter sprederpumpebryteren i AV-stilling.
Fjern den tilstoppede dysen, og rengjør den ved å bruke en sprayflaske med vann og en tannbørste.
Monter dysen.
Før du forlater førerplassen, gjør følgende:
Parker maskinen på et jevnt underlag.
Sett på parkeringsbremsen.
Slå av motoren, og ta ut nøkkelen (hvis utstyrt).
Vent til alle bevegelige deler har stoppet.
Når du er ferdig med å bruke maskinen for dagen, vask av alle kjemiske rester fra utsiden av maskinen og sikre at systemet har blitt skylt tre ganger og nøytralisert i henhold til anbefalingene til kjemikalieprodusenten(e) og at alle ventilene har fullført tre sykluser Se Kjemisk sikkerhet.
La motoren bli kald før maskinen settes på et lukket sted.
Oppbevar aldri maskinen eller bensinkannen hvor det er åpen ild, gnist eller kontrollampe, som på en varmtvannstank eller annet apparat.
Hold alle deler av maskinen i god stand, og sørg for at de er godt festet.
Skift ut slitte, skadde eller manglende merker.
Vask maskinen etter behov med bare vann eller vann og et mildt rengjøringsmiddel. Du kan bruke en klut når du vasker maskinen.
Important: Ikke bruk brakkvann eller gjenvunnet vann til å rengjøre maskinen.
Note: Ikke bruk høytrykksutstyr til å vaske maskinen. Høyttrykksutstyr kan skade det elektriske systemet, løsne viktige merker og vaske bort nødvendig fett fra friksjonspunktene. Unngå overdreven bruk av vann nær kontrollpanelet, motoren og batteriet.
Important: Ikke vask maskinen mens motoren er i gang. Vask av maskinen mens motoren er i gang kan føre til interne skader på motoren.
Stopp sprederen, koble inn parkeringsbremsen, slå av motoren og ta ut nøkkelen.
Finn tanktappeventilen på maskinens venstre bakskjerm (Figur 44).
Note: Tappeventil er festet til tappeventilbraketten som er festet til venstre bakskjerm.

Løft ventilen til dens monteringsbolter går klar av slissene i tappeventilbraketten, og flytt ventilen bakover (Figur 45A).

Innrett enden av ventilen med tappebeholderen, og vri ventilhåndtaket til åpen stilling (Figur 45B).
Når tanken er helt tom, vrir du håndtaket på tappeventilen til lukket stilling, og monterer ventilen på tappeventilbraketten (Figur 45B og Figur 45A).
Important: Avhend spredertankens kjemikalier i henhold til lokale forskrifter og produsentens instruksjoner.
| Vedlikeholdsintervall | Vedlikeholdsprosedyre |
|---|---|
| Etter hver bruk |
|
Important: Bruk kun rent vann ved rengjøring av sprederen.
Important: Du må alltid tømme og skylle ut sprederen, inkludert eventuelle monterte spredersystemtilbehør, umiddelbart etter hver bruk. Manglende skylling og rengjøring av sprederen kan føre til at kjemikaliene tørker og danner hindringer i ledningene, filtre, ventiler, dysekroppen, pumpen og andre komponenter.
Bruk det godkjente rensesettet for denne maskinen. Ta kontakt med en autorisert Toro-forhandler for mer informasjon.
Note: Anbefalingene og instruksene som følger, antar at Toros skyllesettet ikke er montert.
Rengjør spredersystemet og eventuelt tilbehør etter hver gang sprederen brukes. Gjør dette for å rengjøre spredersystemet grundig:
Fullfør tre separate skyllesykluser.
Bruk rengjørings- og nøytraliseringsmiddel som anbefales av kjemikalieprodusentene.
Bruk helt rent vann (ingen rengjørings- eller nøytraliseringsmidler) til den siste skyllingen.
Fyll tanken med minst 190 liter rent vann, og lukk dekselet.
Note: Hvis det er behov for det, kan du bruke rensemiddel eller nøytralisator i tanken. I siste skylling bruker du kun rent, klart vann.
Senk de ytre sprederseksjonene til sprederstilling.
Start motoren, still pumpebryteren til På-stillingen, og flytt gasspaken til høyt turtall.
Sett ristebryteren i På-STILLING.
Bruk spredermengdebryteren til å øke innstillingen for trykket.
Sett de individuelle seksjonsbryterne og hovedseksjonsbryteren til På-stillingen.
Kontroller munnstykkene for å forsikre deg om at sprøytingen foregår på riktig måte.
La alt vannet i tanken strømme ut gjennom munnstykkene.
Sett hovedseksjonsbryteren i AV-stillingen, sett ristebryteren og sprederpumpebryteren i AV-stillingen, og stans motoren.
Gjenta trinn 1 til og med 9 minst to ganger til for å være sikker på at det er gjort skikkelig rent i sprøytesystemet.
Important: Du må alltid fullføre tre skyllesykluser for å sikre at spredersystemet og -tilbehøret er helt rent og forhindre at systemet skades.
Rengjør sugefilteret og trykkfilteret. Se Rengjøre sugefilteret og Rengjøre trykkfilteret.
Important: Hvis du brukte pulverkjemikalier som kan vætes, må du rense sugefilteret etter hver gang du fyller på tanken.
Skyll av utsiden av sprederen med en hageslange. Bruk rent vann.
Ta av munnstykkene og rens dem for hånd.
Note: Skift ut slitte eller skadde munnstykker.
Note: Hvis maskinen har valgfrie dysefiltre, rengjør du disse før du monterer dysene. Se Rengjøre dysefilteret.
| Vedlikeholdsintervall | Vedlikeholdsprosedyre |
|---|---|
| For hver bruk eller daglig |
|
Parker maskinen på en jevn overflate, aktiver parkeringsbremsen, slå av pumpen, slå av motoren og ta ut nøkkelen.
Fjern holderen som fester slangekoblingen som er festet til den store slangen fra filterhuset øverst på tanken (Figur 46).

Fjern slangen og slangekoblingen fra filterhuset (Figur 46).
Trekk sugefilteret ut av filterhuset i tanken (Figur 47).

Rengjør sugefilteret med rent vann.
Important: Skift ut filteret hvis det er skadet, eller hvis det ikke kan gjøres rent.
Skyv sugefilteret inn i filterhuset inntil filteret er helt på plass.
Plasser slangen og slangekoblingen på filterhuset øverst på tanken, og fest dem med holderen du fjernet i trinn 2.
| Vedlikeholdsintervall | Vedlikeholdsprosedyre |
|---|---|
| For hver bruk eller daglig |
|
Parker maskinen på en jevn overflate, aktiver parkeringsbremsen, slå av sprederpumpen, slå av motoren og ta ut nøkkelen.
Plasser et tappefat under trykkfilteret (Figur 48).

Drei tappelokket mot klokken, og fjern den fra bollen i trykkfilteret (Figur 48).
Note: Tøm bollen fullstendig.
Drei bollen mot klokken, og fjern filterhodet (Figur 48).
Fjern trykkfilterelementet (Figur 48).
Rengjør trykkfilterelementet med rent vann.
Important: Skift ut filteret hvis det er skadet, eller hvis det ikke kan gjøres rent.
Kontroller om det er skader eller slitasje på tappepluggen (den er inne i bollen) og pakningen til bollen (inne i filterhodet) (Figur 48).
Important: Skift ut eventuelle pakninger i pluggen eller bollen som er skadet eller slitt.
Monter trykkfilterelementet i filterhodet (Figur 48).
Note: Påse at filterelementet er helt på plass i filterhodet.
Monter bollen på filterhodet og stram til for hånd (Figur 48).
Monter tappelokket på koblingen nederst på bollen og stram lokket til for hånd (Figur 48).
Parker maskinen på en jevn overflate, aktiver parkeringsbremsen, slå av sprederpumpen, slå av motoren og ta ut nøkkelen.
Fjern dysen fra sprederhodet (Figur 49).

Ta av dysefilteret (Figur 49).
Rengjør dysefilteret med rent vann.
Important: Skift ut filteret hvis det er skadet, eller hvis det ikke kan gjøres rent.
Monter dysefilteret (Figur 49).
Note: Påse at filteret er helt på plass.
Monter dysen på sprederhodet (Figur 49).
| Vedlikeholdsintervall | Vedlikeholdsprosedyre |
|---|---|
| Etter hver bruk |
|
Spesifikasjoner for kondisjoneringsmiddel: propylenglykol «ikke-giftig» frostvæske med korrosjonshemmer
Important: Bruk kun propylenglykol med korrosjonshemmende middel. Ikke bruk resirkulert propylenglykol. Ikke bruk etylenglykolbasert frostvæske.Ikke bruk propylenglykol tilsatt løselige alkoholer (metanol, etanol eller isopropanol) eller saltløsning.
Flytt maskinen til en plan overflate, koble inn parkeringsbremsen, slå av maskinen og ta ut nøkkelen.
Fyll kondisjoneringsmiddel i tanken som følger:
For propylenglykolbasert frostvæske som er klar til bruk (ferdigblandet) – tilsett 38 l propylenglykolbasert frostvæske til tanken.
For konsentrert propylenglykolbasert frostvæske, utfør følgende trinn:
Fyll på en 38-liters blanding av propylenglykolbasert frostvæske og vann i spredertanken. Tilbered frostvæsken i samsvar med produsentens instruksjoner til en konsentrasjon beregnet for minimum -45 °C (-50°F).
Important: Bruk kun rent vann ved rengjøring av sprederen.
Start motoren og still pumpebryteren til På-stillingen.
Trykk ned gasspedalen for å øke motorhastigheten.
Sett ristebryteren i På-STILLING.
La kondisjoneringsmiddelet og vannløsningen sirkulere i tre minutter eller mer.
Anbefalte verktøy: En gjennomsiktig oppsamlingsbeholder.
Flytt maskinen til avtappingsområdet, og koble inn parkeringsbremsen.
Senk de ytre bomseksjonene.
Sett venstre, midtre og høyre seksjonsbryter og hovedseksjonsbryteren til På-stilling.
La spredersystemet sprede til dysene har tømt ut kondisjoneringsmiddelet.
Note: De fleste propylenglykolbaserte frostvæsker er rosa på farge. Bruk oppsamlingsbeholderen til å samle opp sprederutslipp ved flere dyser.
Slå av hovedseksjonsbryteren, de tre seksjonsbryterne, ristebryteren, sprederpumpebryteren og motoren.
Bruk en tilhenger eller lastebil når du flytter maskinen over lange avstander.
I nødstilfeller kan sprederen taues over korte avstander etter at du åpner taueventilen. Vi anbefaler imidlertid ikke å bruke dette som standardprosedyre.
Hvis du tauer i høy hastighet, kan du lett miste kontrollen over kjøretøyet, noe som kan føre til personskader.
Tau aldri sprederen i hastigheter som er raskere enn 4,8 km/t.
Det må to personer til for å taue sprederen. Dersom du må flytte maskinen over en lengre avstand, bør den transporteres på en lastebil eller tilhenger. Se Transportere maskinen.
La eksosanlegget kjøle seg helt ned.
Fjern understellsdekslet. Se Fjerne understellsdekslet.
Drei taueventilen (Figur 52) 90° i begge retninger for å åpne den.

Important: Hvis du ikke åpner taueventilen før du tauer sprederen, vil du ødelegge girkassen.
Fest et tau til rammen. Se de fremre og bakre tauepunktene (Figur 53 og Figur 54).


Frigjøre parkeringsbremsen.
Tau sprederen ved mindre enn 4,8 km/t.
Når du er ferdig, må du lukke taueventilen og trekke til med et moment på 7 til 11 N·m.
Important: Før du setter maskinen i drift igjen må du montere understellsdekslet. Se Montere understellsdekslet.
Note: Last ned en gratis kopi av det elektriske eller hydrauliske skjemaet ved å gå til www.Toro.com, og søke etter maskinen fra koblingen Håndbøker på hjemmesiden.
Important: Se eierhåndboken for motoren for mer informasjon om vedlikeholdsprosedyrer.
Note: Angi hva som er høyre og venstre side på maskinen ved å stå i normal arbeidsstilling.
Før du forlater førerplassen, gjør følgende:
Parker maskinen på et jevnt underlag.
Sett giret i NøYTRAL-posisjon (manuell) eller PARKERING-posisjon (automatisk).
Sett på parkeringsbremsen.
Slå av motoren, og ta ut nøkkelen (hvis utstyrt).
Vent til alle bevegelige deler har stoppet.
La maskinen kjøle seg ned før du utfører vedlikehold.
Kun kvalifisert og autorisert personell skal utføre vedlikehold, reparasjon, justeringer og kontroller på maskinen.
Før du utfører vedlikehold, må du rengjøre og skylle sprederen grundig. Se Kjemisk sikkerhet.
Kjemikalier som brukes i spredersystemet, kan være helsefarlige og giftige for deg, tilskuere, dyr, planter, jordsmonn eller annen eiendom.
Les nøye og følg de kjemiske advarselsmerkene og sikkerhetsdatabladene (SDS-ene) for alle kjemikalier som brukes, og beskytt deg i overensstemmelse med anbefalingene fra produsenten av kjemikaliene.
Beskytt alltid huden mens du er i nærheten av kjemikalier. Bruk egnet personlig verneutstyr (PVU) for å beskytte mot kontakt med kjemikaliene, inkludert følgende:
vernebriller og/eller ansiktsvern
en kjemikaliebestandig drakt
en vernemaske eller filtermaske
kjemikaliebestandige hansker
gummistøvler eller annet passende fottøy
et rent skift med klær, såpe og engangshåndklær til rengjøring
Nekt å bruke eller arbeide på sprederen hvis informasjonen om kjemisk sikkerhet ikke er tilgjengelig.
Ikke fyll, kalibrer eller vask enheten mens det er folk, spesielt barn, eller dyr i nærheten.
Pass på at du kun håndterer kjemikalier i et godt ventilert område.
Pass på alltid å ha rent vann tilgjengelig, spesielt ved fylling av spredertanken.
Ikke spis, drikk eller røyk mens du arbeider i nærheten av kjemikalier.
Ikke rengjør sprederdysene ved å blåse gjennom dem eller plassere dem i munnen.
Vask alltid hendene og andre eksponerte områder så raskt som mulig etter at du har jobbet med kjemikalier.
Kjemikalier og dunst i tankene er farlig, du må aldri gå oppi tanken eller plassere hodet over eller i åpningen til tanken.
For å passe på at hele maskinen er i god stand, må du sørge for at alle festeelementer er godt strammet.
Reduser brannfaren ved å sørge for at det ikke er overflødig smørefett, kjemikalier, gress, blader eller støv i motoren.
Hvis motoren må være i gang for å utføre en vedlikeholdsjustering, må du passe på at klær, hender, føtter og andre kroppsdeler ikke er i nærheten av motoren eller andre bevegelige deler. Hold alle på avstand.
Ikke juster bakkehastigheten for maskinen. La en autorisert Toro-forhandler kontrollere bakkehastigheten slik at den kontrolleres på en sikker og nøyaktig måte.
Hvis maskinen krever en omfattende reparasjon eller du trenger teknisk hjelp, kontakter du en autorisert Toro-forhandler.
Hvis du endrer maskinen på noen måte, kan det påvirke drift, ytelse, varighet eller bruk og føre til personskader og dødsfall. Slike endringer kan gjøre garantien ugyldig.
Støtt maskinen med jekkstøtter når du hever maskinen.
Vær forsiktig når du reduserer trykket i komponenter under trykk.
| Vedlikeholdsintervall | Vedlikeholdsprosedyre |
|---|---|
| Etter de 8 første timene |
|
| Etter de 50 første timene |
|
| Etter de 100 første timene |
|
| Etter de 200 første timene |
|
| For hver bruk eller daglig |
|
| Etter hver bruk |
|
| Hver 50. driftstime |
|
| Hver 100. driftstime |
|
| Hver 200. driftstime |
|
| Hver 400. driftstime |
|
| Hver 800. driftstime |
|
| Hver 1000. driftstime |
|
| Hver 2000. driftstime |
|
| Årlig |
|
Ta kopi av denne siden for rutinemessig bruk.
|
Vedlikeholdskontrollpunkt |
For uke: |
||||||
|---|---|---|---|---|---|---|---|
|
Mandag |
Tirsdag |
Onsdag |
Torsdag |
Fredag |
Lørdag |
Søndag |
|
|
Kontroller at bremsen og parkeringsbremsen fungerer korrekt. | |||||||
|
Kontroller at låsebryteren for fri fungerer korrekt. | |||||||
|
Kontroller drivstoffnivået. | |||||||
|
Kontroller motoroljenivået. | |||||||
|
Kontroller nivået på den hydrauliske væsken. | |||||||
|
Kontroller kjølevæskenivået. | |||||||
|
Kontroller luftfilteret. | |||||||
|
Kontroller at det ikke er rusk i radiatoren og oljekjøleren. | |||||||
|
Kontroller eventuelle uvanlige motorlyder. | |||||||
|
Kontroller eventuelle uvanlige driftslyder. | |||||||
|
Kontroller lufttrykket i dekkene. | |||||||
|
Kontroller om det har oppstått væskelekkasjer. | |||||||
|
Kontroller alle hydrauliske- og væskeslanger for skade, knekk eller slitasje. | |||||||
|
Kontroller at instrumentene virker. | |||||||
|
Kontroller at gasspedalen virker. | |||||||
|
Rengjør sugefilteret. | |||||||
|
Smør alle smøreniplene1 | |||||||
|
Vask maskinen. | |||||||
|
Lakker ødelagt maling. | |||||||
1Umiddelbart etter hver vask, uavhengig av intervallet som er angitt
| Kontroll utført av: | ||
| Punkt | Dato | Informasjon |
| 1 | ||
| 2 | ||
| 3 | ||
| 4 | ||
| 5 | ||
| 6 | ||
| 7 | ||
| 8 | ||
Dersom du lar nøkkelen stå i startbryteren, kan noen tilfeldigvis starte motoren, noe som kan påføre deg eller andre personer alvorlige skader.
Fjern nøkkelen fra startbryteren før du begynner med eventuelt vedlikeholdsarbeid.
Når motoren kjøres under vedlikehold og/eller motordiagnostikk, bør sprederens bakhjul være 25 mm over bakken og bakakselen støttes på jekk.
En spreder som står på en jekk, er ustabil, og kan skli av jekken og skade personer som ligger under den.
Ta alltid nøkkelen ut av startbryteren før du går ut av sprederen.
Blokker dekkene når sprederen står på en jekk.
Støtt opp maskinen med jekkstøtter.
Jekkpunktene foran på sprederen er under den fremre akselen, rett under bladfjærene (Figur 55).

Jekkpunktene bak på sprederen er bak på siden der bomstøttene er plassert (Figur 56).

Sett på parkeringsbremsen, slå av sprederpumpen, slå av motoren og ta ut nøkkelen.
Hev front- og bakenden til maskinen og støtt den med jekkstøtter, se Heve sprederen.
Fjern de seks sekskantboltene og seks skivene som fester det fremre varmeskjoldet til chassiset, og fjern skjoldet (Figur 57).
Note: Ta vare på boltene, skivene og varmeskjoldet for montering i Montere det fremre varmeskjoldet.

Plasser den bakre flensen på det fremre varmeskjoldet på linje med den fremre flensen på det bakre varmeskjoldet (Figur 58).

Plasser hullene på det fremre varmeskjoldet på linje med de gjengede hullene i chassiset (Figur 58).
Fest det fremre varmeskjoldet på maskinen med de seks sekskantboltene og seks skivene (Figur 58) som du fjernet i trinn 3 av Fjerne det fremre varmeskjoldet.
Trekk til boltene til 19,78 til 25,42 N·m.
Ta bort jekkstøttene, og senk maskinen ned.
Fjern de fem flenshodeboltene (5/16 x ⅞ tomme) og fem skivene (5/16 tomme) som fester bakenden av understellsdekslet til maskinens chassis (Figur 59).
Note: Ta vare på flenshodeboltene og skivene for montering i trinn 5 av Montere understellsdekslet.


Fjern de fire flenslåsemutterne (5/16 tomme) fra boltene og låsebolten som fester understellsdekselets monteringstapper til maskinens motorfestebraketter (Figur 60).
Note: Ikke fjern boltene fra maskinen. Ta vare på flenslåsemutterne for montering i trinn 3 av Montere understellsdekslet.

Flytt monteringstappene bort fra boltene som fester understellsdekselet til motorfestebrakettene.
Fjern understellsdekslet fra maskinen (Figur 59 og Figur 60).
Innrett understellsdekslet med maskinens nedre chassis. Se Figur 60 i Fjerne understellsdekslet.
Flytt understellsdekslets monteringstapper over boltene og låsebolten ved maskinens motorfestebraketter. Se Figur 60 i Fjerne understellsdekslet.
Monter understellsdekslet til motorfestebrakettene og boltene (Figur 60) med de fire flenslåsemutterne (5/16 tomme) som du fjernet i trinn 2 av Fjerne understellsdekslet.
Innrett hullene i den bakre delen av understelldekslet med hullene i chassiset. Se Figur 59 i Fjerne understellsdekslet.
Monter den bakre delen av understellsdekslet på chassiset (Figur 59) med de fem flenshodeboltene (5/16 x ⅞ tomme) og fem skivene (5/16 tomme) som du fjernet i trinn 1 av Fjerne understellsdekslet.
Stram mutterne og boltene til 11,29 til 15,82 N·m.
Innrett hullene i tilgangsplaten på linje med hullene i setebasen (Figur 61).
Fest tilgangsplaten på setebasen med de to flenshodeboltene (Figur 61) som du fjernet i steg 1 i Fjerne tilgangsplaten på setebasen.
Trekk til boltene til 19,75 til 25,42 N·m.
| Vedlikeholdsintervall | Vedlikeholdsprosedyre |
|---|---|
| Hver 50. driftstime |
|
Smørefett: Nr. 2 litiumbasert smørefett. Toro Premium All Purpose Grease er tilgjengelig fra din Toro-forhandler.
Styresylinder – to smørenipler på hver stangende av sylinderen
Styrestang – to smørenipler på hver stangende
Spindeldreietapp – to smørenipler på hver side av maskinen
Tørk av overflødig fett.
Note: Posisjonene til smøreniplene er illustrert i Figur 63.


| Vedlikeholdsintervall | Vedlikeholdsprosedyre |
|---|---|
| Hver 100. driftstime |
|
Important: Hvis bomhengslene vaskes med vann, må alt vann og rester fjernes fra hengselenheten og nytt smørefett må påføres.
Smørefett: Nr. 2 litiumbasert smørefett.
Tørk av smøreniplene slik at fremmedmateriale ikke kan komme inn i lagrene eller hylsene.
Pump smørefett inn i lageret eller hylsen ved hver nippel (Figur 65).

Tørk av overflødig fett.
Gjenta prosedyren for hver bomaksel.
| Vedlikeholdsintervall | Vedlikeholdsprosedyre |
|---|---|
| Hver 400. driftstime |
|
Smørefett: Nr. 2 litiumbasert smørefett.
Senk de ytre sprederseksjonene til SPREDER-stillingen.
Fjern hårnålssplinten fra splittpinnen (Figur 66).
Løft opp på seksjonen, fjern splittpinnen og senk seksjonen sakte ned på bakken (Figur 66).
Undersøk splittpinnen skade, og skift den ut ved behov.

Sving stagendelageret, og påfør smørefett i lageret (Figur 67).
Note: Tørk av overflødig fett.

Hev sprederseksjonen for å innrette dreietappen med aktuatorstangen.
Mens du støtter opp sprederseksjonen, skal du føre splittpinnen gjennom begge bommens dreietapper og aktuatorstangen (Figur 66).
Med pinnen på plass, frigjør sprederseksjonen og fest splittpinnen med hårnålssplinten du fjernet tidligere.
Gjenta trinn 2 til 8 på lageret til aktuatorstangen på den andre siden av maskinen.
Slå av motoren før du sjekker oljen eller tilsetter olje til veivhuset.
| Vedlikeholdsintervall | Vedlikeholdsprosedyre |
|---|---|
| For hver bruk eller daglig |
|
Sett på parkeringsbremsen, slå av sprederpumpen, slå av motoren og ta ut nøkkelen.
Vipp passasjersetet fremover og plasser støttestangen i sperren på støttestangslissen.
Rengjør støvhetten og luftrenserhuset (Figur 68).

Kontroller om luftrenserkroppen er skadet, noe som kan forårsake en luftlekkasje (Figur 68).
Note: Skift ut støvhetten og luftrenserhuset hvis de er skadet.
Klem støvventilen for å tømme den for støv og rusk (Figur 68).
Løsne de to låsene som fester støvhetten til luftrenserhuset.
Sjekk om luftfilterelementet har overflødig oppsamling av støv og rusk (Figur 68).
Note: Hvis luftfilterelementet er skittent, burde det byttes ut i stedet for og rengjøres.
Fest støvhetten på luftrenserhuset og fest den med de to låsene (Figur 68).
Note: Påse at støvventilen er vendt til klokken 5–7-stilling, sett fra enden.
Senk passasjersetet.
| Vedlikeholdsintervall | Vedlikeholdsprosedyre |
|---|---|
| Hver 100. driftstime |
|
Hvis du monterer et nytt filter, må du kontrollere at det ikke har blitt skadet under frakten, inkludert den forseglede enden av filteret.
Important: Ikke monter et ødelagt filter.
Rengjør støvhetten og luftrenserhuset (Figur 68).
Løft overskuddstanken for kjølevæske opp og bort fra tankstøttebraketten (Figur 69).

Løsne de to låsene som fester støvhetten til luftrenserhuset (Figur 69).
Før det gamle filterelementet forsiktig ut av luftrenserhuset slik at minst mulig støv kommer ut.
Note: Pass på at filterelementet ikke slår borti luftrenserhuset.
Tørk av innsiden av støvhetten, luftrenserhuset og støvventilen med en fuktig klut (Figur 68 og Figur 69).
Sett luftfilterelementet inn i luftrenserhuset (Figur 69).
Note: Pass på at filteret er forseglet på riktig måte ved å legge trykk på ytterkanten av filterelementet når du monterer det. Ikke trykk på det elastiske midtpunktet til filteret.
Monter dekselet på luftrenserhuset og fest det med de to låsene (Figur 69).
Note: Påse at støvventilen er vendt til klokken 5–7-stilling, sett fra enden (Figur 69).
Plasser overskuddstanken for kjølevæske på linje med tankstøttebraketten og sett tanken godt på plass (Figur 69).
Important: Pass på at trykkavlastningsslangen er ført fremover og ned, og at tankventileringsslangen er ført bakover som vist i Figur 69.
Senk passasjersetet.
Oljetype – API service CH-4, CI-4 eller høyere.
Anbefalt oljeviskositet – SAE 15W-40 (over -18 °C)
Alternativt oljeviskositet – SAE 10W-30 eller 5W-30 (alle temperaturer)
Premium-motorolje er tilgjengelig fra din distributør med viskositet på enten 15W40 eller 10W30. Se delekatalogen for delenumrene.
| Vedlikeholdsintervall | Vedlikeholdsprosedyre |
|---|---|
| For hver bruk eller daglig |
|
Note: Den beste tiden for å sjekke motoroljen er når motoren er kald før den har blitt startet for dagen. Hvis motoren allerede har kjørt, la oljen flyte tilbake ned i bunnpannen i minst ti minutter før du sjekker oljen.
Motoren leveres med olje i veivhuset. Oljenivået må imidlertid sjekkes før og etter at motoren startes for første gang.
Plasser maskinen på en jevn flate.
Ta ut peilestaven som er plassert under førersetet og tørk den med en ren fille (Figur 70).
Note: Sett peilestaven inn i røret, og pass på at den når helt ned. Ta ut peilestaven, og kontroller oljenivået.


Hvis oljenivået er lavt må du fjerne påfyllingslokket fra ventildekselet og helle olje i påfyllingshalsen til oljenivået når opp til Full-merket på peilestaven (Figur 71).
Note: Hell i olje sakte, og kontroller nivået ofte underveis. Ikke fyll på for mye.

Sett på oljelokket
Sett peilestaven på plass.
| Vedlikeholdsintervall | Vedlikeholdsprosedyre |
|---|---|
| Etter de 50 første timene |
|
| Hver 200. driftstime |
|
Fjern det fremre varmeskjoldet. Se Fjerne det fremre varmeskjoldet.
Hev setene.
Deler under setet vil være varme hvis du har brukt sprederen. Du kan brenne deg hvis du berører varme deler.
La sprederen nedkjøle seg før du utfører vedlikehold, eller berører deler under dekslet.
Plasser et tappefat under motoroljefilteret (Figur 72).

Fjern det gamle oljefilteret (Figur 72).
Note: Det brukte oljefilteret skal kasseres på et godkjent gjenvinningssenter.
Tørk av overflaten på motorens oljefilteradapter med en klut.
Fyll oljefilteret med den spesifiserte oljen.
Note: La filterelementet gjennomtrekkes med olje.
Påfør et tynt lag med den spesifiserte oljen på gummipakningen på det nye filteret.
Sett oljefilteret i filteradapteren, drei oljefilteret med klokken til gummipakningen kommer i kontakt med filteradapteren og stram så til filteret en ytterligere 1/2 omdreining (Figur 72).
Note: Oljefilteret må ikke trekkes til for hardt.
Tørk av eventuell gjenværende olje.
4,6 liter med filteret. Se Motoroljespesifikasjoner.
| Vedlikeholdsintervall | Vedlikeholdsprosedyre |
|---|---|
| Etter de 50 første timene |
|
| Hver 200. driftstime |
|
Plasser tappefatet under tappepluggen (Figur 72).
Fjern tappepluggen og la oljen renne helt ut (Figur 72).
Note: Sjekk om tappepluggtetningen er slitt eller skadet. Skift ut tetningen hvis dette er tilfelle.
Note: Den brukte oljen skal kasseres på et godkjent gjenvinningssenter.
Sett tappepluggen i tappeåpningen på bunnpannen og stram til pluggen med et moment på 33 til 37 N·m.
Vipp passasjersetet fremover og plasser støttestangen i sperren på støttestangslissen.
Ta av oljelokket fra oljepåfyllingshalsen på motorens ventildeksel og hell sakte inn omtrent 80 % av oljen som skal fylles på, ned i påfyllingshalsen (Figur 73).

Ta ut peilestaven, og kontroller oljenivået (Figur 74).

Tilsett langsomt olje til nivået når Full-merket på peilestaven (Figur 74).
Important: Overfylling av olje kan skade motoren.
Sett oljelokket på påfyllingshalsen (Figur 73).
Monter det fremre varmeskjoldet. Se Montere det fremre varmeskjoldet.
| Vedlikeholdsintervall | Vedlikeholdsprosedyre |
|---|---|
| Hver 400. driftstime |
|
Fullfør alle årlige vedlikeholdsprosedyrer som er spesifisert i brukerhåndboken for motoren.
Under visse forhold er drivstoff og dampen fra drivstoff svært brannfarlige og eksplosive. En brann eller eksplosjon forårsaket av drivstoff, kan påføre deg og andre brannskader og forårsake skade på eiendom.
Bruk en trakt når du fyller tanken, og fyll den utendørs på et åpent sted når motoren er slått av og kald. Tørk opp eventuelt drivstoffsøl.
Tanken må ikke fylles helt opp. Fyll drivstoff på tanken helt til nivået når opp til 25 mm under bunnen av påfyllingshalsen. Dette tomrommet i tanken gir drivstoffet plass til å utvide seg.
Du må aldri røyke når du håndterer drivstoff, og du må holde deg unna åpen ild eller steder der gnister kan antenne drivstoffdamp.
Oppbevar drivstoffet i en ren, godkjent drivstoffbeholder, og pass på at lokket er skrudd på.
| Vedlikeholdsintervall | Vedlikeholdsprosedyre |
|---|---|
| Etter de 50 første timene |
|
| Hver 400. driftstime |
|
Kontroller om ledningene og koblingene er slitte, ødelagte eller løse.
Note: Hvis du finner noen drivstofflekkasjer, må du reparere drivstoffkomponenten(e) før du bruker maskinen.
Note: Sikre at drivstofftanken er minst halvfull.
Sett på parkeringsbremsen, slå av sprederpumpen, slå av motoren og ta ut nøkkelen.
Fjern det fremre varmeskjoldet. Se Fjerne det fremre varmeskjoldet.
Vipp passasjersetet fremover og plasser støttestangen i sperren på støttestangslissen.
Plasser et tappefat under drivstoffilteret. Se Figur 77 i Skifte vannseparatorfilteret.
Løsne utluftingspluggen øverst på drivstoff-/vannseparatoren (Figur 75).

Vri nøkkelen i startbryteren til På-stillingen.
Note: Den elektriske drivstoffpumpen presser luft ut rundt utluftingspluggen. La nøkkelen stå i På-stillingen til det kommer en jevn strøm av drivstoff ut rundt utluftingspluggen.
Stram til utluftingspluggen, og vri startbryteren til AV-stillingen (Figur 75).
Sett et tappefat under motorens pumpe for drivstoffinnsprøyting (Figur 76).

Åpne lufteskruen på pumpen for drivstoffinnsprøyting (Figur 76).
Vri nøkkelen i startbryteren til På-stillingen.
Note: Den elektriske drivstoffpumpen startes slik at luften kommer ut rundt lufteskruen.
La nøkkelen stå i På-stillingen til det kommer en jevn strøm av drivstoff ut rundt skruen (Figur 76).
Stram til skruen (Figur 76), og vri nøkkelen til Av-stillingen.
Note: Vanligvis starter motoren når du har tappet drivstoffsystemet. Hvis motoren ikke starter, kan det ha dannet seg en luftlomme mellom innsprøytingspumpen og injektorene. Se Tappe luft fra injektorene.
Du bør utføre denne prosedyren kun etter at du har tømt ut luften i systemet, og motoren ikke starter. Se Tappe drivstoffsystemet.
Plasser et tappefat under den høyre siden av motoren.
Løsne rørmutteren på drivstoffinnsprøytingsdyse nummer 1 og holderenheten.
Sett gassen til HURTIG-stillingen.
Vri nøkkelen i nøkkelbryteren til START-stillingen og se drivstoffet flyte rundt koblingen.
Vri nøkkelen til AV-stillingen når du ser at strømmen med drivstoff blir jevn.
Stram til rørmutteren.
Tørk av gjenværende drivstoff fra området rundt drivstoffinnsprøyteren.
Gjenta trinn 2 til og med 7 for resten av drivstoffinnsprøytingsdysene.
Monter det fremre varmeskjoldet. Se Montere det fremre varmeskjoldet.
| Vedlikeholdsintervall | Vedlikeholdsprosedyre |
|---|---|
| Hver 400. driftstime |
|
Fjern det fremre varmeskjoldet. Se Fjerne det fremre varmeskjoldet.
Plasser et tappefat under vannseparatorfilteret (Figur 77).

Vri tappeventilen på bunnen av vannseparatorfilteret mot klokken (Figur 77).
Note: La alt drivstoffet renne helt ut av filteret, og steng ventilen.
Rengjør området rundt vannseparatorfilteret og filteradapterfestet (Figur 77).
Fjern vannseparatorfilteret (Figur 77).
Note: Avhend det brukte drivstoffet og filterboksen på et autorisert resirkuleringssenter.
Rengjør monteringsoverflaten på filteradapteren.
Smør pakningen på vannseparatorfilteret med ren motorolje.
Fest filteret for hånd til pakningen kommer i berøring med monteringsoverflaten, og drei den deretter en halv omdreining til.
Pass på at tappeventilen på bunnen av vannseparatorfilteret dreies stramt med klokken (Figur 77).
| Vedlikeholdsintervall | Vedlikeholdsprosedyre |
|---|---|
| Hver 400. driftstime |
|
Note: Drivstoffilteret er en del av stigerørenheten.
Sett på parkeringsbremsen, slå av sprederpumpen, slå av motoren og ta ut nøkkelen.
Fjern de fire skruene (nr. 10 x ¾ tomme) som fester dekselet til toppen av drivstofftanken, og fjern dekselet (Figur 78A).

Løsne klemmene som fester de to drivstoffslangene til slangekoblingene øverst på stigerørenheten (Figur 78B).
Koble de to slangene fra slangekoblingene, og tapp drivstoffet i slangene ned i en godkjent drivstoffbeholder (Figur 78B).
Roter drivstofflokket til stigerøret/avsender mot klokken, deretter fjern lokket (Figur 79).

Løft drivstoff- stigerørs/sender-enheten fra drivstofftanken (Figur 79).
Note: Kvitt deg med den gamle stigerørenheten.
Note: Kjøp en ny stigerørenhet fra en autorisert Toro-forhandler. Det kan hende du trenger en ny tetning for å feste vinkelrøret og stigerørenheten øverst på drivstofftanken.
Monter stigerørlokket over stigerøret, og monter stigerøret på tetningen (Figur 79).
Juster lokket, stigerøret og tetningen etter tanken, og plasser den nye stigerørenheten varsomt inn i drivstofftanken (Figur 79).
Note: Plasser slangekoblingene på linje med midten av maskinen.
Skru lokket på drivstofftankhalsen og stram det for hånd (Figur 79).
Koble drivstoffslangen på 6,4 mm til slangekoblingen med samme størrelse, og fest slangen til koblingen med slangeklemmen (Figur 78B).
Koble drivstoffslangen på 8 mm til slangekoblingen med samme størrelse, og fest slangen til koblingen med slangeklemmen (Figur 78B).
Fest dekselet på tanken (Figur 78A) med de fire skruene (nr. 10 x ¾ tomme) som du fjernet i trinn 2 under Fjerne drivstoffilteret i tanken.
Stram skruene til 113 N·m.
| Vedlikeholdsintervall | Vedlikeholdsprosedyre |
|---|---|
| Hver 400. driftstime |
|
Tøm og rengjør drivstofftanken hvis drivstoffsystemet blir forurenset, eller hvis du har tenkt å oppbevare maskinen over en lengre periode. Når du rengjør drivstofftanken, må du spyle tanken med ferskt, rent drivstoff.
Før drivstoffet fra tanken til den godkjente drivstoffbeholderen ved hjelp av en hevertpumpe, eller fjern tanken fra maskinen og hell drivstoffet ut av tuten på tanken og inn i drivstoffbeholderen.
Note: Hvis du fjerner drivstofftanken, må du fjerne drivstoff- og returslangene fra stigerørenheten før du fjerner tanken. Se trinn 1 til og med 4 i Fjerne drivstoffilteret i tanken.
Skift ut drivstoffiltrene. Se Skifte vannseparatorfilteret.
Spyl tanken med ferskt, rent drivstoff, om nødvendig.
Monter tanken hvis du fjernet denne. Se trinn 1 til og med 5 i Fjerne drivstoffilteret i tanken.
Fyll tanken med ferskt, rent drivstoff.
Koble fra batteriet før du reparerer maskinen. Koble kabelen fra den negative klemmen først, og deretter den andre kabelen fra den positive klemmen. Koble til den positive polen først og den negative polen sist.
Lad opp batteriet på et åpent sted med god ventilasjon og borte fra gnister eller åpen ild. Koble laderen fra strømuttaket før du kobler den til eller fra batteriet.
Ha på deg beskyttelsesklær og bruk verktøy som er isolert.
Sikringsblokken for det elektriske systemet er plassert under førersetet (Figur 80).

| Vedlikeholdsintervall | Vedlikeholdsprosedyre |
|---|---|
| Hver 50. driftstime |
|
Batteriet må alltid holdes rent og fulladet. Bruk et tørkepapir til å rengjøre batteriet og batterikassen. Hvis batteriklemmene er korroderte, må de rengjøres med en oppløsning av fire deler vann og én del natron. Smør litt fett på batteriklemmene for å beskytte dem mot korrosjon.
Spenning: 12 volt med 690 kaldstartampere ved -18 °C
Sett sprederen på en jevn overflate, sett på parkeringsbremsen, slå av sprederpumpen, slå av motoren og ta ut nøkkelen.
Ta av batteridekselet og koble den negative (svarte) jordingskabelen fra batteripolen (Figur 81).

Feilaktig ruting av batterikabler kan skade sprederen og kablene samt forårsake gnister. Gnistene kan føre til at batterigassene eksploderer, noe som kan forårsake personskade.
Ta alltid av den negative (svarte) batterikabelen før du kobler fra den positive (røde) kabelen.
Koble alltid til den positive (røde) batterikabelen før du setter på den negative (svarte) kabelen.
Batteripolene eller metallverktøy kan kortslutte mot metallkomponenter og forårsake gnister. Gnistene kan føre til at batterigassene eksploderer, noe som kan forårsake personskade.
Når du fjerner eller monterer batteriet, må du passe på at batteriklemmene ikke rører noen av metalldelene i sprederen.
Ikke la metallverktøy kortsluttes mellom batteriklemmene og metalldeler.
Sørg for at batteristroppen alltid er på plass, for å beskytte og sikre batteriet.
Koble den positive (røde) grunnkabelen fra batteripolen.
Fjern batteriet.
Sett batteriet i batterikassen slik at batteripolene vender bort fra sprederen.
Koble den positive (røde) kabelen til den positive (+) polen og den negative (svarte) kabelen til den negative (-) polen, og fest dem med boltene og mutrene.
Skyv isolatorhetten over den positive batteripolen.
Monter batteridekselet og fest det med stroppen du fjernet tidligere (Figur 81).
Important: Sørg for at batteriholderen alltid er på plass, for å beskytte og sikre batteriet.
Important: Batteriet må alltid holdes fulladet. Dette er særlig viktig for å hindre skader på batteriene når temperaturen er under 0 °C.
Fjern batteriet fra chassiset, se Fjerne batteriet.
Koble til en 3–4 A batterilader til batteripolene og lad batteriet med 3–4 A i fire til åtte timer (12 V).
Important: Batteriet må ikke overopplades.
Monter batteriet i chassiset. Se Installere batteriet.
Hvis maskinen lagres i mer enn 30 dager, skal batteriet fjernes og fullades. Lagre det enten på en hylle eller på maskinen. Koble fra batterikablene hvis batteriet skal lagres på maskinen. Lagre batteriet på et kjølig sted for å hindre at batteriladningen forringes raskt. Pass på at batteriet er fulladet, for å forhindre at det fryser.
| Vedlikeholdsintervall | Vedlikeholdsprosedyre |
|---|---|
| Etter de 8 første timene |
|
| Etter de 200 første timene |
|
| Hver 100. driftstime |
|
| Hver 400. driftstime |
|
Trekk til hakemutterne på forhjulene med et moment på 75–102 N·m, og hakemutterne på bakhjulene med et moment på 95–122 N·m.
Driftsulykker, for eksempel å kjøre på fortauskanter, kan skade dekket eller felgen samt forandre hjulstillingen. Kontroller derfor dekkenes tilstand etter en ulykke.
SAE 85W-140-girsmøremiddel

Sett maskinen på en jevn flate, plasser hjulet slik at påfyllingspluggen er på høyeste posisjon (klokken 12) og tappepluggen står på laveste posisjon (klokken 6) (Figur 83).

Fjern kontrollpluggen (Figur 45).
Du skal kunne se smøremiddelnivået ved bunnen av gjengene på nivåhullet.

Sjekk kontrollpluggens O-ringer for skade.
Hvis O-ringen er skadet, bytt den ut.
Hvis smøremiddelnivået er lavt, tar du av fyllepluggen og fyller på den spesifiserte typen smøremiddel til det renner ut av nivåhullet (Figur 85). Se Smøremiddelspesifikasjon for planetgir.

Sjekk påfyllingspluggens O-ringer for skade.
Hvis O-ringen er skadet, bytt den ut.
Sett i påfyllingspluggen og kontrollpluggen (Figur 85).
Gjenta trinn 1 til og med 6 for planetgiret på den andre siden av maskinen.
| Vedlikeholdsintervall | Vedlikeholdsprosedyre |
|---|---|
| Etter de 8 første timene |
|
| Hver 400. driftstime |
|
Sett maskinen på en jevn flate, plasser hjulet slik at påfyllingspluggen er på høyeste posisjon (klokken 12) og tappepluggen står på laveste posisjon (klokken 6). Se Figur 83 i Kontrollere smøremiddelet på planetgirdrevet.
Plasser et tappefat under navet på planetgiret, fjern pluggen i tappehullet, pluggen i påfyllingshullet og pluggen i nivåhullet, og la smøremiddelet renne helt ut (Figur 86).

Undersøk tappe- og påfyllingspluggene for metallspon.
Hvis tappe- og påfyllingspluggene er dekket av metallspon må planetgiret repareres.
Sjekk O-ringene på tappepluggen og fyllepluggen, og sjekk pluggen for skade.
Bytt ut O-ringer som er skadet.
Sett på plass tappepluggen.
Plasser et tappefat under bremsehuset. Ta ut tappehullpluggen, og la smøremiddelet renne helt ut (Figur 87).

Monter tappepluggen i bremsehuset.
0,62 l, se Smøremiddelspesifikasjon for planetgir
Gjennom påfyllingshullet tilfører du sakte resten av det spesifiserte smøremiddelet. Se Figur 85 i Kontrollere smøremiddelet på planetgirdrevet.
Du skal kunne se smøremiddelnivået ved bunnen av gjengene på nivåhullet.
Important: Hvis planetgiret blir fullt før du har tilført spesifisert mengde, kan du vente i én time eller montere pluggene og bevege maskinen omtrent tre meter for å distribuere smøremiddelet i bremsesystemet. Ta deretter ut pluggene og tilfør resten av smøremiddelet.
Gi smøremiddelet 10 minutter til å sette seg, sjekk smøremiddelnivået, og fyll på smøremiddel etter behov til nivået når opp til bunnen av gjengene i smøremiddelnivåhullet.
Sett pluggene i påfyllings- og nivåhullet. Se Figur 85 i Kontrollere smøremiddelet på planetgirdrevet.
Gjenta trinn Tømme planetgiret for smøremiddel og Fylle planetgiret med smøremiddel for planetgiret på den andre siden av maskinen.
| Vedlikeholdsintervall | Vedlikeholdsprosedyre |
|---|---|
| Hver 200. driftstime |
|
Det skal være 0–3 mm mellom dekkenes fremre midtlinje og bakre midtlinje.
Sjekk og fyll på luft i alle dekk. Se Kontrollere lufttrykket i dekkene.
Mål avstanden mellom forhjulene ved akselhøyde, foran og bak på forhjulene (Figur 88).
Note: Avstanden mellom fronten på dekkene bør være 0 til 3 mm mindre enn avstanden mellom baksiden av forhjulene.

Hvis målene ikke faller innenfor det spesifiserte området, løsne låsemutteren i begge ender av parallellstaget (Figur 89).

Roter parallellstaget for å bevege den fremre delen av dekket innover eller utover.
Stram parallellstagets låsemuttere når justeringen er korrekt.
Pass på at rattet kan vris like langt i begge retninger.
Du kan bli forgiftet av å svelge motorkjølevæske. Oppbevares utilgjengelig for barn og kjæledyr.
Utslipp av varm kjølevæske under trykk, eller berøring av en varm radiator og omsluttende deler, kan føre til alvorlige brannsår.
La alltid motoren kjøle seg ned i minst 15 minutter før du fjerner radiatorlokket.
Bruk en klut når du åpner radiatorlokket. Åpne det forsiktig, slik at dampen kan slippe ut.
Ikke bruk maskinen uten at dekslene er på plass.
Hold fingre, hender og bekledning unna roterende vifter og drivremmer.
En oppløsning av 50 % vann og 50 % permanent frostvæske med etylenglykol.
Kontroller motorkjølevæskekonsentrasjonen som oppgitt av kjølevæskeprodusenten.
| Vedlikeholdsintervall | Vedlikeholdsprosedyre |
|---|---|
| For hver bruk eller daglig |
|
Hvis motoren har vært i gang, kan det hende at varm kjølevæske under trykk. Hvis du åpner radiatorhetten når kjølemiddelet er varmt kan det srute ut og føre til alvorlige brannskader på deg eller bivånere.
La motoren kjøle seg ned i minst 15 minutter før du åpner radiatorhettern.
Important: Ikke tilsett kjølemiddel til en overoppvarmet motor før motoren er helt avkjølt. Det kan føre til sprekker i motorblokken hvis du tilsetter kjølemiddel til en overoppvarmet motor.
Sett sprederen på en jevn flate.
Sett på parkeringsbremsen, slå av sprederpumpen, slå av motoren og ta ut nøkkelen.
Ta radiatorlokket og ekspansjonstanklokket forsiktig av (Figur 90).

Kontroller kjølemiddelnivået i radiatoren og i ekspansjonstanken.
Note: Fyll radiatoren opp til toppen av påfyllingshalsen og ekspansjonstanken opp til Full-merket (Figur 90).
Hvis kjølevæskenivået er lavt, kan du fjerne ekspansjonstanklokket og radiatorlokket, og fylle ekspansjonstanken til Full-merket og fylle radiatoren til øverst i påfyllingshalsen (Figur 90).
Important: Ikke fyll ekspansjonstanken for full.
Important: Ikke bruk bare vann eller et alkohol-/metanolbasert kjølemiddel.
Sett på radiatorlokket og ekspansjonstanklokket (Figur 90).
5,5 l, se Kjølevæskespesifikasjon
| Vedlikeholdsintervall | Vedlikeholdsprosedyre |
|---|---|
| Hver 400. driftstime |
|
Utstyr som må skaffes til veie av eieren: håndholdt kjølevæsketermometer
Sett sprederen på en jevn overflate, sett på parkeringsbremsen, slå av sprederpumpen, slå av motoren og ta ut nøkkelen.
Vent til motoren er kald, og fjern så radiatorlokket (Figur 90).
Plasser et stort drensfat under radiatoren.
Åpne tappeventilen og tapp kjølevæsken ut i fatet (Figur 91).

Lukk tappeventilen (Figur 91).
Fjern radiatorlokket (Figur 90).
Fyll radiatoren sakte med kjølemiddel til ca. 2,5 cm under forseglingsoverflaten på lokket.
Note: Bruk nok kjølemiddel til å fylle motoren og systemledningen. Dette vil gjøre det mulig for kjølevæsken å utvides uten at den flyter over mens motoren varmes opp.
Start motoren med lokket løst festet på radiatoren (Figur 90).
La motoren varmes opp til termostaten åpnes.
Note: Motortermostaten skal åpne når det håndholdte termometeret viser en kjølevæsketemperatur på 79–88 °C.
Når kjølevæsken har blitt varm, etterfyll kjølevæske til nivået når opp til lokket og skru lokket tett til (Figur 90).
Åpne ekspansjonstanklokket og fyll tanken med kjølevæske til Cold-nivået (Figur 90).
Kontroller kjølevæskenivået etter flere avstengnings- og oppstartssykluser.
Note: Etterfyll kjølemiddel i radiatoren og ekspansjonstanken etter behov.
Hvis bremsepedalen har en frigang på mer enn 2,5 cm før du kjenner motstand, justerer du bremsene slik:
Sett sprederen på en jevn overflate, slå av sprederpumpen, slå av motoren og ta ut nøkkelen.
Sett på parkeringsbremsen.
Sett klosser foran hjulene for å hindre at maskinen ruller.
Frigjør parkeringsbremsen.
Løsne de fremre låsemutterne på bremsekablene under den fremre enden av sprederen (Figur 92).

Trekk til de bakre låsemutterne like mye, til bremsepedalen beveger seg 1–2 cm før du kjenner motstand (Figur 92).
Important: Kontroller at du trekker til begge de bakre mutterne så de gjengede endene av bremsekablene foran de fremre mutterne er like lange.
Trekk til de fremre låsemutterne.
| Vedlikeholdsintervall | Vedlikeholdsprosedyre |
|---|---|
| Etter de 8 første timene |
|
| Hver 100. driftstime |
|
Kontroller tilstand og stramming til generator-/kjølevifteremmen. Skift ut remmen ved behov.
Sett sprederen på en jevn overflate, sett på parkeringsbremsen, slå av sprederpumpen, slå av motoren og ta ut nøkkelen.
Kontroller generatorremmens spenning ved å trykke ned remmen midt mellom remskivene på generatoren og veivakselen med en kraft på 10 kg.
Note: Det skal være mulig å trykke ned remmen 10–12 mm. Hvis remmen kan trykkes ned for mye, gå til trinn 3. Hvis remmens spenning er korrekt, kan du hoppe over resten av denne prosedyren og gjenoppta bruken av sprederen.
Løsne bolten på svingpunktet til generatoren, og løsne bolten som fester generatoren til den slissede støtten (Figur 93).

Før inn en løftestang mellom vekselstrømsgeneratoren og motoren, og lirk vekselstrømsgeneratoren forsiktig utover.
Når du har oppnådd korrekt spenning skal du trekke til vekselstrømsgeneratoren og skruene for å sikre justeringen.
Trekk til låsemutteren for å sikre justeringen.
Oppsøk legehjelp øyeblikkelig hvis olje sprøytes inn under huden. Innsprøytet væske må fjernes kirurgisk innen få timer av en lege.
Før du utfører vedlikehold eller reparasjoner på det hydrauliske systemet, må du forsiktig slippe ut alt trykket.
Kontroller at alle hydraulikkslanger og ledninger er i god stand, og at alle hydrauliske koblinger og beslag er tette, før det hydrauliske systemet settes under trykk.
Hold kropp og hender borte fra hull eller dyser som sprøyter ut hydraulisk olje under høyt trykk.
Bruk kartong eller papir til å finne lekkasjer.
Beholderen fylles på fabrikken med høykvalitets hydraulikkvæske. Kontroller nivået på hydraulikkvæsken før du starter maskinen for første gang, og deretter hver dag. Se Kontrollere den hydrauliske oljen.
Anbefalte hydraulikkvæsker: Toro PX Extended Life-hydraulikkvæske, tilgjengelig i spann på 19 liter eller fat på 208 liter.
Note: På en maskin som bruker den anbefalte erstatningsvæsken trenger man ikke utføre væske- og filterskift så ofte.
Alternative hydraulikkvæsker: Hvis Toro PX Extended Life-hydraulikkvæske ikke er tilgjengelig, kan du bruke andre konvensjonelle hydraulikkvæsker med petroleumsbase, forutsatt at spesifikasjonene faller innenfor oppgitt område for følgende materialegenskaper og oppfyller bransjestandarder. Syntetisk væske må ikke benyttes. Forhør deg med smøremiddelleverandøren for å finne et egnet produkt.
Note: Toro er ikke ansvarlig for skader som skyldes bruk av uegnede alternativer. Bruk kun produkter fra anerkjente produsenter, som står for sine anbefalinger.
| Materielle egenskaper: | ||
| Viskositet, ASTM D445 | cSt ved 40 °C (104 °F) 44 til 48 | |
| Viskositetsindeks ASTM D2270 | 140 eller høyere | |
| Flytepunkt, ASTM D97 | -37 til -45 °C | |
| Bransjespesifikasjoner: | Eaton Vickers 694 (I-286-S, M-2950-S/35VQ25 eller M-2952-S) | |
Note: Mange hydraulikkvæsker er nesten fargeløse, noe som gjør det vanskelig å oppdage lekkasjer. Et rødt fargestoff for hydraulikkvæsken er tilgjengelig i flasker på 20 ml. Én flaske er nok til 15–22 liter med hydraulikkvæske. Bestill delenr. 44-2500 fra en autorisert Toro-forhandler.
Important: Toro Premium Synthetic Biodegradable-hydraulikkvæske er den eneste syntetiske nedbrytbare væsken som godkjennes av Toro. Denne oljen er kompatibel med elastomerne som benyttes i Toros hydraulikksystemer, og er egnet til en rekke temperaturforhold. Denne oljen er kompatibel med tradisjonelle mineraloljer, men for å oppnå maksimal biologisk nedbrytbarhet og ytelse, må det hydrauliske systemet tømmes fullstendig for tradisjonell olje. Oljen er tilgjengelig i spann på 19 liter eller fat på 208 liter fra en autorisert Toro-forhandler.
| Vedlikeholdsintervall | Vedlikeholdsprosedyre |
|---|---|
| For hver bruk eller daglig |
|
Important: Hvis oljen blir forurenset må du kontakte en autorisert Toro-forhandler og få systemet skyllet.Kontaminert væske får en melkeaktig eller sort farge sammenlignet med ren væske.
Sett sprederen på en jevn overflate, sett på parkeringsbremsen, slå av sprederpumpen, slå av motoren og ta ut nøkkelen.
Rengjør området rundt peilestavlokket på hydraulikkvæsketanken, og fjern det (Figur 94).

Important: Pass på at du ikke får smuss eller andre forurensende stoffer inn i åpningen når du sjekker oljen.
Rengjør peilestaven med en ren klut og sett den tilbake i tanken.
Fjern peilestaven fra påfyllingshalsen og kontroller oljenivået (Figur 95).
Note: Oljenivået skal være ved det nedre merket på peilestaven når væsken er kald.

Er væskenivået er lavt, må du etterfylle tanken med den angitte hydraulikkvæsken for å heve nivået til det lavere merket. Se Spesifisering av hydraulikkvæske.
Sett på plass peilestavlokket og fest det.
| Vedlikeholdsintervall | Vedlikeholdsprosedyre |
|---|---|
| Hver 800. driftstime |
|
| Hver 1000. driftstime |
|
Varm hydraulisk væske kan føre til alvorlige brannskader.
La hydraulikkvæsken avkjøle seg før du utfører eventuelt vedlikehold på det hydrauliske systemet.
Important: Hvis du bruker et annet filter, kan dette føre til at garantien blir ugyldig for enkelte komponenter.
Bruk Toro-erstatningsfilter (Se delekatalogen for korrekt delenummer.)
Sett sprederen på en jevn overflate, sett på parkeringsbremsen, slå av sprederpumpen, slå av motoren og ta ut nøkkelen.
Finn de to hydraulikkfiltrene på maskinen (Figur 96 og Figur 97).
Note: Ett av filtrene finnes under hydraulikkvæsketanken, og det andre filteret finnes på rammen bak på maskinen.
Fremre filter – bak den hydrauliske tanken.

Bakre filter – plassert på maskinrammen.

Rengjør området rundt der filteret monteres.
Plasser et drensfat under filteret.
Fjern filteret.
Det brukte filteret skal kasseres på et godkjent gjenvinningssenter.
Smør den nye filterpakningen med ren hydraulikkvæske. Se Spesifisering av hydraulikkvæske.
Tørk av filterets monteringsområde med en fille.
Skru filteret på til pakningen kommer i kontakt med monteringsplaten. Stram deretter filteret med en halv omdreining til.
Start motoren, sett gassen på rask tomgang og la motoren gå 3–5 minutter for å blåse luft ut fra hydraulikksystemet.
Slå av motoren, kontroller nivået til hydraulikkvæsken og kontroller at det ikke finnes noen lekkasjer. Se Kontrollere den hydrauliske oljen.
54 l, se Spesifisering av hydraulikkvæske
| Vedlikeholdsintervall | Vedlikeholdsprosedyre |
|---|---|
| Hver 800. driftstime |
|
| Hver 2000. driftstime |
|
Varm hydraulisk væske kan føre til alvorlige brannskader.
La hydraulikkvæsken avkjøle seg før du utfører eventuelt vedlikehold på det hydrauliske systemet.
Important: Hvis du bruker en annen væske, kan dette føre til at garantien blir ugyldig for enkelte komponenter.
Bytt ut hydraulikkvæskefilteret. Se Skifte de hydrauliske filtrene.
Rengjør området rundt en hydraulikkslangenippel nederst på hydraulikkvæsketanken (Figur 98).

Plasser et stort tappefat under hydraulikktankens koblinger.
Fjern slangenippelen fra tanken og la væsken renne ut i tappefatet (Figur 98).
Den brukte væsken skal kasseres ved et godkjent gjenvinningssenter.
Monter slangen og nippelen på tanken og trekk godt til.
Fyll den hydrauliske beholderen med ca. 53 l spesifisert hydraulikkvæske eller tilsvarende. Se Spesifisering av hydraulikkvæske.
Start motoren, sett gassen på rask tomgang og la motoren gå 3–5 minutter for å blåse luft ut fra hydraulikksystemet.
Slå av motoren, kontroller nivået til hydraulikkvæsken og kontroller at det ikke finnes noen lekkasjer. Se Kontrollere den hydrauliske oljen.
| Vedlikeholdsintervall | Vedlikeholdsprosedyre |
|---|---|
| Hver 200. driftstime |
|
| Hver 400. driftstime |
|
Undersøk hver slange i spredersystemet for sprekker, lekkasjer eller andre skader. På samme tid, undersøk koblinger og fester for lignende skader. Skift ut eventuelle skadde slanger eller fester.
| Vedlikeholdsintervall | Vedlikeholdsprosedyre |
|---|---|
| Hver 400. driftstime |
|
Note: Fastslå riktig gitterstørrelse for sugefilteret som du trenger for arbeidet. Se Velge et sugefilter.
Parker maskinen på en jevn overflate, aktiver parkeringsbremsen, slå av pumpen, slå av motoren og ta ut nøkkelen.
Fjern holderen som fester slangekoblingen som er festet til den store slangen fra filterhuset øverst på tanken (Figur 99).

Fjern slangen og slangekoblingen fra filterhuset (Figur 99).
Fjern det gamle sugefilteret fra filterhuset i tanken (Figur 100).
Note: Kast det gamle filteret.

Monter det nye sugefilteret i filterhuset.
Note: Påse at filteret er helt på plass.
Plasser slangen og slangekoblingen på filterhuset øverst på tanken, og fest dem med holderen du fjernet i trinn 2.
| Vedlikeholdsintervall | Vedlikeholdsprosedyre |
|---|---|
| Hver 400. driftstime |
|
Flytt maskinen til en jevn overflate, slå av sprederpumpen, slå av motoren og ta ut nøkkelen.
Plasser et tappefat under trykkfilteret (Figur 101).

Drei tappepluggen mot klokken, og ta fjern den fra bollen i trykkfilteret (Figur 101).
Note: Tøm bollen fullstendig.
Drei bollen mot klokken og fjern den fra filterhodet (Figur 101).
Fjern det gamle trykkfilterelementet (Figur 101).
Note: Kast det gamle filteret.
Kontroller om det er skader eller slitasje på O-ringen til tappepluggen (den er inne i bollen) og O-ringen for bollen (inne i filterhodet) (Figur 101).
Note: Skift ut eventuelle O-ringer som er skadet eller slitt.
Monter det nye trykkfilterelementet inn i filterhodet (Figur 101).
Note: Påse at filterelementet er helt på plass i filterhodet.
Monter bollen på filterhodet og stram til for hånd (Figur 101).
Sett inn tappepluggen i bollen, og stram til for hånd (Figur 101).
Note: Fastslå riktig gitterstørrelse for dysefilteret som du trenger for arbeidet. Se Velge et dysefilter (valgfritt).
Parker maskinen på en jevn overflate, aktiver parkeringsbremsen, slå av sprederpumpen, slå av motoren og ta ut nøkkelen.
Fjern dysen fra sprederhodet (Figur 102).

Fjern det gamle dysefilteret (Figur 102).
Note: Kast det gamle filteret.
Sett i det nye dysefilteret (Figur 102).
Note: Påse at filteret er helt på plass.
Monter dysen på sprederhodet (Figur 102).
Den følgende prosedyren kan brukes til å justere aktuatorene på den midtre bommen for å holde venstre og høyre bom plant med bakken.
Strekk ut bommene til sprederstilling.
Fjern hårnålssplinten fra svingbolten (Figur 103).

Løft opp på bommen, fjern bolten (Figur 103) og fir bommen sakte ned på bakken.
Undersøk pinnen for eventuell skade og skift den ut ved behov.
Bruk en skiftenøkkel på de flate sidene av aktuatorstangen for å sette den ut av funksjon, før du løsner låsemutterne slik at maljestangen kan justeres (Figur 104).

Skru på maljestangen i aktuatorstangen for å justere lengden for den forlengede aktuatoren til den ønskede posisjonen (Figur 104).
Note: Du må vri maljestangen i halve eller hele omdreininger, slik at du kan montere stangen på bommen.
Etter at du har oppnådd ønsket posisjonen, må du stramme låsemutterne for å feste aktuator- og maljestangen.
Hev bommen for å innrette dreietappen med aktuatorstaget.
Mens du holder bommen, skal du føre pinnen gjennom begge bommens dreietapper og aktuatorstangen (Figur 103).
Med pinnen på plass, frigjør bommen og fest pinnen med splinten du fjernet tidligere.
Om nødvendig, gjenta prosedyren for hvert aktuatorstaglager.
| Vedlikeholdsintervall | Vedlikeholdsprosedyre |
|---|---|
| Hver 400. driftstime |
|
Parker maskinen på en jevn overflate, aktiver parkeringsbremsen, slå av pumpen, slå av motoren og ta ut nøkkelen.
Forleng de ytre bomseksjonene til sprederstilling, og støtt bommene ved å bruke støtter eller stropper og løfteutstyr.
Fjern bolten og mutteren som fester svingbolten, og fjern bolten (Figur 105).

Fjern bommen og svingbrakettenheten fra den midtre rammens endekanal for å få tilgang til nylonhylsene.
Fjern og kontroller nylonhylsene fra for- og baksidene på svingbraketten (Figur 105).
Note: Skift ut slitte eller skadde hylser.
Smør nylonhylsene med en liten mengde olje, og monter fôringene på svingbraketten (Figur 105).
Innrett hullene i svingbraketten med hullene i endekanalen (Figur 105).
Installer svingbolten og fest den med flensbolten og flenslåsemutteren som du fjernet i trinn 3.
Gjenta trinn 2 til og med 8 for den andre ytre bomseksjonen.
| Vedlikeholdsintervall | Vedlikeholdsprosedyre |
|---|---|
| Hver 400. driftstime |
|
Note: Følgende kjøretøykomponenter regnes som forbruksdeler med mindre de viser seg å være defekte og ikke dekkes av garantien som følger med dette kjøretøyet.
La en autorisert Toro-forhandler kontrollere følgende innvendige pumpekomponenter for skade:
Pumpediafragma
Pumpekontrollventilenheter
Skift ut eventuelle komponenter ved behov.
Vask maskinen etter behov med bare vann eller vann og et mildt rengjøringsmiddel. Du kan bruke en klut når du vasker maskinen.
Important: Ikke bruk brakkvann eller gjenvunnet vann til å rengjøre maskinen.
Note: Ikke bruk høytrykksutstyr til å vaske maskinen. Høyttrykksutstyr kan skade det elektriske systemet, løsne viktige merker og vaske bort nødvendig fett fra friksjonspunktene. Unngå overdreven bruk av vann nær kontrollpanelet, motoren og batteriet.
Important: Ikke vask maskinen mens motoren er i gang. Vask av maskinen mens motoren er i gang kan føre til interne skader på motoren.
| Vedlikeholdsintervall | Vedlikeholdsprosedyre |
|---|---|
| Hver 200. driftstime |
|
Important: Ikke spray vann inn i et varmt motorrom, da dette kan skade motoren.
Sett sprederen på en jevn overflate, sett på parkeringsbremsen, slå av sprederpumpen, slå av motoren og ta ut nøkkelen.
Vipp fører- og passasjersetet fremover og plasser støttestangen i sperren på støttestangslissen.
La kjølesystemet kjøle seg ned.
Fjern tilgangsdekselet til setebasen. Se Fjerne tilgangsplaten på setebasen.
Rengjør radiatorribbene ved å bruke komprimert luft under lavt trykk og en myk børste.
Note: Rengjør radiatorribbene oftere hvis det er nødvendig. Kontroller alle kjølemiddelslangene og skift ut de som er slitt, de som lekker eller er skadet.
Senk fører- og passasjersetet.
Monter tilgangsdekselet til setebasen. Se Montere tilgangsplaten på setebasen.
| Vedlikeholdsintervall | Vedlikeholdsprosedyre |
|---|---|
| Hver 200. driftstime |
|
Skyll og tøm hele spredersystemet grundig.
Ta gjennomstrømningsmåleren av sprederen og skyll den med rent vann.
Ta av låseringen på oppstrømssiden (Figur 106).

Rengjør turbinen og turbinnavet for å fjerne metallfilspon og andre fuktbare pulvere.
Undersøk turbinbladene for slitasje.
Note: Hold turbinen i hånden og roter den. Den skal rotere fritt med lite motstand. Bytt den ut hvis den ikke gjør det.
Montere gjennomstrømningsmåleren
Bruk en luftdyse med lavt trykk (0,34 bar) for å sikre at turbinen roterer fritt.
Note: Hvis turbinen ikke roterer fritt, løsner du sekskantbolten i bunnen av turbinnavet med 1/16 omdreining til turbinen roterer fritt.
Se følgende avsnitt for å rengjøre risteventilen:
Se følgende avsnitt for å rengjøre de tre seksjonsventilene:
Sett sprederen på en jevn overflate, sett på parkeringsbremsen, slå av sprederpumpen, slå av motoren og ta ut nøkkelen.
Fjern holderen som fester aktuatoren til manifoldventilen for seksjonsventilen eller risteventilen (Figur 107).
Note: Trykk sammen de to pinnene på holderen mens du dytter den ned.
Note: Ha aktuatoren og holderen tilgjengelig for montering i trinn Montere ventilaktuatoren.

Fjern aktuatoren fra manifoldventilen.
Fjern hurtigkoblingspinnen som fester hurtigkoblingen for risteslangen til manifolden for risteventilen (Figur 108).

Fjern de tre flensklemmene som fester risteventilmanifolden til flensene på trykkfilterhodet og koblingsadapteren (Figur 108).
Fjern de to flenshodeboltene (1/4 x 3/4 tomme) og to flenslåsemutterne (1/4 tomme) som fester risteventilmanifolden til ventilstøtten (Figur 109).

Fjern risteventilmanifolden og pakningene fra maskinen (Figur 109).
Note: Hvis det er nødvendig, løsner du festedelene for trykkfilterhodet for å få plass.
Note: Behold flensklemmene, pakningene og hurtigkoblingspinnene for montering i Montere ristemanifoldventilen.
Fjern hurtigkoblingspinnen som fester hurtigkoblingen for seksjonsomløpsventilen til seksjonsmanifoldventilen (Figur 110).

Fjern hurtigkoblingspinnen som fester hurtigkoblingen for seksjonsforsyningsslangen til manifolden for hurtigkoblingsnippelen på seksjonsmanifoldventilen (Figur 110).
Fjern de to flensklemmene som fester seksjonsmanifoldventilen til flensene på tilstøtende komponenter (Figur 111).

For venstre eller høyre seksjonsmanifoldventiler fjerner du de to flenshodeboltene (¼ x ¾ tomme) og to flenslåsemutterne (¼ tomme) som fester seksjonsventilmanifolden til ventilstøtten (Figur 112).

Flytt seksjonsventilmanifolden og pakningene ned for å komme til seksjonsomløpsventilen, og fjern den så fra maskinen (Figur 112).
Note: Hvis det er nødvendig, løsner du festedelene for venstre og høyre seksjonsventilmanifolder for å få plass.
Note: Behold flensklemmene, pakningene og hurtigkoblingspinnene for montering i Montere seksjonsmanifoldventilen.
Sett ventilstammen i stengt posisjon (Figur 113 B)

Fjern de to kappkoblingsenhetene fra hver ende av manifoldkroppen (Figur 114 og Figur 115).


Snu på ventilstammen, slik at kulen er i åpen posisjon (Figur 113A).
Note: Når ventilstammen er parallell med ventilstrømningen, glir kulen ut.
Fjern stammeholderen fra slissene i manifoldets stammeport (Figur 114 og Figur 115).
Fjern stammeholderen og ventilstammesetet fra manifoldet (Figur 114 og Figur 115).
Ta ut ventilstammeenheten fra ventilkroppen (Figur 114 og Figur 115).
Rengjør innsiden av manifolden og utsiden av kuleventilen, ventilstammeenheten, stammefestet og endekoblingene.
Operatørens eget materiale: Fjern silikonfett.
Important: Bruk kun silikonfett ved montering av ventilen.
Se etter skader og slitasje på uttaksnippel-O-ringene (bare på seksjonsventilmanifolden), kappkobling-O-ringene, de bakre O-ringene og kuleskålen (Figur 114 og Figur 115).
Note: Skift ut eventuelle O-ringer med skader eller slitasje.
Smør silikonfett på ventilstammen og før den inn i ventilstammesetet (Figur 114 og Figur 115).
Monter ventilstammen og setet på manifoldet, og fest dem med stammeholderen (Figur 114 og Figur 115).
Påse at den bakre O-ringen og kuleskålen er på linje med og plassert i kappkoblingen (Figur 114 og Figur 115)
Monter kappkoblingsenheten på manifoldkroppen slik at flensen på kappkoblingen rører manifoldkroppen (Figur 114 og Figur 115), og drei kappkoblingen ⅛ til ¼ omdreining til.
Note: Vær forsiktig slik at du ikke skader enden av koblingen.
Sett kulen inn i ventilkroppen (Figur 116).
Note: Ventilstammen skal passe i kuledrivhakket. Hvis ventilstammen ikke passer, må du bevege på kulen (Figur 116).

Snu ventilstammeenheten slik at ventilen er stengt (Figur 113B).
Gjenta trinn 4 og 5 for den andre kappkoblingsenheten.
Innrett de to pakningene som du fjernet i Fjerne seksjonsmanifoldventil til flensene på seksjonsventilmanifolden (Figur 117).
Note: Hvis det er nødvendig, løsner du festedelene for venstre og høyre seksjonsventilmanifolder for å få plass.

Innrett flensen på seksjonsventilmanifolden mellom flensene på de andre seksjonsventilene og/eller koblingsadapteren (Figur 117).
Monter seksjonsventilmanifoldens hurtigkoblingsnippel til seksjonsomløpsventilens hurtigfrakoblingsuttak med en hurtigkoblingspinne (Figur 117 og Figur 118).

Monter løst flenseklemmene som du fjernet i Fjerne seksjonsmanifoldventil, til flensene på seksjonsventilmanifolden og flensene på de andre seksjonsventilene og/eller koblingsadapteren (Figur 119).

For venstre eller høyre seksjonsmanifoldventiler monterer du seksjonsventilmanifolden til ventilstøtten (Figur 117) med de to flenshodeboltene (¼ x ¾ tomme) og to flenslåsemutterne (1/4 tomme) som du fjernet i Fjerne seksjonsmanifoldventil.
Stram flenshodeboltene og flenslåsemutterne til 19,78 til 25,42 N·m.
Stram til de to flensklemmene for hånd (Figur 119).
Monter seksjonsslangens hurtigkobling på seksjonsventilmanifoldens hurtigkoblingsnippel med hurtigkoblingspinnen (Figur 118).
Hvis du løsnet festedelene for venstre eller høye seksjonsventilmanifolder, må du stramme mutteren og bolten til 19,78–25,42 N·m.
Innrett flensen på risteventilmanifolden og de tre pakningene med flensene på risteomløpsventilen, trykkfilterhodet og koblingsadapteren (Figur 120 og Figur 121).
Note: Hvis det er nødvendig, løsner du festedelene for trykkfilterhodet for å få plass.


Fest risteventilmanifolden løst til risteomløpsventilen, trykkfilterhodet og koblingsadapteren (Figur 121) med de tre flensklemmene som du fjernet i Fjerne ristemanifoldventilen.
Monter risteventilmanifolden til ventilstøtten med de to flenshodeboltene (¼ x ¾ tomme) og flenslåsemutteren (¼ tomme) som du fjernet i Fjerne ristemanifoldventilen.
Stram flenshodeboltene og flenslåsemutterne til 19,78 til 25,42 N·m.
Stram til de tre flensklemmene for hånd (Figur 121).
Monter risteslangens hurtigkobling på risteventilmanifoldens hurtigkoblingsnippel med hurtigkoblingspinnen (Figur 121).
Hvis du løsnet festedelene for trykkfilterhodet, må du stramme mutteren og bolten til 19,78–25,42 N·m.
Rett inn aktuatoren på manifoldventilen (Figur 107).
Fest aktuatoren og ventilen med holderen som du fjernet i trinn 2 i Fjerne ventilaktuatoren.
Slå av motoren, ta ut nøkkelen (hvis utstyrt), og vent til alle bevegelige deler har stoppet før du forlater førerstillingen. La maskinen kjøles ned før justering, service, rengjøring eller oppbevaring.
Oppbevar aldri maskinen eller bensinkannen i nærheten av åpen ild, gnister eller kontrollampe, som på en varmtvannstank eller andre apparater.
Utfør følgende prosedyre:
Important: Ikke bruk brakkvann eller gjenvunnet vann til å rengjøre maskinen.
Parker maskinen på en jevn overflate, aktiver parkeringsbremsen, slå av sprederpumpen og motoren, ta ut nøkkelen, og vent til alle bevegelige deler har stanset, før du forlater maskinen.
Fjern utvendige gressrester og smuss fra hele maskinen, inkludert i motorens sylindertoppribber og viftehus.
Important: Du kan vaske maskinen med skånsomt vaskemiddel og vann. Ikke bruk høyttrykksspyler til å vaske kjøretøyet. Trykkvasking kan skade det elektriske systemet og vaske bort nødvendig fett fra friksjonspunktene. Unngå bruk av for mye vann, spesielt nær dashbordet, lysene, motoren og batteriet.
Flytt maskinen til tappeområdet, aktiver parkeringsbremsen, slå av sprederpumpen, slå av motoren, ta ut nøkkelen, og vent til alle bevegelige deler har stanset, før du forlater førersetet.
Tøm ferskvannstanken og la tankkranen stå åpen.
Tøm spredertanken så fullstendig som mulig.
Forbered en frostvæske som er rusthemmende og alkoholfri i henhold til produsentens instruksjoner. Se Forberede kondisjoneringen.
Fjern røret fra baksiden av trykkmåleren, og plasser enden av slangen i en beholder (Figur 122).

Start motoren og senk de ytre bomseksjonene.
Kjør sprederpumpen i noen minutter for å sirkulere frostvæsken i spredersystemet og eventuelt spredertilbehør du har montert.
Vri venstre, midtre og høyre delbryter til På-posisjon.
Vri hovedseksjonsbryteren til På-posisjon, og se etter dette:
Påse at RV-frostvæske strømmer ut av den frakoblede enden av trykkmålerrøret.
Spray ut av dysen til RV-frostvæsken er synlig.
Sett hovedseksjonsbryteren i AV-stillingen.
Skru pumpebryteren til AV-stillingen.
Bruk hevebryterne for bomseksjonene for å heve de ytre bomseksjonene.
Hev bomseksjonene til de er i bomtransportstillingen; trukket sammen i en X, og løftesylinderne er helt trukket tilbake.
Note: Kontroller at løftesylinderne er helt tilbaketrukket for å forhindre skade på aktuatorstangen.
Slå av motoren.
Tøm spredertanken så fullstendig som mulig.
Utfør følgende prosedyre i Korttidslagring:
I tillegg utfører du følgende prosedyre:
Kontroller lufttrykket i dekkene. Se Kontrollere lufttrykket i dekkene.
Kontroller bremsene. Se Justere bremsene.
Sjekk og stram til alle bolter, mutrer og skruer.
Note: Bytt ut eventuelle deler som er slitt eller skadet.
Mal over riper eller bare metalloverflater (lakk fås kjøpt hos autoriserte Toro-forhandlere).
Rengjør risteventilen og de tre seksjonsventilene. Se Rengjøre riste- og seksjonsventilene.
Smør sprederen. Se Smøre sprederpumpen.
Kontroller tilstanden til alle sprederslangene.
Note: Bytt ut eventuelle slanger som er slitt eller skadet.
Stram til alle slangeklemmer og koblinger.
Vedlikehold luftrenseren. Se Kontrollere luftrenseren.
Skift motoroljefilteret og oljen. Se Skifte motoroljefilteret og Skifte motorolje.
Tøm drivstofftanken. Se Tømme drivstofftanken.
Klargjør drivstoff med drivstoffstabilisator i henhold til produsentens instruksjoner, og tilsett i drivstofftanken.
Start motoren og la den gå på tomgang i fem minutter.
Slå av motoren.
Fest alle beslagene for drivstoffsystemet.
Flytt maskinen til et rent og tørt oppbevaringsområde.
Fjern batteriet fra chassiset, se Fjerne batteriet.
Note: Batterikablene må ikke være koblet til batteripolene under lagring.
Kontroller elektrolyttnivået i batteriet.
Lad batteriet helt opp. Se Lade batteriet.
Important: Batteriet må være full-ladet for å unngå at det fryser og skades ved temperaturer under 0 °C. Et fullt oppladet batteri opprettholder ladningen i ca. 50 dager ved temperaturer som er under 4 °C. Hvis temperaturen er over 4 °C må du kontrollere vannivået inne i batteriet og lade det opp hver 30. dag.
Fjern nøkkelen fra startbryteren, og oppbevar den på et trygt sted som er utilgjengelig for barn.
Legg en presenning over maskinen for å beskytte den og holde den ren.
Sett trykkmålerrøret inn i rørkoblingen ved baksiden av trykkmåleren (Figur 123).

Steng tappekranen for ferskvannstanken.
Fyll drivstoff på drivstofftanken.
Lad batteriet helt opp. Se Lade batteriet.
Monter batteriet i chassiset. Se Installere batteriet.
| Problem | Possible Cause | Corrective Action |
|---|---|---|
| Startmotoren kjører ikke. |
|
|
| Motoren gir lyd fra seg, men vil ikke starte. |
|
|
| Motoren starter, men fortsetter ikke å gå. |
|
|
| Motoren går, men i rykk og napp. |
|
|
| Motoren går ikke på tomgang. |
|
|
| Motoren overopphetes. |
|
|
| Motoren mister kraft. |
|
|
| Det er unormal vibrasjon eller støy. |
|
|
| Maskinen fungerer ikke eller er treg i begge retninger fordi motoren går i stå eller kveles. |
|
|
| Maskinen går ikke i noen av retningene. |
|
|
| Problem | Possible Cause | Corrective Action |
|---|---|---|
| En sprederseksjon sprøyter ikke. |
|
|
| En sprederseksjon slår seg ikke av. |
|
|
| En sprederseksjonsventil lekker. |
|
|
| Trykket faller når du slår på en sprederseksjon. |
|
|
| Sprøytedysen(e) drypper når seksjonsbryteren-/bryterne er slått av |
|
|
| Spredertrykket faller under sprøyting. |
|
|
