| Underhållsintervall | Underhållsförfarande |
|---|---|
| Varje användning eller dagligen |
|
Maskinen är ett fristående sprutfordon som är avsett att användas av yrkesförare som har anlitats för kommersiellt arbete. Det är främst konstruerat för besprutning av väl underhållna parkgräsmattor, golfbanor, sportanläggningar och kommersiella anläggningar. Denna maskin är främst utformad för terrängkörning och är inte avsedd för frekvent körning på allmän väg. Det kan medföra fara för dig och kringstående om maskinen används i andra syften än vad som avsetts.
Läs den här informationen noga så att du lär dig att använda och underhålla produkten på rätt sätt, och för att undvika person- och produktskador. Du är ansvarig för att produkten används på ett korrekt och säkert sätt.
Besök www.Toro.com för mer information inklusive säkerhetsråd, utbildningsmaterial, information om tillbehör, hjälp med att hitta en återförsäljare eller för att registrera din produkt.
Kontakta en auktoriserad återförsäljare eller Toros kundservice och ha produktens modell- och serienummer till hands om du har behov av service, Toro-originaldelar eller ytterligare information. Figur 1 visar var du finner produktens modell- och serienummer. Skriv in numren i det tomma utrymmet.
Important: Skanna rutkoden på serienummerdekalen (i förekommande fall) med en mobil enhet för att få tillgång till information om garanti, reservdelar och annat.

I den här bruksanvisningen anges potentiella risker och alla säkerhetsmeddelanden har markerats med en varningssymbol (Figur 2), som anger fara som kan leda till allvarliga personskador eller dödsfall om föreskrifterna inte följs.

Två ord används också i den här bruksanvisningen för att markera information. Viktigt anger speciell teknisk information och Observera anger allmän information värd att notera.
Produkten uppfyller alla relevanta europeiska direktiv. Mer information finns i produktens separata försäkran om överensstämmelse.
Det är ett brott mot avsnitt 4442 eller 4443 i Kaliforniens Public Resource Code att använda eller köra motorn på skogs-, busk- eller grästäckt mark om motorn inte är utrustad med en gnistsläckare som är i fullgott skick, vilket anges i avsnitt 4442, eller utan att motorn är konstruerad, utrustad och underhållen för att förhindra brand.
Den bifogade bruksanvisningen till motorn tillhandahålls för information om den amerikanska miljömyndigheten EPA:s (US Environmental Protection Agency) och Kaliforniens lagstiftning om utsläppskontroll för utsläppssystem, underhåll och garanti. Extra bruksanvisningar kan beställas från motortillverkaren.
KALIFORNIEN
Proposition 65 Varning
Avgaserna från dieselmotorer och vissa avgaskomponenter innehåller ämnen som av den amerikanska delstaten Kalifornien anses orsaka cancer, fosterskador och andra fortplantningsskador.
Batteripoler och kabelanslutningar med tillbehör innehåller bly och blyföreningar, kemikalier som den amerikanska delstaten Kalifornien anser kan orsaka cancer och fortplantningsskador. Tvätta händerna efter hantering.
Användning av produkten kan orsaka kemikalieexponering som av den amerikanska delstaten Kalifornien anses orsaka cancer, fosterskador och andra fortplantningsskador.
Felaktig användning eller felaktigt underhåll från förarens eller ägarens sida kan leda till personskador. För att minska risken för skador ska du alltid följa säkerhetsanvisningarna och uppmärksamma varningssymbolen (Figur 2), som betyder: Var försiktig, Varning eller Fara – anvisning om personsäkerhet. Om anvisningarna inte följs kan detta leda till personskador eller dödsfall.
Denna maskin har utformats i enlighet med specifikationerna i SAE J2258.
Den här produkten kan orsaka personskador. Följ alltid alla säkerhetsanvisningar för att undvika allvarliga personskador.
Läs och förstå innehållet i denna bruksanvisning innan du startar motorn.
Håll koncentrationen helt på maskinen när du använder den. Låt dig inte distraheras eftersom det kan leda till personskador eller skador på egendom.
Använd lämplig personlig skyddsutrustning som skyddar om du skulle komma i kontakt med kemikalier. De kemiska substanser som används i sprutsystemet kan vara farliga och giftiga.
Håll händer och fötter på avstånd från maskinens rörliga delar.
Kör endast maskinen om skydd och andra säkerhetsanordningar sitter på plats och fungerar.
Håll avstånd till sprutmunstyckenas och sprutningsavdrivningens utmatningsområden. Håll kringstående och barn på säkert avstånd från arbetsområdet.
Låt aldrig barn köra maskinen.
Stäng av motorn, ta ut nyckeln (i förekommande fall) och vänta tills alla rörliga delar har stannat innan du kliver ur förarsätet. Låt maskinen svalna innan du justerar, rengör, förvarar eller utför underhåll på den.
Felaktigt bruk eller underhåll av maskinen kan leda till
personskador. För att minska risken för skador ska du alltid
följa säkerhetsanvisningarna och uppmärksamma varningssymbolen
. Symbolen betyder Var försiktig,
Varning eller Fara – anvisning om personsäkerhet. Underlåtenhet
att följa anvisningarna kan leda till personskador och innebära
livsfara.
Alla redskap som kan användas med maskinen tas inte upp i den här bruksanvisningen. Se bruksanvisningen som medföljer varje redskap för ytterligare säkerhetsanvisningar.
![]() |
Säkerhetsdekalerna och säkerhetsinstruktionerna är fullt synliga för föraren och finns nära alla potentiella farozoner. Ersätt dekaler som har skadats eller saknas. |





























Note: Vänster och höger sida på maskinen är lika med förarens vänstra respektive högra sida vid normal körning.
Note: Läs bruksanvisningen till sprutkontrollsystemet om du har frågor eller behöver mer information.
Important: Sprutan säljs utan sprutmunstycken.Om du vill använda sprutan måste du först införskaffa och montera alla munstycken. Kontakta en auktoriserad Toro-återförsäljare för mer information om vilka sektionssatser och tillbehör som finns. När du har monterat munstyckena och ska använda grässprutan för första gången måste du först justera sektionsöverströmningsventilerna så att samma tryck och spruthastighet bibehålls för samtliga sektioner när en eller flera sektioner stängs av. Se Justera sektionens överströmningsventiler.
Delar som behövs till detta steg:
| Fäste för snabbkoppling | 1 |
Note: Utför proceduren genom att införskaffa en slang med ett nationellt fäste (2,5 mm) till en förskruvning för en hanrörgänga (NPT) och PTFE-gängtätning.
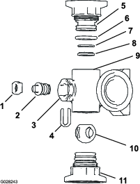
Ta bort de två hårnålssprintarna på den främre, högre sidan av tanklocket som håller fast spärrhakarna för snabbkopplingen till påfyllningsreservoaren med antihävertfunktion (Figur 3).

Lossa snabbkopplingens fäste från snabbkopplingen genom att vrida på spärrhakarna (Figur 3).
Ta bort fästet från snabbkopplingen (Figur 3).
Stäng spärrarna och montera hårnålssprintarna i snabbkopplingens flänsar (Figur 3).
Fäst PTFE-gängtätningen (Figur 4) på slangnippelns gängor (1 tums nationell rörgänga).

Gänga snabbkopplingen på påfyllningsslangen och dra åt för hand (Figur 4).
Important: Om sprutsystemet används och sektionernas gångjärnsfjädrar har fel tryck kan sprutrampsenheten ta skada. Mät fjädrarna och använd vid behov kontramuttern för att trycka samman fjädrarna till 4 cm.
Sprutan levereras med sektionsförlängningarna framåtsvängda för att underlätta leverans av maskinen. För att sektionerna ska kunna transporteras i detta läge dras fjädrarna inte åt helt vid tillverkningen. Ställ in fjädrarnas kompression korrekt innan maskinen används.
Ta bort eventuella förpackningskomponenter som håller vänster och höger förlängningssektioner på plats under transporten.
Stöd sektionerna när de fälls ut till sprutläget.
Mät trycket hos de övre och nedre fjädrarna på sektionsgångjärnen med sektionerna i utfällt läge (Figur 5).
Tryck samman båda fjädrarna tills de mäter 4 cm.
Använd kontramuttern för att trycka ihop fjädrar som mäter mer än 4 cm.

Upprepa proceduren med varje fjäder på sektionens båda gångjärn.
Flytta sektionerna till transportläget ”X”. Se Byta plats på sprutsektionen för mer information.



Gaspedalen (Figur 10) reglerar maskinens rörelse, både framåt och bakåt. Använd tårna eller hälen på höger fot och tryck på pedalens övre del för att köra framåt och på pedalens nedre del för att backa maskinen. Släpp upp pedalen för att sakta ned och stanna maskinen.
Important: Säkerställ att grässprutan står stilla innan du växlar mellan FRAMåT- och BAKåTLäGE.
Note: Ju längre du trycker ned pedalen i ena riktningen, desto snabbare kommer sprutan att förflytta sig. För högsta möjliga hastighet framåt ska du sätta gasreglaget i det SNABBA läget och trycka ned gaspedalen hela vägen framåt.
Note: För att få maximal kraft med en maskin med tung last, eller då du kör uppför en backe, flyttar du gasreglaget till det SNABBA läget samtidigt som du trycker ned gaspedalen något för att behålla ett högt varvtal. När varvtalet börjar sjunka släpper du något på gaspedalen för att låta motorns varvtal öka.

Använd bromspedalen för att stanna eller sakta farten på maskinen (Figur 10).
Om du använder grässprutan trots dåligt justerade eller slitna bromsar, kan du förlora kontrollen över grässprutan och orsaka dig och omkringstående allvarlig skada eller dödsfall.
Kontrollera alltid bromsarna innan du använder grässprutan och håll dem ordentligt justerade och i gott skick.
Parkeringsbromsen är en pedal till vänster om bromsen (Figur 10). Koppla alltid in parkeringsbromsen när du lämnar förarsätet, för att förhindra att grässprutan råkar åka iväg. För att koppla in parkeringsbromsen ska du trycka ned bromspedalen och hålla den nedtryckt samtidigt som du trycker ned parkeringsbromspedalen. Koppla ur parkeringsbromsen genom att trycka ned och släppa upp bromspedalen. Om grässprutan står parkerad i en brant sluttning kopplar du in parkeringsbromsen och blockerar hjulen så att maskinen inte kan rulla nerför sluttningen.
Tändningslåset (Figur 9) används för att starta och stänga av motorn. Det har tre lägen: AV, På/FöRVäRMNING och START.
Hastighetslåset låser gaspedalen i det läge den befinner sig i när låset aktiveras (Figur 11). På så vis körs grässprutan med konstant hastighet när den körs på ett jämnt underlag.

Gasreglaget sitter på kontrollpanelen mellan sätena (Figur 11), och det används för att styra motorns varvtal. För reglaget framåt för att öka motorvarvtalet och dra det bakåt för att minska motorvarvtalet.
Använd denna omkopplare för att slå på och av arbetsbelysningen (Figur 9). För den framåt för att slå på strålkastarna och bakåt för att stänga av dem.
Bränslemätaren visar bränslenivån i tanken och sitter på maskinens instrumentbräda (Figur 9).
Det tvådubbla USB-strömuttaget sitter på armstödets baksida (Figur 12).


Varningslampan för oljetryck tänds om oljetrycket faller under 0,48 bar.
Om maskinen fungerar normalt tänds varningslampan för oljetryck när du vrider tändningslåset till det PåSLAGNA läget, och släcks när motorn är igång.
Varningslampan för kylvätsketemperatur tänds om kylvätsketemperaturen överstiger 102–108 °C.
Varningslampan för batterispänning tänds om generatorspänningen understiger batterispänningen med minst 1,5 V.
Om maskinen fungerar normalt tänds varningslampan för batterispänning när du vrider tändningslåset till det PåSLAGNA läget, och släcks när motorn är igång.
Glödstiftslampan lyser när glödstiftet laddas. Om tändningsnyckeln är i det PåSLAGNA läget lyser glödstiftslampan i sex sekunder medan glödstiftet laddas. När glödstiftslampan slocknar kan du starta motorn.

Tryckmätaren (Figur 14) sitter under instrumentbrädan. Den här mätaren visar sprutsystemets vätsketryck i psi och kPa.
Använd omkopplaren för sprutläget för att växla mellan spruthastighetsläget (sluten slinga) och det manuella läget (öppen slinga).
Spruthastighetsomkopplaren sitter till höger om ratten på instrumentbrädan (Figur 14). Använd spruthastighetsomkopplaren för att reglera sprutpumpshastigheten när grässprutan körs i det manuella läget. Tryck omkopplaren framåt och håll ner den för att öka spruthastigheten (trycket), eller tryck den bakåt och håll ner den för att minska spruthastigheten (trycket).
Sprutpumpomkopplaren sitter på mittkonsolen till höger om sätet (Figur 14). Slå omkopplaren framåt för att sätta igång sprutpumpen eller bakåt för att stoppa pumpen. När en omkopplare är påslagen tänds en lampa på omkopplaren.
Important: Aktivera endast sprutpumpomkopplaren när motorn går på LåG TOMGåNG för att undvika att pumpdrivningen skadas.
Sprutrampssektionernas lyftomkopplare sitter på mittkonsolen till höger om sätet, och används för att höja eller sänka vänster respektive höger sprutrampssektioner (Figur 14).
Huvudsektionsomkopplaren sitter på maskinens mittkonsol. Omkopplaren gör det möjligt att starta och stanna sprutningen. Tryck på knappen om du vill starta eller stänga av sprutsystemet (Figur 14).
De tre sektionsomkopplarna sitter på mittkonsolen framför armstödet (Figur 14). Slå omkopplarna framåt för att slå på motsvarande sektion och bakåt för att slå av dem. En ikon visas överst i InfoCenter när omkopplaren är i det PåSLAGNA läget.
Note: Sprutsystemet påverkas endast av dessa omkopplare om huvudsektionsomkopplaren är i det PåSLAGNA läget.
Omrörningsomkopplaren sitter på mittkonsolen till höger om sätet (Figur 14). Slå omkopplaren framåt för att sätta igång omrörningen i tanken, och bakåt för att stoppa omrörningen. En lampa på omkopplaren börjar lysa när den aktiverats. Kör sprutsystemets pump och motorn på låg tomgång för att använda omrörningsfunktionen.
Omrörningsöverströmningsventilen leder vätskeflödet till sprutsystemets pump när du stänger av omrörningen (Figur 15). Omrörningsöverströmningsventilen sitter ovanför omrörningsventilen. Du kan justera överströmningsventilen så att trycket förblir konstant när du växlar mellan att slå på och av omrörningen. Mer information finns i Kalibrera omrörningsöverströmningsventilen.

Flödesmätaren mäter vätskans flödeshastighet och skickar informationen till InfoCenter-systemet, och den används vid sprutning i spruthastighetsläget (Figur 15).
Spjällventilen för omrörning är en manuell kulventil som reglerar flödet till omrörningsmunstyckena i huvudtanken. Genom att använda den här ventilen kan du reglera sprutsystemets tryck för huvudtankens omrörningsmunstycken då högre spruthastighet krävs. Spjällventilen för omrörning sitter ovanför pumpen (Figur 16).

Sektionernas överströmningsventiler justerar sprutsystemtrycket i sektionsventilerna för att säkerställa konstant tryck i sprutsektionen, oavsett hur många sektioner som används (Figur 17).
Note: Använd överströmningsventilerna när grässprutan används i det manuella läget (öppen slinga).

Med avstängningsventilen för sektionsöverströmning kan du kontrollera vätskeflödet mellan sektionsöverströmningsventilerna och tanken när grässprutan används i det manuella läget (öppen slinga). Se Figur 17.
Note: Stäng avstängningsventilen för sektionsöverströmning när grässprutan används i spruthastighetsläget (sluten slinga).
Framför tanklocket finns en slanganslutning med en gängad koppling, en 90-graderskoppling samt en kort slang som kan riktas direkt mot tanköppningen. Det här uttaget gör att man kan ansluta en vattentank och fylla tanken med vatten utan att förorena slangen med kemikalierna i tanken.
Important: Förläng inte slangen så att den kommer i kontakt med tankvätskorna. Avståndet från slangens ände till den översta vattennivån måste ligga inom de gränsvärden som anges i lokala föreskrifter.

Tanklocket sitter i mitten längst upp på tanken. Öppna locket genom att stänga av motorn och vrida den främre halvan av locket till vänster och fälla upp det. Filtret inuti kan tas bort vid rengöring. Stäng tanken genom att stänga tanklocket och vrida dess främre halva åt höger.
Använd de fem InfoCenter-reglageknapparna under LED-skärmen för att navigera i menyer, ange data och ändra funktioner.

Note: Specifikationer och utformning kan ändras utan föregående meddelande.
| Beskrivning | Mått |
|---|---|
| Grundvikt | 1 307 kg |
| Vikt med tomt standardsprutsystem, utan förare | 1 307 kg |
| Vikt med komplett standardsprutsystem, utan förare | 2 499 kg |
| Fordonets maximala bruttovikt (på plant underlag) | 3 023 kg |
| Tankens kapacitet | 1 135,6 liter |
| Total bredd med standardsprutsystemets sektioner förvarade i X-läge | 226 cm |
| Beskrivning | Mått |
|---|---|
| Total längd med standardsprutsystemet | 391 cm |
| Total längd med standardsprutsystemet högst upp på sektionerna i X-läge | 442 cm |
| Total höjd med standardsprutsystemet | 146 cm |
| Total höjd med standardsprutsystemet högst upp på sektionerna i X-läge | 231 cm |
| Markfrigång | 18,4 cm |
| Hjulbas | 198 cm |
Det finns ett urval av godkända Toro-redskap och -tillbehör som du kan använda för att förbättra och utöka maskinens kapacitet. Kontakta en auktoriserad Toro-återförsäljare.
Använd endast originalreservdelar och tillbehör från Toro för att garantera optimal prestanda och fortlöpande säkerhet för produkten. Det kan vara farligt att använda reservdelar och tillbehör från andra tillverkare och det kan göra produktgarantin ogiltig.
Note: Vänster och höger sida på maskinen är lika med förarens vänstra respektive högra sida vid normal körning.
| Underhållsintervall | Underhållsförfarande |
|---|---|
| Varje användning eller dagligen |
|
Låt aldrig barn eller någon som inte har fått utbildning använda eller utföra underhåll på maskinen. Lokala bestämmelser kan begränsa användarens ålder. Det är ägaren som ansvarar för att utbilda alla förare och mekaniker.
Lär dig hur man använder utrustningen på ett säkert sätt och bekanta dig med manöverreglage och säkerhetsskyltar.
Stäng av motorn, ta ut nyckeln (i förekommande fall) och vänta tills alla rörliga delar har stannat innan du kliver ur förarsätet. Låt maskinen svalna innan du utför service, justerar, rengör eller ställer den i förvar.
Lär dig att stanna maskinen och stänga av motorn snabbt.
Kontrollera att förarkontrollreglage, säkerhetsbrytare och skydd sitter fast och fungerar som de ska. Kör inte maskinen om dessa inte fungerar som de ska.
Om maskinen inte fungerar korrekt eller om den är skadad på något sätt ska du inte använda maskinen. Åtgärda problemet innan maskinen eller redskapet används.
Kontrollera att förar- och passagerarutrymmena är rena och fria från kemikalierester och skräp.
Se till att alla vätskeledningskopplare är åtdragna och att alla slangar är i gott skick innan du tillför tryck till systemet.
Var ytterst försiktig när du hanterar bränsle. Det är brandfarligt och dess ångor är explosiva.
Släck alla cigaretter, cigarrer, pipor och övriga antändningskällor.
Använd endast en godkänd bränslebehållare.
Ta inte bort tanklocket och fyll inte på bränsle i bränsletanken medan motorn är igång eller fortfarande är varm.
Fyll inte på eller tappa ut bränsle från maskinen i ett slutet utrymme.
Förvara inte maskinen eller bränslebehållaren i närheten av en öppen låga, gnista eller tändlåga, t.ex. nära en varmvattenberedare eller någon annan utrustning.
Om du spiller ut bränsle ska du inte försöka att starta motorn. Undvik att skapa några gnistor tills bränsleångorna har skingrats.
De kemiska substanser som används i sprutsystemet kan vara farliga och giftiga för dig, kringstående och djur och de kan skada växter, jorden och annan egendom.
Läs informationen på varje kemikalie. Använd aldrig sprutsystemet om informationen inte finns tillgänglig.
Innan du börjar arbeta med ett sprutsystem måste du se till att systemet har neutraliserats och sköljts ur tre gånger enligt kemikalietillverkarens rekommendationer samt att alla ventiler har genomgått sköljcykeln tre gånger.
Kontrollera att det finns rinnande vatten och tvål i närheten och tvätta omedelbart bort alla kemikalier efter kontakt med huden.
Läs varningsetiketterna och säkerhetsdatabladen för alla kemikalier som används och följ dem noga. Använd skyddsutrustning i enlighet med kemikalietillverkarens rekommendationer.
Var noga med att skydda kroppen när du använder kemikalier. Använd lämplig personlig skyddsutrustning som skyddar om du skulle komma i kontakt med kemikalier, till exempel följande:
skyddsglasögon och/eller ansiktsmask
en kemisk skyddsdräkt
en andningsmask eller filtermask
kemikaliebeständiga handskar
gummistövlar eller andra rejäla skor
ett rent ombyte kläder, tvål och pappershanddukar för rengöring
Se till att ha grundlig utbildning om kemikalierna innan du använder eller hanterar dem.
Använd korrekt kemikalie för arbetet.
Följ kemikalietillverkarens anvisningar för att se till att kemikalierna används på ett säkert sätt. Överskrid inte det rekommenderade trycket för systemet.
Maskinen bör inte fyllas på, kalibreras eller rengöras när andra – särskilt barn – eller husdjur befinner sig i närheten.
Hantera kemikalier på en plats med ordentlig ventilation.
Ät, drick eller rök aldrig när du arbetar nära kemikalier.
Rengör inte sprutmunstycken genom att blåsa i dem eller placera dem i munnen.
Tvätta alltid händerna och andra utsatta kroppsdelar omedelbart efter att du arbetat med kemikalier.
Kemikalier ska förvaras i den ursprungliga förpackningen på ett säkert ställe.
Kasta bort oanvända kemikalier och kemikaliebehållare på lämpligt sätt enligt anvisningarna från kemikalietillverkaren och tillämpliga lokala bestämmelser.
Kemikalier och ångor är farliga – stick aldrig in kroppsdelar i tanken och placera aldrig huvudet över eller i öppningen på tanken.
Följ alla lokala, regionala och nationella bestämmelser för kemikaliebesprutning.
Kontrollera följande vid varje tillfälle innan du börjar använda grässprutan för dagen:
Kontrollera lufttrycket i däcken.
Note: Maskinens däck skiljer sig från andra bildäck, eftersom ett lägre lufttryck krävs för att gräskomprimering och -slitage ska minimeras.
Kontrollera samtliga vätskenivåer och fyll på korrekt mängd av de specificerade vätskorna om du märker att någon nivå är låg.
Kontrollera bromsen.
Kontrollera att lamporna fungerar.
Vrid ratten åt höger och vänster för att kontrollera styrreaktionen.
Stäng av motorn och undersök om det finns oljeläckor, lösa delar eller andra märkbara fel.
Om något av ovanstående inte fungerar korrekt meddelar du din mekaniker eller kontrollerar med din arbetsledare innan du börjar använda grässprutan för dagen. Din arbetsledare kan vilja att du kontrollerar andra föremål dagligen. Ta reda på vilka inspektioner du är skyldig att utföra.
Innan du startar motorn och använder maskinen ska du kontrollera oljenivån i motorns vevhus. Se Kontrollera motoroljan.
Innan du startar motorn och använder maskinen ska du kontrollera kylsystemet. Se Kontrollera kylvätskenivån.
Innan du startar motorn och börjar använda maskinen bör du kontrollera hydraulsystemet. Se Kontrollera hydraulvätskan.
| Underhållsintervall | Underhållsförfarande |
|---|---|
| Varje användning eller dagligen |
|
Kontrollera att lufttrycket i däcken är korrekt. Pumpa däcken till 1,38 bar.
Note: Kontrollera även att däcken inte är slitna eller skadade.
| Underhållsintervall | Underhållsförfarande |
|---|---|
| Varje användning eller dagligen |
|
Tryck lätt på bromspedalen innan du startar grässprutan. Om du kan trycka ned pedalen mer än 2,5 cm innan du känner något motstånd ska du justera bromsarna, se Justera bromsarna.
Om du använder grässprutan trots dåligt justerade eller slitna bromsar, kan du förlora kontrollen över grässprutan och orsaka dig och omkringstående allvarlig skada eller dödsfall.
Kontrollera alltid bromsarna innan du använder grässprutan och håll dem ordentligt justerade och i gott skick.
Important: Köp inte mer bränsle än vad som går åt inom 180 dagar, så är det garanterat färskt.
Note: Motorn kan behöva bränsle med ett högre cetantal om du använder maskinen på hög höjd eller i temperaturer med lågt atmosfäriskt tryck.
Använd aldrig fotogen eller bensin istället för dieselbränsle.
Blanda aldrig fotogen eller använd motorolja med dieselbränslet.
Använd endast ren, färsk diesel eller biobränslen.
| Dieselbränsle med minimicetantal 40. |
| Använd dieselbränsle med låg eller mycket låg svavelhalt. |
| Använd för sommarbruk (nr 2-D) vid temperaturer över −7 °C och diesel för vinterbruk (nr 1-D eller blandning av nr 1-D/2-D) under −7 °C. |
Note: Användning av bränsle för vinterbruk vid lägre temperaturer ger lägre flampunkts- och flytpunktsegenskaper, vilket gör att maskinen startar lättare och bränslefiltret inte sätts igen i lika hög grad.
Om diesel för sommarbruk används vid temperaturer över −7 °C bidrar det till att pumpen håller längre och har större effekt jämfört med bränsle för vinterbruk.
| Använd en biobränsleblandning, upp till B20 (20 % biobränsle, 80 % petrodiesel). |
| Andelen med petroleumdiesel ska ha en låg eller mycket låg svavelhalt. |
| Bränslets biobränsleandel måste uppfylla någon av specifikationerna ASTM D6751 eller SS-EN 14214. Bränsleblandningens sammansättning ska uppfylla kraven i ASTM D975 eller SS-EN 590. |
| Använd B5 (andel biobränsle är 5 %) eller blandningar med lägre biobränsleandel vid kallt väder. |
Vidta följande säkerhetsåtgärder:
Vid byte till biobränsle kan bränslefiltret sättas igen efter en tid.
Kontrollera alla tätningar, slangar och packningar som kommer i kontakt med bränslet, eftersom de kan försämras med tiden.
Biobränsleblandningar kan skada lackade ytor.
Kontakta en återförsäljare om du vill ha mer information om biobränslen.
Bränsletankskapacitet: cirka 45 l.
Parkera maskinen på ett plant underlag, koppla in parkeringsbromsen, stäng av sprutpumpen, stäng av motorn, ta ut nyckeln och låt motorn svalna.
Rengör området runt tanklocket (Figur 20).

Ta av tanklocket.
Fyll på tanken till högst 2,5 cm under tankens kant (undre kanten på påfyllningsröret).
Note: Det tomma luftutrymmet behövs för bensinens expansion. Överfyll inte tanken.
Montera locket ordentligt på tanken.
Torka upp eventuellt utspillt bränsle.
| Underhållsintervall | Underhållsförfarande |
|---|---|
| Efter de första 100 timmarna |
|
Kontrollera vätske- och motoroljenivåerna regelbundet och se upp för tecken på överhettning i grässprutans olika delar.
Låt motorn värma upp i cirka 15 sekunder innan du accelererar efter kallstart.
Varva inte upp motorn i onödan.
Variera grässprutans hastighet under arbetets gång. Undvik snabba starter och stopp.
Se för eventuella särskilda kontroller vid låganvändning.
Note: Mer information finns i munstycksguiden som finns tillgänglig hos din auktoriserade Toro-återförsäljare.
Munstyckstornen kan hantera upp till tre olika munstycken. Så här väljer du önskat munstycke:
Stanna grässprutan på ett plant underlag, stäng av motorn, ta ut nyckeln och koppla in parkeringsbromsen.
Stäng AV huvudsektionsomkopplaren och stäng sedan AV sprutpumpomkopplaren.
Vrid munstyckstornet i någon riktning till det rätta munstycket.
Utför en flödeskalibrering för maskiner som används i spruthastighetsläget. Se programhandboken för Multi Pro 5800-D- och 5800-G-grässprutor med sprutsystemet ExcelaRate.
Standardutrustning: sugfilter, maskvidd 50 (blått)
Använd sugfiltertabellen för att identifiera skärmnätet för de sprutmunstycken som du använder, baserat på kemiska produkter eller lösningar med en viskositet som motsvarar vatten.
| Sprutmunstyckesfärgkod (flödeshastighet) | Skärmnätets maskstorlek* | Filterfärgkod |
|---|---|---|
| Gul (0,2 gal/m) | 50 | Blå |
| Röd (0,4 gal/m) | 50 | Blå |
| Brun (0,5 gal/m) | 50 (eller 30) | Blå (eller grön) |
| Grå (0,6 gal/m) | 30 | Grön |
| Vit (0,8 gal/m) | 30 | Grön |
| Blå (1,0 gal/m) | 30 | Grön |
| Grön (1,5 gal/m) | 30 | Grön |
| * Sugfiltrens maskstorlek i den här tabellen baseras på sprutkemikalier eller lösningar med en viskositet som motsvarar vatten. | ||
Important: När du sprutar med kemiska produkter med högre viskositet (tjockare) eller lösningar med slampulver kan du behöva använda ett grövre skärmnät för sugfiltertillvalet. Se Figur 21.

När du sprutar i en högre spruthastighet kan du överväga att använda ett grövre tillvalsnät för sugfiltret. Se Figur 22.

Tillgängliga siktstorlekar:
Standardutrustning: sugfilter, maskvidd 50 (blått)
Använd tryckfiltertabellen för att identifiera skärmnätet för de sprutmunstycken som du använder, baserat på kemiska produkter eller lösningar med en viskositet som motsvarar vatten.
| Sprutmunstyckesfärgkod (flödeshastighet) | Skärmnätets maskstorlek* | Filterfärgkod |
|---|---|---|
| Krävs för kemikalier eller lösningar med låg viskositet eller låga spruthastigheter | 100 | Grön |
| Gul (0,2 gal/m) | 80 | Gul |
| Röd (0,4 gal/m) | 50 | Blå |
| Brun (0,5 gal/m) | 50 | Blå |
| Grå (0,6 gal/m) | 50 | Blå |
| Vit (0,8 gal/m) | 50 | Blå |
| Blå (1,0 gal/m) | 50 | Blå |
| Grön (1,5 gal/m) | 50 | Blå |
| Krävs för kemikalier eller lösningar med hög viskositet eller höga spruthastigheter | 30 | Röd |
| Krävs för kemikalier eller lösningar med hög viskositet eller höga spruthastigheter | 16 | Brun |
| * Tryckfiltrens maskstorlek i den här tabellen baseras på sprutkemikalier eller lösningar med en viskositet som motsvarar vatten. | ||
Important: När du sprutar med kemiska produkter med högre viskositet (tjockare) eller lösningar med slampulver kan du behöva använda ett grövre skärmnät för tryckfiltertillvalet. Se Figur 23.

När du sprutar i en högre spruthastighet kan du överväga att använda ett grövre tillvalsnät för tryckfiltret. Se Figur 24.

Note: Det extra munstycksspetsfiltret skyddar sprutmunstyckets spets och förlänger dess livslängd.
Använd tabellen för munstycksspetsfilter för att identifiera skärmnätet för de sprutmunstycken som du använder, baserat på kemiska produkter eller lösningar med en viskositet som motsvarar vatten.
| Sprutmunstyckesfärgkod (flödeshastighet) | Filternätmaskstorlek* | Filterfärgkod |
|---|---|---|
| Gul (0,2 gal/m) | 100 | Grön |
| Röd (0,4 gal/m) | 50 | Blå |
| Brun (0,5 gal/m) | 50 | Blå |
| Grå (0,6 gal/m) | 50 | Blå |
| Vit (0,8 gal/m) | 50 | Blå |
| Blå (1,0 gal/m) | 50 | Blå |
| Grön (1,5 gal/m) | 50 | Blå |
| * Munstyckesfiltrens maskstorlek i den här tabellen baseras på sprutkemikalier eller lösningar med en viskositet som motsvarar vatten. | ||
Important: När du sprutar med kemiska produkter med högre viskositet (tjockare) eller lösningar med slampulver kan du behöva använda ett grövre skärmnät för spetsfiltertillvalet. Se Figur 25.

När du sprutar i en högre spruthastighet kan du överväga att använda ett grövre spetsfilternät. Se Figur 26.

Important: Använd inte återvunnet vatten (gråvatten) i färskvattentanken.
Note: Färskvattentanken används för att leverera färskvatten så att du snabbt kan skölja av kemikalier från hud, ögon eller andra delar som kan vara i fara vid en olycka.
Fyll alltid på färskvattentanken med rent vatten innan du hanterar eller blandar kemikalier.
Fyll tanken genom att skruva av locket ovanpå tanken, fyll på med färskvatten och sätt tillbaka locket (Figur 27).
Vrid reglaget på pluggen för att öppna pluggen till färskvattentanken (Figur 27).

Montera satsen för färdigblandning av kemikalier (tillval) så att du får optimal blandning samtidigt som tankens utsida hålls ren och snygg.
Important: Använd om möjligt inte återvunnet vatten (gråvatten) i spruttanken.
Important: Kontrollera att de kemikalier du använder är förenliga med Viton™ (det bör framgå om kemikalien är förenlig eller ej på tillverkarens etikett). Om du använder en kemikalie som inte är förenlig med Viton försämras o-ringarna i grässprutan och läckor uppstår.
Important: Markeringarna för tankvolym är endast till för referens och är inte tillräckligt exakta för kalibrering.
Stanna maskinen på ett plant underlag, stäng av motorn, ta ut nyckeln och koppla in parkeringsbromsen.
Avgör hur mycket vatten som behövs för att blanda den nödvändiga mängden kemikalier enligt kemikalietillverkarens anvisningar.
Öppna tanklocket på grässprutans tank.
Note: Tanklocket sitter i mitten längst upp på tanken. Öppna locket genom att vrida dess främre halva moturs och vrida upp det. Du kan ta bort filtret under tanklocket och rengöra silen.
Montera påfyllningsslangen vid snabbkopplingen för påfyllningsreservoaren med antihävertfunktion.
Tillsätt tre fjärdedelar av den vattenvolym som krävs i grässprutans tank (Figur 28).
Important: Använd alltid färskt, rent vatten i grässprutans tank. Tillsätt aldrig ett koncentrat i en tom tank.

Starta motorn, koppla in parkeringsbromsen, slå På sprutpumpomkopplaren och för gasreglaget till HöG TOMGåNG.
Sätt omrörningsomkopplaren i det PåSLAGNA läget.
Important: Innan du tillför slampulver i ett Toro-sprutsystem ska du använda en lämplig behållare och lösa upp pulvret i så mycket vatten att ett rinnande slam bildas. Om du inte gör detta kan följden bli kemikalieavlagringar i botten av tanken, sämre omrörning, igensatta filter och felaktiga spruthastigheter.Toro rekommenderar att du använder maskinens godkända ejektorsats. Kontakta en auktoriserad Toro-återförsäljare för mer information.
Tillsätt rätt mängd koncentrerade kemikalier i tanken enligt anvisningarna från kemikalietillverkaren.
Tillsätt resten av vattnet till tanken, ta bort påfyllningsslangen och stäng tanklocket.
Note: Stäng tanken genom att stänga tanklocket och vrida dess främre halva medsols.
Important: Kontrollera tankremmarnas spel när du har fyllt tanken för första gången. Dra åt dem vid behov.
| Underhållsintervall | Underhållsförfarande |
|---|---|
| Varje användning eller dagligen |
|
Important: Om tankremmarnas fästelement dras åt för hårt kan tanken och remmarna deformeras och skadas.
Important: Använd om möjligt inte återvunnet vatten (gråvatten) i spruttanken.
Fyll huvudtanken med vatten.
Kontrollera om det finns något spel mellan tankremmarna och tanken (Figur 29).

Om tankremmarna sitter löst mot tanken drar du åt flänslåsmuttrarna och skruvarna upptill på remmarna tills remmarna sitter tätt mot tanken (Figur 29).
Note: Dra inte åt tankremmarnas fästelement för hårt.
Important: Om du använder spruthastighetsläget måste du sätta överströmningsventilerna i det stängda läget.
Important: Använd helst inte återvunnet vatten (gråvatten) i spruttanken.
Om du använder sprutan för första gången, när du byter munstycken eller om behov uppstår ska du kalibrera sprutflödet, spruthastigheten och ställa in sektionens överströmningsventil.
Important: Välj ett öppet och plant område för att göra detta.
Fyll halva sprutans tank med rent vatten.
Sänk sprutsektionerna.
Lägg i parkeringsbromsen.
Sätt sprutreglaget i manuellt läge.
Slå På de tre sektionsomkopplarna, men behåll huvudsektionsomkopplaren i det AVSTäNGDA läget.
Slå På sprutpumpomkopplaren och starta omrörningen.
Gå till InfoCenter, navigera till kalibreringskärmen och välj alternativet för testhastighet. Se anvisningarna i avsnittet om testhastighetssimulering i programhandboken för grässprutorna Multi Pro 5800-D och 5800-G med ExcelaRate-sprutsystem.
Tryck på knapparna 3 eller 4 för att öka eller minska den simulerade hastigheten till 5,6 km/h.
Tryck på knapp 4 för att slå På testhastighetssimuleringen.
Tryck på knapp 5 för att spara och stänga skärmen för TESTHASTIGHET.
Justera spruthastigheten med omkopplaren för spruthastighet enligt följande tabell:
| Färg på munstycke | SI (metriskt) | Engelska | Turf |
| Gul | 159 l/ha | 17 gpa | 0,39 gpk |
| Röd | 319 l/ha | 34 gpa | 0,78 gpk |
| Brun | 394 l/ha | 42 gpa | 0,96 gpk |
| Grå | 478 l/ha | 51 gpa | 1,17 gpk |
| Vit | 637 l/ha | 68 gpa | 1,56 gpk |
| Blå | 796 l/ha | 85 gpa | 1,95 gpk |
| Grön | 1,190 l/ha | 127 gpa | 2,91 gpk |
Stäng av omkopplaren för vänstersektionen och justera sektionens överströmningsvred (Figur 30) tills värdet som visas når föregående nivå i tabellen.
Note: De sifferförsedda indikatorerna på överströmningsvredet och nålen är endast för referens.

Sätt på omkopplaren för den vänstra sektionen och stäng av omkopplaren för den högra.
Justera den högra sektionens överströmningsvred (Figur 30) tills värdet av föregående nivå visas, enligt tabellen.
Sätt på omkopplaren för den högra sektionen och stäng av omkopplaren för mittsektionen.
Justera mittsektionens överströmningsvred (Figur 30) tills värdet som visas når föregående nivå i tabellen.
Stäng av huvudsektionsomkopplaren.
Stäng av sprutpumpen.
| Underhållsintervall | Underhållsförfarande |
|---|---|
| Årligen |
|
Important: Använd om möjligt inte återvunnet vatten (gråvatten) i spruttanken.
Välj ett öppet och plant område för att göra detta.
Fyll sprutans tank halvvägs med rent vatten.
Kontrollera att överströmningsventilen för omrörning är öppen.
Note: Om den har justerats ska du öppna den helt och hållet den här gången.
Lägg i parkeringsbromsen och starta motorn.
Ange manuellt läge med hjälp av sprutlägesknappen, se Sprutning i det manuella läget.
Slå På pumpomkopplaren och omrörningsomkopplaren.
Slå AV huvudsektionsomkopplaren.
För gasreglaget till det SNABBA läget.
Använd spruthastighetsomkopplaren för att justera sprutsystemets tryck till 6,89 bar.
Slå AV omrörningsomkopplaren och läs av tryckmätaren.
Om tryckmätaren fortfarande visar 6,89 bar har omrörningsöverströmningsventilen kalibrerats korrekt.
Om det avlästa värdet på tryckmätaren är ett annat fortsätter du med nästa steg.
Justera omrörningsöverströmningsventilen (Figur 32) på baksidan av omrörningsventilen tills mätaren för sprutans systemtryck visar 6,89 bar.

Slå AV sprutpumpomkopplaren.
För gasreglaget till TOMGåNG/LåNGSAMT läge och vrid nyckelbrytaren till det AVSTäNGDA läget.
Sprutpumpen sitter nära tankens baksida, på vänster sida (Figur 33).

Ägaren/operatören kan förebygga och ansvarar för olyckor som kan ge upphov till personskador eller skador på egendom.
Använd lämpliga kläder, inklusive ögonskydd, långbyxor, rejäla och halkfria skor samt hörselskydd. Sätt upp långt hår och använd inte hängande smycken eller löst sittande kläder.
Använd lämplig personlig skyddsutrustning enligt anvisningarna i avsnittet Kemikaliesäkerhet.
Håll koncentrationen helt på maskinen när du använder den. Ägna dig inte åt aktiviteter som kan distrahera dig, eftersom personskador eller skador på egendom då kan uppstå.
Kör inte maskinen om du är sjuk, trött eller påverkad av alkohol eller läkemedel.
Tillåt högst en passagerare på maskinen. Passageraren får endast sitta på den avsedda sittplatsen.
Använd endast maskinen om du har god sikt. Undvik gropar och dolda faror.
Innan du startar motorn ska du säkerställa att du sitter i förarsätet, att växelspaken är i NEUTRALLäGET (manuell) eller PARKERINGSLäGET (automatisk) och att parkeringsbromsen är inkopplad.
Sitt ner så länge maskinen är i rörelse. Håll bägge händerna på ratten när detta är möjligt och håll alltid armar och ben innanför operatörsutrymmet.
Var försiktig när du närmar dig hörn med skymd sikt, buskage, träd eller andra objekt som kan försämra sikten.
Titta bakåt och försäkra dig om att ingen finns bakom dig innan du backar. Backa långsamt.
Använd inte sprutan om människor, särskilt barn, eller sällskapsdjur befinner sig i närheten.
Kör inte maskinen i närheten av stup, diken eller flodbäddar. Maskinen kan välta plötsligt om ett hjul kör över en kant eller kanten ger med sig.
Sänk hastigheten när du kör i ojämn terräng eller mark samt nära trottoarkanter, hål och andra plötsliga terrängförändringar. Lasten kan glida och göra maskinen ostadig.
Stanna maskinen, stäng av motorn, ta ut nyckeln, koppla in parkeringsbromsen och undersök maskinen om du kör på ett föremål eller om den vibrerar på ett onormalt sätt. Reparera alla skador innan du börjar köra maskinen igen.
Sakta ned och var försiktig när du svänger och korsar vägar och trottoarer med maskinen. Lämna alltid företräde.
Vara extra försiktig när du kör maskinen på vått underlag, under svåra väderförhållanden, i högre hastigheter eller med full last. Bromstiden och bromssträckan ökar under sådana förhållanden.
Rör inte motorn eller ljuddämparen medan motorn är igång eller kort efter att den har stängts av. Dessa delar kan vara så heta att de kan orsaka brännskador.
Gör följande innan du kliver ur förarsätet:
Parkera maskinen på ett plant underlag.
Flytta gaspedalen till NEUTRALLäGET.
Koppla in parkeringsbromsen.
Stäng av motorn och ta ut nyckeln (i förekommande fall).
Vänta tills alla rörliga delar har stannat.
Låt aldrig motorn gå i ett utrymme där avgaser inte kan komma ut.
Använd inte maskinen om det föreligger risk för blixtnedslag.
Använd endast tillbehör och redskap som har godkänts av Toro.
Note: Alla maskiner som beskrivs i den här bruksanvisningen har en hytt med vältskydd.
Ta inte bort vältskyddet från maskinen.
Spänn fast säkerhetsbältet och se till så att du kan knäppa upp det snabbt i en nödsituation. Använd alltid säkerhetsbältet.
Var mycket uppmärksam på hinder som kan finnas ovanför dig och vidrör dem inte.
Håll vältskyddet i säkert bruksskick genom att regelbundet inspektera det noga och kontrollera att det inte är skadat, samt hålla alla fästelement åtdragna.
Underhåll och rengör säkerhetsbälten vid behov.
Byt ut skadade vältskyddskomponenter. Reparera eller ändra det inte.
Sluttningar är en betydande faktor vid olyckor som orsakas av att föraren förlorat kontrollen eller att maskinen välter, vilket kan innebära livsfara eller leda till allvarliga personskador. Du ansvarar för säker drift i sluttningar. Om du kör maskinen i en sluttning måste du vara extra försiktig.
Gå igenom instruktionerna för körning av maskinen i sluttningar i bruksanvisningen för att fastställa om maskinen kan användas under de förhållanden som råder på den arbetsplatsen den aktuella dagen. Förändringar i terrängen kan leda till att maskinens manövrering i sluttningar förändras.
Gör en bedömning om sluttningen är säker för körning av maskinen, bland annat genom att undersöka hela arbetsplatsen. Använd alltid sunt förnuft och gott omdöme när du utför kontrollen.
Undvik att starta, stänga av eller svänga med maskinen i sluttningar. Kör endast upp och ned för sluttningar. Undvik att göra plötsliga ändringar i hastighet eller riktning. Om du måste svänga så gör det om möjligt långsamt och gradvis nedför. Var försiktig när du backar maskinen.
Använd inte maskinen när du är osäker på hjuldrivning, styrning eller stabilitet.
Avlägsna eller märk ut hinder såsom diken, hål, fåror, gupp, stenar och andra dolda faror. Det kan finnas dolda hinder i högt gräs. Ojämn terräng kan göra att maskinen välter.
Observera att om du kör maskinen på våt mark, tvärs över sluttningar eller nedför en sluttning kan maskinen förlora dragkraft. Om hjulen tappar dragkraft kan detta leda till att maskinen slirar och att du förlorar kontrollen över bromsning och styrning.
Var mycket försiktig när du använder maskinen nära stup, diken, flodbäddar, vattendrag eller andra faror. Maskinen kan välta plötsligt om ett hjul kör över en kant eller kanten ger med sig. Håll ett säkert avstånd mellan maskinen och riskfyllda områden.
Var extra försiktig när du kör maskinen med redskap – de kan påverka maskinens stabilitet.
Om du får motorstopp eller börjar förlora fart när du kör uppför en sluttning ska du gradvis lägga i bromsarna och långsamt backa rakt nedför sluttningen.
Ha alltid en växel ilagd (om tillämpligt) när du kör maskinen nedför en sluttning.
Parkera inte maskinen i en sluttning.
Materialnivån i tanken kan ändra maskinens driftsegenskaper. Följ dessa riktlinjer för att undvika förlust av kontrollen samt personskador:
Vid körning med tung last ska du sänka hastigheten och beräkna tillräcklig bromssträcka. Tvärbromsa inte. Var extra försiktig i sluttningar.
Vätskan åker oftast omkring i svängar vid körning uppför och nedför sluttningar, vid plötsliga hastighetsförändringar eller vid körning på ojämnt underlag. Glidande laster kan få maskinen att välta.
Sitt i förarsätet och håll foten borta från gaspedalen.
Kontrollera att följande har utförts:
Lägg i parkeringsbromsen.
Gaspedalen är i NEUTRALLäGET.
Sprutpumpen stängs av.
Gasreglaget är i det LåNGSAMMA läget.
Vrid brytaren till På/FöRVäRMNING.
Note: En automatisk timer styr förvärmningen i cirka 6 sekunder.
Efter förvärmningen vrider du nyckeln till STARTLäGET.
Försök inte starta motorn i mer än 15 sekunder.
Släpp nyckeln när motorn startar.
Vrid nyckeln till AV och sedan till På/FöRVäRMNING om det behövs ytterligare förvärmning av motorn.
Note: Upprepa steg 3 t.o.m. 7 efter behov.
Kör motorn på TOMGåNG eller endast med en del gas tills den är uppvärmd.
Frigör parkeringsbromsen och tryck gaspedalen framåt för att köra maskinen framåt, eller tryck gaspedalen bakåt för att backa maskinen.
Important: Se till att grässprutan står stilla innan du växlar mellan FRAMåT- och BAKåTLäGE.
Släpp upp gaspedalen för att långsamt stanna maskinen.
Note: Gaspedalen återgår till NEUTRALLäGET.
Tryck ned bromspedalen för att stanna snabbt.
Note: Maskinens bromssträcka kan variera beroende på spruttankens last och maskinens hastighet.
Om du trycker på hastighetslåset och inte har foten på gaspedalen kan traktorenheten plötsligt stanna och göra att du tappar kontrollen över den och kanske skadar dig själv eller kringstående.
Se till att du har foten på gaspedalen när du kopplar ur hastighetslåset.
Slå På sprutpumpomkopplaren för att starta sprutpumpen. Se Sprutpumpomkopplare.
Kör framåt och uppnå önskad hastighet. Se Köra maskinen.
Note: Hastighetslåset kan aktiveras först när maskinen körs i en lägre hastighet än 11 km/h.
Tryck på hastighetslåsets övre del.
Note: Lampan på omkopplaren tänds.
Ta bort foten från gaspedalen.
Note: Grässprutan håller den hastighet som du ställer in.
För att frigöra hastighetslåset ska du antingen sätta foten på gaspedalen och trycka på den nedre delen av omkopplaren, eller ta bort foten från gaspedalen och trycka på bromspedalen.
Note: Lampan på omkopplaren slocknar och gaspedalen återfår kontrollen över drivningen.
För alla reglage till NEUTRALLäGET.
Trampa ner bromsen för att stanna grässprutan.
Koppla in parkeringsbromsen.
För gasreglaget till TOMGåNG/LåNGSAMT läge.
Vrid nyckeln till det AVSTäNGDA läget.
Ta ut nyckeln ur tändningslåset för att förhindra att någon råkar starta motorn av misstag.
När du ska använda Multi Pro®-sprutan ska du först fylla tanken, sedan spruta produktmixen på arbetsytan och slutligen rengöra tanken och sprutsystemet. Det är viktigt att du avslutar samtliga av dessa tre steg i nämnd ordning för att undvika att skada grässprutan. Du bör till exempel inte blanda och tillföra kemikalier i spruttanken på natten och spruta följande morgon. Detta leder till att kemikalierna separeras och grässprutans delar eventuellt skadas.
Kemikalier är farliga och kan orsaka personskador.
Läs anvisningarna på kemikaliebehållarnas etiketter innan du hanterar kemikalierna och följ samtliga av tillverkarens rekommendationer och föreskrifter.
Håll kemikalier borta från huden. Vid hudkontakt, skölj det utsatta området ordentligt med rent vatten och tvål.
Använd lämplig personlig skyddsutrustning enligt kemikalietillverkarens anvisningar.
Multi Pro®-sprutan är specialkonstruerad för hög hållbarhet, vilket ger sprutan en lång livslängd. För att uppnå detta mål har olika material av specifika skäl valts ut för de olika delarna på grässprutan. Tyvärr finns det inte något material som ensamt är perfekt för alla tänkbara användningsområden.
Vissa kemikalier är aggressivare än andra, och alla kemikalier reagerar olika med olika material. Vissa konsistenser (t.ex. slampulver och kol) är mer slipande än andra och leder till större slitage. Om en kemikalie finns tillgänglig i en blandning som skulle ge ökad livslängd åt grässprutan, ska du använda denna blandning.
Kom alltid ihåg att noggrant rengöra grässprutan och sprutsystemet efter varje användning. På så sätt ser du till att grässprutan får en lång och bekymmersfri brukningstid.
Note: Läs bruksanvisningen till sprutkontrollsystemet om du har frågor eller behöver mer information.
I programhandboken för grässprutorna Multi Pro 5800-D och 5800-G med ExcelaRate-sprutsystem finns information om följande:
Före körning
InfoCenter-startskärm
Huvudmenyskärm
Huvudmenyns underordnade skärmar
Serviceskärmar
Diagnostikskärmar
Om skärmar
Under arbetets gång
Ange jobbinformation
InfoCenter-skärmar för sprutyta
Meddelanden i InfoCenter
I programhandboken för grässprutorna Multi Pro 5800-D och 5800-G med ExcelaRate-sprutsystem finns information om följande rutiner:
Important: Använd omrörningsfunktionen när det finns lösning i tanken för att se till att produkten alltid är ordentligt blandad.
Kontrollera att sprutsystemet är kalibrerat för de utvalda sprutmunstyckena. Mer information finns i programhandboken för grässprutorna Multi Pro 5800-D och 5800-G med ExcelaRate-sprutsystem.
Sätt avstängningsventilen för sektionsöverströmning i det stängda läget genom att vrida på vredet (Figur 34).

Ange spruthastighetsläget med hjälp av sprutlägesknappen (Figur 35).

Flytta grässprutan till det område av gräsmattan som ska besprutas.
Om du vill samla in data om besprutad yta och volym som sprutats väljer du en skärm för underyta (underytor 1–20) för att spara den specifika yt- och volyminformationen. Se avsnittet om att använda skärmen för underyta i programhandboken för grässprutorna Multi Pro 5800-D och 5800-G med ExcelaRate-sprutsystem.
Note: Om du byter arbetsområde måste du även välja en annan skärm för underyta för att spara den specifika yt- och volyminformationen.
Om du vill växla mellan 1 och 2 som aktivt värde går du till InfoCenter-startskärmen och trycker samtidigt på knapp 1 och 2 för att välja VäRDE 1 eller på knapp 4 och 5 för att välja VäRDE 2. Se anvisningarna i programhandboken för grässprutorna Multi Pro 5800-D och 5800-G med ExcelaRate-sprutsystem.
Slå På omkopplarna för sprutsektionerna (Figur 36).

Slå På omrörningsomkopplaren och sprutpumpomkopplaren (Figur 37).

För gasreglaget till det SNABBA läget (Figur 37).
Kör i önskad hastighet och slå På huvudsektionsomkopplaren för att börja spruta (Figur 36).
Note: Starta och stoppa flödet av kemikalier till de utvalda sprutsektionerna med hjälp av huvudsektionsomkopplaren.
Stäng AV huvudsektionsomkopplaren efter avslutad besprutning för att stänga av samtliga sprutsektioner. Stäng sedan AV sprutpumpomkopplaren.
Note: Höj de yttre sprutsektionerna till transportläget och kör grässprutan till rengöringsplatsen.
Important: När du ska köra grässprutan från ett sprutområde till ett annat, eller till en förvarings- eller rengöringsplats, ska du alltid höja sprutrampssektionerna tills de har förflyttat sig hela vägen in i transporthållaren och befinner sig i transportläget ”X”. Se även till att lyftcylindrarna är helt indragna.
Note: Den här proceduren förutsätter att sprutpumpen är påslagen. Se Figur 37 i Sprutning i spruthastighetsläget.
Kontrollera att sprutsystemet är anpassat för de valda sprutmunstyckena. Se Kalibrera omrörningsöverströmningsventilen.
Ange manuellt läge med hjälp av sprutlägesknappen (Figur 38).

Stäng AV huvudsektionsomkopplaren. Se Figur 36 i Sprutning i spruthastighetsläget.
För gasreglaget till den hastighet du vill använda för sprutning. Se Figur 37 i Sprutning i spruthastighetsläget.
Kör till området som ska besprutas.
Sänk sektionerna till rätt läge.
Slå På de enskilda sektionsomkopplarna (efter behov). Se Figur 36 i Sprutning i spruthastighetsläget.
Använd spruthastighetsomkopplaren för att erhålla önskat tryck enligt anvisningarna i munstycksguiden som medföljer grässprutan (Figur 39).

Kör i önskad hastighet och slå På huvudsektionsomkopplaren för att börja spruta. Se Figur 36 i Sprutning i spruthastighetsläget.
Note: När tanken är nästan tom, kan omrörningen orsaka skumbildning i tanken. Om det händer ska du vrida omrörningsomkopplaren till det AVSTäNGDA läget. Alternativt kan man använda ett medel som förhindrar skumbildning i tanken.
Stäng AV huvudsektionsomkopplaren efter avslutad besprutning för att stänga av samtliga sektioner. Stäng sedan AV sprutpumpomkopplaren.
Note: Låt sektionerna återgå till transportläget och kör grässprutan till rengöringsplatsen.
Important: När du ska köra grässprutan från ett sprutområde till ett annat, eller till en förvarings- eller rengöringsplats, ska du alltid höja sektionerna tills de har förflyttat sig hela vägen in i transporthållaren och befinner sig i transportläget ”X”. Se även till att sektionscylindrarna är helt indragna.
Obligatorisk, ej medföljande utrustning: en graderad vätskebehållare (en behållare med 0,01 ml är att föredra) och ett stoppur.
Important: Använd helst inte återvunnet vatten (gråvatten) i spruttanken.
Kontrollera att grässprutans tank är ren. Se Rengöra sprutsystemet.
Fyll grässprutans tank med minst 568 liter färskvatten. Se Fylla på grässprutans tank.
Kontrollera att munstyckena som testas är i det aktiva sprutläget (nedåt).
Om maskinen används i spruthastighetsläget måste du kontrollera att vredet för avstängningsventilen för sektionsöverströmning är i stängt läge (Figur 40).

Om maskinen används i spruthastighetsläget måste du kontrollera att avstängningsventilen för sektionsöverströmning är stängd (Figur 40).
Lägg i parkeringsbromsen och starta motorn.
Note: Låt motorn värma upp i tio minuter.
Om maskinen används i spruthastighetsläget följer du stegen i avsnittet om att använda testhastigheten i programhandboken för grässprutorna Multi Pro 5800-D och 5800-G med ExcelaRate-sprutsystem.
Note: Ange en simulerad testhastighet på mellan 4 och 14 km/h.
Slå På omkopplarna för de sprutsektioner som ska testas.
För gasreglaget till det SNABBA läget.
Slå På huvudsektionsomkopplaren.
Gör ett uppsamlingsprov på 15 sekunder vid ett av de aktiva sprutmunstyckena.

Stäng av huvudsektionsomkopplaren, för gasreglaget till det långsamma läget, stäng av sprutpumpen och stäng av motorn.
Ställ den graderade behållaren på ett plant underlag och notera vätskevolymen (Figur 42).
Important: Den graderade behållaren måste stå på ett plant underlag vid mätning.
Important: Notera vätskevolymen vid den lägsta punkten på vätskeytans krökning i den graderade behållaren.
Important: Felaktig avläsning av vätskevolymen (även mindre mätfel) påverkar sprutkalibreringens noggrannhet avsevärt.

Jämför vattenvolymen i den graderade behållaren med munstyckesvolymen i tabellen för uppsamlingsprovet på 15 sekunder.
| Färg på munstycke | Milliliter som samlats upp inom 15 sekunder | Uns som samlats upp inom 15 sekunder |
| Gul | 189 | 6,4 |
| Röd | 378 | 12,8 |
| Brun | 473 | 16,0 |
| Grå | 567 | 19,2 |
| Vit | 757 | 25,6 |
| Blå | 946 | 32,0 |
| Grön | 1 419 | 48,0 |
Om vätskenivån i den graderade behållaren över- eller understiger munstyckesvolymen i tabellen för uppsamlingsprovet på 15 sekunder med 7,4 ml, gör du något av följande:
Gör en flödeskalibrering eller byt ut slitna munstycken och gör en flödeskalibrering. Mer information om flödeskalibrering finns i programhandboken för grässprutorna Multi Pro 5800-D och 5800-G med ExcelaRate-sprutsystem.
Kalibrera omrörningsöverströmningsventilen eller byt ut slitna munstycken och kalibrera sedan omrörningsöverströmningsventilen. Se Kalibrera omrörningsöverströmningsventilen.
Med hjälp av sprutrampssektionernas lyftomkopplare på grässprutans kontrollpanel kan du flytta de yttre sprutsektionerna mellan transportläge och sprutläge utan att behöva lämna förarsätet. Stanna om möjligt maskinen innan du byter plats på sprutsektionerna.
Utför följande steg för att flytta de yttre sprutsektionerna till SPRUTläget:
Parkera maskinen på ett plant underlag.
Sänk de yttre sektionerna med hjälp av sprutrampssektionernas lyftomkopplare.
Note: Vänta tills de yttre sprutsektionerna befinner sig i helt utfällt sprutläge.
Slutför sprutjobbet och utför sedan följande steg för att dra in de yttre sprutsektionerna till transportläget:
Important: Om maskinen är utrustad med ett ramphölje för avdrivningsminskning, en utjämningssats för Ultra Sonic Boom, eller båda, ska du flytta de yttre sprutsektionerna till transportläget en åt gången.Om maskinen är utrustad med ett hölje eller en utjämningssats och du flyttar de två yttre sprutsektionerna samtidigt kan det leda till skador på skydden, sensorerna eller båda.
Parkera maskinen på ett plant underlag.
Använd sprutrampssektionernas lyftomkopplare för att höja de yttre sprutsektionerna tills de har förflyttat sig hela vägen in i sprutrampssektionernas transporthållare och befinner sig i X-läge för transport och lyftcylindrarna är helt indragna.
Important: Släpp sprutrampssektionernas lyftomkopplare när de yttre sprutsektionerna har hamnat i rätt läge. Om du kör manövreringsorganen mot de mekaniska stoppen kan lyftcylindrarna och/eller andra hydraulkomponenter skadas.

Important: Se till att manövreringsorganen är helt indragna före transport av maskinen så att lyftcylindern inte skadas.
Grässprutan är utrustad med transporthållare för sprutrampssektionerna och dessa har en unik funktion. Om sprutsektionen av misstag råkar komma i kontakt med ett lågt nedhängande föremål när den är i transportläge kan sprutsektionen/sektionerna åka ut ur transporthållaren. Om detta sker hamnar sprutsektionerna i ett nästan vågrätt läge på maskinens bakre del. Även om rörelsen inte skadar sprutsektionerna ska de genast flyttas tillbaka till transporthållaren.
Important: Om sprutsektionerna transporteras i något annat läge än transportläget ”X” med hjälp av transporthållaren kan de skadas.
Flytta tillbaka de yttre sprutsektionerna till transporthållaren genom att sänka dem till sprutläget och sedan höja dem tillbaka till transportläget igen. Se till att lyftcylindrarna är helt indragna för att förhindra att manövreringsstången skadas.
Important: Under vissa omständigheter kan värme från motorn, kylaren och ljuddämparen skada gräset när sprutning görs i stillastående läge. Som stillastående lägen räknas tankomrörning, handsprutning med en sprutpistol och användning av en ramp för manuell sprutning.
Vidta följande säkerhetsåtgärder:
Undvik att använda sprutan i stillastående läge under mycket varma och/eller torra förhållanden, eftersom gräsmattan kan utsättas för stor påfrestning under dessa perioder.
Undvik att parkera på gräsmattan vid sprutning i stillastående läge. Parkera alltid på en stig om det är möjligt.
Minimera tiden maskinen körs över ett särskilt område av gräsmattan. Både tid och temperatur påverkar hur mycket gräsmattan skadas.
Kör med så lågt motorvarvtal som möjligt för att uppnå önskat tryck och flöde. På så vis minimeras den värme som alstras och lufthastigheten från kylarfläkten.
Låt värmen släppas ut i riktning uppåt från motorrummet genom att höja sätet under stillastående användning, så att värmen inte tvingas ut genom maskinens undersida.
Överlappa inte områden som du redan har besprutat.
Se upp för igensatta munstycken. Byt ut alla slitna och skadade munstycken.
Använd huvudsektionsomkopplaren för att stoppa sprutflödet innan du stannar grässprutan. När den har stannat använder du gasreglaget för att hålla motorvarvtalet uppe, om du vill att omrörningen ska fortsätta.
Du får ett bättre resultat om grässprutan är i rörelse när sprutsektionerna slås på.
Rengör igensatta munstycken på följande sätt:
Stanna grässprutan på ett plant underlag, stäng av motorn och lägg i parkeringsbromsen.
Stäng AV huvudsektionsomkopplaren och stäng sedan AV sprutpumpomkopplaren.
Ta bort det igensatta munstycket och rengör det med hjälp av en sprutflaska med vatten och en tandborste.
Montera munstycket.
Gör följande innan du kliver ur förarsätet:
Parkera maskinen på ett plant underlag.
Koppla in parkeringsbromsen.
Stäng av motorn och ta ut nyckeln (i förekommande fall).
Vänta tills alla rörliga delar har stannat.
När du är klar med maskinen för dagen tvättar du bort alla kemikalierester på maskinens utsida och kontrollerar att systemet har neutraliserats och sköljts ur tre gånger i enlighet med kemikalietillverkarnas rekommendationer samt att alla ventiler har genomgått sköljcykeln tre gånger. Se avsnittet Kemikaliesäkerhet.
Låt motorn svalna innan maskinen ställs undan i ett slutet utrymme.
Förvara aldrig maskinen eller bränslebehållaren i närheten av en öppen låga, gnista eller tändlåga, t.ex. på en varmvattenberedare eller någon annan maskin.
Håll alla maskindelar i gott bruksskick och samtliga beslag åtdragna.
Byt ut slitna och skadade dekaler, eller ersätt de som saknas.
Tvätta maskinen efter behov med enbart vatten, alternativt med ett milt tvättmedel. Du kan använda en trasa när du tvättar maskinen.
Important: Använd inte bräckt eller återvunnet vatten vid rengöring av maskinen.
Note: Tvätta inte maskinen med högtryckstvätt. Högtryckstvättar kan skada elsystemet, viktiga dekaler kan lossna och fett som behövs vid friktionspunkterna kan tvättas bort. Undvik att använda alltför mycket vatten nära kontrollpanelen, motorn och batteriet.
Important: Tvätta inte maskinen medan motorn är i gång. Om du tvättar maskinen medan motorn är i gång kan interna skador på motorn uppstå.
Stanna grässprutan, koppla in parkeringsbromsen, stäng av motorn och ta ut nyckeln.
Leta upp tanktömningsventilen som sitter på maskinens vänstra, bakre stänkskärm (Figur 44).
Note: Tömningsventilen sitter fast med ett fäste på maskinens vänstra, bakre stänkskärm.

Lyft ventilen tills monteringstapparna lämnat skårorna i tömningsventilens monteringsfäste och för ventilen bakåt (Figur 45A).

Rikta in änden av ventilen mot tömningsbehållaren och vrid handtaget till det öppna läget (Figur 45B).
När tanken har tömts helt vrider du tömningsventilens handtag till det stängda läget och sätter fast ventilen i monteringsfästet (Figur 45B och Figur 45A).
Important: Kassera kemikalieavfallet från spruttanken i enlighet med lokala bestämmelser och tillverkarens anvisningar.
| Underhållsintervall | Underhållsförfarande |
|---|---|
| Efter varje användning |
|
Important: Använd endast rent vatten när du gör rent sprutan.
Important: Töm och spola alltid ur sprutan, inklusive eventuella sprutsystemtillbehör, omedelbart efter varje användningstillfälle. Om du inte spolar och gör rent sprutan kan kemikalierna torka ut och blockera ledningar, filter, ventiler, munstycken, pumpen och andra komponenter.
Använd den godkända sköljningssatsen för den här maskinen. Kontakta en auktoriserad Toro-återförsäljare för mer information.
Note: Följande rekommendationer och anvisningar förutsätter att Toros sköljsats inte har monterats.
Rengör sprutsystemet och eventuella spruttillbehör efter varje användningstillfälle. Gör så här för att rengöra sprutsystemet på rätt sätt:
Genomför tre separata sköljcykler.
Använd de rengöringsmedel och neutraliseringsmedel som rekommenderas av dina kemikalietillverkare.
Använd rent vatten (utan rengöringsmedel eller neutraliseringsmedel) till den sista sköljningen.
Fyll tanken med minst 190 liter rent vatten och stäng locket.
Note: Använd vid behov ett renande/neutraliserande medel i vattnet. Använd endast rent, klart vatten för den sista sköljningen.
Sänk ned de yttre sprutsektionerna till sprutläget.
Starta motorn, slå På sprutpumpomkopplaren och för gasreglaget till en högre tomgång.
Sätt omrörningsomkopplaren i det PåSLAGNA läget.
Använd spruthastighetsomkopplaren för att öka trycket till ett högt värde.
Slå På de enskilda sektionsomkopplarna och huvudsektionsomkopplaren.
Kontrollera munstyckena för att försäkra att de sprutar korrekt.
Låt allt vatten i tanken spruta ut genom munstyckena.
Stäng AV huvudsektionsomkopplaren, stäng AV omrörningsomkopplaren och sprutpumpomkopplaren och stäng sedan av motorn.
Upprepa steg 1 t.o.m. 9 minst 2 gånger till för att försäkra att sprutsystemet är helt rent.
Important: Genomför alltid tre sköljcykler för att vara säker på att sprutsystemet och eventuella sprutredskap är helt rena och på så vis förhindra att det skadas.
Rengör sug- och tryckfiltren. Se Rengöra sugfiltret och Byta tryckfiltret.
Important: Om du använde kemikalier i form av slampulver, ska filtret rengöras efter varje tank.
Använd en trädgårdsslang och spruta utvändigt på grässprutan med rent vatten.
Ta bort munstyckena och rengör dem för hand.
Note: Byt ut slitna och skadade munstycken.
Note: Om maskinen har munstycksfilter som tillval ska du rengöra dem innan du monterar munstyckena. Se Rengöra munstycksfiltret.
| Underhållsintervall | Underhållsförfarande |
|---|---|
| Varje användning eller dagligen |
|
Ställ maskinen på ett plant underlag, koppla in parkeringsbromsen, stäng av pumpen, stäng av motorn och ta ur nyckeln.
Ta bort hållaren som fäster slangnippeln på den stora slangen och filterkåpan på tankens ovansida (Figur 46).

Ta bort slangen och slangnippeln från filterkåpan (Figur 46).
Dra ut sugfiltret ur filterkåpan i tanken (Figur 47).

Rengör sugfiltret med rent vatten.
Important: Byt ut filtret om det är trasigt eller inte kan rengöras.
För in sugfiltret i filterkåpan tills filtret sitter ordentligt på plats.
Rikta in slangen och slangnippeln med filterkåpan på tankens ovansida och säkra nippeln och kåpan med hållaren som du tog bort i steg 2.
| Underhållsintervall | Underhållsförfarande |
|---|---|
| Varje användning eller dagligen |
|
Ställ maskinen på ett plant underlag, koppla in parkeringsbromsen, stäng av sprutpumpen, stäng av motorn och ta ur nyckeln.
Placera ett kärl under tryckfiltret (Figur 48).

Vrid avtappningslocket motsols och ta bort det från tryckfiltrets skål (Figur 48).
Note: Låt skålen tömmas helt.
Vrid skålen motsols och ta bort filterhuvudet (Figur 48).
Ta bort tryckfiltret (Figur 48).
Rengör tryckfiltret med rent vatten.
Important: Byt ut filtret om det är trasigt eller inte kan rengöras.
Kontrollera att avtappningspluggens packning (sitter på insidan av skålen) och skålens packning (sitter på filterhuvudets insida) inte är slitna eller skadade (Figur 48).
Important: Byt ut pluggens och/eller skålens packningar om de är skadade eller slitna.
Montera tryckfiltret i filterhuvudet (Figur 48).
Note: Kontrollera att filtret sitter ordentligt i filterhuvudet.
Montera skålen på filterhuvudet och dra åt för hand (Figur 48).
Sätt på avtappningslocket på skruvförbindningen i skålens botten och skruva åt det för hand (Figur 48).
Ställ maskinen på ett plant underlag, koppla in parkeringsbromsen, stäng av sprutpumpen, stäng av motorn och ta ur nyckeln.
Ta bort munstycket från spruttornet (Figur 49).

Avlägsna munstycksfiltret (Figur 49).
Rengör munstycksfiltret med rent vatten.
Important: Byt ut filtret om det är trasigt eller inte kan rengöras.
Montera munstycksfiltret (Figur 49).
Note: Se till att filtret sitter ordentligt på plats.
Montera munstycket på spruttornet (Figur 49).
| Underhållsintervall | Underhållsförfarande |
|---|---|
| Efter varje användning |
|
Konditionerarspecifikation: propylenglykol ”giftfritt frostskyddsmedel” med korrosionshämmare
Important: Använd endast propylenglykol med korrosionshämmare. Använd inte återvunnet propylenglykol. Använd inte etylenglykolbaserat frostskyddsmedel.Använd inte propylenglykol med vattenlöslig alkohol (metanol, etanol eller isopropanol) eller saltlösningar.
Flytta maskinen till ett jämnt underlag, koppla in parkeringsbromsen, stäng av motorn och ta ut nyckeln.
Tillsätt konditionerare i tanken enligt följande:
För färdigblandat frostskyddsmedel med propylenglykol tillsätter du 37,9 liter frostskyddsmedel med propylenglykol i tanken.
Gör följande för koncentrerat frostskyddsmedel med propylenglykol:
Tillsätt en blandning av frostskyddsmedel med propylenglykol och vatten på 37,9 liter i spruttanken. Förbered frostskyddsblandningen enligt anvisningarna från tillverkaren till en koncentration klassificerad för minst -45 °C (-50 °F).
Important: Använd endast rent vatten när du gör rent sprutan.
Starta motorn och för sprutpumpomkopplaren till PåSLAGET läge.
Trampa ner gaspedalen för att öka motorvarvtalet.
Sätt omrörningsomkopplaren i det PåSLAGNA läget.
Låt konditionerar- och vattenlösningen cirkulera i minst tre minuter.
Rekommenderat verktyg: en genomskinlig uppsamlingsbehållare.
Flytta maskinen till tömningsområdet och koppla in parkeringsbromsen.
Sänk ned de yttre rampsektionerna.
Sätt de vänstra, mittersta och högra sektionsomkopplarna och huvudsektionsomkopplaren till PåSLAGET läge.
Låt sprutsystemet spruta tills munstyckena sprutar ut konditioneraren.
Note: De flesta frostskyddsmedel med propylenglykol är rosa. Använd uppsamlingsbehållaren för att samla upp vid flera av sprutans munstycken.
Stäng av huvudsektionsomkopplaren, de tre sektionsomkopplarna, omrörningsomkopplaren, sprutpumpomkopplaren och motorn.
Använd en släpvagn eller lastbil när du transporterar maskinen längre sträckor.
I nödfall kan grässprutan bogseras en kortare sträcka efter att du har öppnat bogserventilen. Vi rekommenderar dock inte att denna metod används som standardprocedur.
Bogsering i höga hastigheter kan bidra till förlorad styrkontroll och leda till personskador.
Bogsera aldrig grässprutan i högre hastighet än 4,8 km/h.
Bogsering av grässprutan är ett jobb som kräver två personer. Om maskinen måste flyttas en längre sträcka bör den transporteras på en lastbil eller ett släp. Se Transportera maskinen.
Låt avgassystemet svalna helt.
Ta bort underredshöljet. Se Ta bort underredshöljet.
Öppna bogserventilen (Figur 52) genom att vrida den 90 grader åt valfritt håll.

Important: Om du inte öppnar bogserventilen innan du bogserar grässprutan skadas transmissionen.
Fäst en bogserlina i ramen. Observera de främre och bakre fästpunkterna (Figur 53 och Figur 54).


Frigör parkeringsbromsen.
Bogsera grässprutan i lägre hastighet än 4,8 km/h.
När du är klar ska du stänga bogserventilen och dra åt den till 7–11 N·m.
Important: Montera underredshöljet innan du börjar använda maskinen igen. Se Montera underredshöljet.
Note: Hämta en kostnadsfri kopia av elschemat eller hydraulschemat genom att gå till www.Toro.com där du klickar på länken Manuals och söker efter din maskin.
Important: Mer information om underhållsrutiner finns i bruksanvisningen till motorn.
Note: Vänster och höger sida på maskinen är lika med förarens vänstra respektive högra sida vid normal körning.
Gör följande innan du kliver ur förarsätet:
Parkera maskinen på ett plant underlag.
För växeln till NEUTRALLäGET (manuell) eller PARKERINGSLäGET (automatisk).
Koppla in parkeringsbromsen.
Stäng av motorn och ta ut nyckeln (i förekommande fall).
Vänta tills alla rörliga delar har stannat.
Låt maskinens komponenter svalna innan du utför något underhåll.
Låt endast behörig och auktoriserad personal underhålla, reparera, justera och inspektera maskinen.
Innan du utför något underhåll ska du noggrant rengöra och skölja ur sprutan. Se avsnittet Kemikaliesäkerhet.
Kemikalierna som används i sprutsystemet kan vara farliga och giftiga för dig, kringstående, djur, växter, jorden och annan egendom.
Läs och följ noga varningsetiketterna och säkerhetsdatabladen för alla kemikalier som används, och använd skyddsutrustning i enlighet med kemikalietillverkarnas rekommendationer.
Skydda alltid huden när du befinner dig nära kemikalier. Använd lämplig personskyddsutrustning som skyddar om du skulle komma i kontakt med kemikalier, inklusive följande:
skyddsglasögon och/eller ansiktsmask
en kemisk skyddsdräkt
en andningsmask eller filtermask
kemikaliebeständiga handskar
gummistövlar eller andra rejäla skor
ett rent ombyte kläder, tvål och pappershanddukar för rengöring
Använd aldrig sprutsystemet om det inte finns någon säkerhetsinformation om kemikalier tillgänglig.
Maskinen bör inte fyllas på, kalibreras eller rengöras när andra – särskilt barn – eller husdjur befinner sig i närheten.
Hantera kemikalier på en plats med ordentlig ventilation.
Se till att ha rent vatten till hands, i synnerhet vid påfyllning av grässprutans tank.
Ät, drick eller rök aldrig när du arbetar nära kemikalier.
Rengör inte sprutmunstycken genom att blåsa i dem eller placera dem i munnen.
Tvätta alltid händerna och andra utsatta kroppsdelar omedelbart efter att du arbetat med kemikalier.
Kemikalier och ångor är farliga – stick aldrig in kroppsdelar i tanken och placera aldrig huvudet över eller i öppningen på tanken.
Håll all maskinvara ordentligt åtdragen för att försäkra att hela maskinen är i gott skick.
Minska brandrisken genom att hålla området runt motorn fritt från fett, kemikalier, gräs, löv och smuts.
Om motorn måste vara igång för att du ska kunna utföra visst underhåll måste du hålla klädesplagg, händer, fötter och andra kroppsdelar borta från motorn och alla rörliga delar. Håll kringstående på avstånd.
Ändra inte maskinens körhastighet. Be en auktoriserad Toro-återförsäljare kontrollera körhastigheten för att försäkra säkerhet och noggrannhet.
Om maskinen kräver en större reparation eller om du behöver teknisk hjälp kontaktar du en auktoriserad Toro-återförsäljare.
Ändringar av maskinen kan påverka dess drift, prestanda, hållbarhet eller användning och kan leda till livshotande personskador. Sådan användning kan medföra att produktgarantin upphör att gälla.
Stötta upp maskinen med pallbockar så fort du ska arbeta under maskinen.
Lätta försiktigt på trycket i komponenter som lagrar energi.
| Underhållsintervall | Underhållsförfarande |
|---|---|
| Efter de första 8 timmarna |
|
| Efter de första 50 timmarna |
|
| Efter de första 100 timmarna |
|
| Efter de första 200 timmarna |
|
| Varje användning eller dagligen |
|
| Efter varje användning |
|
| Var 50:e timme |
|
| Var 100:e timme |
|
| Var 200:e timme |
|
| Var 400:e timme |
|
| Var 800:e timme |
|
| Var 1000:e timme |
|
| Var 2000:e timme |
|
| Årligen |
|
Kopiera sidan och använd den regelbundet.
|
Kontrollpunkt |
Vecka: |
||||||
|---|---|---|---|---|---|---|---|
|
Måndag |
Tisdag |
Onsdag |
Torsdag |
Fredag |
Lördag |
Söndag |
|
|
Kontrollera bromsen och parkeringsbromsen. | |||||||
|
Kontrollera omkopplaren för att säkra neutralläget. | |||||||
|
Kontrollera bränslenivån. | |||||||
|
Kontrollera oljenivån i motorn. | |||||||
|
Kontrollera hydraulvätskenivån. | |||||||
|
Kontrollera kylvätskenivån. | |||||||
|
Kontrollera luftfiltret. | |||||||
|
Undersök om det finns skräp i kylaren eller oljekylaren. | |||||||
|
Undersök ovanliga motorljud. | |||||||
|
Kontrollera ovanliga driftljud. | |||||||
|
Kontrollera däckens lufttryck. | |||||||
|
Undersök om systemet har oljeläckor. | |||||||
|
Kontrollera alla hydraul- och vätskeslangar för att se om de är skadade, vridna eller slitna. | |||||||
|
Kontrollera instrumentfunktionen. | |||||||
|
Kontrollera gaspedaldriften. | |||||||
|
Rengör sugfiltret. | |||||||
|
Smörj alla smörjnipplar1 | |||||||
|
Tvätta maskinen. | |||||||
|
Måla i skadad lack. | |||||||
1Omedelbart efter varje tvätt, oavsett intervallet i listan.
| Kontrollen utförd av: | ||
| Artikel | Datum | Information |
| 1 | ||
| 2 | ||
| 3 | ||
| 4 | ||
| 5 | ||
| 6 | ||
| 7 | ||
| 8 | ||
| 9 | ||
| 10 | ||
Om du lämnar nyckeln i tändningslåset kan någon råka starta motorn av misstag och skada dig eller andra kringstående allvarligt.
Ta ut nyckeln ur tändningslåset innan du utför något underhåll.
När motorn genomgår rutinunderhåll och/eller motordiagnostik ska sprutans bakhjul vara 25 mm ovanför marken och bakaxeln ska stöttas upp med pallbockar.
En grässpruta på en domkraft kan bli instabil och glida av domkraften och orsaka skador på personer som befinner sig under.
Ta alltid ut nyckeln ur tändningen innan du kliver av sprutan.
Blockera hjulen när grässprutan är stöttad med domkraften.
Stötta upp maskinen med domkrafter.
Domkraftspunkten framtill på sprutan finns under framaxeln, precis under bladfjädrarna (Figur 55).

Domkraftspunkten baktill på grässprutan finns på den bakre sidan där rampstöden sitter (Figur 56).

Koppla in parkeringsbromsen, stäng av sprutpumpen, stäng av motorn och ta ut nyckeln.
Höj upp den främre och bakre delen av maskinen och stötta med domkrafter, se Höja upp grässprutan.
Ta bort de sex sexkantsskruvarna och sex brickorna som fäster den främre värmeskölden till chassit och ta bort skölden (Figur 57).
Note: Spara skruvarna, brickorna och värmeskölden för montering i Montera den främre värmeskölden.

Rikta in den främre värmesköldens bakre fläns över den bakre värmesköldens främre fläns (Figur 58).

Rikta in hålen i den främre värmeskölden med de gängade hålen i chassit (Figur 58).
Fäst den främre värmeskölden på maskinen med de sex sexkantsskruvarna och sex brickorna (Figur 58) som du tog bort i steg 3 av Ta bort den främre värmeskölden.
Dra åt skruvarna till 19,78–25,42 N·m.
Ta bort domkrafterna och sänk ned maskinen.
Ta bort de fem flänsskruvar (5/16 x â…ž tum) och de fem brickor (5/16 tum) som fäster den bakre delen av underredshöljet vid maskinchassit (Figur 59).
Note: Spara flänsskruvarna och brickorna för montering i steg 5 i Montera underredshöljet.


Ta bort de fyra flänslåsmuttrarna (5/16 tum) från skruvarna och vagnsskruven som fäster monteringstapparna för underredshöljet på maskinens motormonteringsfästen (Figur 60).
Note: Ta inte bort skruvarna från maskinen. Spara flänslåsmuttrarna för montering i steg 3 i Montera underredshöljet.

Flytta monteringstapparna från skruvarna som fäster underredshöljet på motormonteringsfästena.
Ta bort underredshöljet från maskinen (Figur 59 och Figur 60).
Rikta in underredshöljet mot maskinens nedre chassi enligt Figur 60 i Ta bort underredshöljet.
Flytta underredshöljets monteringstappar över skruvarna och vagnsskruven som sitter vid motorns monteringsfästen. Se Figur 60 i Ta bort underredshöljet.
Montera underredshöljet på motormonteringsfästena och skruvarna (Figur 60) med de fyra flänslåsmuttrarna (5/16 tum) som du tog bort i steg 2 i Ta bort underredshöljet.
Rikta in hålen i den bakre delen av underredshöljet mot hålen i chassit. Se Figur 59 i Ta bort underredshöljet.
Montera den bakre delen av underredshöljet på chassit (Figur 59) med de fem flänsskruvarna (5/16 x â…ž tum) och fem brickorna (5/16 tum) som du tog bort i steg 1 av Ta bort underredshöljet.
Dra åt muttrarna och skruvarna till 11,29–15,82 N·m.
Rikta in hålen på sätessockelns åtkomstpanel med hålen i sätessockeln (Figur 61).
Montera sätessockelns åtkomstpanel på sätessockeln med de två flänsskruvarna (Figur 61) som du tog bort i steg 1 i Ta bort sätessockelns åtkomstpanel.
Dra åt skruvarna till 19,75–25,42 N·m.
| Underhållsintervall | Underhållsförfarande |
|---|---|
| Var 50:e timme |
|
Typ av fett: Litiumfett nr 2. Toro Premium-universalfett finns att köpa från din Toro-återförsäljare.
Styrcylinder – två smörjnipplar vid varje cylinderstavsände
Styrstag – två smörjnipplar vid varje ände av stången
Vridbar spindel – två smörjnipplar på maskinens båda sidor
Torka av överflödigt fett.
Note: Smörjnipplarnas lägen visas i Figur 63.


| Underhållsintervall | Underhållsförfarande |
|---|---|
| Var 100:e timme |
|
Important: Om sprutrampens gångjärn tvättas med vatten, måste allt vatten och skräp avlägsnas från gångjärnet och nytt smörjfett påföras.
Typ av fett: Litiumfett nr 2.
Torka av smörjnipplarna så att okända partiklar inte kan leta sig in i lagren eller bussningarna.
Pumpa in fett i lagret eller bussningen vid varje nippel (Figur 65).

Torka av överflödigt fett.
Upprepa proceduren med varje svängtapp på sprutramperna.
| Underhållsintervall | Underhållsförfarande |
|---|---|
| Var 400:e timme |
|
Typ av fett: Litiumfett nr 2.
Sänk ned de yttre sprutsektionerna till SPRUTLäGET.
Ta bort hårnålssprinten från sprintbulten (Figur 66).
Höj upp sektionen, ta bort sprintbulten och sänk långsamt ned sektionen till marken (Figur 66).
Undersök om sprintbulten har några skador, och byt ut den om det behövs.

Vrid lagret på stångänden och smörj lagret (Figur 67).
Note: Torka av överflödigt fett.

Lyft sprutsektionen så att svängleden kommer i nivå med manövreringsstången.
Håll i sprutsektionen och för in sprintbulten genom både svängleden och manövreringsstången på sprutsektionen (Figur 66).
När bulten sitter på plats släpper du sprutsektionen och säkrar sprintbulten med hårnålssprinten som togs bort tidigare.
Upprepa steg 2–8 för lagrets manövreringsstång på maskinens andra sida.
Stäng av motorn innan du kontrollerar oljenivån eller fyller på olja i vevhuset.
| Underhållsintervall | Underhållsförfarande |
|---|---|
| Varje användning eller dagligen |
|
Koppla in parkeringsbromsen, stäng av sprutpumpen, stäng av motorn och ta ut nyckeln.
Tippa passagerarsätet framåt och rikta in stöttan i spärrhaken i stöttans styrskåra.
Rengör dammkåpan och luftrenarhuset (Figur 68).

Undersök om luftrenarhuset har skador som kan orsaka en luftläcka (Figur 68).
Note: Byt ut dammkåpan och luftrenarhuset om de är skadade.
Kläm på dammventilen för att rensa den från smuts, damm och skräp (Figur 68).
Lossa de två spärrhakarna som håller fast dammkåpan på luftrenarhuset.
Kontrollera om luftfiltret har stora ansamlingar av smuts, damm och skräp (Figur 68).
Note: Rengör inte luftfiltret om det är smutsigt. Byt ut det om det är smutsigt.
Montera dammkåpan på luftrenarhuset och fäst kåpan med de två spärrhakarna (Figur 68).
Note: Kontrollera att dammventilen är inriktad mellan läget klockan 5 och klockan 7 sett från änden.
För tillbaka passagerarsätet.
| Underhållsintervall | Underhållsförfarande |
|---|---|
| Var 100:e timme |
|
Om du monterar ett nytt filter undersöker du om det nya luftfiltret har några transportskador, inklusive filtrets förseglade ände.
Important: Montera inte ett skadat filter.
Rengör dammkåpan och luftrenarhuset (Figur 68).
Lyft kylvätskeexpansionstanken upp och av tankens stödfäste (Figur 69).

Lossa de två spärrhakarna som håller fast dammkåpan på luftrenarhuset (Figur 69).
Dra försiktigt ut det gamla filtret ur luftrenarhuset för att minska den mängd damm som drivs ut.
Note: Undvik att slå filtret mot luftrenarhuset.
Torka av insidan på dammkåpan, luftrenarhuset och dammventilen med en fuktig trasa (Figur 68 och Figur 69).
Sätt i luftfilterelementet i luftrenarhuset (Figur 69).
Note: Se till att filtret sitter ordentligt i luftrenarhuset genom att tillföra tryck till dess yttre kant vid montering. Tryck inte mitt på filtret där det är böjligt.
Montera kåpan på luftrenarhuset och fäst den med de två spärrhakarna (Figur 69).
Note: Kontrollera att dammventilen är inriktad mellan läget klockan 5 och klockan 7 sett från änden (Figur 69).
Rikta in kylvätskeexpansionstanken med tankens stödfäste och sätt tanken ordentligt på plats (Figur 69).
Important: Kontrollera att tryckavlastningsslangen är riktad framåt och nedåt, och att tankventileringsslangen är riktad bakåt enligt Figur 69.
För tillbaka passagerarsätet.
Oljetyp – API-service CH-4, CI-4 eller högre.
Rekommenderad oljeviskositet – SAE 15W-40 (över –18 °C).
Alternativ oljeviskositet – SAE 10W-30 eller 5W-30 (alla temperaturer).
Toro Premium-motorolja med oljeviskositet på 15W40 eller 10W30 finns tillgänglig hos din återförsäljare. Se reservdelskatalogen för artikelnummer.
| Underhållsintervall | Underhållsförfarande |
|---|---|
| Varje användning eller dagligen |
|
Note: Det är bäst att kontrollera motoroljan när motorn är kall, innan den har startats för dagen. Om motorn redan har varit igång ska du först låta oljan rinna tillbaka ner till sumpen i minst 10 minuter.
Motorn levereras med olja i vevhuset. Oljenivån måste dock kontrolleras innan motorn startas för första gången och igen därefter.
Ställ maskinen på ett jämnt underlag.
Ta ut oljestickan, som sitter under passagerarsätet, och torka av den med en ren trasa (Figur 70).
Note: Sätt ned oljestickan i röret och se till att den sitter fast ordentligt. Ta ur oljestickan och kontrollera oljenivån.


Om oljenivån är låg tar du bort påfyllningslocket från ventilkåpan och fyller på med olja i påfyllningsröret tills nivån når upp till markeringen Full på oljestickan (Figur 71).
Note: Fyll sakta på oljan och kontrollera nivån med jämna mellanrum under tiden. Fyll inte på för mycket.

Sätt på oljepåfyllningslocket.
Sätt ner oljestickan så den sitter ordentligt.
| Underhållsintervall | Underhållsförfarande |
|---|---|
| Efter de första 50 timmarna |
|
| Var 200:e timme |
|
Ta bort den främre värmeskölden. Se Ta bort den främre värmeskölden.
Höj sätena.
Delar under sätet är varma om grässprutan har varit i drift. Om du rör vid heta komponenter kan brännskador uppstå.
Låt grässprutan svalna innan underhåll utförs eller komponenterna under motorhuven vidrörs.
Placera ett avtappningskärl under motoroljefiltret (Figur 72).

Ta bort det gamla oljefiltret (Figur 72).
Note: Kasta bort det använda oljefiltret på godkänd återvinningsstation.
Torka av motorns oljefilteradapter med en trasa.
Fyll på angiven olja i oljefiltret.
Note: Dränk in filtret i olja.
Stryk på ett tunt lager angiven olja på utbytesoljefiltrets gummipackning.
Montera oljefiltret i filteradaptern och vrid oljefiltret medurs tills dess att gummipackningen vidrör filteradaptern och skruva sedan åt filtret ytterligare ½ varv (Figur 72).
Note: Dra inte åt oljefiltret för hårt.
Torka bort överflödig olja.
4,6 liter med filtret. Se Motoroljespecifikation.
| Underhållsintervall | Underhållsförfarande |
|---|---|
| Efter de första 50 timmarna |
|
| Var 200:e timme |
|
Placera ett kärl under avtappningspluggen (Figur 72).
Ta bort avtappningspluggen och låt all olja rinna ut (Figur 72).
Note: Kontrollera att avtappningspluggens förslutning inte är sliten eller skadad. Byt ut förslutningen om den är sliten eller skadad.
Note: Kassera spilloljan på en godkänd återvinningsstation.
Montera avtappningspluggen i motoroljekärlets avtappningsöppning och dra åt pluggen till 33–37 N·m.
Tippa passagerarsätet framåt och rikta in stöttan i spärrhaken i stöttans styrskåra.
Ta bort oljepåfyllningslocket från ventilkåpans påfyllningsrör i motorn och häll sakta i cirka 80 % av den angivna mängden olja i motorn via oljepåfyllningsröret (Figur 73).

Ta ut oljestickan och kontrollera oljenivån i motorn (Figur 74).

Tillsätt långsamt ytterligare angiven olja så att nivån når upp till markeringen Full på oljestickan (Figur 74).
Important: Om för mycket olja fylls på i motorn kan den skadas.
Sätt tillbaka oljepåfyllningslocket på påfyllningsröret (Figur 73).
Montera den främre värmeskölden. Se Montera den främre värmeskölden.
| Underhållsintervall | Underhållsförfarande |
|---|---|
| Var 400:e timme |
|
Utför allt årligt underhåll som anges i motorns bruksanvisning.
Under vissa omständigheter är bränsle och bränsleångor mycket brandfarliga och explosiva. En bränslebrand eller explosion kan skada dig själv och andra samt orsaka materiella skador.
Använd en tratt och fyll på tanken utomhus på en öppen plats när motorn är avstängd och kall. Torka upp utspillt bränsle.
Fyll inte tanken helt full. Fyll på bränsle i tanken tills det återstår 25 mm till påfyllningsrörets underkant. Det tomma utrymmet behövs för bränslets expansion.
Rök aldrig när du hanterar bränsle och håll dig borta från öppen eld eller platser där bränsleångorna kan antändas av gnistor.
Förvara bränsle i en ren, säkerhetsgodkänd bränslebehållare och se till att locket sitter på.
| Underhållsintervall | Underhållsförfarande |
|---|---|
| Efter de första 50 timmarna |
|
| Var 400:e timme |
|
Undersök om ledningarna eller kopplingarna är skadade eller utslitna, eller om det finns några lösa anslutningar.
Note: Om du upptäcker några bränsleläckor ska du reparera bränslekomponenterna innan du använder maskinen.
Note: Se till att bränsletanken är minst halvfull.
Koppla in parkeringsbromsen, stäng av sprutpumpen, stäng av motorn och ta ut nyckeln.
Ta bort den främre värmeskölden. Se Ta bort den främre värmeskölden.
Tippa passagerarsätet framåt och rikta in stöttan i spärrhaken i stöttans styrskåra.
Placera ett avtappningskärl under bränslefiltret, se Figur 77 i Byta ut vattenseparatorfiltret.
Lossa avluftarpluggen på bränslefiltret/vattenseparatorn (Figur 75)..

Vrid nyckeln i tändningslåset till det PåSLAGNA läget.
Note: Den elektriska bränslepumpen kommer att tvinga ut luften runt avluftarpluggen. Låt nyckeln sitta i det PåSLAGNA läget tills en jämn bränsleström flyter ut runt avluftarpluggen.
Dra åt avluftarpluggen och vrid tändningsnyckeln till det AVSTäNGDA läget (Figur 75).
Placera ett avtappningskärl under motorns insprutningspump (Figur 76).

Öppna avluftarskruven på insprutningspumpen (Figur 76).
Vrid nyckeln i tändningslåset till det PåSLAGNA läget.
Note: Den elektriska bränslepumpen kommer att startas och då tvingas luften ut runt avluftarskruven på insprutningspumpen.
Låt nyckeln sitta i det PåSLAGNA läget tills en jämn bränsleström flyter ut runt avluftarskruven (Figur 76).
Dra åt avluftarskruven (Figur 76) och vrid nyckeln till det AVSLAGNA läget.
Note: I normala fall ska motorn starta efter att du har avluftat bränslesystemet. Om motorn inte startar kan luft ha fångats mellan insprutningspumpen och insprutarna, se Lufta insprutarna.
Du bör endast utföra denna procedur när du har luftat bränslesystemet och motorn inte startar. Se Lufta bränslesystemet.
Placera ett avtappningskärl under motorns högra sida.
Lossa rörmuttern på insprutarmunstycke nr 1 och hållare.
Flytta gasreglaget till det SNABBA läget.
Vrid nyckeln i tändningslåset till STARTLäGET och iaktta bränsleflödet runt anslutningen.
Vrid nyckeln till det AVSTäNGDA läget när du ser en jämn bränsleström.
Dra åt rörmuttern.
Avlägsna överflödigt bränsle från området runt bränsleinsprutaren.
Upprepa steg 2 till 7 för kvarvarande insprutarmunstycken.
Montera den främre värmeskölden. Se Montera den främre värmeskölden.
| Underhållsintervall | Underhållsförfarande |
|---|---|
| Var 400:e timme |
|
Ta bort den främre värmeskölden. Se Ta bort den främre värmeskölden.
Placera ett avtappningskärl under vattenseparatorfiltret (Figur 77).

Rotera avtappningsventilen i botten av vattenseparatorfiltret moturs (Figur 77).
Note: Låt allt bränsle rinna ur filtret och stäng sedan ventilen.
Rengör området kring vattenseparatorfiltret och filteradapterfästet (Figur 77).
Avlägsna vattenseparatorfiltret (Figur 77).
Note: Kasta bort det använda bränslet och den använda filterskålen på godkänd återvinningsstation.
Torka ren filteradapterns fästyta.
Smörj vattenseparatorfiltrets packning med ren motorolja.
Montera filtret för hand tills packningen vidrör fästytan och vrid sedan filtret ytterligare ett halvt varv.
Kontrollera att avtappningsventilen i botten av vattenseparatorfiltret är ordentligt åtdragen medurs (Figur 77).
| Underhållsintervall | Underhållsförfarande |
|---|---|
| Var 400:e timme |
|
Note: Bränslefiltret är en del av stigrörsenheten.
Koppla in parkeringsbromsen, stäng av sprutpumpen, stäng av motorn och ta ut nyckeln.
På bränsletanken tar du bort de fyra skruvarna (nr 10 x ¾ tum) som säkrar kåpan på bränsletankens övre del, och ta sedan bort kåpan (Figur 78A).

Lossa de två klämmor som säkrar de två bränsleslangarna till de två bränslenipplarna på stigrörsenhetens ovansida (Figur 78B).
Koppla bort de två slangarna från slangnipplarna och låt eventuellt bränsle i slangarna rinna ned i en godkänd bränslebehållare (Figur 78B).
Rotera stigrörets/sändarens lock moturs och ta sedan bort locket (Figur 79).

Lyft bort stigrörs-/sändarenheten från bränsletanken (Figur 79).
Note: Kasta den gamla stigrörsenheten.
Note: Skaffa en ny stigrörsenhet från din auktoriserade Toro-återförsäljare. Du kan behöva en ny packning för att kunna fästa vinkelkopplingen och stigrörsenheten längst upp på bränsletanken.
Fäst stigrörslocket på stigröret och placera röret mot packningen (Figur 79).
Rikta stigrörslocket, stigröret och packningen mot tanken och för försiktigt in den nya stigrörsenheten i bränsletanken (Figur 79).
Note: Rikta in slangnipplarna mot maskinens mitt.
Skruva fast locket på bränsletankens rör och dra åt det för hand (Figur 79).
Montera bränsleslangen på 6,4 mm på slangnippeln (6,4 mm) och fäst slangen på nippeln med slangklämman (Figur 78B).
Montera bränsleslangen på 8 mm på slangnippeln (8 mm) och fäst slangen på nippeln med slangklämman (Figur 78B).
Montera kåpan på tanken (Figur 78A) med de fyra skruvar (nr 10 x ¾ tum) som du tog bort i steg 2 i Ta bort det inbyggda bränslefiltret.
Dra åt skruvarna till 113 N·cm.
| Underhållsintervall | Underhållsförfarande |
|---|---|
| Var 400:e timme |
|
Töm och rengör bränsletanken om bränslesystemet förorenas eller om du planerar att ställa maskinen i förvaring under en längre period. När du rengör bränsletanken ska du använda färskt, rent bränsle för att spola ur den.
Överför bränslet från tanken till en godkänd bränslebehållare med en hävertpump, eller ta bort tanken från maskinen och häll ut bränslet ur påfyllningspipen och ner i bränslebehållaren.
Note: Om du vill ta bort bränsletanken måste du först ta bort bränsle- och returslangarna från stigrörsenheten innan du tar bort tanken. Se steg 1 till 4 i Ta bort det inbyggda bränslefiltret.
Byt ut bränslefiltren, se Byta ut vattenseparatorfiltret.
Spola vid behov tanken med färskt, rent bränsle.
Sätt tillbaka tanken om du tog bort den tidigare. Se steg 1 till 5 i Ta bort det inbyggda bränslefiltret.
Fyll på tanken med färskt rent bränsle.
Koppla bort batteriet innan reparation utförs på maskinen. Lossa minusanslutningen först och plusanslutningen sist. Anslut först plusanslutningen och sedan minusanslutningen.
Ladda batteriet i ett öppet och välventilerat utrymme, på avstånd från gnistor och öppna lågor. Koppla ur laddaren innan batteriet ansluts eller kopplas bort.
Använd skyddskläder och isolerade verktyg.
Det elektriska systemets säkringsblock sitter under förarsätet (Figur 80).

| Underhållsintervall | Underhållsförfarande |
|---|---|
| Var 50:e timme |
|
Håll alltid batteriet rent och fulladdat. Torka av batteriet och batterilådan med en pappershandduk. Tvätta batteripolerna med en lösning bestående av fyra delar vatten och en del bikarbonat om de har korroderat. Stryk på ett tunt lager fett på batteripolerna som skydd mot korrosion.
Spänning: 12 V med 690 A kallstart vid –18 °C.
Ställ grässprutan på ett plant underlag, koppla in parkeringsbromsen, stäng av sprutpumpen, stäng av motorn och ta ut nyckeln.
Avlägsna batterikåpan och lossa den jordade minuskabeln (svart) från batteripolen (Figur 81).

Felaktig dragning av batterikabeln kan skada grässprutan och kablarna och orsaka gnistor. Gnistorna kan få batterigaserna att explodera, vilket kan leda till personskador.
Lossa alltid batteriets minuskabel (svart) innan du lossar pluskabeln (röd).
Anslut alltid pluskabeln (röd) innan du ansluter minuskabeln (svart).
Batteriets kabelanslutningar eller verktyg av metall kan kortslutas mot metalldelar på grässprutan och orsaka gnistor. Gnistorna kan få batterigaserna att explodera, vilket kan leda till personskador.
När batteriet installeras eller tas bort får batterianslutningarna inte komma i kontakt med några av grässprutans metalldelar.
Låt inte metallverktyg kortsluta mellan batterianslutningarna och grässprutans metalldelar.
Håll alltid batteriremmen på plats för att skydda och säkra batteriet.
Lossa pluskabeln (röd) från batteripolen.
Ta bort batteriet.
Sätt batteriet på batterilådan så att batteriterminalerna är vända från grässprutan.
Anslut pluskabeln (röd) till batteriets pluspol (+) och minuskabeln (svart) till batteriets minuspol (–) med skruvarna och muttrarna.
Trä isoleringskåpan över batteriets pluspol.
Montera batterikåpan och fäst den med remmen som togs bort tidigare (Figur 81).
Important: Håll alltid batterihållaren på plats för att skydda batteriet.
Important: Håll alltid batteriet fulladdat. Detta är särskilt viktigt för att batteriet inte ska skadas när temperaturen är under 0 °C.
Ta bort batteriet från chassit, se Ta bort batteriet.
Anslut en batteriladdare på 3–4 A till batteripolerna och ladda batteriet med 3–4 A i 4–8 timmar (12 V).
Important: Överladda inte batteriet.
Montera batteriet i chassit, se Montera batteriet.
Om maskinen ska stå i förvaring i mer än 30 dagar ska batteriet demonteras och laddas helt. Förvara det antingen på en hylla eller på maskinen. Koppla loss batterikablarna om batteriet förvaras på maskinen. Förvara batteriet svalt för att undvika att det laddas ur snabbt. Håll batteriet helt uppladdat för att förhindra att det fryser.
| Underhållsintervall | Underhållsförfarande |
|---|---|
| Efter de första 8 timmarna |
|
| Efter de första 200 timmarna |
|
| Var 100:e timme |
|
| Var 400:e timme |
|
Dra åt framhjulens hjulmuttrar till 75–102 N·m och bakhjulens hjulmuttrar till 95–122 N·m.
Olyckor under drift, som att köra in i trottoarer, kan skada ett däck eller en fälg och störa inställningen av hjulen. Kontrollera därför däckens skick efter en olycka.
SAE 85W-140-växelolja

Ställ maskinen på ett jämnt underlag och placera hjulen så att påfyllningspluggen är i det högsta läget (klockan 12) läge och avtappningspluggen befinner sig i det lägsta läget (klockan 6) (Figur 83).

Ta bort kontrollpluggen (Figur 45).
Du bör se smörjmedelsnivån längst ned vid gängorna i kontrollpluggshålet.

Kontrollera att kontrollpluggens O-ringar är hela.
Byt ut O-ringen om den är skadad.
Om smörjmedelsnivån är låg ska du ta bort påfyllningspluggen och fylla på med det angivna smörjmedlet tills smörjmedlet rinner ut ur kontrollpluggshålet (Figur 85). Se Smörjmedelsspecifikation för planetväxeln.

Kontrollera att påfyllningspluggens O-ringar är hela.
Byt ut O-ringen om den är skadad.
Sätt tillbaka påfyllningspluggen och kontrollpluggen (Figur 85).
Upprepa steg 1 till och med 6 för planetväxeln på maskinens andra sida.
| Underhållsintervall | Underhållsförfarande |
|---|---|
| Efter de första 8 timmarna |
|
| Var 400:e timme |
|
Ställ maskinen på ett jämnt underlag och placera hjulen så att påfyllningspluggen är i det högsta läget (klockan 12) och avtappningspluggen befinner sig i det lägsta läget (klockan 6). Se Figur 83 i Kontrollera planetväxelsmörjmedlet.
Placera ett dräneringskärl under planetväxelns nav, ta bort avtappningspluggen, påfyllningspluggen och kontrollpluggen och låt allt smörjmedel rinna ut (Figur 86).

Undersök om det finns metallbitar på avtappnings- och påfyllningspluggarna.
Om avtappnings- och påfyllningspluggen är täckta med metallbitar ska du reparera planetväxeln.
Kontrollera att O-ringarna på avtappningspluggen, påfyllningspluggen och kontrollpluggen är hela.
Byt ut skadade O-ringar.
Sätt tillbaka avtappningspluggen.
Placera ett avtappningskärl under bromshuset, ta bort avtappningspluggen och låt allt smörjmedel rinna ned i kärlet (Figur 87).

Sätt tillbaka avtappningspluggen i bromshuset.
0,62 liter. Se Smörjmedelsspecifikation för planetväxeln
Häll försiktigt det angivna växelsmörjmedlet i påfyllningsplugghålet. Se Figur 85 i Kontrollera planetväxelsmörjmedlet.
Du bör se smörjmedelsnivån längst ned vid gängorna i kontrollpluggshålet.
Important: Om planetväxeln blir full innan den angivna smörjmedelskvantiteten har tillsatts ska du vänta i en timme eller sätta tillbaka pluggarna och flytta maskinen cirka tre meter så att smörjmedlet fördelas i bromssystemet. Ta sedan bort pluggarna och fyll på det resterande smörjmedlet.
Vänta i 10 minuter tills smörjmedlet har stabiliserats och kontrollera sedan smörjmedelsnivån. Fyll vid behov på smörjmedel tills nivån når upp till gängornas nederkant i kontrollpluggshålet.
Sätt tillbaka påfyllningspluggen och kontrollpluggen. Se Figur 85 i Kontrollera planetväxelsmörjmedlet.
Upprepa steg Tömma planetväxeln på smörjmedel och Fylla på planetväxeln med smörjmedel för planetväxeln på maskinens andra sida.
| Underhållsintervall | Underhållsförfarande |
|---|---|
| Var 200:e timme |
|
Det ska vara 0–3 mm mellan däckens främre och bakre mittlinje.
Kontrollera och fyll vid behov på luft i däcken. Se Kontrollera däckens lufttryck.
Mät avståndet mellan framhjulen vid axelhöjd, både framtill och baktill på framhjulen (Figur 88).
Note: De främre delarna på framhjulen bör vara 0–3 mm närmare varandra än de bakre delarna på framhjulen.

Om måttet inte hamnar inom det angivna området ska du lossa kontramuttrarna i båda ändarna av dragstången (Figur 89).

Vrid dragstången för att flytta framdelen på hjulet inåt eller utåt.
Dra åt dragstängernas kontramuttrar när justeringen är korrekt.
Kontrollera att ratten vrids lika mycket i båda riktningarna.
Motorns kylvätska kan orsaka förgiftning vid förtäring. Förvara den utom räckhåll för barn och husdjur.
Het kylvätska som sprutas ut under tryck kan orsaka allvarliga brännskador, och detsamma gäller om man vidrör den heta kylaren eller närliggande delar.
Låt motorn svalna i minst 15 minuter innan du öppnar kylarlocket.
Använd en trasa för att öppna kylarlocket, och tänk på att öppna locket sakta så att ånga kan komma ut.
Kör inte maskinen om inte kåporna sitter på plats.
Håll fingrar, händer och kläder borta från den roterande fläkten och drivremmen.
En blandning med hälften vatten och hälften permanent frostskyddsmedel med etylenglykol.
Kontrollera att koncentrationen för motorns kylvätska är i enlighet med tillverkarens anvisningar.
| Underhållsintervall | Underhållsförfarande |
|---|---|
| Varje användning eller dagligen |
|
Om motorn har varit igång kan kylvätskan vara het och trycksatt. Om du öppnar kylarlocket när kylvätskan är het kan vätskan spruta ut och orsaka allvarliga brännskador på dig eller kringstående.
Låt motorn svalna i minst 15 minuter innan du öppnar kylarlocket.
Important: Tillsätt inte kylvätska i en överhettad motor, utan vänta tills motorn har svalnat helt. Om du tillsätter kylvätska i en överhettad motor kan motorblocket spricka.
Ställ grässprutan på en plan yta.
Koppla in parkeringsbromsen, stäng av sprutpumpen, stäng av motorn och ta ut nyckeln.
Ta försiktigt bort kylarlocket och locket på expansionstanken (Figur 90).

Kontrollera kylvätskenivån i kylaren och expansionstanken.
Note: Kylaren ska fyllas upp till påfyllningsrörets översta del och expansionstanken ska fyllas upp till Full-markeringen på tanken (Figur 90).
Om kylvätskenivån är låg tar du av expansionstankens lock och kylarlocket, och fyller på expansionstanken till Full-markeringen och kylaren till påfyllningsrörets översta del (Figur 90).
Important: Fyll inte på expansiontanken för mycket.
Important: Använd inte enbart vatten och inte heller en alkohol-/metanolbaserad kylvätska.
Sätt tillbaka kylarlocket och locket till expansionstanken (Figur 90).
5,5 liter. Se Specifikationer för kylvätska
| Underhållsintervall | Underhållsförfarande |
|---|---|
| Var 400:e timme |
|
Utrustning som tillhandahålls av ägaren: en bärbar kylvätsketermometer
Ställ grässprutan på ett plant underlag, koppla in parkeringsbromsen, stäng av sprutpumpen, stäng av motorn och ta ut nyckeln.
Vänta tills motorn är kall och ta sedan bort kylarlocket (Figur 90).
Placera ett stort avtappningskärl under kylaren.
Öppna tömningsventilen och låt kylvätskan rinna ned i kärlet (Figur 91).

Stäng tömningsventilen (Figur 91).
Ta bort kylarlocket (Figur 90).
Fyll sakta på kylvätska i kylaren till cirka 2,5 cm under lockets tätningsyta.
Note: Använd så mycket kylvätska som behövs för att fylla motorn och systemets ledningar. På så vis kan kylvätskan expandera utan att rinna över när motorn värms upp.
Starta motorn med locket löst på kylaren (Figur 90).
Låt motorn värmas upp tills termostaten öppnas.
Note: Motorns termostat ska öppna sig när den bärbara termometern visar att kylmedelstemperaturen är mellan 79 och 88 °C.
När kylvätskan har värmts upp ska du se till att den når upp till lockets tätningsyta och sedan skruva åt locket (Figur 90).
Öppna expansionstankens lock och fyll tanken med kylvätska till läget Cold (Figur 90).
Stäng av och starta motorn flera gånger, och kontrollera därefter kylvätskenivåerna.
Note: Fyll på kylvätska i kylaren och expansionstanken enligt behov.
Om bromspedalen åker ned mer än 2,5 cm innan du känner ett motstånd ska du justera bromsarna enligt följande:
Ställ grässprutan på ett plant underlag, stäng av sprutpumpen, stäng av motorn och ta ur nyckeln.
Lägg i parkeringsbromsen.
Placera klossar under hjulen för att förhindra att maskinen rullar.
Frigör parkeringsbromsen.
Lossa de främre kontramuttrarna på bromskablarna under grässprutans framdel (Figur 92).

Dra åt de bakre kontramuttrarna lika mycket tills bromspedalen rör sig 1–2 cm innan du känner något motstånd (Figur 92).
Important: Se till att du drar åt de båda bakre muttrarna lika mycket, så att de gängade ändarna på bromskablarna framför de främre muttrarna är lika långa.
Dra åt de främre kontramuttrarna.
| Underhållsintervall | Underhållsförfarande |
|---|---|
| Efter de första 8 timmarna |
|
| Var 100:e timme |
|
Kontrollera generator-/kylarfläktremmens skick och spänning. Byt ut remmen vid behov.
Ställ grässprutan på ett plant underlag, koppla in parkeringsbromsen, stäng av sprutpumpen, stäng av motorn och ta ut nyckeln.
Kontrollera generatorremmens spänning genom att trycka ned den mitt emellan generatorn och vevaxelskivorna med en kraft på 10 kg.
Note: Remmen ska böjas 10–12 mm. Fortsätt med steg 3 om remmen böjer sig för mycket. Om remspänningen är korrekt kan du hoppa över resten av den här proceduren och fortsätta arbetet med grässprutan.
Lossa skruven på generatorns vridpunkt. Lossa bulten som fäster generatorn till det spårförsedda staget (Figur 93).

För in en bändstång mellan generatorn och motorn, och bänd försiktigt generatorn utåt.
Dra åt generatorn och skruvarna för att säkra justeringen när spänningen är korrekt.
Dra åt låsmuttern för att säkra justeringen.
Uppsök läkare omedelbart om du blir träffad av en hydrauloljestråle och hydrauloljan tränger in i huden. Vätska som trängt in i huden måste opereras bort inom några få timmar av en läkare.
Lätta på allt tryck i det hydrauliska systemet på ett säkert sätt innan du utför något arbete i det.
Se till att alla hydrauloljeslangar och -ledningar är i gott skick och att alla hydraulanslutningar och -kopplingar är ordentligt åtdragna innan hydraulsystemet trycksätts.
Håll kropp och händer borta från småläckor eller munstycken som sprutar ut hydraulvätska under högt tryck.
Använd en kartong- eller pappersbit för att hitta hydraulläckor.
Tanken fylls med hydraulvätska av hög kvalitet på fabriken. Kontrollera hydraulvätskenivån innan motorn startas för första gången och därefter dagligen. Se Kontrollera hydraulvätskan.
Rekommenderad hydraulvätska: hydraulvätskan Toro PX Extended Life. Finns i spannar om 19 liter eller fat om 208 liter.
Note: En maskin som används med den rekommenderade utbytesvätskan kräver inte vätske- och filterbyten lika ofta.
Alternativa hydraulvätskor: Om hydraulvätskan Toro PX Extended Life inte finns att tillgå kan en annan vanlig oljebaserad hydraulvätska användas under förutsättning att specifikationerna för den faller inom ramen för alla nedanstående materialegenskaper samt uppfyller branschstandarder. Använd inte syntetisk vätska. Hör om din smörjmedelsdistributör kan rekommendera en lämplig produkt.
Note: Toro ansvarar inte för skador som uppstått till följd av att felaktiga vätskor använts. Använd därför endast produkter från ansedda tillverkare som ansvarar för sina rekommendationer.
| Materialegenskaper: | ||
| Viskositet, ASTM D445 | cSt vid 40 °C: 44 till 48 | |
| Viskositetsindex, ASTM D2270 | 140 eller högre | |
| Flytpunkt, ASTM D97 | -37 °C till -45 °C | |
| Branschspecifikationer: | Eaton Vickers 694 (I-286-S, M-2950-S/35VQ25 eller M-2952-S) | |
Note: Många hydraulvätskor är nästintill färglösa, vilket gör det svårt att upptäcka läckor. En rödfärgstillsats till hydraulvätskan finns tillgänglig i flaskor om 20 ml. En flaska räcker till 15–22 liter hydraulvätska. Beställ artikelnr 44-2500 från en auktoriserad Toro-återförsäljare.
Important: Toro Premium Synthetic Biodegradable Hydraulic Fluid är den enda syntetiska, biologiskt nedbrytbara vätskan som har godkänts av Toro. Vätskan kan blandas med de elastomerer som används i Toros hydraulsystem och kan användas i många olika temperaturer. Vätskan kan blandas med traditionella mineraloljor, men för största möjliga biologiska nedbrytbarhet och prestanda bör hydraulsystemet sköljas noga så att inga traditionella oljor finns kvar. Du kan köpa oljan i spannar om 19 liter eller fat om 208 liter hos auktoriserade Toro-återförsäljare.
| Underhållsintervall | Underhållsförfarande |
|---|---|
| Varje användning eller dagligen |
|
Important: Kontakta en auktoriserad Toro-återförsäljare för att få systemet spolat om vätskan förorenas.Förorenad hydraulvätska ser mjölkaktig eller svart ut jämfört med ren vätska.
Ställ grässprutan på ett plant underlag, koppla in parkeringsbromsen, stäng av sprutpumpen, stäng av motorn och ta ut nyckeln.
Rengör området runt hydraulvätsketankens oljestickslock och ta bort locket (Figur 94).

Important: Var mycket försiktig så att inte smuts eller andra föroreningar kommer in i öppningen när du kontrollerar vätskenivån.
Torka av oljestickan med en trasa och för in oljestickan helt i tanken.
Ta ut oljestickan ur påfyllningsröret och kontrollera vätskenivån (Figur 95).
Note: När vätskan är kall ska den nå upp till det nedre märket på oljestickan.

Om vätskenivån är låg fyller du på tanken med hydraulvätska av angiven sort för att höja nivån till den nedre markeringen. Se Specifikationer för hydraulvätskan.
Sätt i oljestickslocket i tanken och se till att det sitter säkert.
| Underhållsintervall | Underhållsförfarande |
|---|---|
| Var 800:e timme |
|
| Var 1000:e timme |
|
Het hydraulvätska kan orsaka allvarliga brännskador.
Låt hydraulvätskan svalna innan något underhåll utförs i hydraulsystemet.
Important: Om något annat filter används kan garantin för några av komponenterna bli ogiltig.
Använd ett ersättningsfilter från Toro (artikelnumret hittar du i reservdelskatalogen).
Ställ grässprutan på ett plant underlag, koppla in parkeringsbromsen, stäng av sprutpumpen, stäng av motorn och ta ut nyckeln.
Leta upp maskinens två hydraulfilter (Figur 96 och Figur 97).
Note: Ett filter sitter nedanför hydraulvätsketanken och det andra sitter på ramen på maskinens baksida.
Främre filter, nedanför hydraulvätsketanken.

Bakre filter, sitter på maskinramen.

Gör rent kring området där filtret ska monteras.
Placera ett avtappningskärl under filtret.
Ta bort filtret.
Kassera det använda filtret på en godkänd återvinningsstation.
Smörj den nya filterpackningen med ren hydraulvätska. Se Specifikationer för hydraulvätskan.
Torka rent området där filtret ska monteras med en trasa.
Justera filtret tills packningen vidrör fästplattan och dra sedan åt filtret ytterligare ett halvt varv.
Starta motorn, ställ in gasreglaget på hög tomgång och låt motorn gå 3–5 minuter för att lufta hydraulsystemet.
Stäng av motorn och kontrollera hydraulvätskenivån. Kontrollera även att det inte finns några läckor. Se Kontrollera hydraulvätskan.
54 liter. Se Specifikationer för hydraulvätskan.
| Underhållsintervall | Underhållsförfarande |
|---|---|
| Var 800:e timme |
|
| Var 2000:e timme |
|
Het hydraulvätska kan orsaka allvarliga brännskador.
Låt hydraulvätskan svalna innan något underhåll utförs i hydraulsystemet.
Important: Om någon annan vätska används kan garantin för några av komponenterna bli ogiltig.
Byt ut hydraulvätskefiltren. Se Byta hydraulfiltren.
Rengör området kring hydraulslangskopplingen på hydraulvätsketankens undersida (Figur 98).

Ställ ett stort avtappningskärl under hydraulvätsketankens nipplar.
Ta bort slangnippeln från tanken och låt vätskan rinna ned i kärlet (Figur 98).
Kassera spillvätskan på en godkänd återvinningsstation.
Montera slangen och nippeln på tanken och dra åt ordentligt.
Fyll hydraultanken med cirka 53 liter hydraulvätska av angiven typ eller motsvarande, se Specifikationer för hydraulvätskan.
Starta motorn, ställ in gasreglaget på hög tomgång och låt motorn gå 3–5 minuter för att lufta hydraulsystemet.
Stäng av motorn och kontrollera hydraulvätskenivån. Kontrollera även att det inte finns några läckor. Se Kontrollera hydraulvätskan.
| Underhållsintervall | Underhållsförfarande |
|---|---|
| Var 200:e timme |
|
| Var 400:e timme |
|
Undersök alla slangar i sprutsystemet för att se om de har några sprickor, läckor eller andra skador. Kontrollera samtidigt anslutningar och nipplar i samma syfte. Byt ut skadade slangar och nipplar.
| Underhållsintervall | Underhållsförfarande |
|---|---|
| Var 400:e timme |
|
Note: Identifiera rätt nätstorlek för sugfiltret som behövs för arbetet. Se Välja ett sugfilter.
Ställ maskinen på ett plant underlag, koppla in parkeringsbromsen, stäng av pumpen, stäng av motorn och ta ur nyckeln.
Ta bort hållaren som fäster slangnippeln på den stora slangen och filterkåpan på tankens ovansida (Figur 99).

Ta bort slangen och slangnippeln från filterkåpan (Figur 99).
Ta bort det gamla sugfiltret från filterkåpan i tanken (Figur 100).
Note: Släng det gamla filtret.

Montera det nya sugfiltret i filterkåpan.
Note: Se till att filtret sitter ordentligt på plats.
Rikta in slangen och slangnippeln med filterkåpan på tankens ovansida och säkra nippeln och kåpan med hållaren som du tog bort i steg 2.
| Underhållsintervall | Underhållsförfarande |
|---|---|
| Var 400:e timme |
|
Ställ maskinen på ett jämnt underlag, stäng av sprutpumpen, stäng av motorn och ta ur nyckeln.
Placera ett kärl under tryckfiltret (Figur 101).

Vrid avtappningspluggen motsols och ta bort den från tryckfiltrets skål (Figur 101).
Note: Låt skålen tömmas helt.
Vrid skålen moturs och avlägsna den från filterhuvudet (Figur 101).
Ta bort det gamla tryckfiltret (Figur 101).
Note: Kasta det gamla filtret.
Kontrollera att avtappningspluggens o-ring (sitter på insidan av skålen) och skålens o-ring (sitter på filterhuvudets insida) inte är slitna eller skadade (Figur 101).
Note: Byt ut skadade eller slitna o-ringar för pluggen, skålen eller både.
Montera det nya tryckfiltret i filterhuvudet (Figur 101).
Note: Kontrollera att filtret sitter ordentligt i filterhuvudet.
Montera skålen på filterhuvudet och dra åt för hand (Figur 101).
Montera pluggen i skålen och dra åt den för hand (Figur 101).
Note: Identifiera rätt nätstorlek för munstycksfiltret som behövs för arbetet. Se Välja ett munstycksspetsfilter (tillval).
Ställ maskinen på ett plant underlag, koppla in parkeringsbromsen, stäng av sprutpumpen, stäng av motorn och ta ur nyckeln.
Ta bort munstycket från spruttornet (Figur 102).

Ta bort det gamla munstycksfiltret (Figur 102).
Note: Släng det gamla filtret.
Montera det nya munstycksfiltret (Figur 102).
Note: Se till att filtret sitter ordentligt på plats.
Montera munstycket på spruttornet (Figur 102).
Följande rutin kan användas vid justering av stoppen på mittrampen i syfte att hålla de vänstra och högra sprutramperna på samma nivå:
Fäll ut sprutramperna till sprutläget.
Ta bort saxpinnen från svängtappen (Figur 103).

Höj sprutrampen, ta bort tappen (Figur 103) och sänk därefter långsamt sprutrampen till marken.
Undersök om tappen har några skador, och byt ut den om det behövs.
Använd en skiftnyckel på manövreringsstångens platta sidor för att hålla fast den och lossa sedan kontramuttern så att du kan reglera öglestången (Figur 104).

Vrid öglestången i manövreringsstången för att förkorta eller förlänga det utökade manövreringsorganet till önskat läge (Figur 104).
Note: Du måste vrida öglestången ett halvt eller helt varv för att kunna montera stången på sprutan.
När de önskade lägena har erhållits drar du åt kontramuttern för att fästa manövreringsorganet och öglestången.
Höj upp sprutrampen så att svängleden kommer i nivå med manövreringsstången.
Håll i sprutrampen och för in tappen genom både svängleden och manövreringsstången på sprutrampen (Figur 103).
När tappen sitter på plats släpper du sprutrampen och säkrar tappen med saxpinnen som togs bort tidigare.
Upprepa vid behov proceduren för alla manövreringsstänger.
| Underhållsintervall | Underhållsförfarande |
|---|---|
| Var 400:e timme |
|
Ställ maskinen på ett plant underlag, koppla in parkeringsbromsen, stäng av pumpen, stäng av motorn och ta ur nyckeln.
Skjut ut de yttre sprutrampssektionerna till sprutläget och stötta upp dem med stativ eller remmar och lyftutrustning.
Lossa skruven och muttern som fäster svängtappen och ta bort tappen (Figur 105).

Ta bort sprutrampen och tappfästet från mittramens slutkanal för att nå nylonbussningarna.
Ta bort nylonbussningarna från fram- och baksidan på tappfästet och undersök dem (Figur 105).
Note: Byt ut slitna eller skadade bussningar.
Smörj nylonbussningarna med lite olja och montera dem i tappfästet (Figur 105).
Rikta in hålen i tappfästet efter hålen i slutkanalen (Figur 105).
Sätt tillbaka svängtappen och fäst den med flänsskruven och flänslåsmuttern som du tog bort i steg 3.
Upprepa steg 2 till och med 8 på den andra yttre sprutrampssektionen.
| Underhållsintervall | Underhållsförfarande |
|---|---|
| Var 400:e timme |
|
Note: Nedanstående maskinkomponenter anses vara slitdelar och täcks inte av den garanti som gäller för maskinen, förutom vid tillverkningsfel.
Låt en auktoriserad Toro-återförsäljare kontrollera att följande inre pumpkomponenter inte är skadade:
Pumpmembran
pumpens backventilenheter.
Byt ut komponenter vid behov.
Tvätta maskinen efter behov med enbart vatten, alternativt med ett milt tvättmedel. Du kan använda en trasa när du tvättar maskinen.
Important: Använd inte bräckt eller återvunnet vatten vid rengöring av maskinen.
Note: Tvätta inte maskinen med högtryckstvätt. Högtryckstvättar kan skada elsystemet, viktiga dekaler kan lossna och fett som behövs vid friktionspunkterna kan tvättas bort. Undvik att använda alltför mycket vatten nära kontrollpanelen, motorn och batteriet.
Important: Tvätta inte maskinen medan motorn är i gång. Om du tvättar maskinen medan motorn är i gång kan interna skador på motorn uppstå.
| Underhållsintervall | Underhållsförfarande |
|---|---|
| Var 200:e timme |
|
Important: Spruta inte in vatten i ett varmt motorrum, eftersom det kan skada motorn.
Ställ grässprutan på ett plant underlag, koppla in parkeringsbromsen, stäng av sprutpumpen, stäng av motorn och ta ut nyckeln.
Tippa förar- och passagerarsätena framåt och rikta in stöttan i spärrhaken i stöttans styrskåra.
Låt kylsystemet svalna.
Ta bort sätessockelns åtkomstpanel. Se Ta bort sätessockelns åtkomstpanel.
Rengör kylflänsarna med hjälp av en mjuk borste eller tryckluft med lågt tryck.
Note: Rengör kylflänsarna oftare vid behov. Kontrollera även alla kylslangar och byt ut dem om de läcker eller är skadade eller slitna.
För tillbaka förar- och passagerarsätena.
Montera sätessockelns åtkomstpanel. Se Montera sätessockelns åtkomstpanel.
| Underhållsintervall | Underhållsförfarande |
|---|---|
| Var 200:e timme |
|
Skölj och töm hela sprutsystemet ordentligt.
Ta bort flödesmätaren från sprutan och spola den med rent vatten.
Ta bort fästringen på uppströmssidan (Figur 106).

Rengör turbinen och turbinnavet för att ta bort metallspån och eventuellt slampulver.
Kontrollera att turbinbladen inte är slitna.
Note: Håll turbinen i handen och snurra den. Den ska snurra fritt och inte sakta ner så mycket. Byt i annat fall ut den.
Montera flödesmätaren.
Använd en luftstråle med lågt tryck (0,34 bar) för att säkerställa att turbinen snurrar fritt.
Note: Om den inte gör det lossar du den sexkantiga tappen längst ned i turbinnavet 1/16 varv tills turbinen snurrar fritt.
Se följande avsnitt om att rengöra omrörningsventilen:
Se följande avsnitt om att rengöra de tre sektionsventilerna:
Ställ grässprutan på ett plant underlag, koppla in parkeringsbromsen, stäng av sprutpumpen, stäng av motorn och ta ut nyckeln.
Ta bort hållaren som fäster manövreringsorganet till sektionsventilens eller omrörningsventilens grenrörsventil (Figur 107).
Note: Kläm ihop hållarens två ben samtidigt som du trycker ned den.
Note: Spara manövreringsorganet och hållaren för montering i Montera ventilens manövreringsorgan.

Ta bort manövreringsorganet från grenrörsventilen.
Ta bort snabbkopplingstappen som fäster omrörningsslangens snabbkoppling vid omrörningsventilens grenrör (Figur 108).

Ta bort de tre flänsklämmor som fäster omrörningsventilens grenrör vid tryckfilterhuvudets flänsar och kopplingsadaptern (Figur 108).
Ta bort de två flänsskruvar (¼ x ¾ tum) och två flänslåsmuttrar (¼ tum) som fäster omrörningsventilens grenrör vid ventilstödet (Figur 109).

Ta bort omrörningsventilens grenrör och packning från maskinen (Figur 109).
Note: Lossa tryckfilterhuvudets monteringsdelar efter behov för att skapa spelrum.
Note: Spara flänsklämmorna, packningarna och snabbkopplingstapparna för montering i Montera omrörningsventilens grenrör.
Ta bort snabbkopplingstappen som fäster sektionsöverströmningsventilens snabbkoppling vid sektionsventilens grenrör (Figur 110).

Ta bort snabbkopplingstappen som fäster snabbkopplingen för sektionstillförselslangen vid snabbanslutningsfästet på sektionsventilens grenrör (Figur 110).
Ta bort de två flänsklämmor som fäster sektionsventilens grenrör på de intilliggande komponenternas flänsar (Figur 111).

På ventilgrenrören för vänster och höger sektion tar du bort de två flänsskruvar (¼ x ¾ tum) och två flänslåsmuttrar (¼ tum) som fäster sektionsventilens grenrör vid ventilstödet (Figur 112).

Flytta ned sektionsventilens grenrör och packningar för att komma åt sektionsöverströmningsventilen och ta sedan bort den från maskinen (Figur 112).
Note: Lossa monteringsdelarna för den vänstra och högra sektionsventilens grenrör efter behov för att skapa spelrum.
Note: Spara flänsklämmorna, packningarna och snabbkopplingstapparna för montering i Montera sektionsventilens grenrör.
Placera ventilskaftet så att ventilen är stängd (B i Figur 113).

Ta bort ändkåpans två fästen från respektive ände av grenrörshuset (Figur 114 och Figur 115).


Vrid ventilskaftet så att kulan är i öppet läge (Figur 113A).
Note: När ventilskaftet är parallellt med ventilflödet glider kulan ut.
Ta bort ventilskafthållaren från hålen i grenrörets skaftport (Figur 114 och Figur 115).
Ta bort ventilskafthållaren och ventilskaftets säte från grenröret (Figur 114 och Figur 115).
Ta bort ventilskaftenheten inuti grenrörshuset (Figur 114 och Figur 115).
Rengör grenrörets insida och utsidan på kulventilen, ventilskaftet, skaftstoppet och ändkopplingarna.
Material som föraren måste ha: genomskinligt silikonfett.
Important: Använd endast silikonfett när du monterar ventilen.
Kontrollera att utloppskopplingens o-ringar (endast sektionsventilens grenrör), ändkåpans o-ringar, bakre sätets o-ringar och kullagret inte är skadade eller slitna (Figur 114 och Figur 115).
Note: Byt ut alla skadade eller slitna o-ringar och lager.
Stryk på silikonfett på ventilskaftet och montera det i ventilskaftsätet (Figur 114 och Figur 115).
Montera ventilskaftet och sätet på grenröret och fäst dem med ventilskafthållaren (Figur 114 och Figur 115).
Kontrollera att bakre sätets O-ring och kullagret är inriktade och sitter ordentligt i ändkåpans fäste (Figur 114 och Figur 115)
Montera ändkåpans fästenhet på grenrörshuset tills flänsen på ändkåpans fäste vidrör grenrörshuset (Figur 114 och Figur 115), och vrid sedan ändkåpans fäste ytterligare ett åttondels till ett kvarts varv.
Note: Var försiktig så att du inte skadar änden på fästet.
Montera kulan i ventilhuset (Figur 116).
Note: Ventilskaftet ska passa i kulans drivspår. Justera kulans position om ventilskaftet inte passar (Figur 116).

Vrid ventilskaftenheten så att ventilen är stängd (Figur 113B)
Upprepa steg 4 och 5 för den andra ändkåpans fästenhet.
Rikta in de två packningarna som du tog bort i Ta bort sektionsventilens grenrör mot flänsarna på sektionsventilens grenrör (Figur 117).
Note: Lossa monteringsdelarna för den vänstra och högra sektionsventilens grenrör efter behov för att skapa spelrum.

Rikta in flänsen på sektionsventilens grenrör mellan flänsarna på de andra sektionsventilerna och/eller kopplingsadaptern (Figur 117).
Montera snabbanslutningsfästet för sektionsventilens grenrör på sektionsöverströmningsventilens snabbkopplingsuttag med en snabbkopplingstapp (Figur 117 och Figur 118).

Montera flänsklämmorna som du tog bort i Ta bort sektionsventilens grenrör löst på flänsarna på sektionsventilens grenrör och flänsarna på de andra sektionsventilerna och/eller kopplingsadaptern (Figur 119).

På ventilgrenrören för vänster respektive höger sektion monterar du sektionsventilens grenrör på ventilstödet (Figur 117) med de två flänsskruvarna (¼ x ¾ tum) och flänslåsmuttrarna (¼ tum) som du tog bort i Ta bort sektionsventilens grenrör.
Dra åt flänsskruvarna och flänslåsmuttrarna till 19,78–25,42 N·m.
Dra åt de två flänsklämmorna för hand (Figur 119).
Montera sektionsslangens snabbkoppling på snabbanslutningsfästet för sektionsventilens grenrör med snabbkopplingstappen (Figur 118).
Om du lossade på monteringsdelarna för den vänstra och högra sektionsventilens grenrör, drar du åt skruven och muttern till 19,78–25,42 N·m.
Rikta in flänsen på omrörningsventilens grenrör och de tre packningarna mot flänsarna på omrörningsöverströmningsventilen, tryckfilterhuvudet och kopplingsadaptern (Figur 120 och Figur 121).
Note: Lossa tryckfilterhuvudets monteringsdelar efter behov för att skapa spelrum.


Fäst omrörningsventilens grenrör löst vid omrörningsöverströmningsventilen, tryckfilterhuvudet och kopplingsadaptern (Figur 121) med de tre flänsklämmorna som du tog bort i Ta bort omrörningsventilens grenrör.
Montera omrörningsventilens grenrör vid ventilstödet med de två flänsskruvarna (¼ x ¾ tum) och flänslåsmuttrarna (¼ tum) som du tog bort i Ta bort omrörningsventilens grenrör.
Dra åt flänsskruvarna och flänslåsmuttrarna till 19,78–25,42 N·m.
Dra åt de tre flänsklämmorna för hand (Figur 121).
Montera omrörningsslangens snabbkoppling på snabbanslutningsfästet för omrörningsventilens grenrör med snabbkopplingstappen (Figur 121).
Om du lossade på tryckfilterhuvudets monteringsdelar drar du åt skruven och muttern till 19,78–25,42 N·m.
Rikta in manövreringsorganet mot grenrörsventilen (Figur 107).
Sätt fast manövreringsorganet och ventilen med hållaren som du tog bort i steg 2 i Ta bort ventilens manövreringsorgan.
Stäng av motorn, ta ut nyckeln (i förekommande fall) och vänta tills alla rörliga delar har stannat innan du kliver ur förarsätet. Låt maskinen svalna innan du justerar, rengör, förvarar eller utför underhåll på den.
Förvara inte maskinen eller bränslebehållaren i närheten av en öppen låga, gnista eller tändlåga, t.ex. nära en varmvattenberedare eller någon annan utrustning.
Utför följande procedurer:
Important: Använd inte bräckt eller återvunnet vatten vid rengöring av maskinen.
Parkera maskinen på ett jämnt underlag, koppla in parkeringsbromsen, stäng av sprutpumpen och motorn, ta ut nyckeln och vänta tills alla rörliga delar har stannat innan du kliver ur maskinen.
Rengör hela maskinen från smuts och lort, inklusive utsidan av motorns cylinderhuvudflänsar och blåsarhuset.
Important: Tvätta maskinen med ett milt rengöringsmedel och vatten. Använd intehögtrycksvatten för att tvätta maskinen. Högtryckstvätt kan skada elsystemet och tvätta bort fett som behövs i friktionspunkter. Spola inte med för mycket vatten, i synnerhet inte i närheten av kontrollpanelen, lamporna, motorn eller batteriet.
Flytta maskinen till avtappningsområdet, koppla in parkeringsbromsen, stäng av sprutpumpen, stäng av motorn, ta ut nyckeln och vänta tills alla rörliga delar har stannat innan du lämnar förarsätet.
Töm färskvattentanken och låt pluggen vara öppen.
Töm spruttanken så mycket som möjligt.
Blanda ett rosthämmande, icke alkoholbaserat frostskyddsmedel. Se Förbereda konditioneraren.
Ta bort slangen från tryckmätarens baksida och placera slangens ände i en behållare (Figur 122).

Starta motorn och sänk ned de yttre rampsektionerna.
Kör sprutpumpen några minuter så att frostskyddsmedlet blandas i sprutsystemet och eventuella spruttillbehör.
Slå På omkopplarna för vänster, mitten och höger sektion.
Slå På huvudsektionsomkopplaren och titta efter följande:
Kontrollera att frostskyddsmedlet strömmar från den bortkopplade änden av tryckmätarslangen.
Spruta ut ur munstycket tills du ser frostskyddsmedlet.
Slå AV huvudsektionsomkopplaren.
Slå AV pumpomkopplaren.
Höj sprutrampssektionerna med hjälp av de yttre sprutrampssektionernas lyftomkopplare.
Höj sprutrampssektionerna tills de har förflyttat sig hela vägen in i transporthållaren och befinner sig i transportläget ”X”, och lyftcylindrarna är helt indragna.
Note: Se till att lyftcylindrarna är helt indragna, så att manövreringsstången inte skadas.
Stäng av motorn.
Töm spruttanken så mycket som möjligt.
Utför följande procedurer som finns i Kortvarig förvaring:
Utför även följande procedurer:
Kontrollera lufttrycket i däcken. Se Kontrollera däckens lufttryck.
Kontrollera bromsarna. Se Justera bromsarna.
Kontrollera och dra åt alla bultar, muttrar och skruvar.
Note: Reparera eller byt ut delar som är slitna eller skadade.
Måla alla lackskador och bara metallytor (du kan köpa färg hos en auktoriserad Toro-återförsäljare).
Rengör omrörningsventilen och de tre sektionsventilerna. Se Rengöra omrörnings- och sektionsventilerna.
Smörj sprutan. Se Smörja sprutpumpen.
Kontrollera skicket på sprutans alla slangar.
Note: Byt ut slangar som är slitna eller skadade.
Dra åt alla slangklämmor och slangnipplar.
Serva luftrenaren. Se Kontrollera luftrenaren.
Byt ut motoroljefiltret och oljan. Se Byta ut motoroljefiltret och Byta ut motoroljan.
Töm bränsletanken. Se Tömma bränsletanken.
Förbered bränslet med bränslestabiliserare i enlighet med tillverkarens anvisningar och fyll på det i bränsletanken.
Starta motorn och låt den gå på tomgång i 5 minuter.
Stäng av motorn.
Dra åt bränslesystemets samtliga nipplar.
Flytta maskinen till ett rent och torrt lagerutrymme.
Ta bort batteriet från chassit. Se Ta bort batteriet.
Note: Ha inte kablarna anslutna till batteriet under förvaringen.
Kontrollera elektrolytnivån.
Ladda batteriet helt. Se Ladda batteriet.
Important: Batteriet måste vara fulladdat så att det inte fryser och skadas vid temperaturer under 0 °C. Ett fulladdat batteri behåller sin laddning i ungefär 50 dagar vid temperaturer under 4 °C. Vid temperaturer över 4 °C ska du kontrollera vattennivån i batteriet och ladda batteriet var 30:e dag.
Ta ut nyckeln ur tändningen och placera nyckeln på en säker plats utom räckhåll för barn.
Täck över maskinen för att skydda den och hålla den ren.
För in tryckmätarslangen i slangkopplingen på tryckmätarens baksida (Figur 123).

Stäng färskvattentankens plugg.
Fyll på bränsle i bränsletanken.
Ladda batteriet helt. Se Ladda batteriet.
Montera batteriet i chassit. Se Montera batteriet.
| Problem | Possible Cause | Corrective Action |
|---|---|---|
| Startmotorn roterar inte motorn. |
|
|
| Motorn går runt, men startar inte. |
|
|
| Motorn startar, men vill inte fortsätta gå. |
|
|
| Motorn går, men hackar eller misständer. |
|
|
| Det går inte att köra motorn på tomgång. |
|
|
| Motorn överhettas. |
|
|
| Motorn tappar kraft. |
|
|
| Onormala vibrationer eller ljud. |
|
|
| Maskinen går inte, eller går trögt i båda riktningarna på grund av att motorn kör fast eller motorstopp inträffar. |
|
|
| Maskinen går inte i någon riktning. |
|
|
| Problem | Possible Cause | Corrective Action |
|---|---|---|
| En sprutsektion sprutar inte. |
|
|
| En sprutsektion stängs inte av. |
|
|
| En sprutsektionsventil läcker. |
|
|
| Trycket sjunker när en sprutsektion slås på. |
|
|
| Sprutmunstycket/munstyckena droppar när sektionsomkopplaren/omkopplarna är avstängda. |
|
|
| Trycket faller under pågående sprutning. |
|
|
