| Intervalo de assistência | Procedimento de manutenção |
|---|---|
| Em todas as utilizações ou diariamente |
|
Esta máquina é um veículo de aplicação de rega dedicado que se destina a ser utilizado por operadores profissionais contratados em aplicações comerciais. Foi principalmente concebido para regar a relva em parques, campos de golfe, campos desportivos e relvados comerciais bem mantidos. Esta máquina foi principalmente concebida como veículo todo-o-terreno e não se destina a condução intensiva em vias públicas. Se a máquina for utilizada com qualquer outro propósito, poderá pôr em perigo o utilizador ou outras pessoas.
Leia estas informações cuidadosamente para saber como utilizar o produto e como efetuar a sua manutenção de forma adequada de forma a evitar ferimentos e evitar danos no produto. A utilização correta e segura do produto é da exclusiva responsabilidade do utilizador.
Visite www.Toro.com para obter mais informações, incluindo dicas de segurança, materiais de formação, informações sobre acessórios, ajuda a encontrar um revendedor ou para registar o seu produto.
Sempre que necessitar de assistência, peças genuínas Toro ou informações adicionais, entre em contacto com um representante de assistência autorizado ou com o serviço de assistência Toro, indicando os números de modelo e de série do produto. Figura 1 identifica a localização dos números de série e de modelo do produto. Escreva os números no espaço fornecido.
Important: Com o seu dispositivo móvel, pode ler o código QR no autocolante do número de série (se equipado) para aceder às informações de garantia, peças e outras.

Este manual identifica potenciais perigos e tem mensagens de segurança identificadas pelo símbolo de alerta de segurança (Figura 2), que identifica perigos que podem provocar ferimentos graves ou mesmo a morte, se não respeitar as precauções recomendadas.

Neste manual são utilizados dois termos para identificar informação. Importante chama a atenção para informação especial de ordem mecânica e Nota sublinha informação geral que requer atenção especial.
Este produto cumpre todas as diretivas europeias relevantes. Para mais informações consultar a folha de Declaração de conformidade (DOC) em separado, específica do produto.
Utilizar ou operar o motor em qualquer terreno com floresta, arbustos ou relva é uma violação da secção 4442 ou 4443 do código de recursos públicos da Califórnia exceto se o motor estiver equipado com uma proteção contra chamas, como definido na secção 4442, mantido em boas condições ou o motor for construído equipado e mantido para a prevenção de fogo.
O Manual do proprietário do motor é fornecido para informações acerca do sistema de emissões, manutenção e garantia da US Environmental Protection Agency (EPA) e regulamento de controlo de emissões da Califórnia. A substituição pode ser solicitada através do fabricante do motor.
CALIFÓRNIA
Proposição 65 Aviso
É do conhecimento do Estado da Califórnia que os gases de escape a alguns dos componentes deste veículo contêm químicos que podem provocar cancro, defeitos congénitos ou outros problemas reprodutivos.
Os pólos, terminais e restantes acessórios da bateria contêm chumbo e derivados de chumbo; é do conhecimento do Estado da Califórnia que estes químicos podem provocar cancro e problemas reprodutivos. Lave as mãos após a utilização.
É do conhecimento do Estado da Califórnia que a utilização deste produto pode causar exposição a químicos que podem provocar cancro, defeitos congénitos ou outros problemas reprodutivos.
A utilização ou manutenção indevida por parte do utilizador ou do proprietário pode provocar ferimentos. De modo a reduzir o risco de lesões, respeite estas instruções de segurança e preste toda a atenção ao símbolo de alerta de segurança (Figura 2), que indica: Cuidado, Aviso ou Perigo – instruções de segurança pessoal. O não cumprimento desta instrução pode resultar em acidentes pessoais ou mesmo na morte.
Esta máquina foi concebida de acordo com a SAE J2258.
Este produto pode causar ferimentos pessoais. Respeite sempre todas as instruções de segurança, de modo a evitar ferimentos pessoais graves.
Leia e compreenda o conteúdo deste Manual do utilizador antes de ligar o motor.
Enquanto utilizar a máquina, esteja permanentemente atento. Não execute quaisquer atividades que possam causar distrações para não ocorrerem ferimentos nem danos materiais.
Utilize Equipamento de Proteção Pessoal (EPP) para proteção contra o contato pessoal com produtos químicos. As substâncias químicas utilizadas no sistema de pulverização podem ser perigosas ou tóxicas.
Não coloque as mãos ou os pés perto de componentes em movimento da máquina.
Não opere a máquina sem que todos os resguardos e outros dispositivos protetores de segurança estejam instalados e a funcionar.
Mantenha-se afastado de qualquer área de descarga dos bicos do pulverizados e da dispersão dos produtos pulverizados. Mantenha as pessoas e as crianças pequenas afastadas da área de operação.
Nunca permita que crianças utilizem a máquina.
Desligue o motor, retire a chave (se equipada) e aguarde até que todo o movimento pare antes de sair da posição do operador. Deixe a máquina arrefecer antes de ajustar, fazer manutenção, limpar ou armazenar.
O uso e manutenção impróprios desta máquina
podem resultar em ferimentos. Para reduzir o risco de lesões,
respeite estas instruções de segurança e preste
sempre atenção ao símbolo de alerta de segurança
, que indica: Cuidado, Aviso
ou Perigo – instruções de segurança pessoal.
O não cumprimento destas instruções pode resultar
em ferimentos pessoais ou mesmo em morte.
Este manual não abrange a totalidade dos acessórios adaptáveis a esta máquina. Consulte o Manual do Utilizador específico, fornecido com cada engate, para obter informações sobre instruções de segurança adicionais.
![]() |
Os autocolantes de segurança e de instruções são facilmente visíveis e situam-se próximo das zonas de potencial perigo. Substitua todos os autocolantes danificados ou em falta. |





























Note: Determine os lados direito e esquerdo da máquina a partir da posição normal de utilização.
Note: Se tiver alguma questão ou necessitar de informações adicionais acerca do sistema de controlo de pulverização, consulte o Manual do utilizador fornecido com o sistema.
Important: Este pulverizador é vendido sem bicos de pulverização.Para utilizar o pulverizador, tem de adquirir e instalar os bicos. Contate o seu distribuidor Toro autorizado para obter mais informações sobre os kits de secções e acessórios disponíveis. Depois de instalar os bicos e antes de utilizar o pulverizador pela primeira vez, ajuste as válvulas de distribuição das secções para que a pressão e a taxa de aplicação sejam iguais em todas as secções quando desliga uma ou mais secções. Consulte Ajuste das válvulas de distribuição de secção.
Peças necessárias para este passo:
| Encaixe de desligação rápida | 1 |
Note: Para concluir este procedimento, precisa de um tubo com um encaixe NPT macho de 1 pol. e vedante de roscado PTFE.
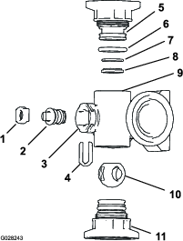
No lado dianteiro direito da cobertura do depósito, retire os 2 pernos de gancho que prendem os trincos do acoplamento de desligação rápida para o recetáculo de enchimento antissifão (Figura 3).

Rode e abra os trincos para desbloquear o encaixe de desligação rápida do acoplamento de desligação rápida (Figura 3).
Retire o encaixe de desligação rápida do acoplamento de desligação rápida (Figura 3).
Feche os trincos e instale os pernos de gancho nas flanges do acoplamento de desligação rápida (Figura 3).
Aplique vedante de roscado PTFE (Figura 4) nos roscados do encaixe do tubo de enchimento (NPT, 1 pol.).

Enrosque o acoplamento de desligamento rápido no tudo de enchimento e aperte-o bem à mão (Figura 4).
Important: Pôr o sistema de pulverização a funcionar com as molas das dobradiças das secções com a pressão incorreta pode danificar as rampas. Meça as molas e utilize a porca de bloqueio para comprimir as molas para 4 cm, se for necessário.
O pulverizador é fornecido com as extensões da secção puxadas para a frente para facilitar o transporte da máquina. As molas não são completamente apertadas na altura do fabrico para permitir que as secções fiquem nesta posição para transporte. Antes de utilizar a máquina, ajuste as molas com a compressão correta.
Se for necessário, retire os componentes da embalagem que prendem as secções de extensão direita e esquerda durante o transporte.
Apoie as secções com elas estendidas na posição de pulverização.
Na dobradiça da secção, meça a compressão das molas superior e inferior enquanto as secções estão na sua posição estendida (Figura 5).
Comprima as molas até à medida de 4 cm.
Utilize a porca de bloqueio para comprimir qualquer mola que meça mais do que 4 cm.

Repita o procedimento para cada mola em ambas as dobradiças das secções.
Desloque as secções para a posição de transporte “X”. Consulte Alteração da posição da secção de pulverização para mais informações.



O pedal de tração (Figura 10) permite controlar o avanço e o recuo da máquina. Utilizando o dedo do pé ou o calcanhar do pé direito, pressione a parte superior do pedal para mover a máquina para a frente ou a parte inferior do pedal para mover a máquina em marcha-atrás. Liberte o pedal para abrandar e parar a máquina.
Important: Antes de avançar ou recuar, verifique se o pulverizador está completamente parado antes de mudar entre as posições PARA A FRENTE e PARA TRáS.
Note: Quanto maior for a pressão no pedal em ambos os sentidos, maior é a velocidade do pulverizador. Para obter a velocidade máxima de avanço, engate a alavanca do acelerador para a posição RáPIDO e carregue no pedal de tração para a frente.
Note: Para obter a potência máxima com uma carga pesada, ou no caso de tentar subir uma inclinação, coloque o acelerador na posição RáPIDO e pressione ligeiramente o pedal de tração para manter a velocidade do motor elevada. Quando a velocidade do motor começar a diminuir, liberte ligeiramente o pedal de tração de modo a aumentar as rotações do motor.

Utilize o pedal dos travões para parar ou diminuir a velocidade da máquina (Figura 10).
Se utilizar o pulverizador com travões usados ou ajustados incorretamente, pode perder o controlo do veículo, provocando lesões graves ou a morte do utilizador ou das pessoas que estejam à volta.
Verifique sempre os travões antes de utilizar o pulverizador e mantenha-os ajustados e reparados.
O travão de estacionamento é um pedal que se encontra à esquerda do travão (Figura 10). Engate o travão de estacionamento sempre que sair do banco, para evitar qualquer movimento acidental do pulverizador. Para engatar o travão de estacionamento, carregue no pedal dos travões e, fazendo pressão no travão, carregue no pedal do travão de estacionamento. Para desativar, carregue e liberte o pedal dos travões. Se parar o pulverizador numa grande inclinação, engate o travão de estacionamento e coloque uns calços atrás das rodas, no sentido descendente.
O interruptor de ignição (Figura 9) é utilizado para ligar e desligar o motor e tem três posições: DESLIGAR, LIGAR/PRé-AQUECIMENTO e ARRANQUE.
O interruptor de bloqueio da velocidade bloqueia a posição do pedal de tração quando o interruptor é ativado (Figura 11). Isto assegura que o pulverizador se desloca a uma velocidade constante quando conduz a máquina em piso nivelado.

A alavanca do acelerador, situada no painel frontal entre os bancos (Figura 11), controla a velocidade do motor. Empurre a alavanca para a frente para aumentar a velocidade do motor e puxe-a para trás para reduzi-la.
Ligue o interruptor para ligar as luzes de trabalho (Figura 9). Empurre o interruptor para ligar as luzes e puxe-o para desligá-las.
O indicador de combustível encontra-se no painel de instrumentos da máquina e mostra a quantidade de combustível que se encontra no depósito (Figura 9).
A porta de alimentação USB com 2 tomadas encontra-se na parte de trás do apoio para o braço (Figura 12).


A luz de aviso da pressão de óleo do motor acende quando a pressão do óleo fica abaixo de 0,48 bar.
Quando a máquina está a trabalhar normalmente, a luz de aviso da pressão do óleo acende quando o interruptor da ignição é rodado para LIGAR e apaga quando o motor está a trabalhar.
A luz de aviso da temperatura do líquido de arrefecimento acende quando a temperatura do líquido de arrefecimento está mais quente do que 102 a 108 °C.
A luz de aviso de tensão da bateria acende quando a tensão do alternador baixa para 1,5 V ou mais abaixo da tensão da bateria.
Quando a máquina está a trabalhar normalmente, a luz de aviso de tensão da bateria acende quando o interruptor da ignição é rodado para LIGAR e apaga quando o motor está a trabalhar.
A luz indicadora das velas acende quando as velas recebem energia. Quando a chave na ignição é rodada para a posição LIGAR, a luz indicadora das velas acende durante 6 segundos enquanto a vela recebe energia. Quando a luz indicadora das velas apaga, o motor está pronto para arrancar.

O indicador de pressão (Figura 14) situa-se no painel. Este instrumento indica a pressão do fluido no sistema de pulverização em psi e kPa.
Utilize o interruptor do modo do pulverizador para alternar entre o modo da taxa de aplicação (circuito fechado) e o modo manual (circuito aberto)..
O interruptor da taxa de aplicação situa-se no painel de controlo à direita do volante (Figura 14). Utilize o interruptor da taxa de aplicação para controlar a velocidade da bomba de pulverização quando operar o pulverizador no modo manual. Carregue e mantenha o interruptor para a frente para aumentar a taxa de aplicação (pressão) ou carregue e mantenha o interruptor para trás para diminuir a taxa de aplicação (pressão).
O interruptor da bomba de pulverização situa-se na consola central à direita do banco (Figura 14). Pressione o interruptor para ativar ou desativar o funcionamento da bomba de pulverização. Quando acionar o interruptor, acende-se uma luz no próprio interruptor.
Important: Engate apenas o interruptor da bomba quando o motor estiver ao RALENTI BAIXO para evitar danificar o acionamento da bomba.
Os interruptores de elevação das secções estão localizados na consola central, no lado direito do banco, e são utilizados para elevar ou descer as secções esquerda e direita da rampa (Figura 14).
O interruptor da secção principal encontra-se na consola da máquina. O interruptor permite iniciar e parar a operação de pulverização. Pressione o interruptor para ativar ou desativar o sistema de pulverização (Figura 14).
Os 3 interruptores de secção estão situados na consola central em frente do apoio para o braço (Figura 14). Pressione cada interruptor para a frente para ativar a secção correspondente e para trás para desativar. Quando o interruptor está na posição LIGAR, surge um ícone na parte superior do InfoCenter.
Note: Estes interruptores só afetam o sistema de pulverização se o interruptor da secção principal estiver na posição LIGAR.
O interruptor de agitação situa-se na consola central à direita do banco (Figura 14). Pressione este interruptor para ativar ou desativar a agitação no depósito. Quando ligar o interruptor, acende-se uma luz no próprio interruptor. Para utilizar a função de agitação, tem de ativar a bomba do sistema de pulverização e tem de ligar o motor acima de ralenti baixo.
A válvula de derivação da agitação redireciona o fluxo de fluido para a bomba do sistema de pulverização quando desliga a função de agitação (Figura 15). A válvula de distribuição de agitação encontra-se por cima da válvula de agitação. Pode ajustar esta válvula de distribuição para assegurar que a pressão permanece constante durante o ligar e desligar da agitação; consulte Calibração da válvula de derivação da agitação.

O fluxímetro mede a taxa de fluxo do fluido utilizado pelo sistema InfoCenter e quando pulveriza no modo da taxa de aplicação (Figura 15).
A válvula de aceleração de agitação é uma válvula de operação manual que controla o fluxo para os bicos de agitação no depósito principal. A utilização desta válvula permite que o operador do pulverizador controle a pressão do sistema de pulverização nos bicos de agitação do depósito principal quando são necessárias taxas de aplicação superiores. A válvula de aceleração da agitação situa-se acima da bomba (Figura 16).

As válvulas de distribuição de secção são utilizadas para ajustar a pressão do sistema de pulverização às válvulas de secção para assegurar que a pressão para a secção do pulverizador se mantém constante, independentemente do número de secções do pulverizador ligadas (Figura 17).
Note: Utilize as válvulas de distribuição quando pulverizar apenas no modo manual (circuito aberto).

Utilize a válvula de corte de distribuição da secção para controlar o fluxo de fluido das válvulas de distribuição da secção para o depósito quando pulverizar no modo manual (circuito aberto); consulte Figura 17.
Note: Feche esta válvula de corte da distribuição da secção quando pulverizar no modo de taxa de aplicação (circuito fechado).
Na parte dianteira do tampão do depósito existe um recetáculo de tubagem com uma união roscada e uma dentada de 90 graus e um tubo pequeno que pode ser direcionado para a abertura do depósito. Este receptáculo permite fazer a ligação de um tubo de água e encher o depósito de água sem contaminar o tubo com os químicos do depósito.
Important: Não utilize uma tubagem mais comprida que permita o contacto com os fluidos do depósito. A distância a partir do final da tubagem até ao nível superior de água deve encontrar-se dentro dos limites regulamentares locais.

A cobertura do depósito situa-se no centro da parte superior do depósito. Para abrir a cobertura, desligue o motor, desvie a parte frontal para a esquerda e gire a cobertura para abrir. Pode retirar o filtro de rede interior para limpeza. Para fechar o depósito, feche o tampão e rode o meio-tampão frontal para a direita.
Os controlos do InfoCenter utilizam os 5 botões abaixo do ecrã LED para percorrer os menus, introduzir dados e alterar funções.

Note: As especificações e o desenho do produto estão sujeitos a alterações sem aviso prévio.
| Descrição | Medida |
|---|---|
| Peso base | 1307 kg |
| Peso com o sistema pulverizador padrão, vazio, sem condutor | 1307 kg |
| Peso com o sistema pulverizador padrão, cheio, sem condutor | 2499 kg |
| Peso máximo do veículo (GVW) (numa superfície nivelada) | 3023 kg |
| Capacidade do depósito | 1135,6 litros |
| Largura total com o sistema de pulverização padrão e as secções armazenadas na posição X | 226 cm |
| Descrição | Medida |
|---|---|
| Largura total com o sistema pulverizador padrão | 391 cm |
| Comprimento total com o sistema pulverizador padrão até à parte superior das secções armazenadas na posição X | 442 cm |
| Altura total com o sistema pulverizador padrão | 146 cm |
| Altura total com o sistema pulverizador padrão até à parte superior das secções armazenadas na posição X | 231 cm |
| Altura em relação ao solo | 18,4 cm |
| Distância entre eixos | 198 cm |
Está disponível uma seleção de engates e acessórios aprovados pela Toro para utilização com a máquina, para melhorar e expandir as suas capacidades. Contacte o distribuidor Toro autorizado.
Para garantir o máximo desempenho e segurança contínua certificada da máquina, adquira sempre peças sobressalentes e acessórios genuínos da Toro. A utilização de peças sobressalentes e acessórios produzidos por outros fabricantes pode ser perigosa e pode utilizar um espaço vazio na garantia do produto.
Note: Determine os lados direito e esquerdo da máquina a partir da posição normal de utilização.
| Intervalo de assistência | Procedimento de manutenção |
|---|---|
| Em todas as utilizações ou diariamente |
|
Nunca permita que crianças ou pessoal não qualificado utilizem ou procedam à assistência técnica da máquina. Os regulamentos locais podem determinar restrições relativamente à idade do utilizador. A formação de todos os operadores e mecânicos é da responsabilidade do proprietário.
Familiarize-se com o funcionamento seguro do equipamento, com os controlos do utilizador e com os sinais de segurança.
Desligue o motor, retire a chave (se equipada) e aguarde que todo o movimento pare antes de sair da posição do operador. Deixe a máquina arrefecer antes de a ajustar, lhe fazer a manutenção, limpar ou armazenar.
Saiba como parar a máquina e desligar o motor rapidamente.
Verifique se os controlos de presença do operador, os interruptores de segurança e os resguardos estão corretamente montados e a funcionar corretamente. Não utilize a máquina se estes componentes não estiverem a funcionar corretamente.
Se a máquina não funcionar corretamente ou se estiver de alguma forma danificada não utilize a máquina. Corrija o problema antes de utilizar a máquina ou o engate.
Certifique-se de que a área do operador e do passageiro está limpa e sem resíduos químicos nem acumulação de detritos.
Certifique-se de que todas as ligações e tubagens do sistema hidráulico se encontram bem apertadas e em bom estado de conservação antes de colocar o sistema sob pressão.
Tenha muito cuidado quando manusear combustível. Este combustível é inflamável e os seus vapores são explosivos.
Apague todos os cigarros, charutos, cachimbos e outras fontes de ignição.
Utilize apenas um recipiente para combustível aprovado.
Não retire a tampa do depósito nem encha o depósito enquanto o motor se encontrar em funcionamento ou estiver quente.
Nunca adicione nem drene combustível num espaço fechado.
Não guarde a máquina ou o recipiente de combustível onde uma fonte de fogo, faísca ou luz piloto, como junto de uma caldeira ou outros eletrodomésticos.
Em caso de derrame de combustível, não tente ligar o motor; evite criar qualquer fonte de ignição até os vapores do combustível se terem dissipado.
As substâncias químicas utilizadas no sistema de pulverização podem ser perigosas e tóxicas para si ou outras pessoas presentes, animais, plantas, solos ou outros bens.
Leia as informações sobre cada produto químico. Recuse operar ou trabalhar no pulverizador se esta informação não estiver disponível.
Antes de trabalhar num sistema de pulverização, certifique-se de que foi neutralizado e lavado três vezes, de acordo com as recomendações do(s) fabricante(s) do(s) produto(s) químico(s), e de que todas as válvulas passaram por três ciclos.
Verifique se existe uma fonte de água limpa e sabão nas proximidades e lave imediatamente qualquer produto químico que entre em contacto consigo.
Leia atentamente e siga as etiquetas de advertência química e folhas de dados de de segurança (FDS) de todos os produtos químicos usados e proteja-se de acordo com as recomendações do fabricante do produto químico.
Proteja sempre o seu corpo quando utilizar químicos. Utilize Equipamento de Proteção Pessoal (EPP) para proteção contra o contato com produtos químicos como:
óculos de segurança, óculos e/ou resguardo do rosto
roupa de proteção química
um respirador ou máscara de filtro
luvas resistentes a produtos químicos
botas de borracha ou outro calçado resistente
uma muda de roupa limpa, sabão e toalhas descartáveis para limpeza
Esteja devidamente preparado antes de utilizar ou manusear os produtos químicos.
Utilize o químico adequado para o trabalho que vai realizar.
Siga as instruções do fabricante para a aplicação em segurança do químico. Não exceda a pressão recomendada de aplicação do sistema.
Não encha, calibre, nem limpe a máquina enquanto estiverem pessoas, especialmente crianças ou animais de estimação, na área.
Prepare os químicos numa zona bem ventilada.
Não coma, não beba, nem fume quando estiver a trabalhar perto de químicos.
Não limpe os bicos de pulverização, ao soprar através deles ou colocando-os na boca.
Assim que acabar de trabalhar com produtos químicos, lave sempre as mãos e outras zonas do corpo expostas ao químico.
Mantenha os produtos químicos nas embalagens originais e guardados num local seguro.
Elimine corretamente os químicos inutilizados e os recipientes dos químicos de acordo com as recomendações do fabricante e as normas locais.
Os produtos químicos e os gases são perigosos; nunca entre dentro do tanque nem coloque a cabeça na abertura.
Cumpra todos os regulamentos locais/estatais/federais para a aplicação e pulverização de produtos químicos.
Verifique os seguintes elementos diariamente, antes de começar a utilizar o pulverizador:
Verifique a pressão de ar dos pneus.
Note: Os pneus desta máquina são diferentes dos utilizados normalmente nos automóveis; necessitam de uma pressão de ar menor, de modo a minimizar a compactação e danificação da relva.
Verifique o nível de todos os fluidos e adicione a quantidade de fluido necessária para manter os níveis corretos.
Funcionamento do pedal dos travões.
Verifique se as luzes funcionam corretamente.
Rode o volante para a esquerda e para a direita para verificar a direção.
Desligue o motor e verifique se existem fugas de óleo, peças soltas ou quaisquer outros problemas.
Se existir algum problema com qualquer um dos elementos referidos anteriormente, deverá avisar o mecânico ou o seu supervisor antes de utilizar o pulverizador. É possível que tenha de verificar outros elementos diariamente, por isso pergunte que inspeções são da sua responsabilidade.
Antes de ligar o motor e utilizar máquina, verifique o nível do óleo no cárter do motor; consulte Verificação do óleo do motor.
Antes de ligar o motor e utilizar a máquina, verifique o sistema de arrefecimento (consulte Verificação do nível do líquido de arrefecimento).
Antes de ligar o motor e utilizar a máquina, verifique o sistema hidráulico; consulte Verificação do fluido hidráulico.
| Intervalo de assistência | Procedimento de manutenção |
|---|---|
| Em todas as utilizações ou diariamente |
|
Verifique a pressão de ar dos pneus para assegurar níveis adequados. Encha os pneus com uma pressão de 1,38 bar.
Note: Além disso, verifique se os pneus se encontram usados ou danificados.
| Intervalo de assistência | Procedimento de manutenção |
|---|---|
| Em todas as utilizações ou diariamente |
|
Antes de pôr o pulverizador a funcionar, carregue ligeiramente no pedal dos travões. Se o pedal avançar mais de 2,5 cm e não sentir resistência, ajuste os travões; consulte Ajuste dos travões.
Se utilizar o pulverizador com travões usados ou ajustados incorretamente, pode perder o controlo do veículo, provocando lesões graves ou a morte do utilizador ou das pessoas que estejam à volta.
Verifique sempre os travões antes de utilizar o pulverizador e mantenha-os ajustados e reparados.
Important: Adquira combustível em quantidades que possam ser usadas no prazo de 180 dias para assegurar a pureza do combustível.
Note: Pode ser necessário combustível com um teor de cetano mais elevado, caso a máquina seja utilizada a altitudes elevadas ou em baixas temperaturas ambientes.
Nunca utilize querosena nem gasolina em vez de gasóleo.
Nunca misture querosena nem óleo do motor com o gasóleo.
Utilize apenas gasóleo limpo ou biodiesel.
| Gasóleo com um teor de octanas mínimo de 40. |
| Utilize gasóleo com baixo teor ou ultra baixo teor de enxofre. |
| Utilize gasóleo de verão (n.º 2-D) a temperaturas superiores a -7°C e gasóleo de inverno (n.º 1-D ou mistura n.º 1-D/2-D) abaixo de -7°C. |
Note: A utilização de gasóleo de inverno a temperaturas inferiores significa um ponto de inflamação e caraterísticas de fluxo frio que facilitam o arranque e reduzem a obstrução do filtro de combustível.
A utilização de gasóleo de verão acima de -7°C contribui para uma maior duração da bomba de combustível e maior potência quando comparado com o gasóleo de inverno.
| Utilize combustível com mistura de biodiesel de até B20 (20% biodiesel, 80% petrodiesel). |
| A parte de petrodiesel deve ter baixo teor ou ultra baixo teor de enxofre. |
| A parte de biodiesel do combustível tem de cumprir as especificações ASTM D6751 ou EN 14214. A composição do gasóleo de mistura deve cumprir a ASTM D975 ou EN 590. |
| Utilize misturas B5 (conteúdo de biodiesel de 5%) ou inferiores no tempo frio. |
Tome as seguintes precauções:
Pode ocorrer obstrução do filtro durante algum tempo após mudar para misturas de biodiesel.
Verifique os vedantes, tubos e juntas em contacto com o combustível, uma vez que podem degradar-se ao longo do tempo.
As misturas de biodiesel podem danificar as superfícies pintadas.
Contacte o distribuidor se desejar mais informações sobre o biodiesel.
Capacidade total do depósito: aproximadamente 45 litros.
Estacione a máquina numa superfície nivelada, engate o travão de estacionamento, pare a bomba, desligue o motor, retire a chave e deixe o motor arrefecer.
Limpe a zona em torno do tampão do depósito de combustível (Figura 20).

Retire a tampa do depósito de combustível.
Encha o depósito até 2,5 cm abaixo do cimo do depósito (fundo do tubo de enchimento).
Note: Este espaço vazio no depósito permitirá que o combustível expanda. Não encha demasiado o depósito.
Coloque a tampa do depósito de combustível no depósito de forma segura.
Limpe todo o combustível derramado.
| Intervalo de assistência | Procedimento de manutenção |
|---|---|
| Após as pimeiras 100 horas |
|
Verifique os níveis do fluido e do óleo do motor regularmente e mantenha-se atento a um eventual sobreaquecimento de qualquer componente do pulverizador.
Após o arranque de um motor a frio, deverá aguardar 15 segundos antes de acelerar.
Evite os regimes excessivos do motor.
Deverá variar a velocidade do pulverizador durante o seu funcionamento. Evite paragens e arranques bruscos.
Consulte para obtenção de informações detalhadas acerca das verificações programadas.
Note: Consulte o guia de seleção dos bicos que se encontra disponível através do seu distribuidor autorizado Toro.
As estruturas dos bicos podem suportar 3 tipos diferentes de bicos. Para selecionar o bico desejado, faça o seguinte:
Pare o pulverizador numa superfície plana, desligue o motor, retire a chave e engate o travão de estacionamento.
Coloque o interruptor principal e o interruptor da bomba de pulverização na posição DESLIGAR.
Rode o suporte dos bicos em qualquer um dos sentidos para escolher a configuração correta do bico.
Para máquinas operadas no modo de taxa de aplicação, execute a calibração do fluxo; consulte o Guia de software dos pulverizadores de relva Multi Pro 5800-D e 5800-G com sistema de pulverização ExcelaRate.
Equipamento de série: filtro de sucção de rede 50 (azul)
Utilize a tabela de filtro de sucção para identificar a rede do filtro dos bicos de pulverização que está a utilizar com base nos produtos químicos ou soluções com uma viscosidade equivalente à água.
| Código de cores do bico de pulverização (taxa de caudal) | Tamanho da rede de filtro* | Código de cores do filtro |
|---|---|---|
| Amarelo (0,2 gpm) | 50 | Azul |
| Vermelho (0,4 gpm) | 50 | Azul |
| Castanho (0,5 gpm) | 50 (ou 30) | Azul (ou verde) |
| Cinzento (0,6 gpm) | 30 | Verde |
| Branco (0,8 gpm) | 30 | Verde |
| Azul (1,0 gpm) | 30 | Verde |
| Verde (1,5 gpm) | 30 | Verde |
| *O tamanho da rede dos filtros de sucção nesta tabela baseia-se em produtos químicos ou soluções com uma viscosidade equivalente à água. | ||
Important: Quando pulveriza com soluções ou químicos de maior viscosidade (mais espessos) com pós solúveis, talvez precise de utilizar uma rede de filtro adicional (mais grossa) para o filtro de sucção opcional; consulte Figura 21.

Quando pulveriza a uma taxa de aplicação superior, considere utilizar uma rede de filtro de sucção opcional mais grossa; consulte Figura 22.

Os tamanhos de filtros disponíveis incluem:
Equipamento de série: filtro de sucção de rede 50 (azul)
Utilize a tabela de filtro de pressão para identificar a rede do filtro dos bicos de pulverização que está a utilizar com base nos produtos químicos ou soluções com uma viscosidade equivalente à água.
| Código de cores do bico de pulverização (taxa de caudal) | Tamanho da rede de filtro* | Código de cores do filtro |
|---|---|---|
| Como exigido para produtos químicos ou soluções de menor viscosidade ou taxas de aplicação menores | 100 | Verde |
| Amarelo (0,2 gpm) | 80 | Amarelo |
| Vermelho (0,4 gpm) | 50 | Azul |
| Castanho (0,5 gpm) | 50 | Azul |
| Cinzento (0,6 gpm) | 50 | Azul |
| Branco (0,8 gpm) | 50 | Azul |
| Azul (1,0 gpm) | 50 | Azul |
| Verde (1,5 gpm) | 50 | Azul |
| Como exigido para produtos químicos ou soluções de maior viscosidade ou taxas de aplicação maiores | 30 | Vermelho |
| Como exigido para produtos químicos ou soluções de maior viscosidade ou taxas de aplicação maiores | 16 | Castanho |
| *O tamanho da rede dos filtros de pressão nesta tabela baseia-se em produtos químicos ou soluções com uma viscosidade equivalente à água. | ||
Important: Quando pulveriza com soluções ou químicos de maior viscosidade (mais espessos) com pós solúveis, talvez precise de utilizar uma rede de filtro mais grossa para o filtro de pressão opcional; consulte Figura 23.

Quando pulveriza a uma taxa de aplicação superior, considere utilizar uma rede de filtro de pressão opcional mais grossa; consulte Figura 24.

Note: A utilização do filtro opcional de ponta do bico serve para proteger a ponta do bico de pulverização e aumentar a duração.
Utilize a tabela de filtro de ponta do bico para identificar a rede do filtro dos bicos de pulverização que está a utilizar com base nos produtos químicos ou soluções com uma viscosidade equivalente à água.
| Código de cores do bico de pulverização (taxa de caudal) | Tamanho da rede de filtro* | Código de cores do filtro |
|---|---|---|
| Amarelo (0,2 gpm) | 100 | Verde |
| Vermelho (0,4 gpm) | 50 | Azul |
| Castanho (0,5 gpm) | 50 | Azul |
| Cinzento (0,6 gpm) | 50 | Azul |
| Branco (0,8 gpm) | 50 | Azul |
| Azul (1,0 gpm) | 50 | Azul |
| Verde (1,5 gpm) | 50 | Azul |
| *O tamanho da rede dos filtros dos bicos nesta tabela baseia-se em produtos químicos ou soluções com uma viscosidade equivalente à água. | ||
Important: Quando pulveriza com soluções ou químicos de maior viscosidade (mais espessos) com pós solúveis, talvez precise de utilizar uma rede de filtro mais grossa para o filtro do bico opcional; consulte Figura 25.

Quando pulveriza a uma taxa de aplicação superior, considere utilizar uma rede de filtro do bico opcional mais grossa; consulte Figura 26.

Important: Não utilize água recuperada (água cinzenta) no depósito de água limpa.
Note: O depósito de água limpa é utilizado como fonte de fornecimento de água limpa para limpar os químicos da pele, olhos ou outras zonas em caso de exposição acidental.
Encha sempre o depósito de água com água limpa antes de utilizar ou misturar quaisquer químicos.
Para encher o depósito, desaperte a tampa na parte superior do depósito, encha-o com água limpa e coloque a tampa (Figura 27).
Para abrir a torneira do depósito de água limpa, rode o manípulo da torneira (Figura 27).

Instale o Kit Pré-Mistura Química opcional para uma mistura ótima e limpeza exterior do depósito.
Important: Sempre que possível, não utilize água recuperada (água cinzenta) no depósito de pulverização.
Important: Certifique-se de que os químicos que vai utilizar são compatíveis com Viton™ (consulte a etiqueta do fabricante; se não for compatível, deve estar indicado). A utilização de um químico que não é compatível com Viton vai degradar os anéis de retenção do pulverizador, originando fugas.
Important: As marcas de volume no depósito são somente para referência e não devem ser consideradas exatas para calibração.
Pare a máquina numa superfície plana, desligue o motor, retire a chave e engate o travão de estacionamento.
Determine a quantidade de água necessária para misturar o químico que vai utilizar, segundo as indicações do fabricante.
Abra a tampa do depósito de pulverização.
Note: O tampão do depósito situa-se no centro da parte superior do depósito. Para abrir o tampão, rode o meio-tampão frontal para a esquerda e gire o tampão para abrir. Pode retirar o filtro de rede de debaixo da cobertura do depósito e limpar o filtro.
Monte o tubo de enchimento na união desconectora rápida do recetáculo de enchimento antissifão.
Adicione ¾ da água necessária ao depósito de pulverização (Figura 28).
Important: Utilize sempre água limpa e nova no depósito de pulverização. Não coloque concentrado num depósito vazio.

Ligue o motor, engate o travão de estacionamento, coloque o interruptor da bomba de pulverização na posição LIGAR e mova a alavanca do acelerador para RALENTI ELEVADO.
Coloque o interruptor de agitação na posição LIGAR.
Important: Antes de introduzir químicos em pó em qualquer sistema de pulverização Toro, misture os pós num contentor adequado com água fresca suficiente para criar uma pasta pouco densa. Se não o fizer, podem resultar depósitos químicos no fundo do depósito, degradação na agitação, entupindo de filtros e taxas de aplicação incorretas.A Toro recomenda o Kit misturador aprovado para esta máquina. Contate o distribuidor autorizado Toro para obter mais informações.
Adicione a quantidade adequada de concentrado químico no depósito, tal como recomendado pelo fabricante do produto químico.
Adicione a restante água ao depósito, retire a mangueira de enchimento e feche o tampão do depósito.
Note: Para fechar o depósito, feche o tampão e rode o meio-tampão frontal para a direita.
Important: Depois de encher o depósito pela primeira vez, verifique se existe alguma folga nas correias. Aperte se necessário.
| Intervalo de assistência | Procedimento de manutenção |
|---|---|
| Em todas as utilizações ou diariamente |
|
Important: Apertar demasiado os dispositivos de fixação das correias pode causar deformação e danificar o depósito e as correias.
Important: Sempre que possível, não utilize água recuperada (água cinzenta) no depósito de pulverização.
Encha o depósito principal com água.
Verifique se há algum movimento entre as correias do depósito e o depósito (Figura 29).

Se as correias do depósito estiverem largas, aperte os parafusos e as porcas de bloqueio na parte superior das correias até estas ficarem justas à superfície do depósito (Figura 29).
Note: Não aperte demasiado as ferragens da correia do depósito.
Important: Quando operar no modo de taxa de aplicação, tem de definir as válvulas de distribuição da secção para a posição fechada.
Important: Sempre que possível, não utilize água recuperada (água cinzenta) no depósito de pulverização.
Antes de utilizar o pulverizador pela primeira vez, sempre que alterar os bicos, ou quando necessário, calibrar o fluxo do pulverizador, a velocidade e a distribuição da secção.
Important: Escolha uma área plana para efetuar este procedimento.
Encha o depósito de pulverização até meio com água limpa.
Baixe as secções de pulverização.
Engate o travão de estacionamento.
Coloque o interruptor de controlo de pulverização em manual.
Coloque os interruptores das 3 secções na posição LIGAR, mas deixe o interruptor da secção principal em DESLIGAR.
Coloque o interruptor da bomba de pulverização na posição LIGAR e ligue a agitação.
No InfoCenter, vá até ao ecrã de calibração e selecione a velocidade do teste; consulte a secção sobre simulação da velocidade do teste no Guia de software para o pulverizador de relva Multi Pro 5800-D e 5800-G com sistema de pulverização ExcelaRate.
Prima os botões 3 ou 4 para aumentar ou baixar a velocidade simulada para 5,6 km/h.
Prima o botão 4 para LIGAR a simulação da velocidade do teste.
Prima o botão 5 para guardar e sair do ecrã de VELOCIDADE DO TESTE.
Utilizando o interruptor da taxa de aplicação, ajuste a taxa de aplicação de acordo com a tabela que se segue.
| Cor do bico | SI (métrico) | Português | Relva |
| Amarelo | 159 l/ha | 17 gpa | 0,39 gpk |
| Vermelho | 319 l/ha | 34 gpa | 0,78 gpk |
| Castanho | 394 l/ha | 42 gpa | 0.96 gpk |
| Cinza | 478 l/ha | 51 gpa | 1,17 gpk |
| Branco | 637 l/ha | 68 gpa | 1.56 gpk |
| Azul | 796 l/ha | 85 gpa | 1.95 gpk |
| Verde | 1,190 l/ha | 127 gpa | 2,91 gpk |
Desligue o interruptor da secção esquerda e ajuste o manípulo de distribuição da secção (Figura 30) até que a leitura da taxa se encontre no nível anterior de acordo com a tabela.
Note: Os indicadores numerados no manípulo de distribuição e agulha são apenas para referência.

Ligue o interruptor da secção esquerda e desligue o interruptor da secção direita.
Ajuste o manípulo de distribuição da secção direita (Figura 30) até que a leitura da taxa se encontre no nível anterior de acordo com a tabela.
Ligue o interruptor da secção direita e desligue o interruptor da secção central.
Ajuste o manípulo de distribuição da secção central (Figura 30) até que a leitura da taxa se encontre no nível anterior de acordo com a tabela.
Desligue o interruptor da secção principal.
Desligue a bomba de pulverização.
A válvula de derivação da agitação está na posição Fechada, como se mostra na Figura 31 A.
A válvula de derivação da agitação está na posição Fechada (0), como se mostra na Figura 31B.
A válvula de derivação da agitação está numa posição intermédia (ajustada em relação ao indicador de pressão para o sistema de pulverização), como se mostra na Figura 31C.

| Intervalo de assistência | Procedimento de manutenção |
|---|---|
| Anualmente |
|
Important: Sempre que possível, não utilize água recuperada (água cinzenta) no depósito de pulverização.
Escolha uma área plana para efetuar este procedimento.
Encha o depósito de pulverização até meio com água limpa.
Verifique se a válvula de controlo de agitação está aberta.
Note: Se tiver sido ajustada, abra-a completamente nesta altura.
Engate o travão de estacionamento e ligue o motor.
Regule o botão do modo de pulverização para o Modo manual; consulte Pulverização no Modo manual.
Coloque a bomba de pulverização e o interruptor de agitação na posição LIGAR.
Coloque o interruptor da secção principal na posição DESLIGAR.
Desloque a alavanca do acelerador para a posição RáPIDO.
Utilize o interruptor de taxa de aplicação para ajustar a pressão no medidor até marcar 6,9 bar.
Coloque o interruptor de agitação na posição DESLIGAR e leia o indicador de pressão.
Se o medidor de pressão indicar 6,9 bar, a válvula de derivação da agitação está bem calibrada.
Se a leitura do medidor for diferente, continue para o passo seguinte.
Ajuste a válvula de distribuição de agitação (Figura 32) na parte posterior da válvula de agitação até que a pressão do sistema de pulverização indicada no medidor seja 6,89 bar.

Coloque o interruptor da bomba de pulverização na posição DESLIGAR.
Mude a alavanca do acelerador para a posição RALENTI/LENTO e rode o interruptor para a posição DESLIGAR.
A bomba de pulverização está situada junto da parte traseira do depósito, no lado esquerdo (Figura 33).

O proprietário/utilizador pode evitar e é responsável por acidentes que possam causar ferimentos a pessoas ou danos a propriedades.
Utilize vestuário adequado, incluindo proteção ocular, calças compridas, calçado resistente anti-derrapante e proteção para os ouvidos. Prenda cabelo comprido e não utilize vestuário solto ou joias pendentes.
Use Equipamento de Proteção Pessoal conforme indicado na Segurança Química.
Esteja totalmente atento quando utilizar a máquina. Não se envolva em nenhuma atividade que dê azo a distrações, caso contrário poderão ocorrer ferimentos ou danos materiais.
Não utilize a máquina quando estiver doente, cansado ou se encontrar sob o efeito de álcool ou drogas.
Não transporta mais de um passageiro na máquina. O passageiro deve sentar-se apenas na posição designada de assento.
Utilize a máquina apenas quando tiver boa visibilidade. Evite buracos e outros perigos não visíveis.
Antes de ligar o motor, certifique-se de que se encontra na posição de operação, que a transmissão está na posição PONTO MORTO (manual) ou na posição PARK (automático) e que o travão de estacionamento está engatado.
Permaneça sentado sempre que a máquina se encontrar em movimento. Mantenha as mãos no volante sempre que possível e mantenha os braços e as pernas no compartimento do operador.
Tome todas as precauções necessárias quando se aproximar de esquinas sem visibilidade, arbustos, árvores ou outros objetos que possam obstruir o seu campo de visão.
Antes de fazer marcha-atrás, veja se está alguém atrás do veículo. Recue lentamente.
Nunca regue a relva com pessoas por perto, sobretudo no caso de crianças ou animais de estimação.
Não utilize a máquina perto de depressões, buracos ou bancos de areia. A máquina poderá capotar repentinamente se a roda resvalar numa depressão ou se o piso ceder.
Reduza a velocidade quando circular em terrenos acidentados, irregulares e perto de lancis, buracos e outras alterações bruscas no terreno. As cargas podem soltar-se e desestabilizar a máquina.
Pare a máquina, desligue o motor, retire a chave, engate o travão de estacionamento e verifique se há danos depois de ter atingido qualquer objeto ou na eventualidade de sentir vibrações estranhas. Efetue todas as reparações necessárias antes de retomar o funcionamento.
Abrande e tome as precauções necessárias quando virar e atravessar estradas ou passeios com a máquina. Dê sempre prioridade.
Tome precauções adicionais quando conduzir a máquina em superfícies molhadas, em condições atmosféricas adversas, a uma velocidade maior ou com a carga máxima. A duração e a distância necessárias para parar o veículo aumentam nestas condições.
Não toque no motor nem na panela de escape quando o motor se encontrar em funcionamento ou assim que o desligar. Estas zonas podem estar suficientemente quentes para provocar queimaduras.
Antes de sair da posição de operador, faça o seguinte:
Estacione a máquina numa superfície nivelada.
Mova o pedal de tração para a posição PONTO MORTO
Engate o travão de estacionamento.
Desligue o motor e retire a chave (se equipada).
Aguarde que todo o movimento pare.
Nunca ligue o motor numa área onde os gases de escape fiquem presos.
Nunca opere a máquina quando existir a possibilidade de trovoadas.
Utilize apenas acessórios e engates aprovados pela Toro.
Note: Para cada máquina abrangida por este Manual do Utilizador, uma cabina instalada pela Toro é um ROPS.
Não retire o ROPS da máquina.
Aperte o cinto de segurança e certifique-se de que o consegue soltar rapidamente em caso de emergência. Utilize sempre o cinto de segurança.
Verifique atentamente se existem obstruções superiores e não entre em contacto com elas.
Mantenha o ROPS em boas condições de funcionamento inspecionando-o regularmente para verificar se há danos e mantenha apertadas todas as fixações.
Mantenha e limpe o(s) cinto(s) de segurança, como necessário.
Substitua quaisquer componentes do ROPS danificados. Não o repare nem altere.
Os declives são um dos principais fatores que contribuem para a perda de controlo e acidentes de capotamento que podem resultar em ferimentos graves ou morte. É responsável pela operação segura em declives. Operação da máquina em qualquer declive requer cuidado adicional.
Reveja as instruções de declives indicadas em seguida para utilizar a máquina em declives e determine se a máquina pode ser utilizada nas condições desse dia e desse local. As alterações no terreno podem originar uma alteração na operação em declive para a máquina.
Determine se o declive é seguro para a operação da máquina, incluindo a análise do sítio. Utilize sempre o bom senso e o seu julgamento ao realizar esta inspeção.
Evite arrancar, parar ou virar a máquina em declives. Suba e desça declives em linha reta. Não faça alterações súbitas na velocidade ou direção. Se tiver de virar a máquina, rode-a lenta e gradualmente a descer, se possível. Quando fizer marcha-atrás, tenha cuidado.
Nunca opere uma máquina quando tiver dúvidas quanto à tração, à viragem ou à estabilidade.
Remova ou assinale obstruções como valas, depressões, raízes, elevações, pedras ou outros perigos escondidos. A relva alta pode ocultar obstáculos. O terreno desnivelado poderia fazer tombar a máquina.
Esteja atento ao funcionamento da máquina em superfícies molhadas, em declives ou em descidas, pois isto pode causar a perda de tração da máquina. A perda de tração das rodas pode causar deslizamento e uma perda dos travões e direção.
Tenha muito cuidado ao conduzir a máquina perto de depressões, valas, aterros, zonas perigosas com água ou outros perigos. A máquina poderá capotar repentinamente se uma roda resvalar ou se o piso ceder. Estabeleça uma área de segurança entre a máquina e qualquer perigo.
Tenha cuidado redobrado quando utilizar a máquina com os engates; podem afetar a estabilidade da máquina.
Se o motor parar ou perder potência numa subida, utilize os travões de forma gradual e recue lentamente.
Mantenha sempre a transmissão engatada (se aplicável) quando conduz a máquina a descer um declive.
Coloque a máquina numa superfície nivelada.
O peso do material no depósito pode alterar o manuseamento da máquina. Siga as indicações seguintes para evitar qualquer perda de controlo e eventuais lesões pessoais:
Quando utilizar o veículo com uma carga pesada, reduza a velocidade e controle a distância de travagem. Não trave de repente. Tome todas as precauções necessárias quando se encontrar numa inclinação.
As cargas líquidas mudam, especialmente quando se muda de direção, vai a subir ou a descer, com alterações bruscas de velocidade ou quando se circula em superfícies irregulares. O deslizamento das cargas poderá provocar o tombamento da máquina.
Sente-se no banco do utilizador e tire o pé do pedal de tração.
Certifique-se de que os seguintes controlos estão acionados:
O travão de estacionamento estiver engatado.
O pedal de tração está na posição PONTO MORTO.
A bomba pulverizadora está desligada.
O acelerador está na posição LENTO.
Rode a chave para a posição LIGAR/PRé-AQUECIMENTO.
Note: Um temporizador automático controla o aquecimento das velas durante aproximadamente 6 segundos.
Após o aquecimento prévio, rode a chave da ignição para a posição ARRANQUE.
O motor de arranque não deve funcionar durante mais de 15 segundos.
Liberte a chave quando o motor entrar em funcionamento.
Se for necessário repetir a operação de aquecimento prévio, rode a chave para a posição DESLIGAR e, em seguida, para a posição LIGAR/PRé-AQUECIMENTO.
Note: Se for necessário, repita os passos 3 a 7.
Faça funcionar o motor a uma velocidade INTERMéDIA até que este aqueça.
Liberte o travão de estacionamento e prima o pedal de tração para a frente para conduzir a máquina para a frente ou prima o pedal para trás para conduzir a máquina em marcha-atrás.
Important: Antes de AVANçAR ou RECUAR, verifique se o pulverizador está completamente parado.
Para parar a máquina lentamente, liberte o pedal de tração.
Note: O pedal de tração volta à posição PONTO MORTO.
Para parar a máquina rapidamente, carregue no travão.
Note: A distância de paragem da máquina pode variar, dependendo da carga do depósito de pulverização e da velocidade da máquina.
Se pressionar o interruptor de bloqueio da velocidade e não tiver o pé no pedal de tração, a unidade de tração pode, subitamente, parar e fazê-lo perder o controlo, com a possibilidade de o ferir a si ou a pessoas por perto.
Certifique-se de que tem o pé no pedal de tração ao desengatar o interruptor de bloqueio da velocidade.
Ligue a bomba pulverizadora pressionando o interruptor da bomba pulverizadora para a posição LIGAR; consulte Interruptor da bomba de pulverização.
Conduza para a frente e atinja a velocidade pretendida; consulte Condução da máquina.
Note: Tem de conduzir a máquina a menos de 11 km/h para acionar o bloqueio de velocidade.
Carregue na parte superior do interruptor de controlo de velocidade.
Note: Acende-se a luz do interruptor.
Tire o pé do pedal de tração.
Note: O pulverizador mantém a velocidade definida.
Para libertar o interruptor de bloqueio da velocidade, coloque o pé no pedal de tração e pressione a parte inferior do interruptor ou retire o pé do pedal de tração e pressione o pedal dos travões.
Note: A luz do interruptor desliga-se e o controlo de tração volta para o pedal de tração.
Desloque todos os controlos para a posição PONTO MORTO.
Carregue no travão para parar o pulverizador.
Engate o travão de estacionamento.
Desloque a alavanca do acelerador para a posição RALENTI/LENTO.
Rode a chave para a posição DESLIGAR.
Retire a chave da ignição para evitar qualquer arranque acidental.
Para utilizar o pulverizador Multi Pro®, primeiro precisa de encher o depósito do pulverizador, aplicar a mistura de produtos no local de trabalho e, por fim, limpar o depósito e sistema de pulverização. É importante realizar estes três passos, por esta ordem, para evitar qualquer dano no pulverizador. Por exemplo, não misture nem adicione quaisquer químicos ao depósito do pulverizador durante a noite para aplicar na manhã seguinte. Esta medida iria provocar a separação dos químicos e poderia danificar os componentes do pulverizador.
Os químicos são perigosos e podem provocar ferimentos.
Antes de utilizar os químicos, leia as instruções das etiquetas e respeite as recomendações e precauções fornecidas pelo fabricante.
Evite o contacto dos químicos com a pele. Caso ocorra qualquer contacto, lave a zona afetada com sabão e água corrente.
Use equipamento de proteção pessoal (EPP) adequado de acordo com as instruções dos fabricantes dos produtos químicos.
O pulverizador Multi Pro® foi especialmente concebido para elevada durabilidade e oferece uma longa duração do pulverizador. Para se atingir este objetivo foram utilizados materiais diferentes para fins específicos em diferentes locais do seu pulverizador. Infelizmente não existe um material único que seja perfeito para todas as aplicações previstas.
Alguns químicos são mais agressivos do que outros e cada químico interage de forma diferente com os diversos materiais. Algumas consistências (por exemplo, químicos em pó, carvão) são mais abrasivas e provocam um desgaste superior. Se existir um químico numa fórmula que irá proporcionar uma maior vida útil do pulverizador, utilize esta formulação alternativa.
Como sempre, lembre-se de limpar muito bem o seu pulverizador e sistema de pulverização depois de qualquer aplicação. Isto contribui muito para que o seu pulverizador tenha uma vida longa e sem problemas.
Note: Se tiver alguma questão ou necessitar de informações adicionais acerca do sistema de controlo de pulverização, consulte o Manual do utilizador fornecido com o sistema.
Consulte o Guia do software para os pulverizadores de relva Multi Pro 5800-D e 5800-G com sistema de pulverização ExcelaRate para obter informações sobre o seguinte:
Antes do funcionamento
Ecrã inicial do InfoCenter
O ecrã do menu principal
Os ecrãs secundários do menu principal
Os ecrãs de assistência
Os ecrãs de diagnóstico
Os ecrãs Sobre
Durante o funcionamento
Introdução de informações do trabalho
Ecrãs da área de pulverização no InfoCenter
Conselhos do InfoCenter
Consulte o Guia do software para os pulverizadores de relva Multi Pro 5800-D e 5800-G com sistema de pulverização ExcelaRate para obter informações sobre os seguintes procedimentos:
Important: Para garantir que o produto permanece bem misturado, utilize a função de agitação sempre que tiver uma solução no depósito.
Certifique-se de que o sistema de pulverização está calibrado para os bicos de pulverização ativos que selecionou; consulte o Guia do software para os pulverizadores de relva Multi Pro 5800-D e 5800-G com sistema de pulverização ExcelaRate.
Rode o botão para a válvula de corte da distribuição da secção para a posição Fechada (Figura 34).

Acione o botão do modo de pulverização para o Modo de taxa de aplicação (Figura 35).

Mova o pulverizador para a área do relvado que está a pulverizar.
Se estiver a recolher dados da área pulverizada e do volume pulverizado para cada local de trabalho, selecione um ecrã de sub-área (sub-áreas 1 a 20) para registar a área individual e as informações sobre o volume; consulte a secção a utilização do ecrã de sub-área no Guia de software do pulverizador de relva Multi Pro 5800-D e 5800-G com sistema de pulverização ExcelaRate.
Note: Quando se deslocar para um local de trabalho diferente, tem de selecionar outro ecrã de sub-área para registar a área individual e as informações sobre o volume.
Se precisar de acionar a taxa ativa entre o valor da taxa 1 e o valor da taxa 2, a partir do ecrã inicial do InfoCenter prima os botões 1 e 2 simultaneamente para selecionar TAXA 1 ou prima os botões 4 e 5 simultaneamente para selecionar TAXA 2; consulte o Guia de software dos pulverizadores de relva Multi Pro 5800-D e 5800-G com sistema de pulverização ExcelaRate.
Coloque os interruptores de secção do pulverizador na posição LIGAR (Figura 36).

Coloque o interruptor de agitação e o interruptor da bomba do pulverizador na posição LIGAR (Figura 37).

Coloque a alavanca na posição RáPIDO (Figura 37).
Conduza à velocidade pretendida e, em seguida, coloque o interruptor da secção principal na posição LIGAR para iniciar a pulverização (Figura 36).
Note: Utilize o interruptor principal para iniciar e parar o fluxo de químicos para as secções do pulverizador selecionadas.
Quando terminar a pulverização, coloque o interruptor principal na posição DESLIGAR para desligar todas as secções do pulverizador e, em seguida, coloque o interruptor da bomba na posição DESLIGAR.
Note: Levante as secções de pulverização exteriores para a posição de transporte e conduza o pulverizador para a área de limpeza.
Important: Eleve sempre as secções da rampa até se terem deslocado completamente para cavidade de transporte, formando a posição de transporte em “X”, e até que os cilindros de elevação estejam completamente recolhidos sempre que move o pulverizador de uma área de pulverização para outra ou o mover para uma área de armazenamento ou limpeza.
Note: Este procedimento assume que a bomba de pulverização está ligada; consulte Figura 37 em Pulverização no Modo de taxa de aplicação.
Certifique-se de que o sistema de pulverização está ajustado para os bicos de pulverização ativos que selecionou; consulte Calibração da válvula de derivação da agitação.
Acione o botão do modo de pulverização para o Modo manual (Figura 38).

Defina o interruptor da secção principal para a posição DESLIGAR; consulte Figura 36 em Pulverização no Modo de taxa de aplicação.
Ajuste o acelerador para a velocidade do motor desejada; consulte Figura 37 em Pulverização no Modo de taxa de aplicação.
Conduza para a área de pulverização.
Baixe as secções colocando-as em posição.
Coloque os interruptores de secção individual, conforme necessário, na posição LIGAR; consulte Figura 36 em Pulverização no Modo de taxa de aplicação.
Utilize o interruptor da taxa de aplicação para atingir a pressão desejada, conforme indicado no Guia de seleção de bicos fornecido com o pulverizador (Figura 39).

Conduza à velocidade pretendida e, em seguida, coloque o interruptor da secção principal na posição LIGAR para iniciar a pulverização; consulte Figura 36 em Pulverização no Modo de taxa de aplicação.
Note: Quando o depósito estiver quase vazio, a agitação pode criar espuma no depósito. Neste caso, rode o interruptor de agitação para a posição DESLIGAR. Ou então, pode adicionar um agente antiespuma ao depósito.
Quando terminar a pulverização, coloque o interruptor principal na posição DESLIGAR para desligar todas as secções; em seguida, coloque o interruptor da bomba de pulverização na posição DESLIGAR.
Note: Coloque novamente as secções na posição de transporte e conduza o pulverizador para a área de limpeza.
Important: Eleve sempre as secções até se terem deslocado completamente para cavidade de transporte das secções, formando a posição de transporte em “X”, e até que os cilindros das secções estejam completamente recolhidos sempre que move o pulverizador de uma área de pulverização para outra ou o mover para uma área de armazenamento ou limpeza.
Equipamento disponibilizado pelo cliente: um recipiente de recolha graduado (de preferência, um recipiente com 0,01 ml e cronómetro.
Important: Sempre que possível, não utilize água recuperada (água cinzenta) no depósito de pulverização.
Certifique-se de que o depósito de pulverização está limpo; consulte Limpeza do sistema de pulverização.
Encha o depósito de pulverização com, pelo menos, 568 litros de água limpa; consulte Enchimento do depósito de pulverização.
Certifique-se de que os bicos que pretende testar estão na posição de pulverizador ativo (para baixo).
Para máquinas operadas no modo de taxa de aplicação, certifique-se de que o botão para a válvula de corte da distribuição da secção está na posição fechada (Figura 40).

Para máquinas operadas no modo de taxa de aplicação, certifique-se de a válvula de corte da distribuição da secção está na posição fechada (Figura 40).
Engate o travão de estacionamento e ligue o motor.
Note: Deixe o motor aquecer durante 10 minutos.
Para máquinas operadas no modo de taxa de aplicação, execute os passos na secção sobre a utilização da velocidade do teste; consulte o Guia de software dos pulverizadores de relva Multi Pro 5800-D e 5800-G com sistema de pulverização ExcelaRate.
Note: Defina a velocidade do teste simulado entre 4 km/h e 14 km/h.
Coloque os interruptores de secção do pulverizador na posição LIGAR para as secções que está a testar.
Coloque a alavanca na posição RáPIDO.
Coloque o interruptor da secção principal na posição LIGAR.
Efetue um teste de recolha de 15 segundos em 1 dos bicos de pulverização ativos.

Desligue o interruptor principal, defina o acelerador para a posição lenta, desligue a bomba do pulverizador e desligue o motor.
Coloque o recipiente graduado numa superfície nivelada e anote o volume do fluido (Figura 42).
Important: Quando estiver a ler o recipiente graduado, tem de colocar o recipiente numa superfície nivelada.
Important: Quando estiver a ler o recipiente graduado, leia o volume do fluido no recipiente graduado no ponto mais baixo da curva à superfície do fluido.
Important: Pequenos erros de leitura do volume do fluido no recipiente graduado têm um impacto significativo na precisão da calibração do pulverizador.

Compare o volume de água no recipiente graduado com o volume do bico na tabela de teste de recolha de 15 segundos.
| Cor do bico | Mililitros recolhidos em 15 segundos | Onças recolhidas em 15 segundos |
| Amarelo | 189 | 6,4 |
| Vermelho | 378 | 12,8 |
| Castanho | 473 | 16,0 |
| Cinza | 567 | 19,2 |
| Branco | 757 | 25,6 |
| Azul | 946 | 32,0 |
| Verde | 1.419 | 48,0 |
Se o nível de fluido no recipiente de recolha graduado for 7,4 ml mais ou menos que o volume do bico na tabela de teste de recolha de 15 segundos, execute um dos seguintes:
Efetue uma calibração do fluido ou substitua os bicos gastos e efetue uma calibração do fluido; consulte o procedimento de calibração do fluido no Guia de software para o pulverizador de relva Multi Pro 5800-D e 5800-G com sistema de pulverização ExcelaRate.
Calibre a válvula de distribuição de agitação ou substitua os bicos gastos e calibre a válvula de distribuição de agitação; consulte Calibração da válvula de derivação da agitação.
Os interruptores de elevação das secções, no painel de controlo do pulverizador, permitem-lhe deslocar as secções de pulverização exteriores entre a posição de transporte e a posição de pulverização sem sair do banco do operador. Sempre que possível, pare a máquina antes de mudar as posições das secções de pulverização.
Realize os passos seguintes para mover as secções de pulverização exteriores para a posição de PULVERIZAçãO:
Estacione a máquina numa superfície nivelada.
Utilize os interruptores de elevação das secções da rampa para descer as secções exteriores.
Note: Espere até que as secções de pulverização exteriores fiquem completamente estendidas na sua posição de pulverização.
Conclua a tarefa de pulverização e, em seguida, realize os passos seguintes para retrair as secções de pulverização exteriores para a posição de transporte:
Important: Se a sua máquina tem instalado o kit de resguardo da rampa para redução de dispersão ou o kit de nivelamento da rampa Ultra Sonic instalado, ou ambos, mova as secções exteriores de pulverização para a posição de transporte, uma de cada vez.Mover as secções exteriores de pulverização para a posição de transporte, ao mesmo tempo com o kit de resguardo ou kit de nivelamento instalado pode danificar os resguardos, os sensores ou ambos.
Estacione a máquina numa superfície nivelada.
Utilize os interruptores de elevação das secções da rampa para elevar as secções de pulverização exteriores até se terem deslocado completamente para a cavidade de transporte das secções da rampa, formando a posição de transporte em “X”, e até que os cilindros se elevação das secções estejam completamente recolhidos.
Important: Liberte o(s) interruptor(es) de elevação da secção da rampa assim que as secções de pulverização exteriores tiverem alcançado a posição desejada. Fazer funcionar os acionadores contra os batentes mecânicos pode causar danos aos cilindros e outros componentes hidráulicos.

Important: Para evitar danificar o cilindro de elevação, certifique-se de que os acionadores estão completamente recolhidos antes de iniciar o transporte da máquina.
O pulverizador vem equipado com cavidades de transporte da secção da rampa que têm uma função única. No caso de um contato acidental da secção de pulverização com um objeto suspenso baixo, quando está na posição de transporte, pode retirar a(s) secção(ões) das cavidades de transporte. Se isto acontecer, as secções de pulverização ficam paradas numa posição quase horizontal na parte de trás da máquina. Apesar de este movimento não danificar as secções de pulverização, deverão ser imediatamente posicionadas na cavidade de transporte.
Important: As secções de pulverização podem ficar danificadas se forem transportadas numa posição que não seja a posição de transporte em “X” utilizando a cavidade de transporte das rampas.
Para voltar a colocar as secções de pulverização exteriores na cavidade de transporte, baixe a(s) secção(ões) de pulverização para a posição de pulverização e, em seguida, volte a elevar a(s) secção(ões) de pulverização para a posição de transporte. Certifique-se de que os cilindros de elevação estão completamente recolhidos para evitar danificar a barra do acionador.
Important: Em determinadas condições, o calor proveniente do motor, do radiador, e da panela de escape pode provocar danos na relva, ao operar o pulverizador num modo estacionário. Os modos estacionários compreendem a agitação do depósito, a pulverização manual com uma pistola de pulverização, ou a utilização de uma rampa móvel.
Tome as seguintes precauções:
Evite a pulverização estacionária, se o tempo estiver muito quente e/ou seco, uma vez que a relva pode sofrer uma degradação acentuada em tais condições.
Evite estacionar sobre a relva ao efetuar a pulverização estacionária. Estacione numa via para carros de golfe, sempre que possível.
Minimize o intervalo de tempo durante o qual a máquina fica a operar em qualquer área específica de relva. O decorrer do tempo e a temperatura influenciam o grau de degradação da relva.
Regule o regime do motor para o mínimo possível mas que permita obter a pressão e o fluxo pretendidos. Esta prática minimiza o calor gerado e a velocidade do ar proveniente da ventoinha de arrefecimento.
Deixe escapar o calor do compartimento do motor para cima, levantando os conjuntos dos bancos no decorrer da operação estacionária, evitando que o calor seja forçado a sair pela parte inferior do veículo.
Não volte a passar por áreas que já tenha pulverizado.
Verifique os bicos obstruídos. Substitua todos os bicos usados ou danificados.
Utilize o interruptor da secção principal para interromper a pulverização antes de parar o pulverizador. Depois de parar, utilize o controlo de velocidade do motor para manter a velocidade do motor e continuar a realizar a agitação.
Vai obter melhores resultados se o pulverizador estiver em movimento quando ligar as secções do pulverizador.
Se um bico ficar entupido enquanto estiver a pulverizar, limpe o bico da seguinte forma:
Pare o pulverizador numa superfície plana, desligue o motor e engate o travão de estacionamento.
Coloque o interruptor da secção principal na posição DESLIGAR e o interruptor da bomba de pulverização na posição DESLIGAR.
Retire o bico entupido e limpe-o com um borrifador e uma escova pequena.
Monte o bico.
Antes de sair da posição de operador, faça o seguinte:
Estacione a máquina numa superfície nivelada.
Engate o travão de estacionamento.
Desligue o motor e retire a chave (se equipada).
Aguarde que todo o movimento pare.
Depois de terminar a operação da máquina no dia, lave todos os resíduos de produtos químicos do exterior da máquina e certifique-se de que o sistema foi neutralizado e enxaguado três vezes de acordo com as recomendações do(s) fabricante(s) do(s) produto(s) químico(s) e que foi feito o ciclo de todas as válvulas três vezes. Consulte a Segurança química.
Espere que o motor arrefeça antes de armazenar a máquina em ambiente fechado.
Nunca guarde a máquina ou o recipiente de combustível onde exista uma fonte de fogo, faísca ou luz piloto, como junto de uma caldeira ou outros eletrodomésticos.
Mantenha todas as peças da máquina em boas condições de trabalho e as partes corretamente apertadas.
Substitua todos os autocolantes desgastados, danificados ou em falta.
Lave a máquina quando necessário utilizando apenas água ou com um detergente suave. Pode ser utilizado um pano ao lavar a máquina.
Important: Não utilize água salobra ou recuperada para limpar a máquina.
Note: Não utilize equipamento de lavagem elétrico para lavar a máquina. Usar equipamento de lavagem elétrico pode danificar o sistema elétrico, eliminar alguns autocolantes importantes ou eliminar a massa lubrificante existente em alguns pontos de fricção. Evite a utilização excessiva de água próximo da zona do painel de controlo, motor e bateria.
Important: Não lave a máquina quando o motor se encontrar em funcionamento. Lavar a máquina com o motor ligado pode causar danos internos ao motor.
Pare o pulverizador, engate o travão de estacionamento, desligue o motor e retire a chave.
Localize a válvula de escoamento do depósito no guarda-lamas traseiro esquerdo da máquina (Figura 44).
Note: A válvula de drenagem está ligada ao suporte da válvula de drenagem que está montado no guarda-lamas traseiro esquerdo.

Levante a válvula até os pernos de montagem da válvula saírem das ranhuras no suporte da válvula de drenagem e mova a válvula para trás (Figura 45A).

Alinhe a extremidade da válvula com o recipiente de drenagem e rode a pega da válvula para a posição aberta (Figura 45B).
Quando o depósito tiver drenado completamente, rode o manípulo da válvula de drenagem para a posição fechada e monte a válvula no suporte da válvula de drenagem (Figura 45B e Figura 45A).
Important: Elimine todos os resíduos químicos do depósito de pulverização de acordo com os códigos locais e instruções do fabricante.
| Intervalo de assistência | Procedimento de manutenção |
|---|---|
| Após cada utilização |
|
Important: Utilize apenas água limpa quando limpar o pulverizador.
Important: Depois de cada utilização, drene e limpe sempre o pulverizador e quaisquer acessórios do sistema de pulverização instalados. Se não drenar e limpar o pulverizador, os químicos podem secar e obstruir as linhas, o filtro, as válvulas, os corpos do bico, a bomba e os outros componentes.
Utilize o Kit de lavagem aprovado para esta máquina. Contate o distribuidor autorizado Toro para obter mais informações.
Note: As recomendações e as instruções que se seguem partem do princípio de que o Kit de Lavagem Toro não está instalado.
Limpe o sistema de pulverização e quaisquer acessórios de pulverização instalados após cada sessão de pulverização. Para limpar devidamente o sistema de pulverização, realize o seguinte:
Complete os 3 ciclos de limpeza distintos.
Utilize os produtos de limpeza e neutralizantes recomendados pelos fabricantes dos seus produtos químicos.
Utilize água pura (sem produtos de limpeza nem neutralizantes) para a lavagem final.
Encha o depósito com, pelo menos, 190 litros de água limpa e feche a tampa.
Note: Conforme necessário, utilize um agente de limpeza/neutralizante na água. Na lavagem final, utilize apenas água limpa.
Baixe as secções de pulverização exteriores para a posição de pulverização.
Ligue o motor, coloque o interruptor da bomba de pulverização na posição LIGAR e mova o pedal do acelerador para uma velocidade do motor mais elevada.
Coloque o interruptor de agitação na posição LIGAR.
Utilize o interruptor da taxa de aplicação para aumentar a pressão para uma definição elevada.
Coloque os interruptores de secção individual e o interruptor da secção principal nas posições LIGAR.
Verifique os bicos para certificar-se de que estão todos a funcionar corretamente.
Deixe que toda a água existente no depósito passe pelos bicos.
Coloque o interruptor principal na posição DESLIGAR e o interruptor da bomba de pulverização na posição DESLIGAR e desligue o motor.
Repita os passos 1 a 9 pelo menos mais duas vezes para garantir que o sistema de pulverização fica totalmente limpo.
Important: Tem de efetuar sempre 3 ciclos de lavagem completos para garantir que o sistema e os acessórios de pulverização ficam completamente limpos, evitando assim danos no sistema.
Limpe os filtros de sucção e de pressão; consulte Limpeza do filtro de sucção e Limpeza do filtro de pressão.
Important: Se utilizou químicos em pó, limpe o filtro de rede depois de gastar cada depósito.
Com uma mangueira de jardim, lave a parte exterior do pulverizador com água.
Retire os bicos e limpe-os manualmente.
Note: Substitua os bicos danificados ou usados.
Note: Se a sua máquina tiver filtros dos bicos opcionais, limpe-os antes de instalar os bicos; consulte Limpeza do filtro do bico.
| Intervalo de assistência | Procedimento de manutenção |
|---|---|
| Em todas as utilizações ou diariamente |
|
Estacione a máquina numa superfície plana, engate o travão de estacionamento, desligue a bomba, desligue o motor e retire a chave.
Na parte superior do depósito do pulverizador, retire a fixação que prende a união da mangueira unida à tubagem grande da estrutura do filtro (Figura 46).

Retire a tubagem e a união da tubagem da estrutura do filtro (Figura 46).
Retire o filtro de rede da sucção da estrutura do filtro no depósito (Figura 47).

Limpe o filtro de sucção com água limpa.
Important: Substitua o filtro se estiver danificado ou não puder ser limpo.
Insira o filtro de sucção na estrutura do filtro até o filtro ficar bem colocado.
Alinhe a tubagem e a união da tubagem com a estrutura do filtro na parte superior do depósito e fixe a união e a estrutura com a fixação que retirou no passo 2.
| Intervalo de assistência | Procedimento de manutenção |
|---|---|
| Em todas as utilizações ou diariamente |
|
Estacione a máquina numa superfície plana, engate o travão de estacionamento, desligue a bomba de pulverização, desligue o motor e retire a chave.
Alinhe um recipiente de escoamento debaixo do filtro de pressão (Figura 48).

Rode a tampa de drenagem no sentido contrário ao dos ponteiros do relógio e retire-a do recipiente do filtro de pressão (Figura 48).
Note: Deixe o recipiente escoar completamente.
Rode o recipiente no sentido contrário ao dos ponteiros do relógio e retire a cabeça do filtro (Figura 48).
Retire o elemento do filtro de pressão (Figura 48).
Limpe o elemento do filtro de pressão com água limpa.
Important: Substitua o filtro se estiver danificado ou não puder ser limpo.
Verifique a junta do tampão de drenagem (localizado no interior do recipiente) e junta do recipiente (localizado no interior da cabeça do filtro) e veja se há danos e desgaste (Figura 48).
Important: Substitua quaisquer juntas danificadas ou gastas no tampão, no recipiente ou ambos.
Instale o elemento do filtro de pressão na cabeça do filtro (Figura 48).
Note: Certifique-se de que o elemento do filtro está firmemente colocado na cabeça do filtro.
Instale o recipiente na cabeça do filtro apertando à mão (Figura 48).
Enrosque a tampa de drenagem na união na parte inferior do recipiente e aperte bem a tampa à mão (Figura 48).
Estacione a máquina numa superfície plana, engate o travão de estacionamento, desligue a bomba de pulverização, desligue o motor e retire a chave.
Retire o bico da cabeça de pulverização (Figura 49).

Retire o filtro do bico (Figura 49).
Limpe o filtro de sucção com água limpa.
Important: Substitua o filtro se estiver danificado ou não puder ser limpo.
Instale o filtro do bico (Figura 49).
Note: Certifique-se de que o filtro está totalmente colocado.
Instale o bico na cabeça de pulverização (Figura 49).
| Intervalo de assistência | Procedimento de manutenção |
|---|---|
| Após cada utilização |
|
Especificações do condicionador: propilenoglicol “anticongelante RV não tóxico” com inibidor de corrosão
Important: Utilize apenas propilenoglicol com inibidor de corrosão. Não utilize propilenoglicol reciclado. Não utilize anticongelante à base de etilenoglicol.Não utilize propilenoglicol com adição de álcoois solúveis (metanol, etanol ou isopropanol) ou salmouras.
Mova a máquina para uma superfície plana, acione o travão de estacionamento, desligue o motor e retire a chave.
Adicione condicionador ao depósito da seguinte forma:
No caso de anticongelante RV de propilenoglicol (pré-misturado) pronto a utilizar – acrescente 38 litros de anticongelante RV de propilenoglicol ao depósito.
No caso de anticongelante RV de propilenoglicol concentrado, efetue os seguintes passos:
Acrescente uma mistura de 38 litros de anticongelante RV de propilenoglicol e água no depósito do pulverizador. Prepare a mistura de anticongelante conforme indicado pelo fabricante para uma concentração preparada para -45ºC no mínimo.
Important: Utilize apenas água limpa quando limpar o pulverizador.
Ligue a bomba e o interruptor da bomba de pulverização na posição LIGAR.
Carregue no pedal do acelerador para aumentar a velocidade do motor.
Coloque o interruptor de agitação na posição LIGAR.
Permita que o condicionador e a solução aquosa circulem durante pelo menos 3 minutos.
Ferramenta recomendada: um recipiente para apanhar.
Mova a máquina para a superfície de drenagem e engate o travão de estacionamento.
Baixe as secções das rampas exteriores.
Coloque os interruptores das secções esquerda, central e direita e o interruptor principal na posição LIGAR.
Deixe o sistema de pulverização pulverizar até os bicos descarregarem o condicionador.
Note: A maioria dos anticongelantes RV de propilenoglicol concentrado tem a cor rosa. Utilize o recipiente para apanhar junto da descarga do pulverizador em vários bicos.
Desligue o interruptor principal, os 3 interruptores de secção, o interruptor de agitação, o interruptor da bomba de pulverização e o motor.
Utilize um atrelado ou um camião quando mover máquina em longas distâncias.
Em caso de emergência, é possível rebocar o pulverizador em distâncias reduzidas depois de abrir a válvula de reboque. No entanto, este procedimento não deve ser utilizado regularmente.
Rebocar o veículo em excesso de velocidade, pode levar à perda de direção e provocar acidentes pessoais.
O pulverizador não deverá ser rebocado a uma velocidade superior a 4,8 km/h.
O reboque do pulverizador deverá ser efetuado por duas pessoas. Se for necessário deslocar a máquina uma distância considerável, deverá utilizar uma carrinha ou um atrelado; consulte Transporte da máquina.
Deixe o sistema de escape arrefecer por completo.
Retire o resguardo do chassis inferior; consulte Remoção do resguardo do chassis inferior.
Rode a válvula de reboque (Figura 52) 90° em qualquer um dos sentidos para abri-la.

Important: Se não abrir a válvula de reboque antes de rebocar o pulverizador, pode danificar a transmissão.
Ate um cabo de reboque ao chassis; consulte os pontos de reboque dianteiros e traseiros (Figura 53 e Figura 54).


Desative o travão de estacionamento.
Reboque o pulverizador a uma velocidade inferior a 4,8 km/h.
Quando terminar, feche a válvula de reboque e aperte-a com 7 a 11 N·m.
Important: Antes de a máquina voltar a ser utilizada, instale o resguardo do chassis; consulte Instalação do resguardo do chassis inferior.
Note: Transfira uma cópia gratuita dos esquemas elétricos ou hidráulicos visitando www.Toro.com e procurando a sua máquina a partir da hiperligação de manuais na página inicial.
Important: Para informações detalhadas sobre os procedimentos de manutenção adicionais, consulte o Manual do utilizador do motor.
Note: Determine os lados direito e esquerdo da máquina a partir da posição normal de utilização.
Antes de sair da posição de operador, faça o seguinte:
Estacione a máquina numa superfície nivelada.
Mude a transmissão para PONTO MORTO (manual) ou para a posição ESTACIONAMENTO (automática).
Engate o travão de estacionamento.
Desligue o motor e retire a chave (se equipada).
Aguarde que todo o movimento pare.
Deixe os componentes da máquina arrefecerem antes de proceder à manutenção.
Apenas pessoal qualificado e autorizado deverá efetuar a manutenção, reparação, ajuste ou inspeção da máquina.
Antes de realizar qualquer manutenção, limpe e enxague cuidadosamente o pulverizador. Consulte a Segurança química.
Os químicos utilizados no sistema de pulverização podem ser perigosas ou tóxicas para si ou outras pessoas presentes, animais, plantas, solos ou outros bens.
Leia atentamente e siga as etiquetas de advertência química e folhas de dados de de segurança (FDS) de todos os produtos químicos usados e proteja-se de acordo com as recomendações do fabricante do produto químico.
Proteja sempre a sua pele quando estiver perto de químicos. Utilize Equipamento de Proteção Pessoal (EPP) para proteção contra o contato com produtos químicos, incluindo o seguinte:
óculos de segurança, óculos e/ou resguardo do rosto
roupa de proteção química
um respirador ou máscara de filtro
luvas resistentes a produtos químicos
botas de borracha ou outro calçado resistente
uma muda de roupa limpa, sabão e toalhas descartáveis para limpeza
Recuse operar ou trabalhar no pulverizador, se as informações sobre segurança química não estiverem disponíveis.
Não encha, calibre, nem limpe a máquina enquanto estiverem pessoas, especialmente crianças, ou animais de estimação, na área.
Prepare os químicos numa zona bem ventilada.
Tenha sempre água limpa à disposição, especialmente quando encher o tanque do pulverizador.
Não coma, não beba, nem fume quando estiver a trabalhar perto de químicos.
Não limpe os bicos de pulverização, ao soprar através deles ou colocando-os na boca.
Assim que acabar de trabalhar com produtos químicos, lave sempre as mãos e outras zonas do corpo expostas ao químico.
Os produtos químicos e os gases são perigosos; nunca entre dentro do tanque nem coloque a cabeça na abertura.
Para garantir que toda a máquina se encontra em boas condições de funcionamento, mantenha todas as ferragens devidamente apertadas.
Para reduzir o risco de incêndio, mantenha a zona do motor livre de massa lubrificante excessiva, químicos, folhas e sujidade.
Se for necessário colocar o motor em funcionamento para executar qualquer ajuste, deverá manter as mãos, pés, roupa e outras partes do corpo longe do motor e outras peças em movimento. Mantenha todas as pessoas longe da máquina.
Não ajuste a velocidade da máquina. Para garantir a segurança e precisão do motor, deverá pedir a um distribuidor autorizado Toro que verifique a velocidade do veículo.
Se a máquina necessitar de reparações de vulto ou necessitar de assistência técnica, contate um distribuidor autorizado Toro.
Qualquer modificação da máquina que possa afetar o seu funcionamento, desempenho, durabilidade ou utilização poderá resultar em lesões ou em morte. Esse tipo de utilização pode anular a garantia do produto.
Apoie a máquina com preguiças sempre que trabalhar debaixo da máquina.
Cuidadosamente, liberte a pressão dos componentes com energia acumulada.
| Intervalo de assistência | Procedimento de manutenção |
|---|---|
| Após as pimeiras 8 horas |
|
| Após as pimeiras 50 horas |
|
| Após as pimeiras 100 horas |
|
| Após as pimeiras 200 horas |
|
| Em todas as utilizações ou diariamente |
|
| Após cada utilização |
|
| A cada 50 horas |
|
| A cada 100 horas |
|
| A cada 200 horas |
|
| A cada 400 horas |
|
| A cada 800 horas |
|
| A cada 1000 horas |
|
| A cada 2000 horas |
|
| Anualmente |
|
Copie esta página para uma utilização de rotina.
|
Verificações de manutenção |
Para a semana de: |
||||||
|---|---|---|---|---|---|---|---|
|
Segunda-feira |
Terça-feira |
Quarta-feira |
Quinta-feira |
Sexta-feira |
Sábado |
Domingo |
|
|
Verifique o funcionamento dos travões (pedal dos travões e travão de estacionamento). | |||||||
|
Verifique o funcionamento do interruptor de bloqueio do ponto morto. | |||||||
|
Verifique o nível de combustível. | |||||||
|
Verifique o nível de óleo do motor. | |||||||
|
Verifique o nível de fluido hidráulico. | |||||||
|
Verifique o nível do líquido de arrefecimento. | |||||||
|
Verifique o filtro de ar. | |||||||
|
Verifique o radiador e o dispositivo de arrefecimento do óleo têm detritos. | |||||||
|
Verifique todos os ruídos estranhos no motor. | |||||||
|
Verifique todos os ruídos estranhos de funcionamento. | |||||||
|
Verifique a pressão de ar dos pneus. | |||||||
|
Verifique se há fuga de fluidos. | |||||||
|
Verifique se as tubagens e mangueiras de fluido se encontram danificadas, dobradas ou gastas. | |||||||
|
Verifique o funcionamento do painel de instrumentos. | |||||||
|
Verifique o funcionamento do acelerador. | |||||||
|
Limpe o filtro de rede da sucção. | |||||||
|
Aplique lubrificante em todos os bocais de lubrificação1 | |||||||
|
Lave a máquina. | |||||||
|
Retoque a pintura danificada. | |||||||
1 Imediatamente após cada lavagem, independentemente do intervalo previsto
| Inspeção executada por: | ||
| Item | Data | Informação |
| 1 | ||
| 2 | ||
| 3 | ||
| 4 | ||
| 5 | ||
| 6 | ||
| 7 | ||
| 8 | ||
| 9 | ||
| 10 | ||
Se deixar a chave no interruptor de arranque, alguém pode ligar acidentalmente o motor e feri-lo a si ou às pessoas que se encontrarem próximo da máquina.
Retire a chave do interruptor de arranque antes de fazer qualquer revisão.
Sempre que for necessário ligar o motor para efetuar operações de manutenção programada e/ou diagnósticos do motor, as rodas traseiras do pulverizador deverão encontrar-se a uma distância de 2,5 cm do solo e o eixo traseiro deverá estar apoiado em suportes adequados.
Um pulverizador apoiado num macaco poderá tornar-se instável e deslizar do apoio, ferindo qualquer pessoa que se encontre debaixo dele.
Retire sempre a chave do interruptor de ignição antes de sair do pulverizador.
Bloqueie as rodas quando o pulverizador estiver sobre um macaco.
Apoie a máquina com os macacos.
O ponto de suspensão na zona dianteira do pulverizador está localizado debaixo do eixo dianteiro, imediatamente abaixo das molas de lâmina (Figura 55).

O ponto de suspensão na zona traseira do pulverizador encontra-se no suporte traseiro entre os suportes das rampas (Figura 56).

Engate o travão de estacionamento, pare a bomba do pulverizador, desligue o motor e retire a chave do interruptor.
Levante a dianteira e a traseira da máquina e apoie-a em preguiças; consulte Elevação do pulverizador.
Retire os 6 parafusos de cabeça hexagonal e as 6 anilhas que fixam a proteção térmica dianteira ao chassis e retire a proteção (Figura 57).
Note: Guarde os parafusos, as anilhas e a proteção térmica para instalação em Instalação da proteção térmica frontal.

Alinhe a flange traseira da proteção térmica frontal por cima da flange dianteira da proteção térmica traseira (Figura 58).

Alinha os orifícios da proteção térmica frontal com os orifícios roscados no chassis (Figura 58).
Monte a proteção térmica frontal na máquina com os 6 parafusos de cabeça hexagonal e as 6 anilhas (Figura 58) que retirou no passo 3 de Remoção da proteção térmica dianteira.
Aperte os parafusos com uma força de 1978 a 2542 N·cm.
Retire os apoios e baixe a máquina.
Retire os 5 parafusos com cabeça de flange (5/16 pol. x ⅞ pol.) e as 5 anilhas (5/16 pol.) que prendem a parte de trás do resguardo do chassis inferior ao chassis da máquina (Figura 59).
Note: Guarde os parafusos e as anilhas para colocação no passo Instalação do resguardo do chassis inferior de 5.


Retire as 4 porcas de bloqueio flangeadas (5/16 pol.) dos parafusos e do parafuso de carroçaria que prendem as patilhas de montagem do resguardo do chassis inferior aos suportes de montagem do motor da máquina (Figura 60).
Note: Não retire os parafusos da máquina. Guarde as porcas de bloqueio flangeadas para instalação no passo 3 de Instalação do resguardo do chassis inferior.

Mova as patilhas de montagem dos parafusos que prendem o resguardo do chassis inferior aos suportes de montagem do motor.
Remova o resguardo do chassis da máquina (Figura 59 e Figura 60).
Alinhe o resguardo do chassis inferior com a parte inferior da máquina; consulte Figura 60 em Remoção do resguardo do chassis inferior.
Mova as patilhas de montagem do resguardo do chassis para cima dos parafusos e do parafuso de carroçaria nos suportes de montagem do motor da máquina; consulte Figura 60 em Remoção do resguardo do chassis inferior.
Monte o resguardo do chassis nos suportes de montagem do motor e parafusos (Figura 60) com as 4 porcas de bloqueio flangeadas (5/16 pol.) que retirou no passo 2 de Remoção do resguardo do chassis inferior.
Alinhe os orifícios na parte de trás do resguardo do chassis com os orifícios no chassis; consulte Figura 59 em Remoção do resguardo do chassis inferior.
Monte a parte de trás do resguardo do chassis inferior no chassis (Figura 59) com os 5 parafusos de cabeça flangeada (5/16 x ⅞ pol.) e as 5 anilhas (5/16 pol.) que retirou no passo 1 de Remoção do resguardo do chassis inferior.
Aperte os parafusos e porcas com uma força de 1129 a 1582 N·cm.
Alinhe os orifícios no painel de acesso da base do banco com os orifícios na base do banco (Figura 61).
Monte o painel de acesso da base do banco com os 2 parafusos de cabeça sextavada (Figura 61) que retirou no passo 1 de Remoção do painel de acesso da base do banco.
Aperte os parafusos com uma força de 1975 a 2542 N·cm.
| Intervalo de assistência | Procedimento de manutenção |
|---|---|
| A cada 50 horas |
|
Tipo de lubrificante: Mobil XHP 461.
| Intervalo de assistência | Procedimento de manutenção |
|---|---|
| A cada 50 horas |
|
Tipo de lubrificante: Massa n.º 2 à base de lítio. É disponibilizada massa lubrificante Toro Premium All Purpose no seu Distribuidor Toro.
Cilindro de direção – 2 bocais de lubrificação em cada extremidade da barra do cilindro
Barra de direção – 2 bocais de lubrificação em cada extremidade da barra
Articulação do eixo – 2 bocais de lubrificação em cada lado da máquina
Introduza o lubrificante nos bocais de lubrificação (Figura 63 e Figura 64).
Limpe a massa lubrificante em excesso.
Note: As posições dos bocais de lubrificação estão ilustradas na Figura 63.


| Intervalo de assistência | Procedimento de manutenção |
|---|---|
| A cada 100 horas |
|
Important: Se a dobradiça da rampa for lavada com água, retire todos os restos de água da dobradiça e deve aplicar-se massa lubrificante fresca.
Tipo de lubrificante: Massa n.º 2 à base de lítio.
Limpe os bocais de lubrificação de modo a evitar a entrada de matérias estranhas no rolamento ou casquilho.
Introduza massa lubrificante no rolamento ou casquilho de cada união (Figura 65).

Limpe a massa lubrificante em excesso.
Repita o procedimento para cada articulação da rampa.
| Intervalo de assistência | Procedimento de manutenção |
|---|---|
| A cada 400 horas |
|
Tipo de lubrificante: Massa n.º 2 à base de lítio.
Baixe as secções de pulverização exteriores para a posição de PULVERIZAçãO.
Retire o gancho do passador de forquilha (Figura 66).
Eleve a secção, retire o passador de forquilha e lentamente baixe a secção para o solo (Figura 66).
Inspecione o passador de forquilha para ver se está danificado e substitua-o, caso necessário.

Rode o rolamento da extremidade da barra e aplique massa lubrificante no rolamento (Figura 67).
Note: Limpe a massa lubrificante em excesso.

Levante a secção de pulverização para alinhar a articulação com a barra do acionador.
Enquanto sustenta a secção de pulverização, insira o passador de forquilha através tanto da articulação da rampa como da barra do acionador (Figura 66).
Com o passador no lugar, solte a secção de pulverização e prenda o passador de forquilha com o gancho anteriormente retirado.
Repita os passos 2 a 8 para o rolamento da barra do atuador no outro lado da máquina.
Desligue o motor antes de verificar ou adicionar óleo no cárter.
| Intervalo de assistência | Procedimento de manutenção |
|---|---|
| Em todas as utilizações ou diariamente |
|
Engate o travão de estacionamento, pare a bomba do pulverizador, desligue o motor e retire a chave do interruptor.
Incline o banco do passageiro para a frente e alinhe a haste no batente na ranhura de orientação da haste.
Limpe o tampão antipoeira e o corpo do filtro de ar (Figura 68).

Verifique se existe algum dano no corpo do filtro de ar que possa provocar uma fuga de ar (Figura 68).
Note: Substitua o tampão antipoeira e o corpo do filtro de ar, se algum estiver danificado.
Aperte a válvula do pó para a limpar de sujidade, pó e detritos (Figura 68).
Solte os 2 trincos que fixam o tampão antipoeira ao corpo do filtro de ar.
Verifique se o elemento do filtro de ar tem acumulação excessiva de pó, sujidade e detritos (Figura 68).
Note: Não limpe o elemento do filtro de ar se estiver sujo; substitua-o.
Instale o tampão antipoeira no corpo do filtro de ar e fixe o tampão com os 2 trincos (Figura 68).
Note: Certifique-se de que a válvula do pó está alinhada entre a posição das 5 e das 7 horas, quando vista da extremidade.
Baixe o banco do passageiro.
| Intervalo de assistência | Procedimento de manutenção |
|---|---|
| A cada 100 horas |
|
Se estiver a instalar um filtro novo, inspecione o novo elemento do filtro de ar para verificar se tem danos, incluindo a extremidade vedante do filtro.
Important: Não instale um filtro danificado.
Limpe o tampão antipoeira e o corpo do filtro de ar (Figura 68).
Levante o depósito de expansão do líquido de refrigeração e retire-o do suporte do depósito (Figura 69).

Solte os 2 trincos que fixam o tampão antipoeira ao corpo do filtro de ar (Figura 69).
Suavemente, faça deslizar o elemento do filtro antigo para fora do corpo do filtro de ar suavemente para, assim, reduzir o pó deslocado.
Note: Evite bater com o elemento do filtro no corpo onde se encontra alojado.
Limpe o interior do tampão antipoeira, do corpo do filtro de ar e da válvula antipoeira com um trapo húmido (Figura 68 e Figura 69).
Introduza o elemento do filtro de ar no corpo do filtro de ar (Figura 69).
Note: Verifique se o filtro está devidamente colocado no corpo do filtro de ar, aplicando alguma pressão no anel exterior do elemento do filtro quando o instalar. Não pressione a zona central do filtro.
Instale a cobertura no corpo do filtro de ar e fixe-a com os 2 trincos (Figura 69).
Note: Certifique-se de que a válvula do pó está alinhada entre a posição das 5 e das 7 horas, quando vista da extremidade (Figura 69).
Alinhe o depósito de expansão do líquido de refrigeração com o suporte do depósito e posicione o depósito com firmeza (Figura 69).
Important: Certifique-se de que a tubagem de descarga da pressão é encaminhada para fora e para baixo e a tubagem de ventilação do depósito é encaminhada para trás, como se mostra na Figura 69.
Baixe o banco do passageiro.
Tipo de óleo – Serviço CH-4, CI-4 ou superior.
Viscosidade preferida do óleo – SAE 15W40 (acima de -18 °C)
Viscosidade alternativa do óleo – SAE 10W-30 ou 5W-30 (todas as temperaturas)
O óleo Toro Premium Engine encontra-se disponível no seu distribuidor, com viscosidade 15W-40 ou 10W-30. Consulte o Catálogo das peças para saber quais são os números destas peças.
| Intervalo de assistência | Procedimento de manutenção |
|---|---|
| Em todas as utilizações ou diariamente |
|
Note: A melhor altura para verificar o nível de óleo do motor será quando o motor estiver frio antes do dia de trabalho começar. Se o motor já tiver trabalhado, espere 10 minutos até o óleo voltar para o reservatório e verifique depois.
O motor já é enviado com óleo no cárter; no entanto, o nível de óleo deverá ser verificado antes de ligar o motor pela primeira vez e depois de utilizar o motor.
Coloque a máquina numa superfície plana.
Retire a vareta, situada debaixo do banco do passageiro e limpe-a com um pano limpo (Figura 70).
Note: Volte a colocar a vareta no tubo e verifique se está completamente introduzida. Retire a vareta e verifique o nível de óleo.


Se o nível de óleo estiver baixo, retire o tampão de enchimento da cobertura da válvula e adicione lentamente óleo no tubo de enchimento até que o nível suba até à marca Cheio da vareta (Figura 71).
Note: Adicione o óleo lentamente e verifique o nível com alguma frequência durante o procedimento. Não encha demasiado.

Instale a tampa do tubo de enchimento.
Volte a introduzir a vareta no tubo.
| Intervalo de assistência | Procedimento de manutenção |
|---|---|
| Após as pimeiras 50 horas |
|
| A cada 200 horas |
|
Retire a proteção térmica dianteira; consulte Remoção da proteção térmica dianteira.
Levante os assentos.
Depois do pulverizador trabalhar os componentes debaixo do banco ficam quentes. Se tocar nestes componentes quentes pode queimar-se.
Deixe o pulverizador arrefecer antes de efetuar as operações de manutenção ou tocar nos componentes debaixo do capot.
Alinhe um recipiente de escoamento debaixo do filtro de óleo do motor (Figura 72).

Retire o filtro do óleo antigo (Figura 72).
Note: Deverá eliminar o filtro de óleo usado num centro de reciclagem certificado.
Limpe a superfície do adaptador do filtro do óleo do motor com um trapo.
Encha o filtro do óleo com o óleo especificado.
Note: Permita que o elemento do filtro fique saturado de óleo.
Aplique uma fina camada do óleo especificado na junta de borracha do filtro do óleo de substituição.
Instale um filtro do óleo no adaptador do filtro, rode o filtro de óleo no sentido horário até que a junta de borracha entre em contacto com o adaptador do filtro; em seguida, aperte o filtro mais ½ de volta (Figura 72).
Note: Não aperte demasiado o filtro do óleo.
Limpe qualquer resíduo de óleo.
4,6 litros com o filtro; consulte a Especificações do óleo do motor.
| Intervalo de assistência | Procedimento de manutenção |
|---|---|
| Após as pimeiras 50 horas |
|
| A cada 200 horas |
|
Alinhe um recipiente de escoamento com o tampão de escoamento (Figura 72).
Retire o tampão de escoamento e deixe o óleo escoar completamente (Figura 72).
Note: Verifique se o vedante do tampão de escoamento tem desgaste ou está danificado; substitua o vedante, se tiver desgaste ou estiver danificado.
Note: O óleo usado deve ser tratado num centro de reciclagem certificado.
Coloque o tampão de escoamento no orifício de escoamento do motor e aperte o tampão com 33 a 37 N·m.
Incline o banco do passageiro para a frente e alinhe a haste no batente na ranhura de orientação da haste.
Retire o tampão de enchimento de óleo do tubo de enchimento da cobertura da válvula do motor e despeje lentamente cerca de 80% da quantidade especificada de óleo no tubo de enchimento (Figura 73).

Retire a vareta e verifique o nível de óleo no motor (Figura 74).

Adicione devagar o óleo especificado para elevar o nível até à marca Cheio da vareta (Figura 74).
Important: Encher demasiado o motor com óleo pode causar danos no motor.
Coloque o tampão de enchimento no tubo de enchimento (Figura 73).
Coloque a proteção térmica dianteira; consulte Instalação da proteção térmica frontal.
| Intervalo de assistência | Procedimento de manutenção |
|---|---|
| A cada 400 horas |
|
Conclua todos os procedimentos de manutenção anuais, especificados no Manual de proprietário do motor.
Em determinadas condições, o combustível e respetivos gases podem tornar-se altamente inflamáveis e explosivos. Um incêndio ou explosão de combustível poderá provocar queimaduras e danos materiais.
Utilize sempre um funil e encha o depósito no exterior, numa zona aberta, quando o motor se encontrar frio. Limpe todo o combustível derramado.
Não encha completamente o depósito de combustível. Adicione combustível ao depósito de combustível até que o nível se encontre 2,5 cm abaixo do fundo do tubo de enchimento. Este espaço no depósito permite a expansão do combustível.
Nunca fume quando estiver a manusear combustível e mantenha-se afastado do fogo ou faíscas que possam inflamar os vapores de combustível.
Guarde o combustível num recipiente limpo e seguro e mantenha-o sempre bem fechado.
| Intervalo de assistência | Procedimento de manutenção |
|---|---|
| Após as pimeiras 50 horas |
|
| A cada 400 horas |
|
Verifique se existem sinais de deterioração, danos ou ligações soltas nas tubagens e nos encaixes.
Note: Se detetar qualquer fuga de combustível, repare o(s) componente(s) de combustível antes de operar a máquina.
Note: Certifique-se de que o depósito de combustível se encontra meio cheio.
Engate o travão de estacionamento, pare a bomba do pulverizador, desligue o motor e retire a chave do interruptor.
Retire a proteção térmica dianteira; consulte Remoção da proteção térmica dianteira.
Incline o banco do passageiro para a frente e alinhe a haste no batente na ranhura de orientação da haste.
Alinhe um recipiente de escoamento debaixo do filtro do combustível; consulte Figura 77 na Substituição do filtro separador de água.
Desaperte o tampão de ventilação na parte superior do separador combustível/óleo (Figura 75)..

Rode a chave no interruptor da ignição para a posição LIGAR.
Note: Este procedimento irá ativar a bomba de combustível elétrica, forçando a saída de ar através do tampão de ventilação. Mantenha a chave na posição LIGAR enquanto não sair um fluxo contínuo de combustível do tampão de ventilação.
Aperte o tampão de ventilação e rode o interruptor da ignição para a posição DESLIGAR (Figura 75).
Alinhe o recipiente de escoamento debaixo da parte da bomba de injeção de combustível do motor (Figura 76).

Desaperte o parafuso de purga que se encontra na bomba de injeção de combustível (Figura 76).
Rode a chave no interruptor de ignição para a posição LIGAR.
Note: A bomba de combustível elétrica começa a funcionar, forçando a saída de ar em torno do parafuso de purga da bomba de injeção de combustível.
Mantenha a chave na posição LIGAR enquanto não sair um fluxo contínuo de combustível do parafuso de purga (Figura 76).
Aperte o parafuso de purga (Figura 76) e rode a chave para a posição DESLIGAR.
Note: Normalmente, o motor deverá arrancar após a purga do sistema de combustível. No entanto, se o motor não arrancar, poderá significar que ainda existe ar entre a bomba de injeção e os injetores; consulte Drenagem de ar dos injetores.
Só deve efetuar este procedimento se, depois de eliminar todo o ar do sistema, o motor não arranca; consulte Purga do sistema de combustível.
Alinhe um recipiente de escoamento debaixo do lado direito do motor..
Desaperte a porca da tubagem no conjunto do bico injetor de combustível n.º 1 e suporte.
Desloque a alavanca para a posição RáPIDO.
Rode a chave da ignição para a posição ARRANQUE e aguarde até notar um fluxo de combustível em redor da tubagem.
Rode a chave para a posição DESLIGAR quando esse fluxo se tornar contínuo.
Aperte a porca do tubo.
Limpe o combustível residual da área em torno do injetor de combustível.
Repita os passos 2 a 7 para os restantes bicos injetores de combustível.
Coloque a proteção térmica dianteira; consulte Instalação da proteção térmica frontal.
| Intervalo de assistência | Procedimento de manutenção |
|---|---|
| A cada 400 horas |
|
Retire a proteção térmica dianteira; consulte Remoção da proteção térmica dianteira.
Coloque um recipiente de escoamento por baixo do filtro separador de água (Figura 77).

Rode a válvula de drenagem na parte inferior do recipiente do filtro separador de água no sentido contrário ao dos ponteiros do relógio (Figura 77).
Note: Deixe o combustível drenar por completo do recipiente do filtro e depois feche a válvula.
Limpe a área em torno do recipiente do filtro separador de água e da montagem do adaptador do filtro (Figura 77).
Retire o filtro separador de água (Figura 77).
Note: Elimine o combustível e o recipiente do filtro usados num centro de reciclagem certificado.
Limpe a superfície de montagem do adaptador do filtro.
Lubrifique a junta do filtro separador de água com óleo do motor limpo.
Instale o filtro à mão até a junta tocar na superfície de montagem e, depois, aperte o filtro com mais ½ de volta.
Certifique-se de que a válvula de drenagem na parte inferior do filtro separador de água é rodada no sentido dos ponteiros do relógio com firmeza (Figura 77).
| Intervalo de assistência | Procedimento de manutenção |
|---|---|
| A cada 400 horas |
|
Note: O filtro de combustível faz parte da coluna de alimentação.
Engate o travão de estacionamento, pare a bomba do pulverizador, desligue o motor e retire a chave do interruptor.
No depósito de combustível, retire os 4 parafusos (nº 10 x ¾ pol.) que fixam a cobertura à parte superior do depósito de combustível e retire a cobertura (Figura 78A).

Desaperte as braçadeiras que fixam as duas tubagens de combustível às duas uniões da tubagem na parte superior do conjunto da coluna de alimentação (Figura 78B).
Desligue as duas tubagens das uniões da tubagem e deixe que o combustível nas tubagens escoe para o recipiente de combustível aprovado (Figura 78B).
Rode a tampa da coluna de alimentação de combustível no sentido contrário ao dos ponteiros do relógio e, em seguida, retire a tampa (Figura 79).

Levante o conjunto da coluna de alimentação do depósito de combustível (Figura 79).
Note: Elimine a coluna de alimentação antiga.
Note: Obtenha uma nova coluna de alimentação junto do seu distribuidor Toro autorizado. Pode ser necessário um novo vedante para segurar a união em cotovelo e a coluna de alimentação ao topo do depósito de combustível.
Monte a tampa da coluna de alimentação por cima da coluna de alimentação e a coluna de alimentação no vedante (Figura 79).
Alinhe a tampa, coluna de alimentação e vedante no depósito e insira, cuidadosamente, o novo conjunto da coluna de alimentação no depósito de combustível (Figura 79).
Note: Alinhe as uniões da tubagem em direção ao centro da máquina.
Enrosque a tampa no tubo do depósito de combustível e aperte bem a tampa à mão (Figura 79).
Monte a tubagem do combustível com 6,4 mm no encaixe da tubagem com 6,4 mm e fixe a tubagem no encaixe com a braçadeira de tubos (Figura 78B).
Monte a tubagem do combustível com 5/16 pol. (8 mm) no encaixe da tubagem com 5/16 pol. (8 mm) e fixe a tubagem no encaixe com a braçadeira de tubos (Figura 78B).
Monte a cobertura no depósito (Figura 78A) com os 4 parafusos (nº 10 x ¾ pol.) que retirou no passo 2 de Remoção do filtro do depósito de combustível.
Aperte os parafusos com uma força de 113 N∙cm.
| Intervalo de assistência | Procedimento de manutenção |
|---|---|
| A cada 400 horas |
|
Deve drenar e limpar o depósito se o sistema de combustível ficar contaminado ou se tiver de guardar a máquina por um período de tempo prolongado. Quando limpar o depósito do combustível, use combustível limpo para lavar o depósito.
Transfira o combustível do depósito para um recipiente de combustível aprovado utilizando uma bomba de sifão ou remova o depósito da máquina e despeje o combustível pelo bico do tanque para o recipiente de combustível.
Note: Se retirar o depósito do combustível, terá de retirar as tubagens de abastecimento e retorno do combustível da coluna de alimentação antes de retirar o depósito; consulte os passos 1 a 4 em Remoção do filtro do depósito de combustível.
Substitua os filtros do combustível; consulte Substituição do filtro separador de água.
Lave o depósito com combustível novo e limpo, se necessário.
Coloque o depósito, se o retirou; consulte os passos 1 a 5 em Remoção do filtro do depósito de combustível.
Encha o depósito com combustível novo e limpo.
Desligue a bateria antes de reparar a máquina. Desligue o terminal negativo em primeiro lugar e o terminal positivo no final. Ligue o positivo em primeiro lugar e o terminal negativo no final.
Carregue a bateria num espaço aberto e bem ventilado, longe de faíscas e chamas. Retire a ficha do carregador da tomada antes de o ligar ou desligar da bateria.
Utilize roupas adequadas e ferramentas com isolamento.
O bloco de fusíveis do sistema elétrico encontra-se por baixo do banco do operador (Figura 80).

| Intervalo de assistência | Procedimento de manutenção |
|---|---|
| A cada 50 horas |
|
Mantenha sempre a bateria limpa e totalmente carregada. Utilize uma toalha de papel para limpar a bateria e a respetiva caixa. Se os terminais da bateria se encontrarem corroídos, limpe-os com uma solução de 4 partes de água e 1 parte de bicarbonato de sódio. Aplique uma leve camada de massa nos terminais da bateria para evitar a corrosão.
Tensão: 12 volt com 690 amperes para arranque a frio a -18°C.
Posicione o pulverizador numa superfície plana, engate o travão de estacionamento, desligue a bomba de pulverização, desligue o motor e retire a chave.
Retire a cobertura da bateria e desligue o cabo negativo (preto) do borne da bateria (Figura 81).

A ligação incorreta dos cabos da bateria poderá danificar o pulverizador e os cabos produzindo faíscas. As faíscas podem provocar uma explosão dos gases da bateria, resultando em acidentes pessoais.
Desligue sempre o cabo negativo (preto) antes de desligar o cabo positivo (vermelho).
Ligue sempre o cabo positivo (vermelho) antes de ligar o cabo negativo (preto).
Os terminais da bateria e as ferramentas de metal poderão provocar curto-circuitos noutros componentes do veículo, produzindo faíscas. As faíscas podem provocar uma explosão dos gases da bateria, resultando em acidentes pessoais.
Quando retirar ou montar a bateria, não toque com os terminais da bateria noutras peças metálicas do pulverizador.
Deverá evitar quaisquer curto-circuitos entre os terminais da bateria e as peças metálicas do pulverizador.
Mantenha sempre a faixa da bateria na sua posição correta de modo a proteger e manter a bateria bem fixa.
Desligue o cabo positivo (vermelho) do pólo da bateria.
Retirar a bateria.
Coloque a bateria de modo a que os terminais fiquem afastados do pulverizador.
Coloque o cabo positivo (vermelho) no terminal positivo (+) e o cabo negativo (negro) no terminal negativo (–) da bateria e fixe-os com os parafusos e as porcas.
Coloque a cobertura do isolador no polo positivo da bateria.
Coloque a tampa da bateria e fixe-a com a cinta que retirou anteriormente (Figura 81).
Important: Mantenha sempre a fixação da bateria na posição correta de modo a proteger e manter a bateria bem fixa.
Important: Mantenha sempre a bateria carregada. Este procedimento torna-se especialmente importante quando a temperatura desce abaixo dos 0 °C.
Retirar a bateria do chassis; consulte Remoção da bateria.
Carregue a bateria com um carregador de bateria de 3 a 4 amperes, a uma taxa de 3 a 4 amperes durante 4 a 8 horas (12 V).
Important: Não carregue demasiado a bateria.
Instale a bateria no chassis; consulte Montagem da bateria.
Se guardar a máquina durante um período superior a 30 dias, deverá retirar a bateria e carregá-la completamente. Guarde-a num local seguro ou na própria máquina. Desligue os cabos da bateria, se a bateria ficar armazenada na máquina. Guarde a bateria num local fresco para evitar que a carga se deteriore mais rapidamente. Para evitar que a bateria congele, certifique-se de que esta se encontra completamente carregada.
| Intervalo de assistência | Procedimento de manutenção |
|---|---|
| Após as pimeiras 8 horas |
|
| Após as pimeiras 200 horas |
|
| A cada 100 horas |
|
| A cada 400 horas |
|
Aperte as cavilhas das rodas dianteiras com 75 a 102 N∙m e as cavilhas das rodas traseiras com 95 a 122 N∙m.
Os acidentes de trabalho, tais como embater contra bermas de passeios elevados, poderão danificar o pneu ou a jante e desalinhar as rodas, pelo que deverá verificar o estado dos pneus após um acidente.
Lubrificante de engrenagens SAE 85W-140

Com a máquina numa superfície plana, posicione uma roda de forma a que o tampão de enchimento fique na posição mais elevada (12 horas) e o tampão de drenagem na posição mais baixa (6 horas) (Figura 83).

Retire o tampão de verificação (Figura 45).
Deve ver o nível do lubrificante na parte inferior das estrias do furo do tampão de verificação.

Inspecione os anéis de retenção do tampão de verificação quanto a danos.
Se o anel de retenção estiver danificado, substitua-o.
Se o nível de lubrificante estiver baixo, retire o tampão de enchimento e adicione o lubrificante especificado até começar a sair pelo furo do tampão de verificação (Figura 85); consulte a Especificações do lubrificante da transmissão da engrenagem planetária.

Inspecione os anéis de retenção do tampão de enchimento quanto a danos.
Se o anel de retenção estiver danificado, substitua-o.
Instale o tampão de enchimento e o tampão de verificação (Figura 85).
Repita os passos 1 a 6 para a transmissão da engrenagem planetária no outro lado da máquina.
| Intervalo de assistência | Procedimento de manutenção |
|---|---|
| Após as pimeiras 8 horas |
|
| A cada 400 horas |
|
Com a máquina numa superfície plana, posicione uma roda de forma a que o tampão de enchimento fique na posição mais elevada (12 horas) e o tampão de drenagem na posição mais baixa (6 horas); consulte Figura 83 em Verificação do lubrificante da transmissão da engrenagem planetária.
Coloque um recipiente de escoamento debaixo do cubo da transmissão da engrenagem planetária, retire o tampão de escoamento, tampão de enchimento e tampão de verificação e deixe o lubrificante drenar completamente (Figura 86).

Verifique se existem limalhas de metal nos tampões de escoamento e enchimento.
Se os tampões de escoamento e enchimento estiverem cobertos de limalhas de metal, repare a transmissão da engrenagem planetária.
Inspecione os anéis de retenção do tampão de escoamento, tampão de enchimento e tampão de verificação quanto a danos.
Se o(s) anel(éis) de retenção estiver(em) danificado(s), substitua-o(s).
Instale o tampão de escoamento.
Coloque um recipiente de escoamento debaixo da caixa do travão, retire o tampão de escoamento e deixe o lubrificante drenar completamente (Figura 87).

Instale o tampão de escoamento na caixa do travão.
0,62 litros; consulte a Especificações do lubrificante da transmissão da engrenagem planetária
Através do furo do tampão de enchimento, adicione lentamente o lubrificante de engrenagens especificado; consulte Figura 85 em Verificação do lubrificante da transmissão da engrenagem planetária.
Deve ver o nível do lubrificante na parte inferior das estrias do furo do tampão de verificação.
Important: Se a transmissão da engrenagem planetária encher antes de adicionar a quantidade de lubrificante especificada, aguarde 1 hora ou instale os tampões e mova a máquina cerca de 3 metros para distribuir o lubrificante pelo sistema de travagem. Em seguida, retire os tampões e adicione o restante lubrificante.
Deixe o nível de lubrificante assentar por 10 minutos, verifique o nível e adicione lubrificante conforme necessário para elevar o nível até à parte inferior das roscas no furo do tampão de verificação.
Instale o tampão de enchimento e o tampão de verificação; consulte Figura 85 em Verificação do lubrificante da transmissão da engrenagem planetária.
Repita os passos em Drenagem do lubrificante da transmissão da engrenagem planetária e Enchimento de lubrificante a transmissão da engrenagem planetária para a transmissão da engrenagem planetária no outro lado da máquina.
| Intervalo de assistência | Procedimento de manutenção |
|---|---|
| A cada 200 horas |
|
Deve medir 0 a 3 mm entre a linha central dianteira dos pneus e a linha central traseira dos pneus.
Verificar e encher todos os pneus; consulte Verificação da pressão de ar dos pneus.
Meça a distância entre os pneus dianteiros à altura do eixo na zona dianteira e traseira dos pneus dianteiros (Figura 88).
Note: A distância entre a parte dianteira dos pneus deve ser 0 a 3 mm inferior à distância entre a parte de trás dos pneus dianteiros.

Se a medição obtida não corresponder aos valores especificados desaperte as porcas de segurança nas extremidades das barras transversais (Figura 89).

Rode a barra de direção para deslocar a zona dianteira do pneu para o interior ou para o exterior.
Volte a apertar as porcas da barra de direção quando a operação de ajuste estiver concluída.
Certifique-se de que o volante roda tanto para um lado como para o outro.
Engolir o líquido de refrigeração do motor pode causar envenenamento; mantenha-o afastado do alcance das crianças e dos animais.
Descarregar líquido de refrigeração pressurizado e quente ou tocar num radiador quente ou nas peças envolventes pode causar queimaduras graves.
Deixe o motor arrefecer, pelo menos, 15 minutos antes de retirar o tampão do radiador.
Use um trapo quando abrir o tampa do radiador, fazendo-o lentamente para permitir a saída do vapor.
Não opere a máquina sem as coberturas instaladas.
Mantenha os dedos, as mãos e a roupa afastados da ventoinha a rodar e da correia da transmissão.
Uma solução de 50% de água e 50% de anticongelante etileno glicol permanente.
Verifique a concentração do líquido de arrefecimento do motor como indicado pelo fabricante do líquido de arrefecimento.
| Intervalo de assistência | Procedimento de manutenção |
|---|---|
| Em todas as utilizações ou diariamente |
|
Se o motor se encontrar em funcionamento, o líquido de arrefecimento pode estar quente e pressurizado. Se abrir o tampão do radiador quando o líquido de arrefecimento estiver quente, o líquido pode salpicar e provocar queimaduras tanto no utilizador como nas pessoas que estejam por perto.
Espere que o motor arrefeça durante cerca de 15 minutos antes de abrir o tampão do radiador.
Important: Só deve adicionar líquido de arrefecimento a um motor sobreaquecido depois de arrefecer por completo. Se adicionar líquido de arrefecimento a um motor sobreaquecido, o bloco do motor pode ficar danificado.
Coloque o pulverizador numa superfície plana.
Engate o travão de estacionamento, pare a bomba do pulverizador, desligue o motor e retire a chave do interruptor.
Retire cuidadosamente a tampa do radiador e a tampa do depósito de expansão (Figura 90).

Verifique o nível de líquido de arrefecimento do radiador e do depósito de expansão.
Note: O radiador deverá encontrar-se cheio de líquido até ao cimo do tubo de enchimento e o nível de líquido no depósito de expansão deverá atingir a marca Cheio no depósito (Figura 90).
Se o nível do líquido de arrefecimento for baixo, retire a tampa do depósito de expansão e o tampão do radiador, encha o depósito de expansão até à marca Cheio e o radiador até ao cimo do tubo de enchimento (Figura 90).
Important: Não encha demasiado o depósito de expansão.
Important: Não use produtos de arrefecimento de água ou à base de álcool/metanol.
Volte a colocar as tampas no radiador e no depósito de expansão (Figura 90).
5,5 litros; consulte a Especificação do líquido de arrefecimento
| Intervalo de assistência | Procedimento de manutenção |
|---|---|
| A cada 400 horas |
|
Equipamento disponibilizado pelo proprietário: um termómetro portátil para líquido de refrigeração
Posicione o pulverizador numa superfície plana, engate o travão de estacionamento, desligue a bomba de pulverização, desligue o motor e retire a chave.
Aguarde até o motor estar frio e depois retire o tampão do radiador (Figura 90).
Coloque um recipiente de escoamento grande debaixo do radiador.
Abra a válvula de drenagem e deixe escorrer o líquido de arrefecimento para o recipiente (Figura 91).

Feche a válvula de drenagem (Figura 91).
Retire o tampão do radiador (Figura 90).
Ateste lentamente o radiador com líquido de arrefecimento cerca de 2,5 cm abaixo da superfície de vedação do tampão.
Note: Utilize líquido de arrefecimento suficiente para atestar o motor e as tubagens do sistema. Isto permite a expansão do líquido de arrefecimento sem derramamento enquanto o motor estiver a aquecer.
Ligue o motor com a tampa sem aperto no radiador (Figura 90).
Deixe o motor aquecer até o termóstato abrir.
Note: O termostato do motor deve abrir quando o termómetro portátil indicar que a temperatura do líquido de arrefecimento está entre 79 °C e 88 °C.
Assim que o líquido de arrefecimento tiver aquecido, encha o nível do líquido até à superfície de vedação e aperte o tampão (Figura 90).
Abra a tampa do depósito de expansão e encha o depósito com líquido de arrefecimento até ao nível Frio (Figura 90).
Verifique os níveis do líquido de arrefecimento após vários ciclos de arranque e paragem do motor.
Note: Acrescente líquido de arrefecimento no radiador e no depósito de expansão conforme necessário.
Se o pedal dos travões avançar mais de 2,5 cm e não sentir resistência, ajuste os travões da seguinte forma:
Posicione o pulverizador numa superfície plana, desligue a bomba do pulverizador, desligue o motor e retire a chave.
Engate o travão de estacionamento.
Coloque os blocos atrás das rodas para evitar que a máquina se desloque.
Desative o travão de estacionamento.
Desaperte as porcas de retenção dianteiras nos cabos dos travões por baixo da parte dianteira do pulverizador (Figura 92).

Aperte as porcas de retenção traseiras de forma idêntica até o pedal dos travões se deslocar entre 1 a 2,5 cm antes de se verificar qualquer resistência (Figura 92).
Important: Aperte as porcas traseiras de modo a que as extremidades roscadas dos cabos dos travões à frente das porcas dianteiras fiquem com o mesmo comprimento.
Aperte as porcas de retenção dianteiras.
| Intervalo de assistência | Procedimento de manutenção |
|---|---|
| Após as pimeiras 8 horas |
|
| A cada 100 horas |
|
Verifique o estado e a tensão da correia do alternador/ventoinha de arrefecimento. Substitua a correia, se for necessário.
Posicione o pulverizador numa superfície plana, engate o travão de estacionamento, desligue a bomba de pulverização, desligue o motor e retire a chave.
Verifique a tensão da correia do alternador calcando a correia até ficar entre a cambota e as polias do alternador utilizando uma força de 10 kg.
Note: A correia deve atingir um desvio de 10 a 12 mm. Se o desvio da correia for demasiado, vá para o passo 3. Se a correia tiver a tensão correta, pode ignorar o restante procedimento e continuar a utilizar o pulverizador.
Desaperte o parafuso no ponto de articulação do alternador; desaperte o parafuso que prende o alternador à abraçadeira ranhurada (Figura 93).

Insira um pé de cabra entre o alternador e o motor e use-o cuidadosamente como alavanca para fora.
Quando tiver alcançado a tensão pretendida, aperte o alternador e fixe as abraçadeiras para manter o ajuste.
Aperte a porca de bloqueio para manter o ajuste.
Em caso de penetração do fluido na pele, consulte imediatamente um médico. O fluido injetado tem de ser cirurgicamente retirado por um médico no prazo de algumas horas.
Liberte a totalidade da pressão existente no sistema hidráulico antes de levar a cabo qualquer intervenção no sistema.
Certifique-se de que todas as tubagens e mangueiras do óleo hidráulico se encontram bem apertadas e em bom estado de conservação antes de colocar o sistema sob pressão.
Mantenha o seu corpo e mãos longe de fugas ou bicos que projetem fluido hidráulico sob pressão.
Utilize um pedaço de cartão ou papel para encontrar fugas do fluido hidráulico.
O reservatório é enchido na fábrica com fluido hidráulico de grande qualidade. Verifique o nível de fluido hidráulico antes de ligar o motor pela primeira vez e diariamente a partir daí; consulte a Verificação do fluido hidráulico.
Fluido hidráulico recomendado: Fluido hidráulico Toro PX Extended Life (disponível em recipientes de 19 litros ou tambores de 208 litros).
Note: Uma máquina que utilize o fluido de substituição recomendado requer substituições de fluido e filtro menos frequentes.
Fluidos hidráulicos alternativos: Se o Fluido hidráulico Toro PX Extended Life não estiver disponível, pode utilizar outros fluidos hidráulicos convencionais à base de petróleo, desde que as respetivas especificações cumpram os intervalos indicados de todas as propriedades seguintes dos materiais e que cumpram as normas industriais. Não utilize fluido sintético. Consulte o seu distribuidor de lubrificantes para identificar um produto satisfatório.
Note: A Toro não assume a responsabilidade por danos causados devido ao uso de substitutos inadequados, pelo que recomendamos a utilização exclusiva de produtos de fabricantes com boa reputação no mercado.
| Propriedades do material: | ||
| Viscosidade, ASTM D445 | cSt a 40°C 44 a 48 | |
| Índice de viscosidade ASTM D2270 | 140 ou superior | |
| Ponto de escoamento, ASTM D97 | -37°C a -45°C | |
| Especificações industriais: | Eaton Vickers 694 (I-286-S, M-2950-S/35VQ25 ou M-2952-S) | |
Note: A maioria dos fluidos são incolores, o que dificulta a deteção de fugas. Encontra-se à sua disposição um aditivo vermelho para o fluido hidráulico, em recipientes de 20 ml. Um recipiente é suficiente para 15 a 22 litros de fluido hidráulico. Poderá encomendar a peça N.º 44-2500 ao seu distribuidor Toro.
Important: Fluido hidráulico biodegradável sintético Toro Premium é o único fluido biodegradável sintético aprovado pela Toro. Este fluido é compatível com os elastómeros utilizados nos sistemas hidráulicos da Toro e é adequado a uma vasta gama de condições térmicas. Este fluido é compatível com óleos minerais convencionais, mas para um desempenho e biodegradabilidade máximos deve remover totalmente o fluido convencional do sistema hidráulico. O óleo está disponível em recipientes de 19 litros e bidões de 208 litros no seu distribuidor autorizado Toro.
| Intervalo de assistência | Procedimento de manutenção |
|---|---|
| Em todas as utilizações ou diariamente |
|
Important: Se o fluido ficar contaminado, entre em contacto com um distribuidor autorizado Toro para efetuar uma lavagem do sistema.O fluido contaminado tem uma aparência leitosa ou negra por oposição ao fluido limpo.
Posicione o pulverizador numa superfície plana, engate o travão de estacionamento, desligue a bomba de pulverização, desligue o motor e retire a chave.
Limpe a zona em redor da tampa da vareta do depósito de fluido hidráulico e retire-a (Figura 94).

Important: Tenha muito cuidado para não deixar entrar detritos ou outros contaminantes na abertura quando verificar o óleo.
Limpe a vareta com um pano e volte a introduzi-la completamente no depósito.
Retire a vareta do tubo de enchimento e verifique o nível de fluido (Figura 95).
Note: O nível de fluido deverá encontrar-se na marca inferior da vareta quando o fluido está frio.

Se o nível de fluido for baixo, encha o depósito com o fluido hidráulico especificado para aumentar o nível até à marca inferior; consulte Especificações do fluido hidráulico.
Coloque a tampa da vareta no depósito e prenda.
| Intervalo de assistência | Procedimento de manutenção |
|---|---|
| A cada 800 horas |
|
| A cada 1000 horas |
|
O fluido hidráulico quente pode provocar queimaduras graves.
Deixe o fluido hidráulico arrefecer antes de realizar a manutenção do sistema hidráulico.
Important: Pode anular a garantia de alguns componentes se utilizar qualquer outro filtro.
Utilize o filtro de substituição Toro (Consulte o Catálogo de peças para obter número de peça correto).
Posicione o pulverizador numa superfície plana, engate o travão de estacionamento, desligue a bomba de pulverização, desligue o motor e retire a chave.
Localize os dois filtros hidráulicos na máquina (Figura 96 e Figura 97).
Note: Um filtro está debaixo do depósito de fluido hidráulico e o outro filtro encontra-se na parte de trás da máquina na estrutura.
Filtro frontal – por baixo do depósito hidráulico.

Filtro traseiro – localizado na estrutura da máquina.

Limpe a zona em torno da montagem do filtro.
Coloque um recipiente de escoamento debaixo do filtro.
Retire o filtro.
O filtro usado deve ser tratado num centro de reciclagem certificado.
Lubrifique a nova junta do filtro com fluido hidráulico; consulte Especificações do fluido hidráulico.
Limpe a área de montagem do filtro com um pano.
Enrosque o filtro até que a junta toque na placa de montagem; depois, aperte o filtro mais ½ volta.
Ligue o motor, coloque o acelerador no ralenti rápido e deixe o motor trabalhar 3 a 5 minutos para purgar o ar do sistema hidráulico.
Desligue o motor, verifique o nível de fluido hidráulico e eventuais fugas; consulte Verificação do fluido hidráulico.
54 litros; consulte a Especificações do fluido hidráulico
| Intervalo de assistência | Procedimento de manutenção |
|---|---|
| A cada 800 horas |
|
| A cada 2000 horas |
|
O fluido hidráulico quente pode provocar queimaduras graves.
Deixe o fluido hidráulico arrefecer antes de realizar a manutenção do sistema hidráulico.
Important: Pode anular a garantia de alguns componentes se utilizar qualquer outro fluido.
Substitua os filtros do fluido hidráulico; consulte Substituição dos filtros hidráulicos.
Limpe a área em redor da união do tubo hidráulico na parte inferior do depósito de óleo hidráulico (Figura 98).

Coloque um recipiente de escoamento grande debaixo das uniões do depósito hidráulico.
Retire a união da tubagem do depósito, permitindo o escoamento do fluido para o recipiente (Figura 98).
O fluido usado deve ser tratado num centro de reciclagem certificado.
Ligue o tubo e a união ao depósito e aperte-o firmemente.
Encha o reservatório hidráulico com cerca de 53 litros do fluido hidráulico especificado ou equivalente; consulte Especificações do fluido hidráulico.
Ligue o motor, coloque o acelerador no ralenti rápido e deixe o motor trabalhar 3 a 5 minutos para purgar o ar do sistema hidráulico.
Desligue o motor, verifique o nível de fluido hidráulico e eventuais fugas; consulte Verificação do fluido hidráulico.
| Intervalo de assistência | Procedimento de manutenção |
|---|---|
| A cada 200 horas |
|
| A cada 400 horas |
|
Examine cada mangueira no sistema de pulverização para ver se apresenta rachas, fugas ou outros danos. Ao mesmo tempo, inspecione as ligações e acessórios para ver se apresentam danos semelhantes. Substitua quaisquer mangueiras e acessórios se estiverem danificados.
| Intervalo de assistência | Procedimento de manutenção |
|---|---|
| A cada 400 horas |
|
Note: Determine a dimensão da rede adequada do filtro de sucção que necessita para a tarefa; consulte Seleção de um filtro de sucção.
Estacione a máquina numa superfície plana, engate o travão de estacionamento, desligue a bomba, desligue o motor e retire a chave.
Na parte superior do depósito do pulverizador, retire a fixação que prende a união da mangueira unida à tubagem grande da estrutura do filtro (Figura 99).

Retire a tubagem e a união da tubagem da estrutura do filtro (Figura 99).
Retire o filtro de sucção antigo da estrutura do filtro no depósito (Figura 100).
Note: Elimine o filtro antigo.

Instale o novo filtro de sucção na estrutura do filtro.
Note: Certifique-se de que o filtro está totalmente colocado.
Alinhe a tubagem e a união da tubagem com a estrutura do filtro na parte superior do depósito e fixe a união e a estrutura com a fixação que retirou no passo 2.
| Intervalo de assistência | Procedimento de manutenção |
|---|---|
| A cada 400 horas |
|
Mova a máquina para uma superfície plana, desligue a bomba de pulverização, desligue o motor e retire a chave.
Alinhe um recipiente de escoamento debaixo do filtro de pressão (Figura 101).

Rode o tampão de drenagem no sentido contrário ao dos ponteiros do relógio e retire-o do recipiente do filtro de pressão (Figura 101).
Note: Deixe o recipiente escoar completamente.
Rode o recipiente no sentido contrário ao dos ponteiros do relógio e retire a cabeça do filtro (Figura 101).
Retire o elemento do filtro de pressão antigo (Figura 101).
Note: Elimine o filtro antigo.
Verifique o anel de retenção do tampão de drenagem (localizado no interior do recipiente) e o anel de retenção do recipiente (localizado no interior da cabeça do filtro) e veja se há danos e desgaste (Figura 101).
Note: Substitua quaisquer anéis de retenção danificados ou gastos no tampão, no recipiente ou ambos.
Instale o novo elemento do filtro de pressão na cabeça do filtro (Figura 101).
Note: Certifique-se de que o elemento do filtro está firmemente colocado na cabeça do filtro.
Instale o recipiente na cabeça do filtro apertando à mão (Figura 101).
Instale a tampa no depósito e aperte manualmente (Figura 101).
Note: Determine a dimensão da rede adequada do filtro do bico que necessita para a tarefa; consulte Seleção de um filtro de ponta do bico (opcional).
Estacione a máquina numa superfície plana, engate o travão de estacionamento, desligue a bomba de pulverização, desligue o motor e retire a chave.
Retire o bico da cabeça de pulverização (Figura 102).

Retire o filtro do bico antigo (Figura 102).
Note: Elimine o filtro antigo.
Instale o novo filtro do bico (Figura 102).
Note: Certifique-se de que o filtro está totalmente colocado.
Instale o bico na cabeça de pulverização (Figura 102).
Pode ser usado o procedimento seguinte para ajustar os acionadores na rampa central para manter as rampas esquerda e direita niveladas.
Estenda as rampas para a posição de pulverização.
Retire o contrapino do pino de articulação (Figura 103).

Eleve rampa e retire o pino (Figura 103) e lentamente baixe a rampa para o solo.
Inspecione o pino para ver se está danificado e substitua-o, caso necessário.
Utilize uma chave nos lados planos do acionador para imobilizar e, em seguida, desaperte a porca para permitir que a barra do olhal seja ajustada (Figura 104).

Rode a barra do olhal na barra do olhal para diminuir ou aumentar o acionador estendido para a posição desejada (Figura 104).
Note: Tem de rodar a barra do olhal em meias voltas ou voltas inteiras para conseguir montar a barra na rampa.
Assim que alcançar a posição desejada, aperte a porca para prender o acionador e barra do olhal.
Levante a rampa para alinhar a articulação com a barra do acionador.
Enquanto segura na rampa, insira o pino através tanto da articulação da rampa como da barra do acionador (Figura 103).
Com o perno no lugar, solte a rampa e prenda o perno com o gancho anteriormente retirado.
Repita o procedimento para cada rolamento da barra do acionador, se necessário.
| Intervalo de assistência | Procedimento de manutenção |
|---|---|
| A cada 400 horas |
|
Estacione a máquina numa superfície plana, engate o travão de estacionamento, desligue a bomba, desligue o motor e retire a chave.
Estenda as secções das rampas exteriores até à posição de pulverização e apoie as rampas com suportes ou cintas e um dispositivo de elevação.
Retire o parafuso e porca que prende o pino de articulação e retire o pino (Figura 105).

Retire a rampa e o suporte da articulação do canal final da estrutura central para aceder aos casquilhos de nylon.
Retire e inspecione os casquilhos de nylon dos lados dianteiro e traseiro do suporte da articulação (Figura 105).
Note: Substitua todos os casquilhos gastos ou danificados.
Lubrifique os casquilhos de nylon com uma leve camada de óleo e instale-os no suporte da articulação (Figura 105).
Alinhe dos furos no suporte da articulação com os furos do canal final (Figura 105).
Instale o pino da articulação e fixe-o com o parafuso flangeado e a porca de bloqueio que retirou no passo 3.
Repita os passos 2 a 8 na outra secção da rampa exterior.
| Intervalo de assistência | Procedimento de manutenção |
|---|---|
| A cada 400 horas |
|
Note: Os seguintes componentes da máquina são considerados peças sujeitas a desgaste durante a utilização exceto se apresentarem um defeito e não são abrangidas pela garantia associada a esta máquina.
Peça a um distribuidor autorizado Toro que verifique os seguintes componentes internos da bomba para ver se estão danificados:
Diafragmas da bomba
Conjuntos de válvulas de verificação da bomba
Substitua quaisquer componentes, se for necessário.
Lave a máquina quando necessário utilizando apenas água ou com um detergente suave. Pode ser utilizado um pano ao lavar a máquina.
Important: Não utilize água salobra ou recuperada para limpar a máquina.
Note: Não utilize equipamento de lavagem elétrico para lavar a máquina. Usar equipamento de lavagem elétrico pode danificar o sistema elétrico, eliminar alguns autocolantes importantes ou eliminar a massa lubrificante existente em alguns pontos de fricção. Evite a utilização excessiva de água próximo da zona do painel de controlo, motor e bateria.
Important: Não lave a máquina quando o motor se encontrar em funcionamento. Lavar a máquina com o motor ligado pode causar danos internos ao motor.
| Intervalo de assistência | Procedimento de manutenção |
|---|---|
| A cada 200 horas |
|
Important: Não pulverize água para o compartimento de um motor quente, uma vez que pode danificar o motor.
Posicione o pulverizador numa superfície plana, engate o travão de estacionamento, desligue a bomba de pulverização, desligue o motor e retire a chave.
Incline os bancos do condutor e do passageiro para a frente e alinhe a haste no batente na ranhura de orientação da haste.
Deixe o sistema de arrefecimento arrefecer.
Retire a cobertura de acesso à base do banco; consulte Remoção do painel de acesso da base do banco.
Utilizando uma escova macia e ar comprimido de baixa pressão, limpe as aletas do radiador.
Note: Limpe as aletas do radiador com maior frequência, se for necessário. Verifique se as tubagens de arrefecimento estão gastas, danificadas ou se existem fugas e substitua-as se esse for o caso.
Baixe os bancos do condutor e do passageiro.
Instale a cobertura de acesso à base do banco; consulte Instalação do painel de acesso da base do banco.
| Intervalo de assistência | Procedimento de manutenção |
|---|---|
| A cada 200 horas |
|
Lave cuidadosamente e enxague todo o sistema de pulverização.
Retire o fluxímetro do pulverizador e enxagúe-o com água limpa.
Retire o anel de retenção do lado superior (Figura 106).

Limpe a turbina e o cubo da turbina para retirar as ligações metálicas e quaisquer pós solúveis.
Inspecione as pás da turbina para verificar se existe desgaste.
Note: Segure a turbina na mão e rode-a. Deve rodar livremente com pouca pressão. Caso contrário, substitua-a.
Monte o fluxímetro.
Utilize uma pressão baixa (0,34 bar) de ar para assegurar que a turbina roda livremente.
Note: Se a turbina não rodar livremente, desaperte o parafuso hexagonal na parte inferior do cubo da turbina em 1/16 de volta até que ela rode livremente.
Para limpar a válvula de agitação, consulte as seguintes secções:
Para limpar as 3 válvulas de secção, consulte as seguintes secções:
Posicione o pulverizador numa superfície plana, engate o travão de estacionamento, desligue a bomba de pulverização, desligue o motor e retire a chave.
Retire o retentor que fixa o acionador à válvula do coletor para válvula de secção ou válvula de agitação (Figura 107).
Note: Junte as 2 pernas da fixação enquanto o empurra para baixo.
Note: Guarde o acionador e fixação para instalação em Instalação do acionador da válvula.

Retire o acionador da válvula do coletor.
Retire o pino de ligação rápida que prende o acoplador de ligação rápida para o tubo da agitação ao coletor para a válvula de agitação (Figura 108).

Retire as 3 braçadeiras da flange que prendem o coletor da válvula de agitação às flanges da cabeça do filtro de pressão e ao adaptador do acoplamento (Figura 108).
Retire os 2 parafusos de cabeça flangeada (¼ pol. x ¾ pol.) e as 2 porcas de bloqueio flangeadas (¼ pol.) que prendem o coletor da válvula de agitação ao suporte da válvula (Figura 109).

Retire o coletor da válvula de agitação e as juntas da máquina (Figura 109).
Note: Se for necessário, desaperte as ferragens de montagem da cabeça do filtro de pressão conforme necessário para ter espaço.
Note: Guarde as braçadeiras de flange, as juntas e os pinos de ligação rápida para instalação em Instalação da válvula do coletor de agitação.
Retire o pino de ligação rápida que prende o acoplador de ligação rápida para a válvula de distribuição de secção à válvula do coletor da secção (Figura 110).

Retire o pino de ligação rápida que prende o acoplador de ligação rápida para o tubo de fornecimento de secção ao coletor para a união de ligação rápida da válvula do coletor da secção (Figura 110).
Retire as 3 braçadeiras da flange que prendem a válvula do coletor da secção às flanges dos componentes adjacentes (Figura 111).

Para os coletores da válvula da secção esquerdo ou direito, retire os dois parafusos de cabeça flangeada (¼ pol. x ¾ pol.) e as duas porcas de bloqueio flangeadas (¼ pol.) que prendem o coletor da válvula de secção ao suporte da válvula (Figura 112).

Mova o coletor da válvula de secção e as juntas para baixo para haver espaço para a válvula de distribuição da secção e depois afastando da máquina (Figura 112).
Note: Se for necessário, desaperte as ferragens dos coletores da válvula de secção esquerdo ou direito conforme necessário para ter espaço.
Note: Guarde as braçadeiras da flange, as juntas e os pinos de ligação rápida para instalação em Instalação da válvula do coletor de secção.
Posicione a haste da válvula para que fique na posição fechada (Figura 113 B).

Retire o conjunto das duas uniões de cada extremidade do corpo do coletor (Figura 114 e Figura 115).


Rode a haste da válvula para que a esfera fique na posição aberta (Figura 113 A).
Note: Quando a haste da válvula estiver paralela com o fluxo da válvula, a bola desliza para fora.
Retire a fixação da haste das ranhuras na porta da haste no coletor (Figura 114 e Figura 115).
Retire a fixação da haste e o encaixe da haste da válvula do coletor (Figura 114 e Figura 115).
Do corpo do coletor, retire o conjunto da haste da válvula (Figura 114 e Figura 115).
Limpe o interior do coletor e o exterior da válvula de esfera, do conjunto da haste da válvula, da captura da haste e das uniões da extremidade.
Material fornecido pelo utilizador: lubrificante de silicone transparente.
Important: Utilize apenas lubrificante de silicone quando montar a válvula.
Verifique o estado dos anéis de retenção da união de saída (apenas coletor da válvula de secção), dos anéis de retenção do tampão, dos anéis de retenção de encaixe posterior, do encaixe da esfera para ver se há danos ou desgaste (Figura 114 e Figura 115).
Note: Substitua quaisquer anéis ou encaixes danificados ou usados.
Aplique lubrificante de silicone na haste da válvula e insira-a no encaixe da haste da válvula (Figura 114 e Figura 115).
Instale a haste da válvula e o encaixe no coletor e fixe a haste e o encaixe com a fixação da haste (Figura 114 e Figura 115).
Certifique-se de que o anel de retenção de encaixe posterior e o encaixe da esfera estão alinhados e encaixados na união do tampão (Figura 114 e Figura 115)
Instale o conjunto da união do tampão no corpo do coletor até a flange da união do tampão tocar no corpo do coletor (Figura 114 e Figura 115); depois rode a união do tampão mais 1/8 a 1/4 de volta.
Note: Tenha cuidado para não danificar a extremidade da união.
Introduza a bola no corpo da válvula (Figura 116).
Note: A haste da válvula deve encaixar dentro da ranhura de acionamento da bola. Se a haste da válvula não encaixar, ajuste a posição da esfera (Figura 116).

Rode o conjunto da haste da válvula de forma a que fique fechada (Figura 113B)
Repita os passos 4 e 5 para o outro conjunto da união do tampão.
Alinhe as 2 juntas que removeu no passo Remoção da válvula do coletor de secção com as flanges do coletor da válvula de secção (Figura 117).
Note: Se for necessário, desaperte as ferragens dos coletores da válvula de secção esquerdo ou direito conforme necessário para ter espaço.

Alinhe a flange do coletor da válvula de secção entre as flanges da outra válvula de secção e/ou adaptador de acoplamento (Figura 117).
Monte o encaixe de ligação rápida do coletor da válvula de secção na tomada de desligação rápida da válvula de distribuição da secção com um pino de ligação rápida (Figura 117 e Figura 118).

Monte sem apertar as braçadeiras da flange que retirou em Remoção da válvula do coletor de secção nas flanges do coletor da válvula de secção da outra válvula de secção e/ou adaptador de acoplamento (Figura 119).

Para os coletores de válvula da secção esquerdo ou direito, monte o coletor da válvula de secção no suporte da válvula (Figura 117) com os 2 parafusos de cabeça flangeada (¼ pol. x ¾ pol.) e 2 porcas de bloqueio flangeadas (¼ pol.) que retirou no passo Remoção da válvula do coletor de secção.
Aperte os parafusos de cabeça flangeada e as porcas de bloqueio flangeadas com 1978 a 2542 N∙cm.
Aperte as 2 braçadeiras da flange à mão (Figura 119).
Monte o acoplador de ligação rápida do tubo de secção na união de ligação rápida do coletor da válvula de secção com o pino de ligação rápida (Figura 118).
Se desapertou as ferragens de montagem dos coletores da válvula de secção esquerdo ou direito, aperte a porca e o parafuso com 1978 a 2542 N∙cm.
Alinhe a flange do coletor da válvula de agitação e 3 juntas com as flanges da válvula de distribuição da agitação, a cabeça do filtro de pressão e o adaptador do acoplamento (Figura 120 e Figura 121).
Note: Se for necessário, desaperte as ferragens de montagem da cabeça do filtro de pressão conforme necessário para ter espaço.


Prenda sem apertar o coletor da válvula de agitação à válvula de distribuição da agitação, à cabeça do filtro de pressão e ao adaptador do acoplamento (Figura 121) com as 3 braçadeiras da flange que retirou em Remoção da válvula do coletor de agitação.
Monte o coletor da válvula de agitação no suporte da válvula com os dois parafusos de cabeça flangeada (¼ pol. x ¾ pol.) e duas porcas de bloqueio flangeadas (¼ pol.) que retirou no passo Remoção da válvula do coletor de agitação.
Aperte os parafusos de cabeça flangeada e as porcas de bloqueio flangeadas com 1978 a 2542 N∙cm.
Aperte as 3 braçadeiras da flange à mão (Figura 121).
Monte o acoplador de ligação rápida do tubo de agitação na união de ligação rápida do coletor da válvula de agitação com o pino de ligação rápida (Figura 121).
Se desapertou as ferragens de montagem da cabeça do filtro de pressão, aperte a porca e o parafuso com 1978 a 2542 N∙cm.
Alinhe o acionador com a válvula do coletor (Figura 107).
Prenda o acionador e válvula com fixação que removeu no passo 2 de Remoção do acionador da válvula.
Desligue o motor, retire a chave (se equipada) e aguarde até que todo o movimento pare antes de sair da posição do operador. Deixe a máquina arrefecer antes de ajustar, fazer manutenção, limpar ou armazenar.
Não guarde a máquina ou o recipiente de combustível onde uma fonte de fogo, faísca ou luz piloto, como junto de uma caldeira ou outros eletrodomésticos.
Realize os seguintes procedimentos:
Important: Não utilize água salobra ou recuperada para limpar a máquina.
Estacione a máquina numa superfície nivelada, engate o travão de estacionamento, desligue a bomba de pulverização e o motor, retire a chave e aguarde que todo o movimento pare antes de sair da máquina.
Limpe a sujidade de toda a máquina, incluindo a parte exterior das aletas da cabeça do cilindro e o revestimento da turbina.
Important: Pode lavar a máquina com água e um detergente suave. Não utilize água sob pressão para lavar a máquina. A lavagem de pressão pode danificar o sistema elétrico ou retirar qualquer lubrificação aplicada nos pontos de fricção. Evite a utilização excessiva de água, especialmente próximo da zona do painel de controlo, luzes, motor e bateria.
Mova a máquina para a superfície de drenagem, engate o travão de estacionamento, desligue a bomba de pulverização e o motor, retire a chave e aguarde que todo o movimento pare antes de sair da máquina.
Drene o depósito de água limpa e deixe a torneira do depósito aberta.
Drene o depósito do pulverizador de forma tão completa quanto possível.
Prepare uma solução inibidora de ferrugem, anticongelante RV, sem ser à base de álcool; consulte a Preparação do condicionador.
Retire o tubo da parte de trás do indicador de pressão e coloque a extremidade do tubo num recipiente (Figura 122).

Ligue o motor e baixe as secções exteriores das rampas.
Ponha a bomba de pulverização a trabalhar durante alguns minutos para fazer circular o anticongelante RV pelo sistema de pulverização e em quaisquer acessórios de pulverização instalados.
Rode os interruptores da secção esquerda, central e direita para a posição LIGAR.
Rode o interruptor da secção principal para a posição LIGAR e procure o seguinte:
Certifique-se de que o anticongelante RV flui da extremidade desligada do tubo do indicador de pressão.
Pulverize pelo bico até que seja visível anticongelante RV.
Coloque o interruptor da secção principal na posição DESLIGAR.
Rode o interruptor da bomba para a posição DESLIGAR.
Utilize os interruptores de elevação para levantar as secções da rampa exteriores.
Eleve as secções da rampa até se terem deslocado completamente para a cavidade de transporte das rampas, formando a posição de transporte em “X”, e até que os cilindros de elevação estejam completamente recolhidos.
Note: Certifique-se de que os cilindros de elevação estão completamente recolhidos para evitar danificar a barra do acionador.
Desligue o motor.
Drene o depósito do pulverizador de forma tão completa quanto possível.
Realize os seguintes procedimentos que se encontram em Armazenamento de curta duração:
Adicionalmente, realize os seguintes procedimentos:
Verifique a pressão de ar nos pneus; consulte Verificação da pressão de ar dos pneus.
Verifique os travões; consulte Ajuste dos travões.
Verifique e aperte todos os pernos, porcas e parafusos.
Note: Repare ou substitua quaisquer peças gastas ou danificadas.
Pinte todas as superfícies de metal riscadas ou descascadas (a tinta está disponível no seu representante Toro autorizado).
Limpe a válvula de agitação e as 3 válvulas de segmento; consulte Limpeza das válvulas de agitação e secção.
Lubrifique o pulverizador; consulte Lubrificação da bomba de pulverização.
Verifique o estado de todas as tubagens de pulverização.
Note: Substitua quaisquer tubagens que estejam gastas ou danificadas.
Aperte todas as braçadeiras e uniões.
Efetue a manutenção do filtro de ar; consulte Verificação do filtro de ar.
Mude o filtro do óleo do motor e o óleo; consulte Substituição do filtro de óleo do motor e Mudança do óleo do motor.
Esvazie o depósito de combustível; consulte Esvaziamento do depósito de combustível.
Prepare combustível com estabilizador de combustível de acordo com as instruções do fabricante e adicione-o ao depósito de combustível.
Ligue o motor e faça-o funcionar a uma velocidade de ralenti durante 5 minutos.
Desligue o motor.
Aperte todas as uniões do sistema de combustível.
Mova a máquina para um armazém limpo e seco.
Retirar a bateria do chassis; consulte Remoção da bateria.
Note: Não ligue os cabos da bateria aos polos da bateria durante o armazenamento.
Verifique o nível do eletrólito.
Carregue totalmente a bateria, consulte Carregamento da bateria.
Important: A bateria deve ser totalmente carregada para evitar que congele e seja danificada por temperaturas inferiores a 0 °C. Uma bateria totalmente carregada mantém a carga durante cerca de 50 dias com uma temperatura inferior a 4 °C. Se as temperaturas forem superiores a 4°C, verifique o nível da água na bateria e carregue-a cada 30 dias.
Retire a chave do interruptor de ignição e coloque-a num local seguro, fora do alcance das crianças.
Tape a máquina para a proteger e mantê-la limpa.
Insira o tubo do indicador de pressão no acoplador do tubo na parte posterior do indicador de pressão (Figura 123).

Feche a torneira do depósito de água limpa.
Adicione combustível ao depósito de combustível.
Carregue totalmente a bateria, consulte Carregamento da bateria.
Instale a bateria no chassis; consulte a Montagem da bateria.
| Problem | Possible Cause | Corrective Action |
|---|---|---|
| O motor de arranque não faz rodar o motor. |
|
|
| O motor gira, mas não liga. |
|
|
| O motor liga mas não fica a trabalhar. |
|
|
| O motor roda, mas bate ou falha. |
|
|
| O motor não funciona em ponto morto. |
|
|
| Sobreaquecimento do motor. |
|
|
| O motor perde potência. |
|
|
| Há uma vibração ou ruído anormal. |
|
|
| A máquina não funciona ou está muito lenta em ambos os sentidos porque o motor vai abaixo ou perde velocidade. |
|
|
| A máquina não funciona em qualquer sentido. |
|
|
| Problem | Possible Cause | Corrective Action |
|---|---|---|
| Uma secção de pulverização não pulveriza. |
|
|
| Uma secção de pulverização não desliga. |
|
|
| Uma válvula da secção de pulverização tem uma fuga. |
|
|
| Ocorre uma queda de pressão sempre que se liga uma secção de pulverização. |
|
|
| O(s) bico(s) do pulverizador pinga(m) quando o(s) interruptor(es) de secção é(são) desligado(s). |
|
|
| Quedas de pressão durante a pulverização. |
|
|
