| Cadenza di manutenzione | Procedura di manutenzione |
|---|---|
| Prima di ogni utilizzo o quotidianamente |
|
Questa macchina è un veicolo dedicato all'irrorazione dei tappeti erbosi ed è destinata all'uso da parte di operatori del verde professionisti, in applicazioni commerciali. Il suo scopo è quello di irrorare l'erba di parchi, campi da golf, campi sportivi e aree verdi commerciali ben tenuti. Questa macchina è progettata principalmente per l'uso come fuoristrada e non è destinata alla guida estensiva su strade pubbliche. L'utilizzo di questo prodotto per scopi diversi da quelli previsti potrebbe rivelarsi pericoloso per voi ed eventuali astanti.
Leggete attentamente queste informazioni al fine di utilizzare e mantenere correttamente il prodotto ed evitare infortuni e danni. Voi siete responsabili del corretto utilizzo del prodotto, all'insegna della sicurezza.
Visitate il sito www.Toro.com per maggiori informazioni, compresi suggerimenti sulla sicurezza, materiali di formazione, informazioni sugli accessori, assistenza nella localizzazione di un rivenditore o per registrare il vostro prodotto.
Per assistenza, ricambi originali Toro o ulteriori informazioni, rivolgetevi a un Distributore Toro autorizzato o ad un Centro Assistenza Toro, ed abbiate sempre a portata di mano il numero del modello ed il numero di serie del prodotto. Il numero del modello ed il numero di serie si trovano nella posizione riportata nella Figura 1. Scrivete i numeri nello spazio previsto.
Important: Con il vostro dispositivo mobile potete scansionare il codice QR sull’adesivo che riporta il numero di serie (se presente) per accedere alla garanzia, ai ricambi e ad altre informazioni sui prodotti.

Il sistema di avvertimento adottato dal presente manuale identifica i pericoli potenziali e riporta messaggi di sicurezza, identificati dal simbolo di avvertimento (Figura 2), che segnala un pericolo in grado di provocare infortuni gravi o la morte se non si osservano le precauzioni raccomandate.

Per evidenziare le informazioni vengono utilizzate due parole. Importante indica informazioni di carattere meccanico di particolare importanza e Nota evidenzia informazioni generali di particolare rilevanza.
Questo prodotto è conforme a tutte le direttive europee pertinenti; vedere i dettagli nella Dichiarazione di Conformità (DICO) specifica del prodotto, fornita a parte.
Costituisce una trasgressione al Codice delle Risorse Pubbliche della California, Sezione 4442 o 4443, utilizzare o azionare questo motore su terreno forestale, sottobosco o prateria a meno che il motore non sia dotato di un parascintille, come definito nella Sezione 4442, mantenuto in effettivo stato di marcia, o a meno che il motore non sia realizzato, attrezzato o mantenuto per la prevenzione di incendi.
Il Manuale d'uso del motore allegato fornisce informazioni sull'Environmental Protection Agency (EPA) degli Stati Uniti e sul regolamento del Controllo delle Emissioni dello stato della California riguardo a sistemi di emissione, manutenzione e garanzia. I pezzi di ricambio possono essere ordinati tramite il produttore del motore.
CALIFORNIA
Avvertenza norma "Proposition 65"
I gas di scarico dei motori Diesel e alcuni dei loro elementi costitutivi sono noti allo Stato della California come cancerogeni e responsabili di difetti congeniti ed altri problemi riproduttivi.
I poli delle batterie, i morsetti e gli accessori attinenti contengono piombo e relativi composti, sostanze chimiche che nello Stato della California sono considerate cancerogene e causa di anomalie della riproduzione. Lavate le mani dopo aver maneggiato la batteria.
L'utilizzo del presente prodotto potrebbe esporre a sostanze chimiche che nello Stato della California sono considerate cancerogene e causa di anomalie congenite o di altre problematiche della riproduzione.
L'errato utilizzo o manutenzione da parte dell'operatore o del proprietario possono provocare incidenti. Per ridurre il rischio di incidenti, rispettate le seguenti norme di sicurezza e fate sempre attenzione al simbolo di allarme (Figura 2), che indica: Attenzione, Avvertenza o Pericolo – “norme di sicurezza”. Il mancato rispetto delle istruzioni può provocare infortuni o la morte.
Questa macchina è stata progettata in conformità con SAE J2258.
Questo prodotto è in grado di procurare lesioni agli individui. Rispettate sempre tutte le norme di sicurezza per evitare gravi infortuni alla persona.
Leggete e comprendete il contenuto di questo Manuale dell'operatore prima di avviare il motore.
Prestate la massima attenzione mentre utilizzate la macchina. Non intraprendete alcuna attività che vi possa distrarre; in caso contrario potreste causare infortuni o danni alla proprietà.
Utilizzate dispositivi di protezione individuale (DPI) per proteggervi dal contatto con sostanze chimiche. Le sostanze chimiche utilizzate nel sistema di irrorazione possono essere pericolose e tossiche.
Non mettete le mani o i piedi vicino a componenti in movimento della macchina.
Non utilizzate la macchina senza che tutti gli schermi e gli altri dispositivi di protezione siano montati e correttamente funzionanti.
Mantenetevi a distanza da ogni area di scarico degli ugelli dell'irroratrice e dalla deriva degli spruzzi. Tenete gli astanti e i bambini e lontano dall’area di lavoro.
Non permettete mai che bambini e ragazzi utilizzino la macchina.
Spegnete il motore, rimuovete la chiave (se in dotazione) e attendete l'arresto completo prima di abbandonare la postazione dell'operatore. Lasciate raffreddare la macchina prima di eseguire interventi di riparazione, manutenzione, pulizia o di rimessarla.
L'errato utilizzo o la manutenzione di questa macchina
può causare infortuni. Per ridurre il rischio di incidenti,
rispettate le seguenti norme di sicurezza e fate sempre attenzione
al simbolo di allarme (
), che indica: Attenzione, Avvertenza o Pericolo
– “norme di sicurezza”. Il mancato rispetto di queste
istruzioni può provocare infortuni o morte.
Non tutti gli accessori adatti a questa macchina sono descritti in questo manuale. Fate riferimento al manuale dell'operatore in dotazione con ciascun accessorio per ulteriori istruzioni sulla sicurezza.
![]() |
Gli adesivi di sicurezza e di istruzione sono chiaramente visibili e sono affissi accanto a zone particolarmente pericolose. Sostituite eventuali adesivi se danneggiati o mancanti. |





























Note: Stabilite i lati sinistro e destro della macchina dalla normale posizione di guida.
Note: Per eventuali domande o ulteriori informazioni sul sistema di comando di irrorazione, fate riferimento al Manuale dell'operatore in dotazione con il sistema.
Important: Quest'irroratrice è venduta senza ugelli di irrorazione.Per utilizzare l'irroratrice, è necessario ottenere e installare gli ugelli. Contattate il vostro distributore Toro autorizzato per ricevere informazioni sul kit di sezione e gli accessori disponibili. Una volta montati gli ugelli e prima di utilizzare l'irroratrice per la prima volta, regolate le valvole di bypass della sezione in modo che la pressione e il volume di applicazione rimangano invariati per tutte le sezioni quando spegnete una o più sezioni. Vedere Regolazione delle valvole di bypass delle sezioni.
Parti necessarie per questa operazione:
| Raccordo a disaccoppiamento rapido | 1 |
Note: Per completare questa procedura dovete usare un flessibile con raccordo filettato NPT maschio da 1 pollice e del frenafiletti in PTFE.
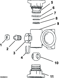
Sulla parte anteriore destra del coperchio del serbatoio, rimuovete le 2 coppiglie che fissano i fermi del disaccoppiamento rapido per il connettore di riempimento di non ritorno (Figura 3).

Ruotate i fermi per aprirli e sbloccare il raccordo a disaccoppiamento rapido dal disaccoppiamento rapido (Figura 3).
Rimuovete il raccordo a disaccoppiamento rapido dal disaccoppiamento rapido (Figura 3).
Chiudete i fermi e montate le coppiglie nelle flange del disaccoppiamento rapido (Figura 3
Applicate del frenafiletti in PTFE (Figura 4) sulla filettatura del raccordo del flessibile di riempimento (NPT da 1 pollice).

Avvitate il disaccoppiamento rapido sul tubo di riempimento e serratelo a mano (Figura 4).
Important: L'utilizzo dell'impianto di irrorazione con le molle delle cerniere delle sezioni con compressione non corretta può danneggiare il gruppo barre. Misurate le molle e usate il controdado per comprimere le molle fino a 4 cm se necessario.
L'irroratrice viene spedita con le prolunghe delle sezioni in avanti, per facilitare la spedizione della macchina. Le molle non sono completamente serrate al momento della produzione, per consentire alle sezioni di trovarsi in questa posizione per il transito. Prima di avviare la macchina, regolate le molle alla compressione corretta.
Se necessario, rimuovete i componenti di imballaggio che fissano le sezioni di prolunga destra e sinistra durante la spedizione.
Supportate le sezioni mentre sono prolungate in posizione di irrorazione.
Nella cerniera della sezione, misurate la compressione delle molle superiore e inferiore mentre le sezioni sono in posizione prolungata (Figura 5).
Comprimete entrambe le molle finché non misurano 4 cm.
Utilizzate il controdado per comprimere qualsiasi molla che misuri più di 4 cm.

Ripetete la procedura per ciascuna molla in entrambe le cerniere della sezione.
Spostate le sezioni in posizione di trasferimento “X”. Per maggiori informazioni vedere Cambio della posizione delle sezioni di irrorazione.



Il pedale della trazione (Figura 10) controlla lo spostamento della macchina, sia in avanti che indietro. Utilizzando le dita o il tallone del piede destro, premete la parte superiore del pedale per avanzare o la parte inferiore del pedale per retrocedere. Rilasciate il pedale per rallentare e arrestare la macchina.
Important: Assicuratevi di far arrestare l'irroratrice prima di passare tra le posizioni AVANTI e INDIETRO.
Note: Maggiore è la pressione del pedale in una delle due direzioni, più veloce viaggerà l'irroratrice. Per ottenere la massima velocità di avanzamento, impostate la leva dell'acceleratore in posizione MASSIMA e premete il pedale della trazione completamente avanti.
Note: Per ottenere la massima potenza con un carico pesante o in fase di risalita lungo un pendio, spostate l'acceleratore in posizione MASSIMA mentre premete leggermente il pedale della trazione per mantenere alto il regime del motore. Quando la velocità del motore diminuisce, rilasciate leggermente il pedale di comando della trazione per aumentare la velocità.

Utilizzate il pedale del freno per arrestare o rallentare la macchina (Figura 10).
Se azionate l’irroratrice con freni non regolati bene o logori, potreste perdere il controllo dell’irroratrice, causando gravi ferite o anche la morte a voi o agli astanti.
Controllate sempre i freni prima di azionare l'irroratrice e teneteli adeguatamente regolati e riparati.
Il freno di stazionamento è un pedale a sinistra del pedale del freno (Figura 10). Inserite il freno di stazionamento ogniqualvolta abbandonate il sedile per evitare un movimento accidentale dell'irroratrice. Per inserire il freno di stazionamento, premete il pedale del freno e, tenendolo premuto, spingete il pedale del freno di stazionamento. Per disinnestarlo, premete e rilasciate il pedale del freno. Se l'irroratrice è parcheggiata su una pendenza ripida, inserite il freno di stazionamento e posizionate delle zeppe sul lato a valle delle ruote.
L'interruttore di accensione (Figura 9) è utilizzato per avviare e spegnere il motore e ha 3 posizioni: SPEGNIMENTO, ACCENSIONE/PRERISCALDAMENTO e AVVIAMENTO.
L'interruttore di bloccaggio del regime del motore blocca la posizione del pedale di trazione quando viene impostato (Figura 11). Ciò garantisce che l'irroratrice viaggi a velocità costante mentre guidate la macchina su terreno pianeggiante.

La leva dell'acceleratore è situata sul pannello di controllo, tra i sedili (Figura 11), e l'acceleratore viene utilizzato per controllare la velocità del motore. Premere in avanti la leva per aumentare la velocità del motore e tirarla indietro per diminuire la velocità del motore.
Commutate l'interruttore per azionare le luci operative (Figura 9). Spingetelo in avanti per accendere i fari, e indietro per spegnerli.
L'indicatore di livello del carburante si trova sul cruscotto della macchina e visualizza il livello di carburante nel serbatoio (Figura 9).
La porta di alimentazione USB a 2 prese è situata nella parte posteriore del bracciolo (Figura 12).


La spia di avvertenza della pressione dell'olio motore si accende quando la pressione dell'olio scende sotto i 0,48 bar.
Durante il normale funzionamento della macchina, la spia di avvertenza della pressione dell’olio si accende quando l’interruttore di accensione viene portato in posizione di ACCENSIONE e si spegne quando il motore è in funzione.
La spia di avvertenza della temperatura del refrigerante si accende quando la temperatura del refrigerante supera l’intervallo compreso tra 102 e 108 °C.
La spia di avvertenza della tensione della batteria si accende quando la tensione dell'alternatore scende di 1,5 o più volt al di sotto della tensione della batteria.
Durante il normale funzionamento della macchina, la spia di avvertenza della tensione della batteria si accende quando l’interruttore di accensione viene portato in posizione di ACCENSIONE e si spegne quando il motore è in funzione.
La spia della candela a incandescenza si accende durante la fase di messa in tensione della candela. Quando la chiave di accensione viene girata in posizione di ACCENSIONE, la spia della candela a incandescenza si accende per 6 secondi durante la fase di messa in tensione della candela. Quando la spia della candela a incandescenza si spegne, il motore è pronto per l'accensione.

L'indicatore della pressione (Figura 14) è situato sulla plancia. Questo indicatore mostra la pressione del fluido nell'impianto di irrorazione in psi e kPa.
Utilizzate l'interruttore della modalità di irrorazione per passare dalla modalità volume di applicazione (circuito chiuso) alla modalità manuale (circuito aperto).
L'interruttore del volume di applicazione è situato sul cruscotto a destra del volante (Figura 14). Utilizzate l'interruttore del volume di applicazione per controllare la velocità della pompa di irrorazione durante il funzionamento dell'irroratrice in modalità manuale. Premete e tenete premuto l'interruttore in avanti per aumentare il volume di applicazione (pressione) o premete e tenete premuto l'interruttore indietro per ridurre il volume di applicazione (pressione).
L'interruttore della pompa di irrorazione è situato sul quadro centrale a destra del sedile (Figura 14). Spostate questo interruttore in avanti per azionare la pompa di irrorazione, oppure indietro per arrestarla. Quando l'interruttore è attivo la spia prevista su di esso si accende.
Important: Attivate l'interruttore della pompa di irrorazione solo quando il motore è alla MINIMA INFERIORE per evitare di danneggiare la trasmissione della pompa.
Gli interruttori di sollevamento delle sezioni delle barre sono situati sul quadro centrale a destra del sedile e utilizzati per sollevare o abbassare le sezioni delle barre di sinistra e destra (Figura 14).
L'interruttore principale delle sezioni è situato sul quadro centrale della macchina. L'interruttore vi consente di avviare o arrestare il funzionamento dell'irrorazione. Premete il pulsante per attivare o disattivare l'irroratrice (Figura 14).
Gli interruttori delle 3 sezioni sono situati sul quadro centrale davanti al bracciolo (Figura 14). Premete la parte anteriore di ciascun interruttore per attivare la sezione corrispondente e la parte posteriore per disattivarla. Quando l'interruttore è in posizione di ACCENSIONE viene visualizzata un'icona nella parte superiore dell'InfoCenter.
Note: Questi interruttori influiscono sull'irroratrice soltanto quando l'interruttore principale delle sezioni è in posizione di ACCENSIONE.
L'interruttore dell'agitatore è situato sul quadro centrale a destra del sedile (Figura 14). Spostate questo interruttore in avanti per azionare l'agitatore nel serbatoio o indietro per fermare l'agitatore. Quando azionate l'interruttore, la luce sull'interruttore si illumina. Per utilizzare la funzione di agitazione, mettete in funzione la pompa dell'impianto di irrorazione e fate girare il motore sopra al minimo inferiore.
La valvola di bypass dell'agitatore reindirizza il flusso di fluido alla pompa dell'impianto dell'irroratrice quando spegnete la funzione di agitazione (Figura 15). La valvola di bypass dell'agitatore è situata sopra la valvola dell'agitatore. Potete regolare la valvola di bypass per garantire che la pressione rimanga costante durante i cicli di accensione o spegnimento dell'agitazione; fate riferimento a Taratura della valvola di bypass dell'agitatore.

Il flussometro misura il volume di flusso del fluido per l'utilizzo da parte dell'impianto dell'InfoCenter e durante l'irrorazione in modalità volume di applicazione (Figura 15).
La valvola di accelerazione dell'agitatore è una valvola a sfera azionata manualmente che controlla il flusso agli ugelli di agitazione nel serbatoio principale. Questa valvola consente all'operatore dell'irroratrice di controllare la pressione dell'impianto dell'irroratrice negli ugelli di agitazione del serbatoio principale quando sono necessari volumi di applicazione maggiori. La valvola di accelerazione dell'agitatore è situata sopra la pompa (Figura 16).

Le valvole di bypass delle sezioni vengono utilizzate per regolare la pressione dell'impianto dell'irroratrice per le valvole delle sezioni, al fine di garantire che la pressione dell'irroratrice per la sezione di irrorazione rimanga costante, indipendentemente da quante sezioni di irrorazione sono attive (Figura 17).
Note: Utilizzate le valvole di bypass soltanto durante l'irrorazione in modalità manuale (ciclo chiuso).

Utilizzate la valvola di intercettazione del bypass delle sezioni per controllare il flusso del fluido dalle valvole di bypass delle sezioni al serbatoio, quando l’irroratrice funziona in modalità manuale (ciclo aperto); fare riferimento alla Figura 17.
Note: Chiudete la valvola di intercettazione del bypass delle sezioni quando l’irroratrice funziona in modalità con volume di applicazione (ciclo chiuso).
Sul davanti del coperchio del serbatoio è presente un connettore dotato di un raccordo filettato, un raccordo a 90° dentellato e un corto spezzone di flessibile che potete dirigere verso l'apertura del serbatoio. Questo connettore vi permette di collegare un flessibile da giardino per riempire d'acqua il serbatoio senza contaminare il flessibile con i prodotti chimici presenti nel serbatoio.
Important: Non allungate il flessibile perché venga a contatto con i liquidi contenuti nel serbatoio. La distanza dall'estremità del fusibile al livello dell'acqua superiore deve restare entro i limiti normativi locali.

Il coperchio del serbatoio è situato nella parte superiore centrale del serbatoio. Per aprire il coperchio, spegnete il motore, girate la metà anteriore del coperchio a sinistra e apritelo. Potete togliere il filtro interno ai fini della pulizia. Per chiudere ermeticamente il serbatoio, chiudete il coperchio e girate la metà anteriore verso destra.
L’InfoCenter consente di navigare nei menu, inserire dati e modificare funzioni per mezzo dei 5 pulsanti sottostanti il display a LED.

Note: Specifiche e disegno sono soggetti a variazione senza preavviso.
| Descrizione | Misurazione |
|---|---|
| Peso di base | 1307 kg |
| Peso con irroratrice standard, vuota, senza operatore | 1307 kg |
| Peso con irroratrice standard, piena, senza operatore | 2499 kg |
| Peso lordo massimo del veicolo (su terreno pianeggiante) | 3023 kg |
| Capienza del serbatoio | 1135,6 litri |
| Larghezza totale con le sezioni dell'impianto di irrorazione standard riposte in posizione X | 226 cm |
| Descrizione | Misurazione |
|---|---|
| Lunghezza totale con irroratrice standard | 391 cm |
| Lunghezza totale con impianto di irrorazione standard sulla parte superiore delle sezioni riposte in posizione X | 442 cm |
| Altezza totale con irroratrice standard | 146 cm |
| Altezza totale con impianto di irrorazione standard sulla parte superiore delle sezioni riposte in posizione X | 231 cm |
| Distanza da terra | 18,4 cm |
| Interasse | 198 cm |
È disponibile una gamma di attrezzi ed accessori approvati da Toro per l'impiego con la macchina, per ottimizzare ed ampliare le sue applicazioni. Contattate il vostro distributore Toro autorizzato.
Per garantire prestazioni ottimali e mantenere sempre la macchina in conformità con le norme di sicurezza, utilizzate esclusivamente ricambi e accessori originali Toro. L'utilizzo di parti di ricambio e accessori di altri produttori può essere pericoloso e rendere nulla la garanzia.
Note: Stabilite i lati sinistro e destro della macchina dalla normale posizione di guida.
| Cadenza di manutenzione | Procedura di manutenzione |
|---|---|
| Prima di ogni utilizzo o quotidianamente |
|
Non lasciate mai che bambini o persone non addestrate utilizzino o effettuino interventi di manutenzione sulla macchina. Le normative locali possono imporre limiti all'età dell'operatore. Il proprietario è responsabile della formazione di tutti gli operatori e i meccanici.
Acquisite familiarità con il funzionamento sicuro dell'attrezzatura, dei comandi dell'operatore e dei segnali di sicurezza.
Spegnete il motore, rimuovete la chiave (se in dotazione) e attendete l'arresto completo prima di abbandonare la postazione dell'operatore. Lasciate raffreddare la macchina prima di eseguire interventi di riparazione, manutenzione, pulizia o di rimessarla.
Imparate come arrestare la macchina e spegnere il motore rapidamente.
Verificate che comandi di presenza dell'operatore, interruttori di sicurezza e protezioni siano collegati e correttamente funzionanti. Se non funziona correttamente, non azionate la macchina.
Se la macchina non funziona correttamente o è in qualsiasi modo danneggiata, non utilizzatela. Risolvete il problema prima di utilizzare la macchina o l'accessorio.
Assicuratevi che le aree destinate a operatore e passeggero siano pulite e prive di residui chimici e accumuli di detriti.
Assicuratevi che tutti i connettori delle tubazioni del fluido siano serrati e che tutti i flessibili siano in buone condizioni prima di applicare pressione al sistema.
Prestate estrema cautela nel maneggiare il carburante. È infiammabile e i suoi vapori sono esplosivi.
Spegnete sigarette, sigari, pipa e altre fonti di accensione.
Utilizzate soltanto taniche per carburanti approvate.
Non rimuovete il tappo del carburante né rabboccate il serbatoio del carburante mentre il motore è in funzione o è caldo.
Non dedicatevi a operazioni di aggiunta o di rimozione di carburante in spazi chiusi.
Non rimessate la macchina o la tanica del carburante in luoghi in cui siano presenti fiamme libere, scintille o spie, come quelle di uno scaldabagno o di altri apparecchi.
Se del carburante dovesse fuoriuscire, non tentate di avviare il motore, evitate di creare fonti di innesco fino a quando i vapori di carburante non saranno evaporati.
Le sostanze chimiche utilizzate nel sistema di irrorazione possono essere pericolose e tossiche per voi, gli astanti e gli animali e possono danneggiare piante, suolo e altri beni.
Leggete le informazioni su ciascuna sostanza chimica. Non utilizzate l'irroratrice se non disponete delle suddette informazioni.
Prima di lavorare su un sistema di irrorazione, assicuratevi che il sistema sia stato neutralizzato e lavato tre volte, in conformità con le raccomandazioni del produttore (o produttori) delle sostanze chimiche e che tutte le valvole abbiano eseguito il ciclo 3 volte.
Verificate che nelle vicinanze sia disponibile un'adeguata quantità di acqua pulita e sapone per eliminare immediatamente qualsiasi prodotto chimico con cui potreste venire a contatto.
Leggete e seguite attentamente quanto riportato sulle etichette di avvertenza e nella scheda di sicurezza (SDS) di tutte le sostanze chimiche utilizzate; proteggetevi in conformità con le raccomandazioni del produttore di tali sostanze.
Proteggete sempre il vostro corpo durante l'utilizzo di sostanze chimiche. Per proteggervi dal contatto con sostanze chimiche utilizzate dispositivi di protezione individuale (DPI) quali:
occhiali di protezione, occhiali a maschera, e/o maschera protettiva
una tuta di protezione chimica
un respiratore o una maschera filtrante
guanti resistenti alle sostanze chimiche
stivali di gomma o altre calzature robuste
un cambio d'abiti pulito, sapone e asciugamani monouso per la pulizia
Seguite un corso di addestramento opportuno prima di utilizzare o maneggiare prodotti chimici.
Usate il prodotto chimico adatto al lavoro da eseguire.
Seguite le istruzioni del produttore della sostanza chimica per l'applicazione sicura della sostanza chimica. Non superate la pressione di applicazione dell'impianto raccomandata.
Non riempite, tarate o pulite la macchina mentre nella zona sono presenti persone, in particolare bambini, o animali domestici.
Maneggiate i prodotti chimici in un ambiente ben ventilato.
Non mangiate, bevete o fumate durante il lavoro in prossimità di sostanze chimiche.
Non pulite gli ugelli di irrorazione soffiandovi attraverso o mettendoveli in bocca.
Lavatevi sempre le mani e altre aree esposte non appena possibile dopo il lavoro con sostanze chimiche.
Conservate le sostanze chimiche nelle loro confezioni originali e in un luogo sicuro.
Smaltite i prodotti chimici inutilizzati e i loro contenitori nel rispetto delle istruzioni impartite dal produttore della sostanza chimica e delle normative locali.
I prodotti chimici e le esalazioni sono pericolosi. Non entrate mai nel serbatoio e non mettete mai la testa sopra o all'interno del foro di apertura.
Attenetevi alle norme locali, regionali e statali per la concimazione con o l'irrorazione di prodotti chimici.
Controllate le seguenti voci ogni volta che iniziate l'utilizzo giornaliero dell'irroratrice:
Controllare la pressione d'aria degli pneumatici.
Note: Gli pneumatici di questa macchina sono diversi da quelli delle autovetture; essi richiedono infatti una pressione d’aria inferiore allo scopo di ridurre al minimo i danni e il costipamento del tappeto erboso.
Controllate tutti i livelli dei fluidi e, qualora siano insufficienti, rabboccate con la quantità necessaria di fluido indicato.
Controllate il funzionamento del pedale del freno.
Verificate che le luci funzionino correttamente.
Girate il volante a sinistra e a destra per verificare la corretta risposta di sterzata.
A motore spento, verificate che non vi siano perdite d'olio, componenti allentati e altre anomalie evidenti.
Qualora uno dei punti summenzionati non risultasse in perfette condizioni, prima di utilizzare l'irroratrice per il lavoro quotidiano rivolgetevi al meccanico di fiducia o consultate il vostro superiore. Il vostro supervisore può richiedervi di verificare quotidianamente altri elementi, perciò rivolgetevi a lui per conoscere quali ispezioni siete tenuti a effettuare.
Prima di avviare il motore e di utilizzare la macchina, controllate il livello dell'olio nella coppa; vedere Controllo dell'olio motore.
Prima di avviare il motore e utilizzare la macchina, controllate l'impianto di raffreddamento; fate riferimento a Controllo del livello del refrigerante.
Prima di avviare il motore e utilizzare la macchina, controllate l'impianto di idraulico; fate riferimento a Controllo del fluido idraulico.
| Cadenza di manutenzione | Procedura di manutenzione |
|---|---|
| Prima di ogni utilizzo o quotidianamente |
|
Controllate la pressione d'aria negli pneumatici per garantirne il livello corretto. Gonfiate i pneumatici a 1,38 bar.
Note: Controllate l'usura dei pneumatici ed accertatevi che non abbiano subito danni.
| Cadenza di manutenzione | Procedura di manutenzione |
|---|---|
| Prima di ogni utilizzo o quotidianamente |
|
Prima di avviare l'irroratrice, premete leggermente il pedale del freno. Se il pedale si spinge oltre 2,5 cm prima che avvertiate una resistenza, regolate i freni; fate riferimento a Regolazione dei freni.
Se azionate l’irroratrice con freni non regolati bene o logori, potreste perdere il controllo dell’irroratrice, causando gravi ferite o anche la morte a voi o agli astanti.
Controllate sempre i freni prima di azionare l'irroratrice e teneteli adeguatamente regolati e riparati.
Important: Per garantire la freschezza del carburante acquistatelo in quantità da utilizzare entro 180 giorni.
Note: Il vostro motore potrebbe richiedere un carburante a numero di cetano superiore se utilizzate la macchina ad una certa altitudine o a temperature atmosferiche basse.
Non utilizzare mai kerosene o benzina al posto di carburante diesel.
Non mischiate mai kerosene od olio motore esausto con il carburante diesel.
Utilizzate solo carburante diesel o carburanti biodiesel freschi e puliti.
| Carburante diesel con una quantità minima di cetano pari a 40. |
| Utilizzate carburante diesel a contenuto basso o ultra basso di zolfo. |
| Utilizzate carburante per uso estivo (n. 2-D) a temperature superiori a -7 °C e carburante diesel per uso invernale (n. 1-D o miscela n. 1-D/2-D) a temperature inferiori. |
Note: L'utilizzo di carburante per uso invernale a temperature inferiori fornisce un punto d'infiammabilità inferiore e caratteristiche di flusso a freddo che facilitano l'avvio e riducono l'otturazione del filtro del carburante.
L'utilizzo di carburante per uso estivo sopra i -7 °C contribuisce a una maggiore durata della pompa del carburante e a una maggiore potenza rispetto al carburante per uso invernale.
| Utilizzate una miscela di carburante biodiesel fino a B20 (20% di biodiesel, 80% di diesel). |
| La porzione di diesel da petrolio deve avere un contenuto basso o ultra basso di zolfo. |
| La percentuale di biodiesel del carburante deve soddisfare le specifiche ASTM D6751 o EN 14214. Il composto di miscela di carburante deve essere conforme a ASTM D975 o EN 590. |
| Usate miscele B5 (contenuto di biodiesel del 5%) o inferiori in condizioni di tempo freddo. |
Osservate le seguenti precauzioni:
Dopo essere passati all'utilizzo di miscele biodiesel, è possibile che per qualche tempo il filtro del carburante si intasi.
Controllare i dispositivi di tenuta, i flessibili, le guarnizioni a contatto con il combustibile perché nel tempo possono deteriorarsi.
Le miscele di biodiesel possono danneggiare le superfici verniciate.
Per maggiori informazioni sul biodiesel, rivolgetevi al distributore di zona.
Capacità del serbatoio del carburante: circa 45 litri
Parcheggiate la macchina su una superficie pianeggiante, inserite il freno di stazionamento, spegnete la pompa di irrorazione, spegnete il motore, togliete la chiave e lasciate raffreddare il motore.
Pulite intorno al tappo del serbatoio del carburante (Figura 20).

Rimuovete il tappo del serbatoio del carburante.
Riempite il serbatoio fino a circa 2,5 cm sotto la parte superiore del serbatoio (parte inferiore del collo del bocchettone).
Note: Questo spazio nel serbatoio consente al carburante di espandersi. Non riempite troppo il serbatoio.
Montate saldamente il tappo del serbatoio del carburante sul serbatoio.
e tergete il carburante versato.
| Cadenza di manutenzione | Procedura di manutenzione |
|---|---|
| Dopo le prime 100 ore |
|
Controllate il livello dell'olio motore e del fluido regolarmente e state attenti a eventuali indicazioni di surriscaldamento in qualsiasi componente dell'irroratrice.
dopo avere avviato il motore a freddo, lasciatelo riscaldare per circa 15 secondi prima di accelerare;
Cercate di non imballare il motore;
variate la velocità dell'irroratrice durante il funzionamento, ed evitate avvii e arresti rapidi;
Vedere per eventuali controlli speciali a distanza di poche ore.
Note: Fate riferimento alla guida per la selezione degli ugelli disponibile presso il vostro distributore Toro autorizzato.
Le strutture a torretta possono alloggiare fino a 3 ugelli diversi. Per selezionare l'ugello desiderato, effettuate le seguenti operazioni:
Spegnete l'irroratrice su una superficie pianeggiante, spegnete il motore, togliete la chiave e inserite il freno di stazionamento.
Spostate l'interruttore principale delle sezioni in posizione di SPEGNIMENTO e impostate l'interruttore della pompa di irrorazione in posizione di SPEGNIMENTO.
Girate la torretta degli ugelli in una qualsiasi direzione fino all'ugello corretto.
Per le macchine utilizzate in modalità volume di applicazione, effettuate una taratura del flusso; fate riferimento alla Guida software per le irroratrici Multi Pro 5800-D e 5800-G con sistema di irrorazione ExcelaRate.
Attrezzatura standard: filtro di aspirazione con rete da 50 (blu)
Utilizzate la tabella dei filtri di aspirazione per individuare la rete della griglia per gli ugelli di irrorazione che utilizzate in base ai prodotti o alle soluzioni chimiche con una viscosità equivalente all'acqua.
| Codice colore dell'ugello di irrorazione (volume di flusso) | Dimensioni della rete della griglia* | Codice colore del filtro |
|---|---|---|
| Giallo (0,2 gpm) | 50 | Blu |
| Rosso (0,4 gpm) | 50 | Blu |
| Marrone (0,5 gpm) | 50 (o 30) | Blu (o verde) |
| Grigio (0,6 gpm) | 30 | Verde |
| Bianco (0,8 gpm) | 30 | Verde |
| Blu (1,0 gpm) | 30 | Verde |
| Verde (1,5 gpm) | 30 | Verde |
| *Le dimensioni della rete dei filtri di aspirazione in questa tabella si basano su sostanze chimiche o soluzioni con la viscosità equivalente all'acqua. | ||
Important: Se state irrorando con prodotti chimici a viscosità più elevata (densità maggiore) o soluzioni con polveri bagnabili, potreste dover utilizzare una rete della griglia più grossolana per il filtro di aspirazione opzionale, fate riferimento a Figura 21.

Quando irrorate a un volume di applicazione superiore, valutate l'utilizzo di una rete più grossolana per il filtro di aspirazione opzionale; fate riferimento a Figura 22.

Dimensioni disponibili della griglia:
Attrezzatura standard: filtro di aspirazione con rete da 50 (blu)
Utilizzate la tabella dei filtri di pressione per individuare la rete della griglia per gli ugelli di irrorazione che utilizzate in base ai prodotti o alle soluzioni chimiche con una viscosità equivalente all'acqua.
| Codice colore dell'ugello di irrorazione (volume di flusso) | Dimensioni della rete della griglia* | Codice colore del filtro |
|---|---|---|
| Come opportuno per le sostanze chimiche o soluzioni a bassa viscosità o per volumi di applicazione ridotti | 100 | Verde |
| Giallo (0,2 gpm) | 80 | Giallo |
| Rosso (0,4 gpm) | 50 | Blu |
| Marrone (0,5 gpm) | 50 | Blu |
| Grigio (0,6 gpm) | 50 | Blu |
| Bianco (0,8 gpm) | 50 | Blu |
| Blu (1,0 gpm) | 50 | Blu |
| Verde (1,5 gpm) | 50 | Blu |
| Come opportuno per le sostanze chimiche o soluzioni ad alta viscosità o per volumi di applicazione elevati | 30 | Rosso |
| Come opportuno per le sostanze chimiche o soluzioni ad alta viscosità o per volumi di applicazione elevati | 16 | Marrone |
| *Le dimensioni della rete dei filtri di pressione in questa tabella si basano su sostanze chimiche o soluzioni con la viscosità equivalente all'acqua. | ||
Important: Se state irrorando con prodotti chimici a viscosità più elevata (densità maggiore) o soluzioni con polveri bagnabili, potrebbe essere necessario utilizzare una rete della griglia più grossolana per il filtro di pressione opzionale, fate riferimento a Figura 23.

Quando irrorate a un volume di applicazione superiore, valutate l'utilizzo di una rete più grossolana per il filtro della pressione opzionale; fate riferimento a Figura 24.

Note: Utilizzate il filtro dell'ugello opzionale per proteggere l'ugello di irrorazione e aumentarne la durata operativa.
Utilizzate la tabella dei filtri degli ugelli per individuare la rete della griglia per gli ugelli di irrorazione che utilizzate in base ai prodotti o alle soluzioni chimiche con una viscosità equivalente all'acqua.
| Codice colore dell'ugello di irrorazione (volume di flusso) | Dimensioni della rete del filtro* | Codice colore del filtro |
|---|---|---|
| Giallo (0,2 gpm) | 100 | Verde |
| Rosso (0,4 gpm) | 50 | Blu |
| Marrone (0,5 gpm) | 50 | Blu |
| Grigio (0,6 gpm) | 50 | Blu |
| Bianco (0,8 gpm) | 50 | Blu |
| Blu (1,0 gpm) | 50 | Blu |
| Verde (1,5 gpm) | 50 | Blu |
| *Le dimensioni della rete dei filtri degli ugelli in questa tabella si basano su sostanze chimiche o soluzioni con la viscosità equivalente all'acqua. | ||
Important: Se state irrorando con prodotti chimici a viscosità più elevata (densità maggiore) o soluzioni con polveri bagnabili, potrebbe essere necessario utilizzare una rete della griglia più grossolana per il filtro dell'ugello opzionale, fate riferimento a Figura 25.

Quando irrorate a un volume di applicazione superiore, valutate l'utilizzo di una rete più grossolana del filtro dell'ugello; fate riferimento a Figura 26.

Important: Non utilizzate acqua rigenerata (acqua grigia) nel serbatoio d'acqua dolce.
Note: Il serbatoio d'acqua dolce serve a fornire una fonte d'acqua dolce per lavare via le sostanze chimiche da pelle, occhi o altre superfici, in caso di contatto accidentale.
Riempite sempre il serbatoio con acqua dolce pulita prima di maneggiare o mischiare sostanze chimiche.
Per riempire il serbatoio, svitate il tappo sulla parte superiore del serbatoio, riempite il serbatoio con acqua dolce e montate il tappo (Figura 27).
Per aprire il rubinetto del serbatoio d'acqua dolce girate la leva del rubinetto (Figura 27).

Installate il kit di premiscelazione chimica per una miscelazione e una pulizia del serbatoio esterno ottimali.
Important: Quando possibile, non utilizzate acqua rigenerata (acqua grigia) nel serbatoio di irrorazione.
Important: Assicuratevi che le sostanze chimiche da voi utilizzate siano compatibili con Viton™ (consultate l'etichetta del produttore: deve essere indicato se non è compatibile). L'impiego di un prodotto chimico non compatibile con Viton causerà il degrado degli O-ring dell'irroratrice ed eventuali perdite.
Important: I segni del volume del serbatoio sono unicamente a scopo di riferimento e non possono essere considerati precisi per la taratura.
Spegnete la macchina su una superficie pianeggiante, spegnete il motore, togliete la chiave e inserite il freno di stazionamento.
Determinate la quantità di acqua necessaria per miscelare il prodotto chimico necessario, come prescritto dal produttore.
Aprite il coperchio sul serbatoio di irrorazione.
Note: Il coperchio del serbatoio è situato nella parte superiore del serbatoio, al centro. Per aprirlo, girate in senso antiorario la metà anteriore del coperchio, e aprite. Potete rimuovere il filtro sotto il coperchio del serbatoio e pulirlo.
Montate il flessibile di riempimento sul raccordo a disinnesto rapido del connettore di riempimento di non ritorno.
Versate nel serbatoio dell’irroratrice ¾ dell'acqua necessaria (Figura 28).
Important: Utilizzate sempre acqua dolce pulita nel serbatoio di irrorazione. Non versate il concentrato nel serbatoio vuoto.

Avviate il motore, inserite il freno di stazionamento, impostate l'interruttore della pompa di irrorazione in posizione di ACCENSIONE e spostate la leva dell'acceleratore alla MINIMA SUPERIORE.
Spostate l'interruttore dell'agitatore in posizione di ACCENSIONE.
Important: Prima di introdurre polveri bagnabili in un qualsiasi impianto di irrorazione Toro, miscelate le polveri in un contenitore idoneo con acqua dolce sufficiente per creare una poltiglia fluida. In caso contrario, potrebbero formarsi depositi chimici sul fondo del serbatoio e determinarsi un'agitazione non adeguata, l'otturazione dei filtri e volumi di applicazione non idonei.Toro consiglia di utilizzare il Kit nebulizzatore approvato per questa macchina. Contattate il vostro distributore Toro autorizzato per ulteriori informazioni.
Versate nel serbatoio la dose esatta di concentrato chimico, come da istruzioni del produttore del concentrato.
Versate l'acqua restante nel serbatoio, staccate il flessibile di riempimento e chiudete il coperchio del serbatoio.
Note: Per chiudere ermeticamente il serbatoio, chiudete il coperchio e girate la metà anteriore in senso orario.
Important: Dopo aver riempito il serbatoio per la prima volta controllate che le fascette del serbatoio non siano allentate. Serrate se necessario.
| Cadenza di manutenzione | Procedura di manutenzione |
|---|---|
| Prima di ogni utilizzo o quotidianamente |
|
Important: Un'eccessiva tensione delle fascette del serbatoio può causare una deformazione e danni al serbatoio e alle fascette.
Important: Quando possibile, non utilizzate acqua rigenerata (acqua grigia) nel serbatoio di irrorazione.
Riempite d'acqua il serbatoio principale.
Verificate l'eventuale presenza di movimento tra le fasce del serbatoio e il serbatoio stesso (Figura 29).

Se le fasce risultano lente sul serbatoio, stringete i dadi di bloccaggio flangiati e i bulloni sulla parte superiore delle fasce fino a quando queste non sono pari alla superficie del serbatoio (Figura 29).
Note: Non serrate la bulloneria delle fascette del serbatoio eccessivamente.
Important: Quando la macchina funziona in modalità con volume di applicazione, dovete impostare le valvole di bypass delle sezioni in posizione chiusa.
Important: Quando possibile, non utilizzate acqua rigenerata (acqua grigia) nel serbatoio di irrorazione.
Prima di utilizzare l'irroratrice per la prima volta, ogniqualvolta cambiate gli ugelli o come opportuno, tarate il flusso, la velocità e il bypass delle sezioni dell'irroratrice.
Important: Scegliete un ampio spazio all'aperto, con terreno pianeggiante, per questa operazione.
Riempite per metà il serbatoio dell'irroratrice con acqua pulita.
Abbassate le sezioni di irrorazione.
Inserite il freno di stazionamento.
Impostate l'interruttore di comando dell'irrorazione su manuale.
Spostate tutti e tre gli interruttori delle sezioni in posizione di ACCENSIONE, ma lasciate l'interruttore principale delle sezioni in posizione di SPEGNIMENTO.
Spostate l'interruttore della pompa di irrorazione in posizione di ACCENSIONE e avviate l'agitatore.
Nell’InfoCenter accedete alla schermata Taratura e selezionate Velocità di prova; vedere Simulazione della velocità di prova nella Guida al Software delle irroratrici per tappeto erboso Multi Pro 5800-D e 5800-G con sistema di irrorazione ExcelaRate.
Premete i pulsanti 3 o 4 per aumentare o diminuire la velocità simulata al valore di 5,6 km/h.
Premete il pulsante 4 per selezionare l’AVVIO della simulazione della velocità di prova.
Premete il pulsante 5 per memorizzare e uscire dalla schermata VELOCITà DI PROVA.
Utilizzando l'interruttore del volume di applicazione, regolate il volume di applicazione secondo la tabella che segue.
| Colore ugello | SI (sistema metrico) | Inglese | Tappeto erboso |
| Giallo | 159 litri/ettaro | 17 gpa | 0,39 gpk |
| Rosso | 319 litri/ettaro | 34 gpa | 0,78 gpk |
| Marrone | 394 litri/ettaro | 42 gpa | 0.96 gpk |
| Grigio | 478 litri/ettaro | 51 gpa | 1,17 gpk |
| Bianco | 637 litri/ettaro | 68 gpa | 1.56 gpk |
| Blu | 796 litri/ettaro | 85 gpa | 1.95 gpk |
| Verde | 1,190 litri/ettaro | 127 gpa | 2,91 gpk |
Disattivate l’interruttore della sezione sinistra e regolate la manopola di bypass della sezione (Figura 30) fino a quando il volume visualizzato non corrisponde al livello precedente in base alla tabella.
Note: Gli indicatori numerati sulla manopola e l'ago di bypass sono solo a titolo di riferimento.

Attivate l’interruttore della sezione sinistra e disattivate l’interruttore della sezione destra.
Regolate la manopola di bypass della sezione destra (Figura 30) fino a quando il volume visualizzato non corrisponde al livello precedente in base alla tabella.
Attivate l’interruttore della sezione destra e disattivate l’interruttore della sezione centrale.
Regolate la manopola di bypass della sezione centrale (Figura 30) fino a quando il volume visualizzato non corrisponde al livello precedente in base alla tabella.
Disattivate l'interruttore principale delle sezioni.
Spegnete la pompa di irrorazione.
La valvola di bypass dell'agitatore è in posizione completamente aperta, come illustrato nella Figura 31A.
La valvola di bypass dell'agitatore è in posizione chiusa (0), come illustrato nella Figura 31B.
La valvola di bypass dell'agitatore è in una posizione intermedia (regolata in relazione al misuratore di pressione per il sistema di irrorazione), come illustrato nella Figura 31C.

| Cadenza di manutenzione | Procedura di manutenzione |
|---|---|
| Ogni anno |
|
Important: Quando possibile, non utilizzate acqua rigenerata (acqua grigia) nel serbatoio di irrorazione.
Selezionate un'area aperta e piana per effettuare questa procedura.
Riempite per metà il serbatoio dell'irroratrice con acqua pulita.
Verificate che la valvola di comando dell'agitatore sia aperta.
Note: Se è stata tarata, apritela ora completamente.
Innestate il freno di stazionamento e avviate il motore.
Impostate il pulsante della modalità dell'irroratrice in modalità manuale; fate riferimento a Irrorazione in modalità manuale.
Impostate l'interruttore della pompa di irrorazione e dell'agitatore in posizione di ACCENSIONE.
Impostate l'interruttore principale delle sezioni in posizione di SPEGNIMENTO.
Spostate la leva dell'acceleratore in posizione MASSIMA.
Utilizzate l'interruttore del volume di applicazione per regolare la pressione dell'impianto di irrorazione a 6,9 bar.
Ruotate l'interruttore dell'agitatore in posizione di SPEGNIMENTO e leggete il misuratore di pressione.
Se il misuratore di pressione indica 6,9 bar, la valvola di bypass dell'agitatore è correttamente tarata.
Se il misuratore di pressione mostra un valore diverso, passate alla fase successiva.
Regolate la valvola di bypass dell'agitatore (Figura 32) sul lato posteriore della valvola dell'agitatore fino a quando la pressione dell'impianto di irrorazione indicata sul misuratore non è pari a 6,9 bar.

Accendete l'interruttore della pompa di irrorazione in posizione di SPEGNIMENTO.
Spostate la leva dell'acceleratore in posizione di MINIMA e girate l'interruttore a chiave in posizione di SPEGNIMENTO.
La pompa di irrorazione è situata vicino alla parte posteriore del serbatoio sul lato sinistro (Figura 33).

Il proprietario/operatore può impedire ed è responsabile di incidenti che possano causare infortuni personali o danni alla proprietà.
Indossate abbigliamento consono, comprendente occhiali di protezione, pantaloni lunghi, scarpe robuste e antiscivolo e protezioni per l'udito. Legate i capelli lunghi e non indossate abiti o gioielli larghi o pendenti.
Indossate dispositivi di protezione individuale come raccomandato nelle indicazioni di sicurezza chimica.
Prestate la massima attenzione mentre utilizzate la macchina. Non intraprendete alcuna attività che vi possa distrarre; in caso contrario potreste causare infortuni o danni alla proprietà.
Non azionate la macchina se siete malati, stanchi o sotto l'influenza di alcool o farmaci.
Non trasportate più di un passeggero sulla macchina; il passeggero deve sedere solo nella seduta apposita.
Utilizzate la macchina solo in buone condizioni di visibilità. Evitate buche o pericoli nascosti.
Prima di avviare il motore, assicuratevi di essere nella postazione di lavoro, che la trasmissione sia in posizione di FOLLE (manuale), oppure di PARCHEGGIO (automatica) e che il freno di stazionamento sia inserito.
Rimanete seduti ogniqualvolta la macchina è in movimento. Tenete entrambe le mani sul volante, ogniqualvolta possibile, e tenete sempre braccia e gambe all'interno del vano dell'operatore.
Prestate attenzione quando vi avvicinate ad angoli ciechi, cespugli, alberi o altri oggetti che possano ostacolare la vostra visuale.
Prima di fare retromarcia, guardate dietro e assicuratevi che non vi sia nessuno. Retrocedete lentamente.
Non spruzzate in prossimità di altre persone, soprattutto bambini, o di animali da compagnia.
Non utilizzatela nelle adiacenze di scarpate, fossati o terrapieni. La macchina potrebbe ribaltarsi improvvisamente nel caso in cui una ruota ne superi il bordo o se il bordo dovesse cedere.
Riducete la velocità durante l'utilizzo su terreno accidentato o disomogeneo e in prossimità di cordoli, buche e altri cambiamenti improvvisi del terreno. I carichi potrebbero spostarsi, rendendo instabile la macchina.
Arrestate la macchina, spegnete il motore, togliete la chiave, inserite il freno di stazionamento e ispezionate per escludere danni dopo aver colpito un oggetto o se sulla macchina si avvertono vibrazioni anomale. Effettuate tutte le riparazioni necessarie prima di riprendere le operazioni.
Rallentate e prestate attenzione in fase di curva e attraversamento di strade e marciapiedi con la macchina. Date sempre la precedenza.
Procedete con estrema cautela durante l’utilizzo della macchina su superfici bagnate, in condizioni atmosferiche avverse, ad alta velocità o a pieno carico. Il tempo e la distanza di arresto aumentano in queste condizioni.
Non toccate il motore o la marmitta di scarico quando il motore è in funzione o subito dopo averlo spento. questi componenti potrebbero essere abbastanza caldi da causare ustioni.
Prima di abbandonare la postazione dell'operatore, attenetevi alle seguenti istruzioni:
Parcheggiate la macchina su terreno pianeggiante.
Spostate il pedale della trazione in posizione di FOLLE.
Inserite il freno di stazionamento.
Spegnete il motore e togliete la chiave (se in dotazione).
Attendete che tutte le parti in movimento si arrestino.
Non azionate il motore in una zona in cui i gas di scarico rimangano racchiusi.
Non utilizzate la macchina se c'è rischio di fulmini.
Usate soltanto accessori e attrezzi approvati da Toro.
Note: Per ciascuna macchina descritta in questo Manuale dell'operatore, una cabina installata da Toro è un ROPS.
Non rimuovete il ROPS dalla macchina.
Allacciate la cintura di sicurezza e assicuratevi di poterla rilasciare rapidamente in caso di emergenza. Indossate sempre la cintura di sicurezza.
Controllate attentamente che non vi siano ostruzioni in alto e non venitevi a contatto.
Mantenete il ROPS in condizioni operative sicure ispezionandolo periodicamente in modo completo per escludere danni e mantenendo serrati tutti i dispositivi di fissaggio.
Eseguite la manutenzione e la pulizia della/e cintura/e di sicurezza secondo necessità.
Sostituite eventuali componenti del ROPS danneggiati. Non effettuate riparazioni o modifiche.
Le pendenze sono la causa principale di incidenti dovuti a perdita di controllo e ribaltamenti, che possono provocare gravi infortuni o la morte. Siete responsabili del funzionamento sicuro in pendenza. L'utilizzo della macchina su qualsiasi pendenza richiede un livello superiore di attenzione.
Consultate le istruzioni relative alle pendenze elencate di seguito per l'utilizzo della macchina in pendenza e verificate se è possibile utilizzarla nelle condizioni di un particolare giorno e su un particolare sito. I cambiamenti del terreno possono determinare un cambiamento del funzionamento in pendenza della macchina.
Stabilite se la pendenza è sicura per l'utilizzo della macchina, anche facendo un sopralluogo del sito. Basatevi sempre su buon senso e giudizio quando effettuate questa ricognizione.
Evitate di avviare, arrestare o sterzare con la macchina in pendenza. Guidate in salita e discesa dalle pendenze. Evitate di cambiare bruscamente la velocità o la direzione. Se è necessario sterzare con la macchina, fatelo lentamente e gradualmente a valle, se possibile. Prestate cautela in fase di inversione con la macchina.
Non azionate una macchina di cui non siate certi delle condizioni di trazione, sterzo o stabilità.
Rimuovete o segnalate le ostruzioni, come fossati, buche, solchi, dossi, rocce o altri pericoli nascosti. L'erba alta può nascondere delle ostruzioni. Il terreno accidentato può ribaltare la macchina.
Siate consapevoli del fatto che l'utilizzo della macchina su superfici bagnate, trasversalmente su pendenze o in discesa può causare una perdita di trazione della macchina. La perdita di trazione delle ruote può comportare uno slittamento e una perdita di capacità frenante e sterzante.
Prestate estrema cautela durante l'utilizzo della macchina in prossimità di scarpate, fossati, terrapieni, zone d'acqua pericolose o altri pericoli. La macchina potrebbe ribaltarsi improvvisamente nel caso in cui una ruota ne superi il bordo o se il bordo dovesse cedere. Individuate un'area di sicurezza tra la macchina ed eventuali pericoli.
Prestate particolare attenzione durante l'utilizzo della macchina con accessori: possono influire sulla stabilità della macchina.
Se il motore stalla o se iniziate a perdere impulso in fase di salita, applicate gradualmente i freni e scendete lentamente dalla pendenza in retromarcia.
Tenete sempre la trasmissione con la marcia inserita (se presente) in discesa da pendenze.
Parcheggiate la macchina su terreno pianeggiante.
Il peso del materiale nel serbatoio può modificare la manovrabilità della macchina. Per evitare la perdita del controllo e infortuni, seguite le indicazioni sotto riportate.
Durante l'utilizzo con un carico pesante, riducete la velocità e mantenete una distanza di frenata sufficiente. Non azionate improvvisamente i freni. Agite con maggiore cautela sui pendii.
I carichi liquidi si spostano, soprattutto in fase di svolta, salita o discesa da pendenze, con improvvisi cambi di velocità o durante la guida su superfici accidentate. Lo spostamento dei carichi può causare il ribaltamento della macchina.
Sedetevi sul sedile di guida e tenete il piede lontano dal pedale della trazione.
Assicurarsi che i seguenti dispositivi siano impostati come indicato:
Il freno di stazionamento è inserito.
Il pedale della trazione è in posizione di FOLLE.
La pompa di irrorazione è spenta.
L’acceleratore è in posizione di MINIMA.
Ruotate l'interruttore in posizione di ACCENSIONE/PRERISCALDAMENTO.
Note: Un timer automatico controlla il preriscaldamento per circa 6 secondi.
Dopo il preriscaldamento, girate la chiave in posizione di AVVIAMENTO.
Avviate il motore per non più di 15 secondi.
Rilasciate la chiave una volta avviato il motore.
Se il motore richiede un preriscaldamento aggiuntivo, girate la chiave in posizione di SPEGNIMENTO, poi in posizione di ACCENSIONE/PRERISCALDAMENTO.
Note: All’occorrenza, ripetete i punti da 3 a 7.
Lasciate in funzione il motore alla MINIMA o ad acceleratore parziale, fino a quando il motore non è caldo.
Rilasciate il freno di stazionamento e premete il pedale di trazione in avanti per guidare la macchina in marcia avanti, o indietro per guidare la macchina in retromarcia.
Important: Assicuratevi di far arrestare l'irroratrice prima di passare tra le posizioni AVANTI e INDIETRO.
Per fermare lentamente la macchina, rilasciate il pedale della trazione.
Note: Il pedale della trazione ritorna in posizione di FOLLE.
Per fermarla rapidamente, premete il pedale del freno.
Note: La distanza di arresto della macchina può variare a seconda del carico del serbatoio dell'irroratrice e della velocità di trasferimento della macchina.
Se premete l'interruttore di bloccaggio della velocità di trasferimento e non avete il piede sul pedale della trazione, il trattorino potrebbe arrestarsi improvvisamente e causare una perdita di controllo, causando eventuali infortuni a voi o agli astanti.
Assicuratevi che il vostro piede sia sul pedale della trazione quando disinnestate l'interruttore di bloccaggio della velocità di trasferimento.
Avviate la pompa dell'irroratrice premendo il relativo interruttore in posizione di ACCENSIONE; fate riferimento a Interruttore della pompa di irrorazione.
Guidate in avanti per raggiungere la velocità desiderata; fate riferimento a Guida della macchina.
Note: Per impostare il blocco della velocità di trasferimento dovete guidare la macchina a una velocità inferiore a 11 km/h.
Premete la parte superiore dell'interruttore di bloccaggio della velocità di trasferimento.
Note: La spia dell'interruttore si accende.
Togliete il piede dal pedale della trazione.
Note: L'irroratrice mantiene la velocità da voi impostata.
Per rilasciare l'interruttore di bloccaggio della velocità di trasferimento, posizionate il piede sul pedale della trazione e premete la parte inferiore dell'interruttore o togliete il piede dal pedale della trazione e premete il pedale del freno.
Note: La spia sull'interruttore si spegne e il comando della trazione ritorna al pedale della trazione.
Spostate tutti i comandi in posizione di FOLLE.
Premete il pedale del freno per fermare l'irroratrice.
Inserite il freno di stazionamento.
Spostate la leva dell'acceleratore in posizione di MINIMA INFERIORE.
Girate la chiave in posizione di SPEGNIMENTO.
Togliete le chiave dall'interruttore per evitare che qualcuno avvii accidentalmente il motore.
Per azionare l'irroratrice Multi Pro®, come prima cosa riempite il serbatoio dell'irroratrice, poi applicate la miscela di prodotto sull'area di lavoro e infine pulite il serbatoio e l'impianto di irrorazione. Queste tre fasi devono essere completate nell’ordine indicato, al fine di non danneggiare l’irroratrice. Ad esempio, non miscelate o aggiungete sostanze chimiche nel serbatoio dell'irroratrice di notte per poi irrorare il mattino seguente. Ciò comporta la separazione delle sostanze chimiche e possibili danni ai componenti dell'irroratrice.
I prodotti chimici sono pericolosi e possono causare infortuni.
Leggete le istruzioni riportate sulle etichette dei prodotti chimici, prima di maneggiarli, ed osservate tutte le raccomandazioni e le precauzioni dettate dal produttore.
Tenete i prodotti chimici lontano dalla pelle. In caso di contatto con la pelle, lavate con abbondante acqua pulita e sapone la superficie contaminata.
Indossate dispositivi di protezione individuale idonei (DPI) conformi alle istruzioni dei produttori delle sostanze chimiche.
L'irroratrice Multi Pro® è progettata appositamente per durare a lungo, offre una vite utile molto lunga. Per realizzare questo obiettivo, varie parti dell'irroratrice sono state costruite con materiali diversi per determinati motivi. Purtroppo non esiste un unico materiale perfetto per tutte le applicazioni prevedibili.
Alcuni prodotti chimici sono più aggressivi di altri, ed ogni sostanza chimica interagisce in modo diverso con materiali diversi. Alcune consistenze (ad es., polveri bagnabili, carbone) sono più abrasive e comportano tassi di usura superiori. Qualora sia in commercio un prodotto chimico la cui formula prolunghi la durata utile dell’irroratrice, utilizzate questa formula alternativa
Come sempre, ricordate di pulire accuratamente l'irroratrice e l'impianto di irrorazione dopo ogni applicazione. Ciò garantisce una durata lunga e priva di problemi per la vostra irroratrice.
Note: In caso di domande o per ulteriori informazioni relative al sistema di comando dell'irrorazione, fate riferimento al Manuale dell'operatore in dotazione con l'impianto.
Fate riferimento alla Guida al Software delle irroratrici per tappeto erboso Multi Pro 5800-D e 5800-G con sistema di irrorazione ExcelaRate per avere informazioni su:
Prima dell’utilizzo
Schermata Home dell’InfoCenter
Schermata Menu principale
Sotto-schermate del Menu principale
Schermate Manutenzione
Schermate Diagnostica
Schermate Info
Durante l’utilizzo
Immissione delle informazioni dell'attività
Schermate Superficie di irrorazione dell'InfoCenter
Indicazioni dell'InfoCenter
Fate riferimento alla Guida al Software delle irroratrici per tappeto erboso Multi Pro 5800-D e 5800-G con sistema di irrorazione ExcelaRate per avere informazioni sulle procedure seguenti:
Important: Per garantire che il prodotto rimanga ben miscelato, utilizzate la funzionalità di agitazione ogni volta che nel serbatoio è presente una soluzione.
Assicuratevi che il sistema di irrorazione sia tarato per gli ugelli di irrorazione attivi, da voi selezionati; fate riferimento alla Guida al Software delle irroratrici per tappeto erboso Multi Pro 5800-D e 5800-G con sistema di irrorazione ExcelaRate.
Girate la manopola della valvola di intercettazione del bypass delle sezioni sulla posizione chiusa (Figura 34).

Impostate il pulsante della modalità di irrorazione sulla modalità con volume di applicazione (Figura 35).

Portate l’irroratrice sull’area di tappeto erboso da irrorare.
Se dovete raccogliere i dati relativi alle aree e ai volumi irrorati per ogni sito di lavoro, selezionate una schermata Subarea (Subarea 1 a 20) per registrare le informazioni relative all’area e al volume di un singolo sito; fate riferimento alla sezione Utilizzo della schermata Subarea nella Guida al Software delle irroratrici per tappeto erboso Multi Pro 5800-D e 5800-G con sistema di irrorazione ExcelaRate.
Note: Quando vi spostate verso una nuova area di lavoro, dovete selezionare un'altra schermata Subarea per registrare l'area individuale e le informazioni del volume.
Se dovete modificare il valore del volume attivo dal volume 1 al volume 2, sulla schermata Home dell’InfoCenter premete contemporaneamente i pulsanti 1 e 2 per selezionare VOLUME 1, oppure i pulsanti 4 e 5 per selezionare VOLUME 2; fate riferimento alla Guida al Software delle irroratrici per tappeto erboso Multi Pro 5800-D e 5800-G con sistema di irrorazione ExcelaRate.
Impostate l'interruttore (o interruttori) delle sezioni di irrorazione in posizione di ACCENSIONE (Figura 36).

Impostate l'interruttore dell'agitatore e l'interruttore della pompa di irrorazione in posizione di ACCENSIONE (Figura 37).

Impostate l'acceleratore in posizione VELOCE (Figura 37).
Guidate alla velocità desiderata e poi impostate l'interruttore principale delle sezioni in posizione di ACCENSIONE per iniziare a irrorare (Figura 36).
Note: Utilizzate l'interruttore principale delle sezioni per avviare e arrestare il flusso di sostanze chimiche alle sezioni di irrorazione selezionate.
Al termine dell'irrorazione spostate l'interruttore principale delle sezioni in posizione di SPEGNIMENTO per disattivare tutte le sezioni di irrorazione, quindi impostate l'interruttore della pompa di irrorazione in posizione di SPEGNIMENTO.
Note: Sollevate le sezioni di irrorazione esterne in posizione di trasferimento e guidate l'irroratrice fino alla zona di pulizia.
Important: Sollevate sempre le sezioni delle barre fino a quando non sono completamente nel supporto di trasferimento delle sezioni, formando la posizione di trasferimento “X”, e i cilindri di sollevamento non sono completamente ritratti ogniqualvolta spostate l'irroratrice da una zona di irrorazione a un'altra o a una zona di rimessaggio o pulizia.
Note: Questa procedura prevede che la pompa di irrorazione sia accesa; fate riferimento a Figura 37 in Irrorazione in modalità con volume di applicazione.
Assicuratevi che il sistema di irrorazione sia regolato per gli ugelli di irrorazione attivi, da voi selezionati; vedere Taratura della valvola di bypass dell'agitatore.
Impostate il pulsante della modalità di irrorazione sulla modalità manuale (Figura 38).

Impostate l'interruttore principale delle sezioni in posizione di SPEGNIMENTO; fate riferimento alla Figura 36 in Irrorazione in modalità con volume di applicazione.
Regolate l'acceleratore alla velocità del motore desiderata per irrorare; fate riferimento a Figura 37 in Irrorazione in modalità con volume di applicazione.
Guidate fino alla zona di irrorazione.
Abbassate le sezioni nella posizione opportuna.
Impostate gli interruttori delle singole sezioni, come opportuno, in posizione di ACCENSIONE; fate riferimento alla Figura 36 in Irrorazione in modalità con volume di applicazione.
Utilizzate l'interruttore del volume di applicazione per ottenere la pressione di irrorazione desiderata come indicato nella guida di selezione degli ugelli fornita con l'irroratrice (Figura 39).

Guidate alla velocità desiderata e poi impostate l'interruttore principale delle sezioni in posizione di ACCENSIONE per iniziare a irrorare; fate riferimento alla Figura 36 in Irrorazione in modalità con volume di applicazione.
Note: Quando il serbatoio è quasi vuoto, l'agitatore può produrre della schiuma nel serbatoio. In questo caso, ruotate l'interruttore dell'agitatore in posizione di SPEGNIMENTO. In alternativa, potete aggiungere un agente anti-schiuma nel serbatoio.
Al termine dell'irrorazione spostate l'interruttore principale delle sezioni in posizione di SPEGNIMENTO per disattivare tutte le sezioni, quindi impostate l'interruttore della pompa di irrorazione in posizione di SPEGNIMENTO.
Note: Riportate le sezioni in posizione di trasporto e guidate l'irroratrice fino all'area di pulizia.
Important: Sollevate sempre le sezioni fino quando non sono completamente nel relativo supporto per il trasferimento, formando la posizione di trasferimento a “X”, e i cilindri delle sezioni non sono completamente ritratti ogniqualvolta spostate l'irroratrice da una zona di irrorazione a un'altra, o a una zona di rimessaggio o pulizia.
Attrezzatura fornita dal cliente: Recipiente di raccolta graduato (è preferibile un contenitore con incrementi di 0,01 ml) e cronometro.
Important: Quando possibile, non utilizzate acqua rigenerata (acqua grigia) nel serbatoio di irrorazione.
Accertatevi che il serbatoio dell'irroratrice sia pulito; vedere Pulizia del sistema di irrorazione.
Riempite il serbatoio con almeno 568 litri di acqua dolce; fate riferimento a Rabbocco del serbatoio di irrorazione.
Assicuratevi che gli ugelli che intendete testare siano in posizione di irrorazione attiva (abbassati).
Per le macchine utilizzate in modalità con volume di applicazione, assicuratevi che la manopola della valvola di intercettazione del bypass delle sezioni sia sulla posizione chiusa (Figura 40).

Se la macchina è utilizzata in modalità con volume di applicazione, assicuratevi che la manopola della valvola di intercettazione del bypass delle sezioni sia sulla posizione chiusa (Figura 40).
Innestate il freno di stazionamento e avviate il motore.
Note: Lasciate riscaldare il motore per 10 minuti.
Se la macchina è utilizzata in modalità con volume di applicazione, eseguite le operazioni descritte in Utilizzo della velocità di prova; fate riferimento alla Guida al Software delle irroratrici per tappeto erboso Multi Pro 5800-D e 5800-G con sistema di irrorazione ExcelaRate.
Note: Impostate la velocità di prova simulata tra 4 e 14 km/h.
Impostate l'interruttore (o interruttori) delle sezioni di irrorazione in posizione di ACCENSIONE per la sezione (o sezioni) che state testando.
Impostate l'acceleratore in posizione VELOCE.
Impostate l'interruttore principale delle sezioni in posizione di ACCENSIONE.
Eseguite un test di raccolta della durata di 15 secondi su uno degli ugelli di irrorazione attivi.

Spegnete l'interruttore principale delle sezioni, impostate l'acceleratore in posizione di minima, spegnete la pompa di irrorazione e spegnete il motore.
Collocate il recipiente graduato su una superficie piana e rilevate il volume del fluido (Figura 42).
Important: Per rilevare il volume nel recipiente graduato, dovete collocare il recipiente su una superficie piana.
Important: Quando rilevate il volume del fluido nel recipiente graduato, dovete prendere come riferimento il punto inferiore della curva disegnata dalla superficie del fluido.
Important: Piccoli errori nella rilevazione del volume del fluido nel recipiente graduato avranno un impatto considerevole sulla precisione della taratura dell’irroratrice.

Confrontate il volume dell'acqua nel recipiente graduato con il volume del rispettivo ugello indicato nella tabella del test di raccolta in 15 secondi.
| Colore ugello | Millilitri prelevati in 15 secondi | Once prelevate in 15 secondi |
| Giallo | 189 | 6,4 |
| Rosso | 378 | 12,8 |
| Marrone | 473 | 16,0 |
| Grigio | 567 | 19,2 |
| Bianco | 757 | 25,6 |
| Blu | 946 | 32,0 |
| Verde | 1.419 | 48,0 |
Se il livello del fluido nel contenitore tarato è pari a 7,4 ml superiore o inferiore al volume degli ugelli nella tabella della misurazione test di 15 secondi, effettuate una delle seguenti operazioni:
Eseguite una taratura del flusso, oppure sostituite gli ugelli usurati e tarate il flusso; fate riferimento alla procedura di taratura del flusso nella Guida al Software delle irroratrici per tappeto erboso Multi Pro 5800-D e 5800-G con sistema di irrorazione ExcelaRate.
Tarate la valvola di bypass dell'agitatore, oppure sostituite gli ugelli usurati e tarate la valvola di bypass dell’agitatore; vedere Taratura della valvola di bypass dell'agitatore.
Gli interruttori di sollevamento delle sezioni delle barre sul pannello di controllo dell'irroratrice vi consentono di spostare le sezioni di irrorazione esterne tra le posizioni di trasferimento e irrorazione senza abbandonare il sedile dell'operatore. Quando possibile, arrestate la macchina prima di cambiare le posizioni delle sezioni di irrorazione.
Eseguite i seguenti passaggi per spostare le sezioni di irrorazione esterne in posizione di IRRORAZIONE:
Parcheggiate la macchina su terreno pianeggiante.
Utilizzate gli interruttori di sollevamento delle sezioni delle barre per abbassare le sezioni esterne.
Note: Attendete fino a quando le sezioni di irrorazione esterne non raggiungono la posizione di irrorazione completamente prolungata.
Completate il lavoro con l'irroratrice, poi eseguite i seguenti passaggi per ritrarre le sezioni di irrorazione esterne in posizione di trasferimento:
Important: Se la vostra macchina presenta installato il Kit di copertura protettiva della barra con riduzione della deriva, il Kit di allineamento Ultra Sonic Boom o entrambi, spostate le sezioni di irrorazione esterne in posizione di trasferimento, una per volta.Lo spostamento simultaneo di entrambe le sezioni di irrorazione esterne con il kit di copertura o il kit di allineamento può danneggiare le coperture, i sensori o entrambi.
Parcheggiate la macchina su terreno pianeggiante.
Utilizzate gli interruttori di sollevamento delle sezioni delle barre per sollevare le sezioni di irrorazione esterne, fino a quando non si sono spostate completamente nei relativi supporti di trasferimento, formando la posizione di trasferimento “X”, e i cilindri di sollevamento non sono completamente ritratti.
Important: Rilasciate l'interruttore (o interruttori) di sollevamento delle sezioni delle barre una volta che le sezioni di irrorazione esterne avranno raggiunto la posizione desiderata. L'utilizzo degli attuatori con i fermi meccanici può danneggiare i cilindri di sollevamento e/o altri componenti idraulici.

Important: Per evitare danni al cilindro di sollevamento, assicuratevi che gli attuatori siano completamente ritratti prima di trasferire la macchina.
L'irroratrice dispone di supporti di trasferimento della sezione delle barre dotati di una funzionalità unica nel suo genere. In caso di contatto accidentale delle sezioni di irrorazione con un oggetto superiore basso mentre si trovano in posizione di trasferimento, potete spingere la sezione (o sezioni) di irrorazione fuori dai supporti di trasferimento. Se ciò si verifica, le sezioni di irrorazione si fermeranno in posizione quasi orizzontale sulla parte posteriore della macchina. Benché tale movimento non danneggi le sezioni di irrorazione, devono essere rimesse sui supporti di trasferimento immediatamente.
Important: Le sezioni di irrorazione possono subire danni durante il trasferimento in qualsiasi posizione diversa dalla posizione di trasferimento “X” utilizzando il supporto delle barre per il trasferimento.
Per riportare le sezioni di irrorazione esterne sui supporti di trasferimento, abbassate la sezione (o sezioni) in posizione di irrorazione, quindi sollevate la sezione (o sezioni) di irrorazione di nuovo in posizione di trasferimento. Assicuratevi che i cilindri di sollevamento siano completamente rientrati per evitare danni all'asta dell'attuatore.
Important: In alcune condizioni, il calore del motore, radiatore e marmitta può danneggiare l'erba quando l'irroratrice viene utilizzata in modalità stazionaria. Le modalità da fermi comprendono l'agitatore del serbatoio, l'irrorazione manuale con una pistola a spruzzo o utilizzando una barra semovente.
Attenetevi alle seguenti precauzioni:
Evitate l'irrorazione da fermi quando le condizioni sono di eccessivo caldo e/o clima secco, perché il manto erboso può essere maggiormente sollecitato in questi periodi.
Evitate di sostare sul terreno erboso durante l'irrorazione da fermi. Parcheggiate su un sentiero per mezzi ogni volta che ciò è possibile.
Riducete al minimo il tempo che la macchina viene lasciata in funzione su una particolare area o terreno erboso. Sia il tempo che la temperatura incidono sul livello di danneggiamento del prato.
Impostate la velocità del motore al minimo possibile per ottenere la pressione e il flusso desiderati. Ciò riduce al minimo il calore generato e la velocità dell'aria proveniente dalla ventola di raffreddamento.
Lasciate fuoriuscire il calore verso l'alto dal vano motore alzando il gruppo sedili durante il funzionamento da fermi anziché forzarne la fuoriuscita da sotto il veicolo.
Non sovrapponete le aree irrorate in precedenza.
Prestate attenzione agli ugelli ostruiti. Sostituite tutti gli ugelli usurati o danneggiati.
Prima di spegnere l'irroratrice, usate l'interruttore principale delle sezioni per interrompere il flusso del liquido. Una volta spenta l'irroratrice, utilizzate il comando dell'acceleratore del motore per mantenere la velocità del motore e continuare ad azionare l'agitatore.
Otterrete risultati migliori se l'irroratrice è in movimento quando accendete le sezioni di irrorazione.
Se un ugello si ostruisce durante l'irrorazione, pulitelo nel modo seguente:
Arrestate l'irroratrice su una superficie pianeggiante, spegnete il motore e innestate il freno di stazionamento.
Impostate l'interruttore principale delle sezioni in posizione di SPEGNIMENTO, quindi impostate l'interruttore della pompa dell’irroratrice in posizione di SPEGNIMENTO.
Togliete l'ugello ostruito e pulitelo usando un flacone vaporizzatore d'acqua e uno spazzolino.
Montate l’ugello.
Prima di abbandonare la postazione dell'operatore, attenetevi alle seguenti istruzioni:
Parcheggiate la macchina su terreno pianeggiante.
Inserite il freno di stazionamento.
Spegnete il motore e togliete la chiave (se in dotazione).
Attendete che tutte le parti in movimento si arrestino.
Prima di terminare il lavoro quotidiano con la macchina, eliminate i residui chimici dall'esterno con il lavaggio ed assicuratevi che il sistema sia stato neutralizzato e risciacquato tre volte in conformità con le raccomandazioni del produttore (o produttori) delle sostanze chimiche e che tutte le valvole abbiano eseguito il ciclo 3 volte; fate riferimento alla sezione sulla sicurezza chimica.
Lasciate raffreddare il motore prima del rimessaggio della macchina al chiuso.
Non rimessate mai la macchina o la tanica del carburante in luoghi in cui siano presenti fiamme aperte, scintille o spie, come uno scaldabagno o altri apparecchi.
Mantenete tutte le parti della macchina in buone condizioni operative e la bulloneria ben serrata.
Sostituite tutti gli adesivi usurati, danneggiati o mancanti.
Lavate la macchina secondo necessità con acqua soltanto oppure acqua con l'aggiunta di un detergente neutro. Potete utilizzare un panno per il lavaggio della macchina.
Important: Non utilizzate acqua salmastra o depurata per pulire la macchina.
Note: Non lavate la macchina utilizzando un'attrezzatura di lavaggio elettrica. che potrebbe danneggiare l'impianto elettrico, staccare adesivi importanti ed eliminare il grasso necessario nei punti di attrito. Non usate una quantità d’acqua eccessiva in prossimità della plancia, del motore e della batteria.
Important: Non lavate la macchina quando il motore gira. Il lavaggio della macchina con il motore avviato può causare danni interni al motore.
Arrestate l'irroratrice, inserite il freno di stazionamento, spegnete il motore e togliete la chiave.
Individuate la valvola di spurgo del serbatoio sul parafango posteriore sinistro della macchina (Figura 44).
Note: La valvola di spurgo è fissata alla relativa staffa, montata sul parafango posteriore sinistro.

Sollevate la valvola fino a liberare i prigionieri di montaggio dai relativi intagli nella staffa della valvola di spurgo, quindi tirate indietro la valvola (Figura 45A).

Allineate l’estremità della valvola al recipiente di spurgo e ruotate la leva della valvola in posizione di apertura (Figura 45B).
Una volta spurgato completamente il serbatoio, ruotate la leva della valvola di spurgo in posizione di chiusura e montate la valvola sulla staffa della valvola di spurgo (Figura 45B e Figura 45A).
Important: Smaltite gli agenti chimici del serbatoio dell’irroratrice in conformità con le normative locali e con le istruzioni del produttore del materiale.
| Cadenza di manutenzione | Procedura di manutenzione |
|---|---|
| Dopo ogni utilizzo |
|
Important: Utilizzate solo acqua pulita per la pulizia dell'irroratrice.
Important: Spurgate e lavate sempre l'irroratrice, compresi eventuali accessori dell'impianto di irrorazione installati, subito dopo ogni applicazione. Il mancato lavaggio e pulizia dell'irroratrice può permettere alle sostanze chimiche di essiccarsi e ostruire le tubazioni, i filtri, le valvole, i corpi degli ugelli, la pompa e altri componenti.
Utilizzate il kit di pulizia e lavaggio approvato per questa macchina. Contattate il vostro distributore Toro autorizzato per ulteriori informazioni.
Note: Le raccomandazioni e le istruzioni seguenti presuppongono che il kit di lavaggio Toro non sia installato.
Pulite il sistema di irrorazione ed eventuali accessori di irrorazione installati dopo ogni sessione di irrorazione. Per pulire correttamente l'impianto di irrorazione, effettuate le seguenti operazioni:
Completate 3 cicli di lavaggio separati.
Utilizzate i detergenti e neutralizzanti raccomandati dai produttori delle vostre sostanze chimiche.
Utilizzate acqua pura e pulita (senza detergenti o neutralizzanti) per il risciacquo finale.
Riempite il serbatoio con almeno 190 litri di acqua pulita e chiudete il coperchio.
Note: All'occorrenza potete versare nell'acqua un agente per pulitura o neutralizzante. Utilizzate solamente acqua bianca pulita per il risciacquo finale.
Abbassate le sezioni di irrorazione esterne in posizione di irrorazione.
Avviate il motore, impostate l'interruttore della pompa in posizione di ACCENSIONE e spostate la leva dell'acceleratore a un'alta velocità del motore.
Spostate l'interruttore dell'agitatore in posizione di ACCENSIONE.
Agite sull'interruttore del volume di applicazione per portare la pressione ad un valore alto.
Impostate gli interruttori delle singole sezioni e l'interruttore principale delle sezioni in posizione di ACCENSIONE.
Controllate gli ugelli per accertare che spruzzino tutti correttamente.
Lasciate che tutta l'acqua del serbatoio venga spruzzata attraverso gli ugelli.
Spostate l'interruttore principale delle sezioni in posizione di SPEGNIMENTO, impostate l'interruttore dell'agitatore e l'interruttore della pompa di irrorazione in posizione di SPEGNIMENTO e spegnete il motore.
Ripetete almeno altre due volte le voci da 1 a 9 per garantire la pulizia totale del sistema di irrorazione.
Important: Dovete sempre completare 3 cicli di lavaggio per garantire che il sistema e gli accessori di irrorazione siano completamente puliti, evitando danni all'impianto.
Pulite i filtri di aspirazione e della pressione; fate riferimento a Pulizia del filtro di aspirazione e Pulizia del filtro di pressione.
Important: Se usate prodotti chimici in polvere bagnabile, pulite il filtro dopo ogni riempimento del serbatoio.
Risciacquate l'esterno dell'irroratrice con acqua pulita usando un flessibile da giardino.
Togliete gli ugelli e puliteli a mano.
Note: Sostituite gli ugelli usurati o danneggiati.
Note: Se la vostra macchina è dotata di filtri degli ugelli opzionali, puliteli prima di montare gli ugelli: fate riferimento a Pulizia del filtro dell'ugello.
| Cadenza di manutenzione | Procedura di manutenzione |
|---|---|
| Prima di ogni utilizzo o quotidianamente |
|
Parcheggiate la macchina su terreno pianeggiante, inserite il freno di stazionamento, spegnete la pompa, spegnete il motore e togliete la chiave.
Nella parte superiore dell'irroratrice, rimuovete il fermo che fissa il raccordo del flessibile collegato al flessibile grande dall'alloggiamento del filtro (Figura 46).

Rimuovete il flessibile e il raccordo del flessibile dall'alloggiamento del filtro (Figura 46).
Estraete il filtro di aspirazione dall'alloggiamento del filtro nel serbatoio (Figura 47).

Pulite il filtro di aspirazione con acqua pulita.
Important: Sostituite il filtro se è danneggiato o se non può essere pulito.
Inserite il filtro di aspirazione nell'alloggiamento del filtro fino a quando il filtro stesso non è completamente in sede.
Allineate il flessibile e il relativo raccordo all'alloggiamento del filtro nella parte superiore del serbatoio e fissate il raccordo e l'alloggiamento con il fermo che avete rimosso al passaggio 2.
| Cadenza di manutenzione | Procedura di manutenzione |
|---|---|
| Prima di ogni utilizzo o quotidianamente |
|
Parcheggiate la macchina su terreno pianeggiante, inserite il freno di stazionamento, spegnete la pompa dell'irroratrice, spegnete il motore e togliete la chiave.
Allineate una bacinella di spurgo sotto il filtro della pressione (Figura 48).

Ruotate il tappo di spurgo in senso antiorario e rimuovetelo dal pozzetto del filtro della pressione (Figura 48).
Note: Fate spurgare completamente il pozzetto.
Ruotate il pozzetto in senso antiorario e rimuovete la testa del filtro (Figura 48).
Rimuovete l'elemento del filtro della pressione (Figura 48).
Pulite l'elemento del filtro della pressione con acqua pulita.
Important: Sostituite il filtro se è danneggiato o se non può essere pulito.
Controllate la guarnizione del tappo di spurgo (situato all'interno del pozzetto) e la guarnizione del pozzetto (situato all'interno della testa del filtro) per escludere danni e usura (Figura 48).
Important: Sostituite eventuali guarnizioni danneggiate o usurate per il tappo, il pozzetto o entrambi.
Montate l'elemento del filtro della pressione nella testa del filtro (Figura 48).
Note: Verificate che l'elemento del filtro sia saldamente in sede nella testa del filtro.
Montate il pozzetto sulla testa del filtro e serrate manualmente (Figura 48).
Montate il tappo di spurgo sul raccordo nella parte inferiore del pozzetto e serrate il tappo manualmente (Figura 48).
Parcheggiate la macchina su terreno pianeggiante, inserite il freno di stazionamento, spegnete la pompa dell'irroratrice, spegnete il motore e togliete la chiave.
Rimuovete l'ugello dalla torretta di irrorazione (Figura 49).

Rimuovete il filtro dell'ugello (Figura 49).
Pulite il filtro dell'ugello con acqua pulita.
Important: Sostituite il filtro se è danneggiato o se non può essere pulito.
Montate il filtro dell'ugello (Figura 49).
Note: Assicuratevi che il filtro sia completamente in sede.
Montate l'ugello sulla torretta di irrorazione (Figura 49).
| Cadenza di manutenzione | Procedura di manutenzione |
|---|---|
| Dopo ogni utilizzo |
|
Specifiche del condizionatore: “antigelo atossico per camper” a base di glicole propilenico con inibitore di corrosione
Important: Utilizzate solo glicole propilenico con inibitore di corrosione. Non utilizzate glicole propilenico riciclato. Non utilizzate un antigelo a base di glicole etilenico.Non utilizzate glicole propilenico con alcoli solubili (metanolo, etanolo o isopropanolo) o brine aggiunte.
Spostate la macchina su terreno pianeggiante, inserite il freno di stazionamento, spegnete il motore e togliete la chiave.
Aggiungete il condizionatore nel serbatoio, nel modo seguente:
Per l'antigelo per camper pronto all'uso (premiscelato) a base di glicole propilenico: aggiungete 38 litri di antigelo per camper a base di glicole propilenico nel serbatoio.
Per l'antigelo per camper a base di glicole propilenico concentrato, effettuate i seguenti passaggi:
Aggiungete una miscela di 38 litri di antigelo per camper a base di glicole propilenico e acqua nel serbatoio dell'irroratrice. Preparate la miscela antigelo come indicato dal produttore, per una concentrazione nominale adatta a un minimo di -45 °C.
Important: Utilizzate solo acqua pulita per la pulizia dell'irroratrice.
Avviate il motore e impostate l'interruttore della pompa di irrorazione in posizione di ACCENSIONE.
Premete il pedale dell'acceleratore per aumentare la velocità del motore.
Spostate l'interruttore dell'agitatore in posizione di ACCENSIONE.
Lasciate circolare la soluzione di condizionatore e acqua per 3 minuti o più.
Strumento raccomandato: un contenitore di raccolta trasparente.
Spostate la macchina nell'area di spurgo e inserite il freno di stazionamento.
Abbassate le sezioni delle barre esterne.
Impostate gli interruttori delle sezioni di sinistra, destra e centrale e l'interruttore principale delle sezioni in posizione di ACCENSIONE.
Lasciate in funzione l'impianto di irrorazione fino a quando gli ugelli continuano a scaricare il condizionatore.
Note: La maggior parte degli antigeli per camper a base di glicole propilenico è di colore rosa. Utilizzate il contenitore di raccolta per prelevare un campione di scarico dell'irroratrice da vari ugelli.
Spegnete l'interruttore principale delle sezioni, i 3 interruttori delle sezioni, l'interruttore dell'agitatore, l'interruttore della pompa di irrorazione e il motore.
Utilizzate un rimorchio o un autocarro se spostate la macchina per lunghe distanze.
Utilizzate rampe di larghezza massima per caricare la macchina su un rimorchio o un autocarro.
Fissate le sezioni di irrorazione esterne ai supporti di trasferimento delle sezioni delle barre.
Legate in modo sicuro la macchina al veicolo di trasporto; Figura 50 e Figura 51 illustrate i punti di ancoraggio della macchina.


In caso di emergenza l'irroratrice può essere trainata per una breve distanza dopo avere aperto la valvola di traino. Sconsigliamo tuttavia di effettuare il traino adottandolo come procedura standard.
Il traino a velocità eccessive può causare la perdita del controllo di sterzata, e causare infortuni.
Non trainate mai l'irroratrice a una velocità superiore a 4,8 km/h.
Il traino dell’irroratrice deve essere effettuato da due persone. Se dovete spostare la macchina per una considerevole distanza, trasportatela su un autocarro o un rimorchio; fate riferimento a Trasporto della macchina.
Attendete che il sistema di scarico si raffreddi completamente.
Rimuovete la copertura del carrello; vedere Rimozione della copertura del carrello.
Ruotate la valvola di traino (Figura 52) di 90° in una direzione per aprirla.

Important: Se non aprite la valvola di traino prima di trainare l'irroratrice, danneggerete la trasmissione.
Applicate un cavo di traino al telaio; fate riferimento ai punti di traino anteriori e posteriori (Figura 53 e Figura 54).


Rilasciate il freno di stazionamento.
Trainate l'irroratrice a velocità inferiori a 4,8 km/h.
Al termine, chiudete la valvola di traino e serratela a un valore di 7–11 N∙m.
Important: Prima di riprendere il lavoro con la macchina, montate la copertura del carrello, vedere Montaggio della copertura del carrello.
Note: Scaricate una copia gratuita dello schema elettrico o idraulico visitando il sito www.Toro.com e cercando la vostra macchina dal link Manuali sulla home page.
Important: Per ulteriori interventi di manutenzione si rimanda al manuale d'uso del motore.
Note: Stabilite i lati sinistro e destro della macchina dalla normale posizione di guida.
Prima di abbandonare la postazione dell'operatore, attenetevi alle seguenti istruzioni:
Parcheggiate la macchina su terreno pianeggiante.
Spostate la trasmissione in posizione di FOLLE (manuale) o di PARCHEGGIO (automatica).
Inserite il freno di stazionamento.
Spegnete il motore e togliete la chiave (se in dotazione).
Attendete che tutte le parti in movimento si arrestino.
Lasciate che i componenti della macchina si raffreddino prima di effettuare la manutenzione.
Le operazioni di manutenzione, riparazione, regolazione o ispezione della macchina devono essere eseguite esclusivamente da personale qualificato e autorizzato.
Prima di eseguire qualsiasi intervento di manutenzione, pulite e risciacquate accuratamente l'irroratrice; fate riferimento alla sezione Sicurezza chimica.
Le sostanze chimiche utilizzate nel sistema di irrorazione possono essere pericolose e tossiche per voi, gli astanti, animali, piante, suolo o altri beni.
Leggete e seguite attentamente quanto riportato sulle etichette di avvertenza e nella scheda di sicurezza (SDS) di tutte le sostanze chimiche utilizzate; proteggetevi in conformità con le raccomandazioni del produttore di tali sostanze.
Proteggete sempre la vostra pelle quando in prossimità di sostanze chimiche. Per proteggervi dal contatto con sostanze chimiche utilizzate dispositivi di protezione individuale (DPI), tra cui i seguenti:
occhiali di protezione, occhiali a maschera, e/o maschera protettiva
una tuta di protezione chimica
un respiratore o una maschera filtrante
guanti resistenti alle sostanze chimiche
stivali di gomma o altre calzature robuste
un cambio d'abiti pulito, sapone e asciugamani monouso per la pulizia
Rifiutatevi di operare o lavorare sull'irroratrice se non sono disponibili le informazioni di sicurezza chimica.
Non riempite, tarate o pulite la macchina mentre nella zona sono presenti persone, in particolare bambini, o animali domestici.
Maneggiate i prodotti chimici in un ambiente ben ventilato.
Fate in modo che sia sempre disponibile acqua pulita, soprattutto durante il riempimento del serbatoio di irrorazione.
Non mangiate, bevete o fumate durante il lavoro in prossimità di sostanze chimiche.
Non pulite gli ugelli di irrorazione soffiandovi attraverso o mettendoveli in bocca.
Lavatevi sempre le mani e altre aree esposte non appena possibile dopo il lavoro con sostanze chimiche.
I prodotti chimici e le esalazioni sono pericolosi. Non entrate mai nel serbatoio e non mettete mai la testa sopra o all'interno del foro di apertura.
Per garantire che l'intera macchina sia in buone condizioni, mantenete tutta la bulloneria correttamente serrata.
Per ridurre il potenziale di incendi, tenete l'area del motore priva di grasso in eccesso, sostanze chimiche, erba, foglie e sporcizia.
Se dovete tenere il motore in funzione per l'esecuzione di eventuali regolazioni di manutenzione, tenete mani, piedi, abbigliamento e qualsiasi parte del corpo a distanza dal motore ed eventuali parti in movimento. Tenete a distanza gli astanti.
Non regolate la velocità di avanzamento della macchina. Per garantire sicurezza e precisione, fate controllare la velocità di avanzamento a un distributore Toro autorizzato.
Se la macchina dovesse necessitare di importanti interventi di riparazione o se desiderate ricevere assistenza tecnica, contattate un distributore Toro autorizzato.
La modifica di questa macchina in qualsiasi modo può influire su funzionamento, prestazioni, durata oppure utilizzo della macchina stessa e comportare infortuni o la morte. Un tale utilizzo può rendere nulla la garanzia del prodotto.
Supportate la macchina con cavalletti ogniqualvolta lavorate sotto di essa.
Scaricate con cautela la pressione dai componenti che hanno accumulato energia.
| Cadenza di manutenzione | Procedura di manutenzione |
|---|---|
| Dopo le prime 8 ore |
|
| Dopo le prime 50 ore |
|
| Dopo le prime 100 ore |
|
| Dopo le prime 200 ore |
|
| Prima di ogni utilizzo o quotidianamente |
|
| Dopo ogni utilizzo |
|
| Ogni 50 ore |
|
| Ogni 100 ore |
|
| Ogni 200 ore |
|
| Ogni 400 ore |
|
| Ogni 800 ore |
|
| Ogni 1000 ore |
|
| Ogni 2000 ore |
|
| Ogni anno |
|
Fotocopiate questa pagina e utilizzatela quando opportuno.
|
Punto di verifica per la manutenzione |
Per la settimana di: |
||||||
|---|---|---|---|---|---|---|---|
|
Monday (lunedì) |
Tuesday (martedì) |
Wednesday (mercoledì) |
Thursday (giovedì) |
Friday (venerdì) |
Saturday (sabato) |
Sunday (domenica) |
|
|
Controllate il funzionamento del freno e del freno di stazionamento. | |||||||
|
Controllate il funzionamento dell'interruttore di blocco in folle. | |||||||
|
Controllate il livello del carburante. | |||||||
|
Controllate il livello dell'olio motore. | |||||||
|
Controllate il livello del fluido idraulico. | |||||||
|
Controllate il livello del refrigerante. | |||||||
|
Ispezionate il filtro dell'aria. | |||||||
|
Ispezionate il radiatore e lo scambiatore di calore dell'olio per detriti. | |||||||
|
Controllate l'eventuale presenza di rumori anomali del motore. | |||||||
|
Controllate l'eventuale presenza di rumori operativi anomali. | |||||||
|
Controllate la pressione d'aria degli pneumatici. | |||||||
|
Verificate che non ci siano perdite di liquido. | |||||||
|
Controllate che tutti i flessibili del fluido e i flessibili idraulici non presentino danni, piegature o usura. | |||||||
|
Verificate il funzionamento degli strumenti. | |||||||
|
Verificate il funzionamento dell'acceleratore. | |||||||
|
Pulite il filtro di aspirazione. | |||||||
|
Lubrificate tutti gli ingrassatori1 | |||||||
|
Lavate la macchina. | |||||||
|
Ritoccate la vernice danneggiata. | |||||||
1Immediatamente dopo ogni lavaggio, indipendentemente dalla cadenza indicata
| Ispezione effettuata da: | ||
| N. | Data | Informazioni |
| 1 | ||
| 2 | ||
| 3 | ||
| 4 | ||
| 5 | ||
| 6 | ||
| 7 | ||
| 8 | ||
| 9 | ||
| 10 | ||
Se lasciate la chiave nell'interruttore di avviamento, qualcuno potrebbe accidentalmente avviare il motore e ferire gravemente voi od altre persone.
Togliete la chiave dall'interruttore di avviamento prima di ogni intervento di manutenzione.
Ogni volta che il motore è in funzione per un intervento di manutenzione di routine e/o diagnostica, le ruote posteriori dell'irroratrice devono essere sollevate di 25 mm da terra con l'assale posteriore supportato su cavalletti.
Quando è posta su un martinetto, l'irroratrice può essere instabile e scivolare, ferendo chiunque vi si trovi sotto.
Togliete sempre la chiave dall'interruttore di avviamento prima di scendere dall'irroratrice.
Bloccate i pneumatici quando l'irroratrice si trova su un martinetto.
Supportate la macchina con dei cavalletti metallici.
Il punto di sollevamento nella parte anteriore dell'irroratrice si trova sotto l'asse anteriore, direttamente sotto le molle a foglia (Figura 55).

Il punto di sollevamento nella parte posteriore dell'irroratrice si trova sul lato posteriore in cui sono situati i supporti delle barre (Figura 56).

Inserite il freno di stazionamento, spegnete la pompa di irrorazione, spegnete il motore e togliete la chiave.
Sollevate la parte anteriore e posteriore della macchina e sostenetela con cavalletti metallici; fate riferimento a Sollevamento dell'irroratrice.
Rimuovete i 6 bulloni a testa esagonale e le 6 rondelle che fissano lo schermo termico anteriore avanti allo chassis e rimuovete lo schermo (Figura 57).
Note: Conservate bulloni, rondelle e schermo termico per l'installazione in Montaggio dello schermo termico anteriore.

Allineate la flangia posteriore dello schermo termico anteriore sopra alla flangia anteriore dello schermo termico posteriore (Figura 58).

Allineate i fori sullo schermo termico anteriore con i fori filettati nello chassis (Figura 58).
Montate lo schermo termico anteriore alla macchina con i 6 bulloni a testa esagonale e le 6 rondelle (Figura 58) rimossi al passaggio 3 della sezione Rimozione dello schermo termico anteriore.
Serrate i bulloni a 1978–2542 N∙cm.
Rimuovete i cavalletti metallici e abbassate la macchina.
Rimuovete i 5 bulloni a testa flangiata (5/16" x ⅝") e le 7 rondelle (5/16") che fissano la parte posteriore della copertura del carrello al telaio della macchina (Figura 59).
Note: Conservate i bulloni a testa flangiata e le rondelle per l'installazione alla fase 5 di Montaggio della copertura del carrello.


Rimuovete i 4 dadi di bloccaggio flangiati (5/16") dai bulloni e il bullone a testa tonda che fissano le alette di montaggio della copertura del carrello alle staffe di supporto del motore della macchina (Figura 60).
Note: Non rimuovete i bulloni dalla macchina. Conservate i dadi di bloccaggio flangiati per l'installazione alla fase 3 di Montaggio della copertura del carrello.

Spostate le alette di montaggio dai bulloni che fissano la copertura del carrello alle staffe di supporto del motore.
Rimuovete la copertura del carrello dalla macchina (Figura 59 e Figura 60).
Allineate la copertura del carrello al telaio inferiore della macchina; vedere Figura 60 in Rimozione della copertura del carrello.
Spostate le alette di montaggio della copertura del carrello sui bulloni e il bullone a testa tonda nelle staffe di supporto del motore della macchina; fate riferimento a Figura 60 in Rimozione della copertura del carrello.
Montate la copertura del carrello sulle staffe di supporto del motore e i bulloni (Figura 60) con i 4 dadi di bloccaggio flangiati (5/16") che avete rimosso al passaggio 2 della sezione Rimozione della copertura del carrello.
Allineate i fori nella parte posteriore della copertura del carrello ai fori sul telaio; vedere Figura 59 in Rimozione della copertura del carrello.
Montate la parte posteriore della copertura del carrello sul telaio (Figura 59) con i 5 bulloni a testa flangiata (5/16" x ⅞") e le 7 rondelle (5/16") che avete rimosso al passaggio 1 in Rimozione della copertura del carrello.
Serrate i dadi e i bulloni a una coppia di 11,30–15,82 N∙m.
Allineate i fori nel pannello di accesso alla base del sedile con i fori nella base del sedile (Figura 61).
Montate il pannello di accesso alla base del sedile sulla base del sedile con i 2 bulloni a testa flangiata (Figura 61) rimossi al passaggio 1 di Rimozione del pannello di accesso alla base del sedile.
Serrate i bulloni a 19,78–25,42 N∙m.
| Cadenza di manutenzione | Procedura di manutenzione |
|---|---|
| Ogni 50 ore |
|
Tipo di grasso: Mobil XHP 461.
| Cadenza di manutenzione | Procedura di manutenzione |
|---|---|
| Ogni 50 ore |
|
Tipo di grasso: grasso n. 2 a base di litio. Il grasso universale Toro Premium è disponibile presso il vostro distributore Toro.
Cilindro di orientazione – 2 raccordi di ingrassaggio a ciascuna estremità del cilindro
Barra dello sterzo – 2 raccordi di ingrassaggio a ciascuna estremità
Fuso a snodo – 2 raccordi di ingrassaggio su ciascun lato della macchina
Pulite con un panno i raccordi di ingrassaggio (Figura 63 e Figura 64).
Pompate del grasso nel raccordo di ingrassaggio (Figura 63 e Figura 64).
Asportate il grasso superfluo.
Note: La posizione dei raccordi di ingrassaggio è illustrata nella Figura 63.


| Cadenza di manutenzione | Procedura di manutenzione |
|---|---|
| Ogni 100 ore |
|
Important: Se la cerniera della barra viene lavata con acqua, eliminate tutta l'acqua e i detriti dal gruppo cerniera e deve essere applicato nuovo grasso.
Tipo di grasso: grasso n. 2 a base di litio.
Pulite i raccordi d'ingrassaggio, in modo che corpi estranei non possano essere forzati nel cuscinetto o nella boccola.
Pompate del grasso nel raccordo di ogni cuscinetto o boccola (Figura 65).

Asportate il grasso superfluo.
Ripetete l'operazione per le articolazioni di ogni barra.
| Cadenza di manutenzione | Procedura di manutenzione |
|---|---|
| Ogni 400 ore |
|
Tipo di grasso: grasso n. 2 a base di litio.
Abbassate le sezioni di irrorazione esterne in posizione di IRRORAZIONE.
Staccate la coppiglia dal perno con testa (Figura 66).
Sollevate la sezione, rimuovete il perno con testa e lentamente abbassate a terra la sezione (Figura 66).
Ispezionate il perno per escludere danni e sostituitelo se necessario.

Ruotate il cuscinetto terminale dell'asta e applicate del grasso sul cuscinetto (Figura 67).
Note: Asportate il grasso superfluo.

Sollevate la sezione di irrorazione per allineare il perno con l'asta dell'attuatore.
Supportando la sezione di irrorazione, inserite il perno con testa attraverso il perno della barra e l'asta dell'attuatore (Figura 66).
Con il perno in posizione, rilasciate la sezione di irrorazione e fissate il perno con testa con la coppiglia rimossa in precedenza.
Ripetete i passaggi da 2 a 8 nel cuscinetto dell'asta dell'attuatore sull'altro lato della macchina.
Spegnete il motore prima di controllare l'olio o aggiungere olio nella coppa.
| Cadenza di manutenzione | Procedura di manutenzione |
|---|---|
| Prima di ogni utilizzo o quotidianamente |
|
Inserite il freno di stazionamento, spegnete la pompa di irrorazione, spegnete il motore e togliete la chiave.
Inclinate in avanti il sedile del passeggero e allineate l'asta di supporto nell'arresto della scanalatura della guida dell'asta di supporto.
Pulite il coperchietto antipolvere e il corpo del filtro dell'aria (Figura 68).

Controllate il corpo del filtro dell'aria per escludere danni che possano causare una perdita d'aria (Figura 68).
Note: Sostituite il coperchietto antipolvere e il corpo del filtro dell'aria se sono danneggiati.
Comprimete la valvola antipolvere per pulirla da sporcizia, polvere e detriti (Figura 68).
Allentate i 2 fermi che fissano il coperchietto antipolvere al corpo del filtro dell'aria.
Verificate l'elemento del filtro dell'aria per escludere un eccessivo accumulo di polvere, sporcizia e detriti (Figura 68).
Note: Non pulite l'elemento del filtro dell'aria se è sporco; al contrario, sostituitelo.
Montate il coperchietto antipolvere sul corpo del filtro dell'aria e fissatelo con i 2 fermi (Figura 68).
Note: Assicuratevi che la valvola antipolvere sia allineata tra le posizioni a ore 5 e ore 7 vista dall'estremità.
Abbassate il sedile del passeggero.
| Cadenza di manutenzione | Procedura di manutenzione |
|---|---|
| Ogni 100 ore |
|
Se state montando un nuovo filtro, ispezionatene l'elemento per escludere danni di spedizione, inclusa l'estremità della guarnizione del filtro.
Important: Non installate un filtro danneggiato.
Pulite il coperchietto antipolvere e il corpo del filtro dell'aria (Figura 68).
Sollevate il serbatoio di troppopieno del refrigerante ed estraetelo dalla staffa di supporto del serbatoio (Figura 69).

Allentate i 2 fermi che fissano il coperchietto antipolvere al corpo del filtro dell'aria (Figura 69).
Fate scorrere delicatamente l'elemento del filtro usato dal corpo del filtro dell'aria per ridurre la quantità di polvere spostata.
Note: Evitate di sbattere l'elemento del filtro contro il corpo del filtro dell'aria.
Pulite l'interno del coperchietto antipolvere, corpo del filtro dell'aria e valvola antipolvere con un panno umido (Figura 68 e Figura 69).
Inserite l'elemento del filtro dell'aria nel corpo del filtro dell'aria (Figura 69).
Note: Assicuratevi che il filtro sia correttamente in sede sul corpo del filtro dell'aria applicando pressione sul bordo esterno dell'elemento del filtro quando lo montate. Non premete sulla parte centrale flessibile del filtro.
Montate il coperchio sul corpo del filtro dell'aria e fissatelo con i 2 fermi (Figura 69).
Note: Assicuratevi che la valvola antipolvere sia allineata tra le posizioni a ore 5 e ore 7 vista dall'estremità (Figura 69).
Allineate il serbatoio di troppopieno del refrigerante alla staffa di supporto del serbatoio e posizionatelo saldamente (Figura 69).
Important: Assicuratevi che il flessibile di sfiato della pressione sia disposto in avanti e verso il basso e che il flessibile di sfiato del serbatoio sia disposto indietro, come illustrato nella Figura 69.
Abbassate il sedile del passeggero.
Tipo di olio: API service CH-4, CI-4 o superiori.
Viscosità preferita dell'olio: SAE 15W-40 (sopra -18 °C)
Viscosità alternativa dell'olio: SAE 10W-30 o 5W-30 (tutte le temperature)
L'olio motore Toro Premium è reperibile dal vostro distributore, con viscosità 15W40 o 10W30. I numeri degli elementi sono riportati nel catalogo dei pezzi.
| Cadenza di manutenzione | Procedura di manutenzione |
|---|---|
| Prima di ogni utilizzo o quotidianamente |
|
Note: Il momento migliore per controllare l'olio del motore è a motore freddo prima che venga avviato per la giornata. Se il motore è stato in funzione, lasciate che l'olio ritorni nel pozzetto per almeno 10 minuti prima di controllare.
Alla spedizione del motore viene messo dell'olio nella coppa, tuttavia dovrete controllarne il livello prima di avviare il motore per la prima volta e dopo.
Parcheggiate la macchina su terreno pianeggiante.
Togliete l'asta di livello, situata sotto il sedile passeggero, ed asciugatela con un panno pulito (Figura 70).
Note: Inserite l'asta nel tubo e verificate che sia inserita a fondo. Rimuovete l'asta e controllate il livello dell'olio.


Se il livello dell'olio è basso, rimuovete il tappo di riempimento dal coperchio della valvola e versate olio nel collo del bocchettone fino a quando il livello dell'olio non raggiunge il segno di pieno sull'asta di livello (Figura 71).
Note: Versate l'olio lentamente, controllando spesso il livello durante questa operazione. Non riempite troppo.

Montate il tappo di riempimento dell'olio.
Rimontate saldamente l'asta di livello.
| Cadenza di manutenzione | Procedura di manutenzione |
|---|---|
| Dopo le prime 50 ore |
|
| Ogni 200 ore |
|
Rimuovete lo schermo termico anteriore; vedere Rimozione dello schermo termico anteriore.
Sollevate i sedili.
Se è stato utilizzato l'irroratrice, le parti sotto il sedile saranno molto calde. In caso di contatto, potreste ustionarvi.
Lasciate che l'irroratrice si raffreddi prima di eseguire interventi di manutenzione o di toccare le parti sotto il cofano.
Allineate una bacinella di spurgo sotto il filtro dell'olio del motore (Figura 72).

Togliete il vecchio filtro dell'olio (Figura 72).
Note: Consegnate il filtro dell'olio usato ad un centro di raccolta autorizzato.
Pulite la superficie dell'adattatore del filtro dell'olio del motore con un panno.
Riempite il filtro dell'olio con l'olio specificato.
Note: Fate riempire d'olio l'elemento del filtro.
Spalmate un velo di olio specificato sulla guarnizione di gomma del filtro dell'olio di ricambio.
Montate il filtro dell'olio nell'adattatore del filtro, giratelo in senso orario finché la guarnizione di gomma non sfiora l'adattatore, quindi serrate il filtro di un altro ½ giro (Figura 72).
Note: Non serrate troppo il filtro dell'olio.
Tergete eventuale olio residuo.
4,6 litri con il filtro; fate riferimento a Specifiche dell’olio motore.
| Cadenza di manutenzione | Procedura di manutenzione |
|---|---|
| Dopo le prime 50 ore |
|
| Ogni 200 ore |
|
Allineate una bacinella di spurgo sotto il tappo di spurgo (Figura 72).
Rimuovete il tappo di spurgo e lasciate che l'olio venga spurgato completamente (Figura 72).
Note: Controllate la guarnizione del tappo di spurgo per escludere usura e danni; sostituitela se usurata o danneggiata.
Note: Smaltite l'olio usato in un centro di raccolta autorizzato.
Inserite il tappo di spurgo nel relativo foro della bacinella dell'olio motore e serrate il tappo a 33–37 N∙m.
Inclinate in avanti il sedile del passeggero e allineate l'asta di supporto nell'arresto della scanalatura della guida dell'asta di supporto.
Rimuovete il tappo di riempimento dell'olio dal collo del bocchettone del coperchio della valvola del motore e lentamente versate circa l'80% della quantità d'olio specificata nel collo del bocchettone (Figura 73).

Rimuovete l'asta e controllate il livello dell'olio nel motore (Figura 74).

Aggiungete lentamente olio aggiuntivo specificato per portare il livello fino al segno Full sull'asta di livello (Figura 74).
Important: Il riempimento eccessivo dell'olio può causare danni al motore.
Montate il tappo di riempimento dell'olio sul collo del bocchettone (Figura 73).
Montate lo schermo termico anteriore; fate riferimento a Montaggio dello schermo termico anteriore.
| Cadenza di manutenzione | Procedura di manutenzione |
|---|---|
| Ogni 400 ore |
|
Completate tutti gli interventi di manutenzione annuale riportati nel Manuale d'uso del motore.
In determinate condizioni, la benzina e i relativi vapori sono estremamente infiammabili ed esplosivi. Un incendio o un'esplosione possono ustionare voi ed altre persone e causare danni.
Utilizzate un imbuto e fate il pieno di carburante all'aria aperta, a motore spento e freddo, e tergete il carburante versato.
Non riempite completamente il serbatoio. Versate carburante nel serbatoio fino a 2,5 cm sotto la base del bocchettone di riempimento. Questo spazio servirà ad assorbire l'espansione del carburante.
Non fumate mai quando maneggiate il carburante e tenetevi a distanza da fiamme aperte o luoghi dove scintille possano accendere i vapori di carburante.
Conservate il carburante in un apposito contenitore pulito approvato per la sicurezza e mettete il tappo.
| Cadenza di manutenzione | Procedura di manutenzione |
|---|---|
| Dopo le prime 50 ore |
|
| Ogni 400 ore |
|
Ispezionate le tubazioni e i raccordi per escludere deterioramento, danni o collegamenti allentati.
Note: In presenza di fuoriuscite di carburante, riparate il/i componente/i interessati prima di mettere in funzione la macchina.
Note: Assicuratevi che il serbatoio del carburante sia pieno almeno a metà.
Inserite il freno di stazionamento, spegnete la pompa di irrorazione, spegnete il motore e togliete la chiave.
Rimuovete lo schermo termico anteriore; vedere Rimozione dello schermo termico anteriore.
Inclinate in avanti il sedile del passeggero e allineate l'asta di supporto nell'arresto della scanalatura della guida dell'asta di supporto.
Allineate una bacinella di spurgo sotto il filtro del carburante; fate riferimento a Figura 77 nella sezione Sostituzione del filtro del separatore di condensa.
Allentate il tappo di sfiato sopra al separatore carburante/condensa (Figura 75)..

Ruotate la chiave nell'interruttore dello starter in posizione di ACCENSIONE.
Note: La pompa elettrica del carburante inizierà a far fuoriuscire l'aria attorno al tappo di sfiato. Lasciate la chiave in posizione di ACCENSIONE fino a quando non fuoriesce un flusso costante di carburante attorno al tappo di sfiato.
Serrate il tappo di sfiato e ruotate l'interruttore dello starter in posizione di SPEGNIMENTO (Figura 75).
Allineate la bacinella di spurgo sotto la porzione della pompa di iniezione del carburante del motore (Figura 76).

Aprite la vite di spurgo dell'aria nella pompa di iniezione del carburante (Figura 76).
Ruotate la chiave nell'interruttore dello starter in posizione di ACCENSIONE.
Note: La pompa elettrica del carburante inizia il funzionamento, facendo fuoriuscire l'aria attorno alla vite di spurgo sulla pompa di iniezione del carburante.
Lasciate la chiave in posizione di ACCENSIONE fino a quando non fuoriesce un flusso costante di carburante attorno alla vite di spurgo (Figura 76).
Serrate la vite di spurgo (Figura 76) e girate la chiave sulla posizione di SPEGNIMENTO.
Note: Generalmente, il motore si avvia dopo che avrete svuotato il sistema di alimentazione. Tuttavia, se il motore non si avvia, potrebbe esserci dell'aria rimasta nella pompa d'iniezione e negli iniettori; vedere Svuotamento dell'aria dagli iniettori.
Questa procedura va eseguita solo dopo avere spurgato l'aria nel sistema del carburante e il motore non si avvia; fate riferimento a Spurgo dell'impianto di alimentazione.
Allineate una bacinella di spurgo sotto la parte destra del motore.
Allentate il dado del tubo nell'ugello dell'iniettore del carburante n. 1 e il gruppo di supporto.
Mettete l'acceleratore in posizione VELOCE.
Ruotate la chiave nell'interruttore a chiave in posizione di AVVIAMENTO e osservate il flusso di carburante attorno al connettore.
Ruotate la chiave in posizione di SPEGNIMENTO quando osservate un flusso costante di carburante.
Serrate il dado del tubo.
Pulite il carburante residuo dall'area attorno all'iniettore del carburante.
Ripetete i passaggi da 2 a 7 per gli ugelli di iniezione del carburante rimanenti.
Montate lo schermo termico anteriore; fate riferimento a Montaggio dello schermo termico anteriore.
| Cadenza di manutenzione | Procedura di manutenzione |
|---|---|
| Ogni 400 ore |
|
Rimuovete lo schermo termico anteriore; vedere Rimozione dello schermo termico anteriore.
Posizionate una bacinella di spurgo sotto il filtro del separatore di condensa (Figura 77).

Ruotate la valvola di spurgo nella parte inferiore del filtro del separatore di condensa in senso antiorario (Figura 77).
Note: Lasciate spurgare completamente il carburante dal filtro, poi chiudete la valvola.
Pulite l'area attorno al filtro del separatore di condensa e il supporto dell'adattatore del filtro (Figura 77).
Rimuovete il filtro del separatore di condensa (Figura 77).
Note: Consegnate il carburante e la scatola del filtro usati a un centro di raccolta autorizzato.
Pulite la superficie di appoggio dell'adattatore del filtro.
Lubrificate la guarnizione sul filtro del separatore di condensa con olio motore pulito.
Installate il filtro a mano fino a quando la guarnizione non è a contatto con la superficie di montaggio, poi ruotate il filtro di un altro 1/2 giro.
Assicuratevi che la valvola di spurgo nella parte inferiore del filtro del separatore di condensa sia ruotata saldamente in senso orario (Figura 77).
| Cadenza di manutenzione | Procedura di manutenzione |
|---|---|
| Ogni 400 ore |
|
Note: Il filtro del carburante fa parte del gruppo raccordo tubo.
Inserite il freno di stazionamento, spegnete la pompa di irrorazione, spegnete il motore e togliete la chiave.
Nel serbatoio del carburante, rimuovete le 4 viti (n. 10 x ¾") che fissano il coperchio alla parte superiore del serbatoio del carburante e rimuovete il coperchio (Figura 78A).

Allentate i morsetti che fissano i 2 flessibili del carburante ai 2 raccordi dei flessibili nella parte superiore del gruppo raccordo tubo (Figura 78).
Scollegate i 2 flessibili dai relativi raccordi e lasciate spurgare eventuale carburante nei flessibili in un contenitore per carburante approvato (Figura 78B).
Ruotate il tappo del raccordo tubo/trasmettitore del carburante in senso antiorario, poi rimuovete il tappo (Figura 79).

Sollevate il gruppo del raccordo tubo/trasmettitore del carburante dal serbatoio del carburante (Figura 79).
Note: Eliminate il vecchio gruppo raccordo tubo.
Note: Ottenete il nuovo gruppo del tubo dal distributore Toro autorizzato di zona. A volte occorre una guarnizione nuova per fissare il raccordo a gomito e il gruppo raccordo tubo alla parte superiore del serbatoio del carburante.
Montate il tappo del tubo sopra il tubo stesso e quest'ultimo sulla guarnizione (Figura 79).
Allineate il tappo, il tubo e la guarnizione al serbatoio e, con attenzione, inserite il nuovo gruppo del tubo nel serbatoio del carburante (Figura 79).
Note: Allineate i raccordi dei flessibili verso l'asse della macchina.
Avvitate il tappo sul collo del serbatoio del carburante e serratelo manualmente (Figura 79).
Montate il flessibile del carburante da 6,4 mm sul raccordo del flessibile da 6,4 mm, poi fissate il flessibile al raccordo con il morsetto (Figura 78B).
Montate il flessibile del carburante da 8 mm sul raccordo del flessibile da 8 mm, poi fissate il flessibile al raccordo con il morsetto (Figura 78B).
Montate il coperchio sul serbatoio (Figura 78A) con le 4 viti (n. 10 x ¾") che avete rimosso al passaggio 2 di Rimozione del filtro carburante nel serbatoio.
Serrate le viti a 1,13 N∙m.
| Cadenza di manutenzione | Procedura di manutenzione |
|---|---|
| Ogni 400 ore |
|
Spurgate e pulite il serbatoio del carburante se il sistema di alimentazione diventa contaminato o se prevedete il rimessaggio della macchina per un lungo periodo. Durante la pulizia del serbatoio del carburante, utilizzate carburante nuovo e pulito per lavare il serbatoio.
Trasferite il carburante dal serbatoio in un contenitore del carburante appropriato utilizzando una pompa a sifone o rimuovete il serbatoio dalla macchina e versate il carburante dall'erogatore di riempimento del serbatoio in un contenitore per carburante.
Note: Se rimuovete il serbatoio del carburante, dovrete rimuovere i flessibili di mandata e di ritorno del carburante dal gruppo del tubo prima di rimuovere il serbatoio; fate riferimento ai passaggi da 1 a 4 in Rimozione del filtro carburante nel serbatoio.
Sostituite i filtri del carburante; vedere Sostituzione del filtro del separatore di condensa.
Se necessario, lavate il serbatoio del carburante con carburante nuovo e pulito.
Installate il serbatoio se l'avete estratto; fate riferimento ai passaggi da 1 a 5 nella sezione Rimozione del filtro carburante nel serbatoio.
Riempite il serbatoio del carburante con carburante fresco e pulito.
Scollegate la batteria prima di riparare la macchina. Scollegate prima il morsetto negativo, per ultimo quello positivo. Collegate prima il morsetto positivo e per ultimo quello negativo.
Caricate la batteria in un'area aperta e ben ventilata, lontano da scintille e fiamme. Scollegate il caricabatteria prima di collegare o scollegare la batteria.
Indossate indumenti di protezione e utilizzate attrezzi isolati.
Il portafusibili dell'impianto elettrico è situato sotto al sedile dell'operatore (Figura 80).

| Cadenza di manutenzione | Procedura di manutenzione |
|---|---|
| Ogni 50 ore |
|
Tenete sempre la batteria carica e pulita. Pulite la batteria e la cassetta con salviette di carta. Se i morsetti delle batterie presentano segni di corrosione, puliteli con una soluzione di 4 parti di acqua ed 1 di bicarbonato di sodio. Lubrificate leggermente i morsetti della batteria con del grasso per prevenirne la corrosione.
Tensione: 12 V con 690 A per avviamento a freddo a -18 °C
Posizionate l'irroratrice su terreno pianeggiante, inserite il freno di stazionamento, spegnete la pompa di irrorazione, spegnete il motore e togliete la chiave.
Rimuovete il coperchio della batteria e scollegate il cavo di messa a terra negativo (nero) dal polo della batteria (Figura 81).

Se il percorso dei cavi della batteria è errato, le scintille possono danneggiare l'irroratrice e i cavi. che possono fare esplodere i gas della batteria e causare infortuni.
Scollegate sempre il cavo negativo (nero) della batteria prima di quello positivo (rosso).
Collegate sempre il cavo positivo (rosso) della batteria prima di quello negativo (nero).
I morsetti della batteria e gli attrezzi metallici possono creare cortocircuiti contro i componenti metallici dell'irroratrice, e provocare scintille che possono fare esplodere i gas delle batterie e causare infortuni.
In sede di rimozione o montaggio della batteria, impedite ai morsetti di toccare le parti metalliche dell'irroratrice.
Non lasciate che gli attrezzi metallici creino cortocircuiti fra i terminali della batteria e le parti metalliche dell'irroratrice.
Tenete sempre correttamente posizionata la cinghia della batteria in modo da proteggerla e fissarla saldamente.
Staccate il cavo positivo (rosso) dal polo della batteria.
Togliete la batteria.
Collocate la batteria sulla relativa cassetta in modo che i poli siano rivolti lontano dall'irroratrice.
Collegate il cavo positivo (rosso) al polo positivo (+) della batteria, e il cavo negativo (nero) al polo negativo (–), utilizzando i bulloni e i dadi.
Fate scorrere la guaina isolante sul polo positivo della batteria.
Montate il coperchio della batteria e fissatelo con la cinghia rimossa in precedenza (Figura 81).
Important: Tenete sempre correttamente posizionata la cinghia della batteria in modo da proteggerla e fissarla saldamente.
Important: Tenete sempre la batteria carica. Questo aspetto è particolarmente importante per evitare di danneggiare la batteria qualora la temperatura scenda al di sotto di 0 °C.
Togliete la batteria dallo chassis; vedere Rimozione della batteria.
Collegate un caricabatteria da 3 a 4 A ai poli della batteria e caricate la batteria a 3-4 A per 4-8 ore (12 V).
Important: Non sovraccaricatela.
Montate la batteria nello chassis; vedere Montaggio della batteria.
Se rimessate la macchina per oltre 30 giorni, rimuovete la batteria e caricatela completamente. Conservatela su un ripiano o sulla macchina. Scollegate i cavi se la batteria viene conservata nella macchina. Conservate la batteria in un luogo fresco, per evitare che si scarichi rapidamente. Per impedirne il congelamento, verificate che la batteria sia completamente carica.
| Cadenza di manutenzione | Procedura di manutenzione |
|---|---|
| Dopo le prime 8 ore |
|
| Dopo le prime 200 ore |
|
| Ogni 100 ore |
|
| Ogni 400 ore |
|
Serrate i dadi a staffa nelle ruote anteriori tra 75 e 102–N∙m e i dadi a staffa nelle ruote posteriori tra 95 e 122 N∙m.
Gli inconvenienti che si verificano durante l'uso, come l'urto di un cordolo, possono danneggiare lo pneumatico o il cerchio e alterare l'allineamento delle ruote; controllate le condizioni degli pneumatici dopo un incidente di tale natura.
Lubrificante per ingranaggi SAE 85W-140

Con la macchina su una superficie pianeggiante, posizionate una ruota in modo che il tappo di riempimento si trovi nella posizione superiore (a ore 12) e il tappo di spurgo si trovi alla posizione inferiore (a ore 6) (Figura 83).

Rimuovete il tappo di controllo (Figura 45).
Dovreste vedere il livello del lubrificante alla base delle filettature del foro del tappo di controllo.

Controllate gli O-ring del tappo di controllo per escludere danni.
Se l'O-ring è danneggiato, sostituitelo.
Se il livello del lubrificante è basso, rimuovete il tappo di riempimento e aggiungete il lubrificante specificato fino a quando non inizia a fuoriuscire dal foro del tappo di controllo (Figura 85); fate riferimento a Specifiche del lubrificante per riduttori planetari.

Controllate gli O-ring del tappo di riempimento per escludere danni.
Se l'O-ring è danneggiato, sostituitelo.
Montate il tappo di riempimento e il tappo di controllo (Figura 85).
Ripetete i passaggi da 1 a 6 per i riduttori planetari sull'altro lato della macchina.
| Cadenza di manutenzione | Procedura di manutenzione |
|---|---|
| Dopo le prime 8 ore |
|
| Ogni 400 ore |
|
Con la macchina su una superficie pianeggiante, posizionate una ruota in modo che il tappo di riempimento si trovi nella posizione superiore (a ore 12) e il tappo di spurgo si trovi nella posizione inferiore (a ore 6); fate riferimento alla Figura 83 in Controllo del lubrificante per riduttori planetari.
Posizionate una bacinella di spurgo sotto il mozzo dei riduttori planetari, rimuovete il tappo di spurgo, il tappo di riempimento e il tappo di controllo e lasciate spurgare completamente il lubrificante (Figura 86).

Esaminate i tappi di spurgo e riempimento per escludere la presenza di trucioli di metallo.
Se i tappi di riempimento e spurgo sono coperti di trucioli di metallo, riparate i riduttori planetari.
Controllate gli O-ring del tappo di spurgo, del tappo di riempimento e del tappo di controllo per escludere danni.
Se l'O-ring (o gli O-ring) è danneggiato, sostituitelo.
Montate il tappo di spurgo.
Posizionate una bacinella di spurgo sotto la scatola del freno, rimuovete il tappo di spurgo e lasciate spurgare completamente il lubrificante (Figura 87).

Montate il tappo di spurgo nella scatola del freno.
0,62 litri; fate riferimento a Specifiche del lubrificante per riduttori planetari
Attraverso il foro del tappo di riempimento, aggiungete lentamente il lubrificante per ingranaggi specificato; fate riferimento alla Figura 85 in Controllo del lubrificante per riduttori planetari.
Dovreste vedere il livello del lubrificante alla base delle filettature del foro del tappo di controllo.
Important: Se i riduttori planetari si riempiono prima che venga aggiunta la quantità specificata di lubrificante, attendete un'ora o montate i tappi e spostate la macchina di circa 3 metri per distribuire il lubrificante attraverso l'impianto frenante. Poi, rimuovete i tappi e aggiungete il lubrificante rimasto.
Lasciate che il livello del lubrificante si stabilizzi per 10 minuti, controllatelo e aggiungete la quantità necessaria ad innalzare il livello fino alla base delle filettature nel foro del tappo di controllo.
Montate il tappo di riempimento e il tappo di controllo; fate riferimento alla Figura 85 in Controllo del lubrificante per riduttori planetari.
Ripetete i passaggi in Spurgo del lubrificante per riduttori planetari e Riempimento dei riduttori planetari con lubrificanteper i riduttori planetari sull'altro lato della macchina.
| Cadenza di manutenzione | Procedura di manutenzione |
|---|---|
| Ogni 200 ore |
|
È necessario misurare una distanza da 0 a 3 mm tra la linea centrale anteriore degli pneumatici e la linea centrale posteriore degli pneumatici.
Controllate i pneumatici e gonfiateli tutti; vedere Controllo della pressione d'aria degli pneumatici.
Misurate la distanza tra gli pneumatici anteriori all'altezza dell'assale, davanti e dietro le ruote anteriori (Figura 88).
Note: La distanza tra la parte anteriore degli pneumatici deve essere da 0 a 3 mm inferiore alla distanza tra il lato posteriore degli pneumatici anteriori.

Se la misura non rientra nel campo specificato, allentate i controdadi da ambo i lati del tirante (Figura 89).

Girate il tirante in modo da spostare la parte anteriore del pneumatico verso l'interno o l'esterno.
Quando la regolazione sarà corretta, serrate i controdadi dei tiranti.
Assicuratevi che il volante ruoti in modo equivalente in entrambe le direzioni.
Ingerire refrigerante per motori può provocare avvelenamento. Tenete lontano dalla portata dei bambini e degli animali da compagnia.
Il rilascio di refrigerante caldo o sotto pressione o il contatto con un radiatore caldo e le zone circostanti può provocare ustioni serie.
Lasciare sempre raffreddare il motore per almeno 15 minuti prima di togliere il tappo del radiatore.
Aprite il tappo del radiatore con un cencio, agendo lentamente per lasciare fuoriuscire il vapore.
Non usate la macchina se i carter non sono montati.
Mantenete dita, mani e abbigliamento lontani dalla ventola e dalla cinghia di trasmissione rotanti.
Soluzione al 50% di acqua e 50% antigelo etilene-glicolico permanente.
Controllate la concentrazione del refrigerante del motore come indicato dal produttore del refrigerante.
| Cadenza di manutenzione | Procedura di manutenzione |
|---|---|
| Prima di ogni utilizzo o quotidianamente |
|
Se il motore è rimasto in funzione, il refrigerante può essere surriscaldato e pressurizzato. Se aprire il tappo del radiatore quando il refrigerante è caldo, potrebbe schizzare fuori e causare ustioni a voi o agli astanti.
Lasciare raffreddare il motore per almeno 15 minuti prima di aprire il tappo del radiatore.
Important: Non aggiungete refrigerante a un motore surriscaldato finché non si è completamente raffreddato. L'aggiunta di refrigerante a un motore surriscaldato può incrinare il blocco motore.
Parcheggiate l'irroratrice su terreno pianeggiante.
Inserite il freno di stazionamento, spegnete la pompa di irrorazione, spegnete il motore e togliete la chiave.
Rimuovete attentamente il tappo del radiatore e il tappo del vaso di espansione (Figura 90).

Controllate il livello del refrigerante nel radiatore e nel vaso di espansione.
Note: Il radiatore deve essere riempito fino all'orlo del collo del bocchettone e il vaso di espansione fino al segno di pieno (Full) (Figura 90).
Se il livello del radiatore è basso, rimuovete il tappo del vaso di espansione e il tappo del radiatore e riempite il vaso di espansione fino al segno di pieno e il radiatore fino alla parte superiore del collo del bocchettone (Figura 90).
Important: Non riempite troppo il vaso di espansione.
Important: Non utilizzate solamente acqua o un refrigerante a base di alcool/metanolo.
Montate il tappo del radiatore e il tappo del vaso di espansione (Figura 90).
5,5 litri; fate riferimento a Specifiche del refrigerante
| Cadenza di manutenzione | Procedura di manutenzione |
|---|---|
| Ogni 400 ore |
|
Attrezzatura fornita dal proprietario: un termometro per il refrigerante portatile
Posizionate l'irroratrice su terreno pianeggiante, inserite il freno di stazionamento, spegnete la pompa di irrorazione, spegnete il motore e togliete la chiave.
Attendete fino a quando il motore non si sarà raffreddato, poi rimuovete il tappo del radiatore (Figura 90).
Collocate una grande bacinella di spurgo sotto il radiatore.
Aprite la valvola di spurgo e spurgate il refrigerante nella bacinella (Figura 91).

Chiudete la valvola di spurgo (Figura 91).
Togliete il tappo del radiatore (Figura 90).
Riempite lentamente il radiatore con refrigerante fino a circa 2,5 cm sotto la superficie di tenuta del tappo.
Note: Usate sufficiente refrigerante da riempire il motore e i tubi dell'impianto. Ciò consente al refrigerante di espandersi senza fuoriuscire mentre il motore si riscalda.
Avviate il motore con il tappo lento sul radiatore (Figura 90).
Lasciate riscaldare il motore finché non si apre il termostato.
Note: Il termostato del motore dovrebbe aprirsi quando il termometro portatile indica una temperatura del refrigerante compresa tra 79 e 88 °C.
Una volta riscaldato il refrigerante, rabboccate il livello del refrigerante alla superficie di tenuta del tappo e serrate il tappo (Figura 90).
Aprite il tappo del vaso di espansione e riempite il vaso con refrigerante fino al livello Freddo (Figura 90).
Controllate il livello del refrigerante dopo diversi avvii del motore e cicli di spegnimento.
Note: Aggiungete refrigerante al radiatore e al vaso di espansione, se necessario.
Se il pedale del freno si spinge oltre 2,5 cm prima che avvertiate una resistenza, regolate i freni come segue:
Posizionate l'irroratrice su terreno pianeggiante, spegnete la pompa di irrorazione, spegnete il motore e togliete la chiave.
Inserite il freno di stazionamento.
Posizionate delle zeppe sotto le ruote per evitare che la macchina si sposti.
Rilasciate il freno di stazionamento.
Allentate i controdadi anteriori sui cavi del freno sotto l'estremità anteriore dell'irroratrice (Figura 92).

Serrate i controdadi posteriori allo stesso modo fino a quando il pedale del freno non si sposta di 1 a 2 cm, prima di avvertire resistenza (Figura 92).
Important: Assicuratevi di stringere bene entrambi i dadi posteriori uniformemente in modo che le estremità filettate dei cavi dei freni di fronte ai dadi anteriori siano della stessa lunghezza.
Serrate i controdadi anteriori.
| Cadenza di manutenzione | Procedura di manutenzione |
|---|---|
| Dopo le prime 8 ore |
|
| Ogni 100 ore |
|
Controllate lo stato e la tensione della cinghia dell'alternatore/ventola di raffreddamento. All'occorrenza sostituitela.
Posizionate l'irroratrice su terreno pianeggiante, inserite il freno di stazionamento, spegnete la pompa di irrorazione, spegnete il motore e togliete la chiave.
Controllate la tensione della cinghia dell'alternatore premendola a metà tra le pulegge dell'alternatore e dell'albero a gomito con una forza pari a 10 kg.
Note: La cinghia dovrebbe flettersi di 10–12 mm. Se la flessione della cinghia è eccessiva, procedete al passaggio 3. Se la tensione della cinghia è corretta, potete saltare il resto di questa procedura e riprendere l'utilizzo dell'irroratrice.
Allentate il bullone e il punto di articolazione dell'alternatore; allentate il bullone che fissa l'alternatore all'ancoraggio scanalato (Figura 93).

Inserite un piede di porco tra l'alternatore e il motore e con cautela fate leva sull'alternatore verso l'esterno.
Una volta raggiunta la tensione adeguata, serrate l'alternatore e i bulloni per fissare la regolazione.
Serrate il controdado per fissare la regolazione.
Se il fluido viene iniettato sulla pelle, rivolgetevi immediatamente ad un medico. Il fluido iniettato deve essere rimosso chirurgicamente da un medico entro poche ore.
Eliminare con sicurezza la pressione dall'intero impianto idraulico prima di eseguirvi qualsiasi intervento.
Assicuratevi che tutti i flessibili e i tubi del fluido idraulico siano in buone condizioni e che tutti i collegamenti e i raccordi idraulici siano serrati prima di mettere l'impianto idraulico sotto pressione.
Tenete corpo e mani lontano da perdite filiformi o da ugelli che eiettano fluido idraulico pressurizzato.
Usate cartone o carta per cercare le perdite di fluido idraulico.
Il serbatoio viene rifornito in fabbrica con liquido idraulico di qualità elevata. Controllate il livello del fluido idraulico prima di avviare il motore per la prima volta e in seguito ogni giorno; fate riferimento a Controllo del fluido idraulico.
Fluido idraulico consigliato: fluido idraulico Toro PX Extended Life; disponibile in fustini da 19 litri o in contenitori da 208 litri.
Note: Una macchina che utilizza il fluido di ricambio raccomandato richiede cambi meno frequenti di fluido e filtro.
Fluidi idraulici alternativi: qualora il fluido Toro PX Extended Life non fosse disponibile, si potranno utilizzare altri fluidi idraulici di tipo tradizionale a base di petrolio con specifiche che rientrino nell'intervallo indicato per tutte le seguenti proprietà materiali e siano conformi agli standard di settore. Non utilizzate fluido sintetico. Il distributore di lubrificanti vi consiglierà sulla scelta di un prodotto soddisfacente.
Note: Toro non si assume alcuna responsabilità per danni causati da sostituzioni non idonee, pertanto si raccomanda di utilizzare solo prodotti di costruttori di buona reputazione, che rispondano delle proprie raccomandazioni.
| Proprietà materiali: | ||
| Viscosità, ASTM D445 | cSt a 40 °C da 44 a 48 | |
| Indice di viscosità ASTM D2270 | 140 o superiore | |
| Punto di scorrimento, ASTM D97 | Da -37 °C a -45 °C | |
| Caratteristiche industriali: | Eaton Vickers 694 (I-286-S, M-2950-S/35VQ25 o M-2952-S) | |
Note: Molti fluidi idraulici sono praticamente incolori, e rendono difficile il rilevamento di fuoriuscite. Un additivo con colorante rosso per il fluido idraulico è disponibile in flaconi da 20 ml. Un flacone è sufficiente per 15–22 litri di fluido idraulico. Ordinate il n. cat. 44-2500 dal vostro distributore Toro autorizzato.
Important: Toro Premium Synthetic Biodegradable Hydraulic Fluid è l'unico fluido biodegradabile sintetico approvato da Toro. Questo fluido è compatibile con gli elastomeri impiegati nei sistemi idraulici Toro e si adatta a un'ampia gamma di temperature. Questo fluido è compatibile con i comuni oli minerali, ma per ottenere livelli di biodegradabilità e prestazioni massime occorre lavare a fondo il sistema idraulico per eliminare il fluido comune. L'olio è disponibile in fustini da 19 litri o da 208 litri del vostro distributore Toro autorizzato.
| Cadenza di manutenzione | Procedura di manutenzione |
|---|---|
| Prima di ogni utilizzo o quotidianamente |
|
Important: Se il fluido diventa contaminato, contattate un distributore Toro autorizzato per il lavaggio dell'impianto.Il fluido contaminato può apparire lattescente o nero rispetto al fluido pulito.
Posizionate l'irroratrice su terreno pianeggiante, inserite il freno di stazionamento, spegnete la pompa di irrorazione, spegnete il motore e togliete la chiave.
Pulite l'area attorno al tappo dell'asta di livello del serbatoio del fluido idraulico e rimuovetela (Figura 94).

Important: Prestate molta attenzione a non far entrare sporcizia o altri contaminanti nell'apertura durante il controllo del fluido.
Pulite l'asta di livello con un panno e reinseritela completamente nel serbatoio.
Estraete l'asta di livello dal collo del bocchettone e controllate il livello del fluido (Figura 95).
Note: Il livello del fluido deve essere al segno di limite inferiore sull'asta di livello quando il fluido è freddo.

Se il livello del fluido è basso, riempite il serbatoio con il fluido idraulico specificato per alzare il livello sino al segno inferiore; fate riferimento a Specifiche del fluido idraulico.
Inserite il cappuccio dell'asta di livello nel serbatoio e stringetelo.
| Cadenza di manutenzione | Procedura di manutenzione |
|---|---|
| Ogni 800 ore |
|
| Ogni 1000 ore |
|
Il fluido idraulico caldo può provocare gravi ustioni.
Lasciate raffreddare il fluido idraulico prima di effettuare qualsiasi intervento di manutenzione dell'impianto idraulico.
Important: L'uso di altri filtri può invalidare la garanzia di alcuni componenti.
Usate il filtro di ricambio Toro (Consultate il Manuale dei ricambi per conoscere il numero del ricambio corretto)
Posizionate l'irroratrice su terreno pianeggiante, inserite il freno di stazionamento, spegnete la pompa di irrorazione, spegnete il motore e togliete la chiave.
Individuate i 2 filtri idraulici sulla macchina (Figura 96 e Figura 97).
Note: Un filtro si trova sotto il serbatoio del fluido idraulico e l'altro filtro nella parte posteriore della macchina sul telaio.
Filtro anteriore – sotto il serbatoio idraulico.

Filtro posteriore – situato sul telaio della macchina.

Pulite l'area attorno alla zona di montaggio del filtro.
Collocate una bacinella di spurgo sotto il filtro.
Togliete il filtro.
Smaltite il filtro usato in un centro di raccolta autorizzato.
Lubrificate la nuova guarnizione del filtro con fluido idraulico pulito; fate riferimento a Specifiche del fluido idraulico.
Pulite l'area di montaggio del filtro con un panno.
Inserite il filtro fino a quando la guarnizione non è a contatto con la piastra di montaggio, poi serrate il filtro di un altro 1/2 giro.
Avviate il motore, impostate l'acceleratore sul minimo alto e lasciate il motore in funzione per 3-5 minuti per spurgare l'aria dall'impianto idraulico.
Spegnete il motore, controllate il livello del fluido idraulico e verificate l'assenza di perdite; fate riferimento a Controllo del fluido idraulico.
54 litri; fate riferimento a Specifiche del fluido idraulico
| Cadenza di manutenzione | Procedura di manutenzione |
|---|---|
| Ogni 800 ore |
|
| Ogni 2000 ore |
|
Il fluido idraulico caldo può provocare gravi ustioni.
Lasciate raffreddare il fluido idraulico prima di effettuare qualsiasi intervento di manutenzione dell'impianto idraulico.
Important: L'uso di qualsiasi altro fluido può invalidare la garanzia di alcuni componenti.
Sostituite i filtri del fluido idraulico; fate riferimento a Sostituzione dei filtri idraulici.
Pulite l'area attorno a un raccordo del flessibile idraulico sulla parte inferiore del serbatoio del fluido idraulico (Figura 98).

Posizionate una grossa bacinella di spurgo sotto i raccordi del serbatoio idraulico.
Rimuovete il raccordo del flessibile dal serbatoio, lasciando spurgare il fluido nella bacinella (Figura 98).
Smaltite il fluido usato presso un centro di riciclaggio certificato.
Montate il flessibile e il connettore sul serbatoio e serrate saldamente.
Riempite il serbatoio idraulico con circa 53 litri di fluido idraulico specificato o equivalente; fate riferimento a Specifiche del fluido idraulico.
Avviate il motore, impostate l'acceleratore sul minimo alto e lasciate il motore in funzione per 3-5 minuti per spurgare l'aria dall'impianto idraulico.
Spegnete il motore, controllate il livello del fluido idraulico e verificate l'assenza di perdite; fate riferimento a Controllo del fluido idraulico.
| Cadenza di manutenzione | Procedura di manutenzione |
|---|---|
| Ogni 200 ore |
|
| Ogni 400 ore |
|
Controllate ogni flessibile dell’irroratrice e verificate che non vi siano incrinature, perdite o altri danni. Allo stesso tempo verificate che i raccordi e i connettori non accusino danni simili. Sostituite i flessibili e i connettori danneggiati.
| Cadenza di manutenzione | Procedura di manutenzione |
|---|---|
| Ogni 400 ore |
|
Note: Determinate la misura corretta della rete del filtro di aspirazione necessaria per il vostro lavoro; fate riferimento a Selezione di un filtro di aspirazione.
Parcheggiate la macchina su terreno pianeggiante, inserite il freno di stazionamento, spegnete la pompa, spegnete il motore e togliete la chiave.
Nella parte superiore dell'irroratrice, rimuovete il fermo che fissa il raccordo del flessibile collegato al flessibile grande dall'alloggiamento del filtro (Figura 99).

Rimuovete il flessibile e il raccordo del flessibile dall'alloggiamento del filtro (Figura 99).
Rimuovete il vecchio filtro di aspirazione dall'alloggiamento del filtro nel serbatoio (Figura 100).
Note: Gettate via il filtro usato.

Montate il nuovo filtro di aspirazione nell'alloggiamento del filtro.
Note: Assicuratevi che il filtro sia completamente in sede.
Allineate il flessibile e il relativo raccordo all'alloggiamento del filtro nella parte superiore del serbatoio e fissate il raccordo e l'alloggiamento con il fermo che avete rimosso al passaggio 2.
| Cadenza di manutenzione | Procedura di manutenzione |
|---|---|
| Ogni 400 ore |
|
Spostate l'irroratrice su terreno pianeggiante, spegnete la pompa di irrorazione, spegnete il motore e togliete la chiave.
Allineate una bacinella di spurgo sotto il filtro della pressione (Figura 101).

Ruotate il tappo di spurgo in senso antiorario e rimuovetelo dal pozzetto del filtro della pressione (Figura 101).
Note: Fate spurgare completamente il pozzetto.
Ruotate il pozzetto in senso antiorario e rimuovetelo dalla relativa testa del filtro (Figura 101).
Rimuovete l'elemento del filtro della pressione usato (Figura 101).
Note: Gettate via il filtro usato.
Controllate l'O-ring del tappo di spurgo (situato all'interno del pozzetto) e l'O-ring del pozzetto (situato all'interno della testa del filtro) per escludere danni e usura (Figura 101).
Note: Sostituite eventuali O-ring del tappo, del pozzetto o entrambi se usurati o danneggiati.
Montate il nuovo elemento del filtro della pressione nella testa del filtro (Figura 101).
Note: Verificate che l'elemento del filtro sia saldamente in sede nella testa del filtro.
Montate il pozzetto sulla testa del filtro e serrate manualmente (Figura 101).
Montate il tappo sul pozzetto e serrate manualmente (Figura 101).
Note: Determinate la misura corretta della rete del filtro dell'ugello necessaria per il vostro lavoro; fate riferimento a Selezione di un filtro dell'ugello (opzionale)..
Parcheggiate la macchina su terreno pianeggiante, inserite il freno di stazionamento, spegnete la pompa dell'irroratrice, spegnete il motore e togliete la chiave.
Rimuovete l'ugello dalla torretta di irrorazione (Figura 102).

Rimuovete il filtro dell'ugello usato (Figura 102).
Note: Gettate via il filtro usato.
Montate il nuovo filtro dell'ugello (Figura 102).
Note: Assicuratevi che il filtro sia completamente in sede.
Montate l'ugello sulla torretta di irrorazione (Figura 102).
Potete seguire la procedura successiva per regolare gli attuatori della barra centrale per mantenere parallele le barre sinistra e destra.
Prolungate le barre in posizione di irrorazione.
Togliete la coppiglia dal perno di articolazione (Figura 103).

Sollevate la barra, togliete il perno (Figura 103) e fate scendere lentamente la barra a terra.
Verificate l'eventuale presenza di danni sul perno e sostituitelo se necessario.
Utilizzate una chiave sui lati piatti dell'asta dell'attuatore per immobilizzarla, poi allentate il controdado per consentire la regolazione dell'asta dell'occhiello (Figura 104).

Girate l'asta dell'occhiello nell'asta dell'attuatore per accorciare o allungare l'attuatore esteso nella posizione desiderata (Figura 104).
Note: Ruotate l'asta dell'occhiello con giri mezzi o completi per consentire il rimontaggio dell'asta sulla barra.
Una volta raggiunta la posizione desiderata serrate il controdado per fermare l'attuatore e l'asta dell'occhiello.
Alzate la barra per allineare il perno con l’asta dell’attuatore.
Tenete ferma la barra e inserite il perno attraverso il perno della barra e l'asta dell'attuatore (Figura 103).
Quando il perno è in posizione, rilasciate la barra e fissate il perno con la coppiglia tolta in precedenza.
Ripetete l'operazione per il cuscinetto dell'asta di ogni attuatore.
| Cadenza di manutenzione | Procedura di manutenzione |
|---|---|
| Ogni 400 ore |
|
Parcheggiate la macchina su terreno pianeggiante, inserite il freno di stazionamento, spegnete la pompa, spegnete il motore e togliete la chiave.
Estendete le sezioni delle barre esterne in posizione di irrorazione e supportate le sezioni delle barre utilizzando cavalletti o cinghie e un dispositivo di sollevamento.
Togliete il bullone e il dado che fissano il perno di articolazione, quindi togliete il perno (Figura 105).

Rimuovete il gruppo barra e staffa orientabile dal canale terminale del telaio centrale per accedere alle boccole di nylon.
Togliete le boccole di nylon dal lato frontale e posteriore della staffa orientabile e controllatele (Figura 105).
Note: Sostituite tutte le boccole usurate o danneggiate.
Lubrificate le boccole di nylon con una piccola quantità di olio e montatele sulla staffa orientabile (Figura 105).
Allineate i fori nella staffa orientabile con i fori nel canale terminale (Figura 105).
Montate il perno orientabile e fissatelo con il bullone flangiato e il dado di bloccaggio flangiato che avete rimosso al passaggio 3.
Ripetete i passaggi da 2 a 8 per l'altra sezione della barra esterna.
| Cadenza di manutenzione | Procedura di manutenzione |
|---|---|
| Ogni 400 ore |
|
Note: I seguenti componenti, a meno che non risultino difettosi, sono considerati parti soggette a usura e non sono coperti dalla Garanzia relativa a questa macchina.
Fate controllare i seguenti componenti interni della pompa a un distributore Toro autorizzato per escludere danni:
Membrane della pompa
Gruppi valvole di ritegno della pompa
All’occorrenza sostituite i componenti avariati.
Lavate la macchina secondo necessità con acqua soltanto oppure acqua con l'aggiunta di un detergente neutro. Potete utilizzare un panno per il lavaggio della macchina.
Important: Non utilizzate acqua salmastra o depurata per pulire la macchina.
Note: Non lavate la macchina utilizzando un'attrezzatura di lavaggio elettrica. che potrebbe danneggiare l'impianto elettrico, staccare adesivi importanti ed eliminare il grasso necessario nei punti di attrito. Non usate una quantità d’acqua eccessiva in prossimità della plancia, del motore e della batteria.
Important: Non lavate la macchina quando il motore gira. Il lavaggio della macchina con il motore avviato può causare danni interni al motore.
| Cadenza di manutenzione | Procedura di manutenzione |
|---|---|
| Ogni 200 ore |
|
Important: Non spruzzate acqua su un vano motore caldo per non danneggiare il motore.
Posizionate l'irroratrice su terreno pianeggiante, inserite il freno di stazionamento, spegnete la pompa di irrorazione, spegnete il motore e togliete la chiave.
Inclinate in avanti i sedili del conducente e del passeggero e allineate l'asta di supporto nell'arresto della scanalatura della guida dell'asta di supporto.
Attendete che l'impianto di raffreddamento si raffreddi.
Rimuovete il coperchio di accesso alla base del sedile; fate riferimento a Rimozione del pannello di accesso alla base del sedile.
Con una spazzola morbida e aria compressa a bassa pressione, pulite le alette del radiatore.
Note: Pulite le alette del radiatore più spesso se necessario. Controllate tutti i flessibili di raffreddamento e sostituiteli se sono usurati, danneggiati o se perdono.
Abbassate il sedile di guida e del passeggero.
Montate il coperchio di accesso alla base del sedile; fate riferimento a Montaggio del pannello di accesso alla base del sedile.
| Cadenza di manutenzione | Procedura di manutenzione |
|---|---|
| Ogni 200 ore |
|
Sciacquate e vuotate accuratamente l'intero sistema di irrorazione.
Rimuovete il flussometro dall'irroratrice e lavatelo con acqua pulita.
Rimuovete l'anello di ritenuta sul lato a monte (Figura 106).

Pulite la turbina e il suo mozzo dalla limatura ed eventuali polveri bagnabili.
Cercate eventuali segni di usura sulle palette della turbina.
Note: Tenete in mano la turbina e fatela girare. Dovrebbe girare liberamente, opponendo poca resistenza al movimento. In caso contrario, sostituitela.
Montate il flussometro.
Servitevi di un getto d'aria a bassa pressione (0,5 bar) per accertarvi che la turbina giri liberamente.
Note: In caso contrario, allentate il prigioniero esagonale sulla parte inferiore del mozzo della turbina di 1/16 di giro, fino a quando la turbina non gira liberamente.
Per pulire la valvola dell'agitatore, fate riferimento alle seguenti sezioni:
Per pulire le 3 valvole delle sezioni fate riferimento alle seguenti sezioni:
Posizionate l'irroratrice su terreno pianeggiante, inserite il freno di stazionamento, spegnete la pompa di irrorazione, spegnete il motore e togliete la chiave.
Rimuovete il fermo che fissa l'attuatore alla valvola del collettore per la valvola della sezione o dell'agitatore (Figura 107).
Note: Schiacciate insieme le 2 gambe del fermo mentre lo spingete verso il basso.
Note: Conservate l'attuatore e il fermo per l'installazione descritta in Montaggio dell'attuatore della valvola.

Togliete l'attuatore dalla valvola del collettore.
Rimuovete il perno di collegamento rapido che fissa l’accoppiatore rapido del flessibile dell’agitatore al collettore della valvola dell'agitatore (Figura 108).

Rimuovete i 3 morsetti flangiati che fissano il collettore della valvola dell’agitatore alle flange della testa del filtro della pressione e dell’adattatore di accoppiamento (Figura 108).
Rimuovete i 2 bulloni a testa flangiata (¼" x ¾") e i 2 dadi di bloccaggio flangiati (¼") che fissano il collettore della valvola dell’agitatore al supporto della valvola (Figura 109).

Rimuovete il collettore della valvola dell'agitatore e le guarnizioni dalla macchina (Figura 109).
Note: Se necessario, allentate la bulloneria di montaggio per la testa del filtro della pressione in base alle esigenze per creare un gioco.
Note: Conservate i morsetti flangiati, le guarnizioni e i perni di collegamento rapido per la procedura d'installazione in Montaggio della valvola del collettore dell'agitatore.
Rimuovete il perno di collegamento rapido che fissa l’accoppiatore rapido della valvola di bypass della sezione alla valvola del collettore della sezione (Figura 110).

Rimuovete il perno di collegamento rapido che fissa l’accoppiatore rapido del flessibile di alimentazione delle sezioni al collettore del raccordo di collegamento rapido della valvola del collettore della sezione (Figura 110).
Rimuovete i 2 morsetti flangiati che fissano la valvola del collettore della sezione alle flange dei componenti vicini (Figura 111).

Rimuovete, dal collettore della valvola della sezione sinistra o destra, i 2 bulloni a testa flangiata (¼" x ¾") e i 2 dadi di bloccaggio flangiati (¼") che fissano il collettore al supporto della valvola (Figura 112).

Abbassate il collettore della valvola della sezione e le guarnizioni per liberare la valvola di bypass della sezione, quindi allontanateli dalla macchina (Figura 112).
Note: Se necessario, allentate la bulloneria di montaggio del collettore della valvola della sezione sinistra o destra, in base alle esigenze, per creare un gioco.
Note: Conservate i morsetti flangiati, le guarnizioni e i perni di collegamento rapido per la procedura d'installazione in Montaggio della valvola del collettore della sezione.
Posizionate lo stelo della valvola in modo che sia in posizione (Figura 113B).

Rimuovete i 2 gruppi del raccordo del tappo terminale da ciascun'estremità del corpo del collettore (Figura 114 e Figura 115).


Girate lo stelo della valvola in modo che la sfera sia in posizione di apertura (Figura 113A).
Note: Quando lo stelo della valvola è parallelo al flusso della valvola, la sfera fuoriesce.
Rimuovete il fermo dello stelo dalle scanalature nella porta dello stelo nel collettore (Figura 114 e Figura 115).
Rimuovete il fermo dello stelo e la sede dello stelo della valvola dal collettore (Figura 114 e Figura 115).
Rimuovete il gruppo dello stelo della valvola dal corpo del collettore (Figura 114 e Figura 115)
Pulite l'interno del collettore e l'esterno della valvola a sfera, il gruppo dello stelo, la cattura dello stelo e i raccordi terminali.
Materiale fornito dall'operatore: grasso al silicone trasparente.
Important: Utilizzate solo grasso al silicone durante il montaggio della valvola.
Controllate la condizione degli O-ring del raccordo di uscita (solo collettore della valvola della sezione), gli O-ring del tappo terminale, gli O-ring delle sedi posteriori e la sede a sfera per escludere danni o usura (Figura 114 e Figura 115).
Note: Sostituite eventuali O-ring o sedi usurati o danneggiati.
Applicate il grasso al silicone sullo stelo della valvola e inseritelo nella relativa sede (Figura 114 e Figura 115).
Montate lo stelo della valvola e la sede nel collettore e fissateli con il fermo dello stelo (Figura 114 e Figura 115).
Assicuratevi che l'O-ring della valvola di non ritorno e la sede della sfera siano allineati e in sede nel raccordo del tappo terminale (Figura 114 e Figura 115)
Montate il gruppo del raccordo del tappo terminale sul corpo del collettore fino a quando la flangia del raccordo del tappo terminale non tocca il corpo del collettore (Figura 114 e Figura 115), poi ruotate il raccordo del tappo terminale di un altro 1/8 - 1/4 di giro.
Note: Prestate attenzione a non danneggiare l'estremità del raccordo.
Inserite la sfera sul corpo della valvola (Figura 116).
Note: Lo stelo della valvola deve inserirsi nella scanalatura di trasmissione della sfera. Se lo stelo della valvola non si inserisce, regolate la posizione della sfera (Figura 116).

Girate il gruppo dello stelo della valvola in modo che la valvola sia chiusa (Figura 113B).
Ripetete i passaggi da 4 a 5 per l'altro gruppo del raccordo del tappo terminale.
Allineate le 2 guarnizioni rimosse in Rimozione della valvola del collettore della sezione alle flange del collettore della valvola della sezione (Figura 117).
Note: Se necessario, allentate la bulloneria di montaggio del collettore della valvola della sezione sinistra o destra, in base alle esigenze, per creare un gioco.

Allineate la flangia del collettore della valvola della sezione allo spazio tra le flange dell’altra o delle altre valvole e/o dell’adattatore di accoppiamento (Figura 117).
Montate il raccordo di collegamento rapido del collettore della valvola della sezione sul raccordo a scollegamento rapido della valvola di bypass della sezione mediante un perno di collegamento rapido (Figura 117 e Figura 118).

Montate, senza serrare, i morsetti flangiati rimossi in Rimozione della valvola del collettore della sezione sulle flange del collettore della valvola della sezione e sulle flange dell’altra o delle altre valvole delle sezioni e/o dell’adattatore di accoppiamento (Figura 119).

Per i collettori delle valvole delle sezioni sinistra o destra, montate il collettore della valvola della sezione sul supporto della valvola (Figura 117) mediante i 2 bulloni a testa flangiata (¼" x ¾") e i 2 dadi di bloccaggio flangiati (¼") rimossi in Rimozione della valvola del collettore della sezione.
Serrate i bulloni a testa flangiata e i dadi di bloccaggio flangiati a una coppia di 19,78–25,42 N∙m.
Serrate i 2 morsetti flangiati manualmente (Figura 119).
Montate l’accoppiatore rapido del flessibile della sezione sul raccordo di collegamento rapido del collettore della valvola della sezione mediante il perno di collegamento rapido (Figura 118).
Se avete allentato la bulloneria di montaggio del collettore della valvola della sezione sinistra o destra, serrate il dado e il bullone a una coppia di 19,78–25,42 N∙m.
Allineate la flangia del collettore della valvola dell'agitatore e 3 guarnizioni alle flange della valvola di bypass dell’agitatore, della testa del filtro di pressione e dell’adattatore di accoppiamento (Figura 120 e Figura 121).
Note: Se necessario, allentate la bulloneria di montaggio per la testa del filtro della pressione in base alle esigenze per creare un gioco.


Fissate, senza serrare, il collettore della valvola dell'agitatore alla valvola di bypass dell’agitatore, alla testa del filtro di pressione e all’adattatore di accoppiamento (Figura 121) mediante i 3 morsetti flangiati rimossi in Rimozione della valvola del collettore dell'agitatore.
Montate il collettore della valvola dell’agitatore sul supporto della valvola con i 2 bulloni a testa flangiata (¼" x ¾") e i 2 dadi di bloccaggio flangiati (¼") rimossi in Rimozione della valvola del collettore dell'agitatore.
Serrate i bulloni a testa flangiata e i dadi di bloccaggio flangiati a una coppia di 19,78–25,42 N∙m.
Serrate manualmente i 3 morsetti flangiati (Figura 121).
Montate l’accoppiatore rapido del flessibile dell’agitatore sul raccordo di collegamento rapido del collettore della valvola dell’agitatore mediante il perno di collegamento rapido (Figura 121).
Se avete allentato la bulloneria di montaggio per la testa del filtro della pressione, serrate il dado e il bullone a 19,78–25,42 N∙m.
Allineate l'attuatore alla valvola del collettore (Figura 107).
Fissate l'attuatore e la valvola con il fermo rimosso al passaggio 2 della sezione Rimozione dell'attuatore della valvola.
Spegnete il motore, rimuovete la chiave (se in dotazione) e attendete l'arresto completo prima di abbandonare la postazione dell'operatore. Lasciate raffreddare la macchina prima di eseguire interventi di riparazione, manutenzione, pulizia o di rimessarla.
Non rimessate la macchina o la tanica del carburante in luoghi in cui siano presenti fiamme libere, scintille o spie, come quelle di uno scaldabagno o di altri apparecchi.
Eseguite le seguenti procedure:
Important: Non utilizzate acqua salmastra o depurata per pulire la macchina.
Parcheggiate la macchina su una superficie piana; prima di scendere dal posto di guida inserite il freno di stazionamento, spegnete la pompa dell’irroratrice e il motore, togliete la chiave e attendete che si fermino tutte le parti in movimento.
Rimuovete la terra e lo sporco da tutta la macchina, compreso l’esterno delle alette della testa del motore e l'alloggiamento del compressore del motore.
Important: La macchina può essere lavata con detersivo neutro ed acqua. Non lavatela con acqua sotto pressione, perché potreste danneggiare l'impianto elettrico o rimuovere il grasso necessario per la lubrificazione dei punti di attrito. Non utilizzate una quantità d'acqua eccessiva, in particolare in prossimità del quadro di comando, luci, motore e batteria.
Spostate la macchina nell'area di spurgo, inserite il freno di stazionamento, spegnete la pompa dell’irroratrice e il motore, togliete la chiave e attendete che si fermino tutte le parti in movimento prima di allontanarvi dalla postazione dell'operatore.
Spurgate il serbatoio dell'acqua fresca e lasciate aperto il rubinetto del serbatoio.
Spurgate il serbatoio di irrorazione nel modo più completo possibile.
Preparate la soluzione antigelo e antiruggine per camper priva di alcool; fate riferimento a Preparazione del condizionatore
Rimuovete il tubo dal retro dell'indicatore della pressione e collocate l'estremità del tubo in un contenitore (Figura 122

Avviate il motore e abbassate le sezioni delle barre esterne.
Lasciate in funzione la pompa di irrorazione per qualche minuto per far circolare la soluzione antigelo per camper attraverso l'impianto dell'irroratrice ed eventuali accessori di irrorazione montati.
Ruotate gli interruttori delle sezioni di sinistra, centro e destra in posizione di ACCENSIONE.
Impostate l'interruttore principale delle sezioni in posizione di ACCENSIONE e controllate quanto segue:
Assicuratevi che l'antigelo per camper fluisca dall'estremità scollegata del tubo dell'indicatore della pressione.
Spruzzate dall'ugello sino a vedere fuoriuscire l'antigelo.
Impostate l'interruttore principale delle sezioni in posizione di SPEGNIMENTO.
Ruotate l'interruttore della pompa in posizione di SPEGNIMENTO.
Utilizzate gli interruttori di sollevamento delle sezioni delle barre per sollevare le sezioni delle barre esterne.
Sollevate le sezioni delle barre fino a quando non sono completamente nel supporto di trasferimento delle barre, formando la posizione di trasferimento “X” e i cilindri di sollevamento non sono completamente ritratti.
Note: Assicuratevi che i cilindri di sollevamento siano completamente rientrati per evitare danni all'asta dell'attuatore.
Spegnete il motore.
Spurgate il serbatoio di irrorazione nel modo più completo possibile.
Attenetevi alle procedure descritte in Rimessaggio di breve periodo:
Inoltre, eseguite le seguenti procedure:
Controllate la pressione dell'aria degli pneumatici; fate riferimento a Controllo della pressione d'aria degli pneumatici.
Controllate i freni; vedere Regolazione dei freni.
Controllate e serrate tutti i bulloni, i dadi e le viti.
Note: Riparate o sostituite tutti i componenti eventualmente usurati o danneggiati.
Verniciate tutte le superfici in metallo graffiate o spoglie (la vernice è disponibile presso il vostro distributore Toro autorizzato).
Pulite la valvola dell'agitatore e le 3 valvole dei segmenti; fate riferimento a Pulizia delle valvole dell'agitatore e delle sezioni.
Ingrassate l’irroratrice; vedere Lubrificazione della pompa di irrorazione.
Controllate le condizioni di tutti i flessibili di irrorazione.
Note: Sostituite eventuali flessibili usurati o danneggiati.
Serrate tutti i raccordi e le fascette stringitubo.
Revisionate il filtro dell'aria; vedete Revisione del filtro dell'aria.
Cambiate il filtro dell'olio del motore e l'olio; fate riferimento a Sostituzione del filtro dell'olio motore e Sostituzione dell'olio motore.
Spurgate il serbatoio; fate riferimento a Spurgo del serbatoio del carburante.
Preparate il carburante con lo stabilizzatore attenendovi alle istruzioni del produttore e aggiungetelo al serbatoio del carburante.
Avviate il motore e fatelo girare al minimo per 5 minuti.
Spegnete il motore.
Fissate tutti i raccordi dell'impianto del carburante.
Spostate la macchina in un'area di rimessaggio asciutta e pulita.
Togliete la batteria dallo chassis; vedere Rimozione della batteria.
Note: Non collegate i cavi della batteria ai poli durante il rimessaggio.
Controllate il livello dell'elettrolito.
Caricate completamente la batteria; fate riferimento a Ricarica della batteria.
Important: Per impedirne il congelamento e l’avaria a temperature sotto zero, la batteria deve essere completamente carica. A temperature inferiori a 4 °C, una batteria completamente carica conserva la propria carica per 50 giorni circa. A temperature superiori a 4 °C controllate il livello dell'acqua nella batteria e ricaricatela ogni 30 giorni.
Togliete la chiave dall'interruttore di avviamento e riponetela in un luogo sicuro, fuori dalla portata dei bambini.
Coprite la macchina con un telo per proteggerla e mantenerla pulita.
Inserire il tubo dell'indicatore della pressione nell'accoppiatore del tubo posto sul retro (Figura 123).

Chiudete il rubinetto del serbatoio dell'acqua dolce.
Rabboccate il carburante nel serbatoio.
Caricate completamente la batteria; fate riferimento a Ricarica della batteria.
Montate la batteria nello chassis; fate riferimento a Montaggio della batteria.
| Problem | Possible Cause | Corrective Action |
|---|---|---|
| Il motorino di avviamento non aziona il motore. |
|
|
| Il motore gira ma non si avvia. |
|
|
| Il motore si avvia ma continua a non girare. |
|
|
| Il motore gira ma batte o perde colpi. |
|
|
| Il motore non gira alla minima. |
|
|
| Il motore si surriscalda. |
|
|
| Il motore perde potenza. |
|
|
| Presenza di vibrazioni o rumore anomali. |
|
|
| L'irroratrice non funziona in alcuna direzione o è lenta, perché il motore s'impantana o si ferma. |
|
|
| L'irroratrice non funziona in alcuna direzione. |
|
|
| Problem | Possible Cause | Corrective Action |
|---|---|---|
| Una sezione di irrorazione non irrora. |
|
|
| Una sezione di irrorazione non si spegne. |
|
|
| La valvola di una sezione di irrorazione perde. |
|
|
| Si verifica una caduta di pressione quando attivate una sezione di irrorazione. |
|
|
| L'ugello (o gli ugelli) di irrorazione gocciola quando l'interruttore (o interruttori) delle sezioni sono spenti |
|
|
| La pressione dell’irroratrice cala durante l'irrorazione. |
|
|
