| Périodicité d'entretien | Procédure d'entretien |
|---|---|
| À chaque utilisation ou une fois par jour |
|
Cette machine est un véhicule pulvérisateur spécial destiné aux utilisateurs professionnels et temporaires employés à des applications commerciales. Il est principalement conçu pour pulvériser les pelouses entretenues régulièrement dans les parcs, les terrains de golf, les terrains de sport et les espaces verts commerciaux. Cette machine est principalement conçue comme un véhicule non routier et ne doit pas être conduite régulièrement sur la voie publique. L'utilisation de ce produit à d'autres fins que celle qui est prévue peut être dangereuse pour vous-même et pour les personnes à proximité.
Lisez attentivement cette notice pour apprendre comment utiliser et entretenir correctement votre produit, et éviter ainsi de l'endommager ou de vous blesser. Vous êtes responsable de l'utilisation sûre et correcte du produit.
Pour plus d’informations, y compris des conseils de sécurité, des documents de formation, des renseignements concernant un accessoire, pour obtenir l'adresse d'un concessionnaire ou pour enregistrer votre produit, rendez-vous sur www.Toro.com.
Pour obtenir des prestations de service, des pièces Toro d'origine ou des renseignements complémentaires, munissez-vous des numéros de modèle et de série du produit et contactez un concessionnaire-réparateur agréé ou le service client Toro. La Figure 1 indique l'emplacement des numéros de modèle et de série sur le produit. Inscrivez les numéros dans l'espace réservé à cet effet.
Important: Avec votre appareil mobile, vous pouvez scanner le code QR sur l'autocollant du numéro de série (le cas échéant) afin d'accéder aux informations sur la garantie, les pièces détachées et autres renseignements sur le produit.

Les mises en garde de ce manuel soulignent des dangers potentiels et sont signalées par le symbole de sécurité (Figure 2), qui indique un danger pouvant entraîner des blessures graves ou mortelles si les précautions recommandées ne sont pas respectées.

Ce manuel utilise deux termes pour faire passer des renseignements essentiels. Important, pour attirer l'attention sur des renseignements mécaniques spécifiques et Remarque, pour insister sur des renseignements d'ordre général méritant une attention particulière.
Ce produit est conforme à toutes les directives européennes pertinentes. Pour plus de renseignements, reportez-vous à la Déclaration de conformité spécifique du produit fournie séparément.
Vous commettez une infraction à la section 4442 ou 4443 du Code des ressources publiques de Californie si vous utilisez cette machine dans une zone boisée, broussailleuse ou recouverte d'herbe à moins d'équiper le moteur d'un pare-étincelles, tel que défini à la section 4442, maintenu en bon état de marche, ou à moins de construire, équiper et entretenir le moteur de manière à prévenir les incendies.
Le Manuel du propriétaire du moteur ci-joint est fourni à titre informatif concernant la réglementation de l'Agence américaine pour la protection de l'environnement (EPA) et la réglementation antipollution de l'état de Californie relative aux systèmes antipollution, à leur entretien et à leur garantie. Vous pouvez vous en procurer un nouvel exemplaire en vous adressant au constructeur du moteur.
CALIFORNIE
Proposition 65 - Avertissement
L'état de Californie considère les gaz d'échappement des moteurs diesel et certains de leurs composants comme susceptibles de provoquer des cancers, des malformations congénitales et autres troubles de la reproduction.
Les bornes de la batterie et accessoires connexes contiennent du plomb et des composés de plomb. L'état de Californie considère ces substances chimiques comme susceptibles de provoquer des cancers et des troubles de la reproduction. Lavez-vous les mains après avoir manipulé la batterie.
L'utilisation de ce produit peut entraîner une exposition à des substances chimiques considérées pas l'état de Californie comme capables de provoquer des cancers, des anomalies congénitales ou d'autres troubles de la reproduction.
Cette machine peut occasionner des accidents si elle n'est pas utilisée ou entretenue correctement. Pour réduire les risques d'accidents et de blessures, respectez les consignes de sécurité qui suivent. Tenez toujours compte des mises en garde signalées par le symbole de sécurité Figure 2 et la mention Prudence, Attention ou Danger. Le non respect des instructions peut entraîner des blessures graves ou mortelles.
Cette machine est conçue en conformité avec la norme SAE J2258.
Ce produit peut causer des blessures. Respectez toujours toutes les consignes de sécurité pour éviter des blessures graves.
Vous devez lire et comprendre le contenu de ce Manuel de l'utilisateur avant de démarrer le moteur.
Accordez toute votre attention à l'utilisation de la machine. Ne participez à aucune activité susceptible de vous distraire, sous risque de causer des dommages corporels ou matériels.
Utilisez un équipement de protection individuelle (EPI) adapté pour éviter tout contact avec les produits chimiques. Les substances chimiques utilisées dans le système de pulvérisation peuvent être nocives et toxiques.
N'approchez pas les mains ou les pieds des composants mobiles de la machine.
N'utilisez pas la machine s'il manque des capots ou d'autres dispositifs de protection, ou s'ils sont endommagés.
Ne vous approchez pas des buses pendant la pulvérisation et tenez-vous à l'écart du brouillard de pulvérisation. N'admettez personne, notamment les enfants, dans le périmètre de travail.
N'autorisez jamais les enfants à utiliser la machine.
Avant de quitter la position d'utilisation, coupez le moteur, enlevez la clé (selon l'équipement) et attendez l'arrêt complet de tout mouvement. Laissez refroidir la machine avant de la régler, d'en faire l'entretien, de la nettoyer ou de la remiser.
L'usage ou l'entretien incorrect de cette machine
peut occasionner des accidents. Pour réduire les risques d'accidents
et de blessures, respectez les consignes de sécurité
qui suivent. Tenez toujours compte des mises en garde signalées
par le symbole de sécurité (
) et la mention Prudence,
Attention ou Danger. Le non respect de ces instructions peut entraîner
des blessures graves ou mortelles.
Les accessoires disponibles pour cette machine ne sont pas tous abordés dans ce manuel. Reportez-vous au manuel de l'utilisateur de chaque accessoire pour plus de précisions sur les consignes de sécurité.
![]() |
Des autocollants de sécurité et des instructions bien visibles par l'opérateur sont placés près de tous les endroits potentiellement dangereux. Remplacez tout autocollant endommagé ou manquant. |





























Note: Les côtés gauche et droit de la machine sont déterminés d'après la position d'utilisation normale.
Note: Si vous avez besoin de conseils ou de renseignements supplémentaires concernant le système de pulvérisation, consultez le Manuel de l'utilisateur fourni avec le système.
Important: Ce pulvérisateur est vendu sans buses.Pour utiliser le pulvérisateur, vous devez vous procurer et monter les buses. Contactez votre distributeur Toro agréé pour tout renseignement sur les kits de sections et les accessoires disponibles. Après avoir monté les buses, et avant d'utiliser le pulvérisateur pour la première fois, réglez les vannes de dérivation des sections pour que la pression et le débit de pulvérisation restent identiques pour toutes les sections lorsque vous en mettez une ou plusieurs hors service. Voir Réglage des vannes de dérivation des sections.
Pièces nécessaires pour cette opération:
| Raccord rapide mâle | 1 |
Note: Pour réaliser cette procédure, vous aurez besoin d'un flexible muni d'un raccord mâle à filetage NPT1" et de ruban d'étanchéité au PTFE.
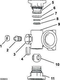
Sur le côté avant droit du couvercle de la cuve, enlevez les 2 goupilles fendues qui fixent les dispositifs de verrouillage du raccord rapide femelle pour l'embout de remplissage antisiphonnage (Figure 3).

Ouvrez les dispositifs de verrouillage pour déverrouiller le raccord rapide mâle du raccord rapide femelle (Figure 3).
Retirez le raccord rapide mâle du raccord rapide femelle (Figure 3).
Refermez les dispositifs de verrouillage et remettez les goupilles fendues dans les brides du raccord rapide femelle (Figure 3).
Appliquer le ruban d'étanchéité au PTFE (Figure 4) sur le filetage du raccord du flexible de remplissage (NPT 1").

Vissez le raccord rapide femelle sur le flexible de remplissage et serrez-le à la main (Figure 4).
Important: L'utilisation du système de pulvérisation alors que les ressorts des charnières des sections ne sont pas comprimés correctement peut endommager l'ensemble rampes. Mesurez les ressorts et comprimez-les à 4 cm avec l'écrou de blocage au besoin.
Le pulvérisateur est livré avec les extensions des sections positionnées en avant pour faciliter l'expédition. Au moment de la production, les ressorts ne sont pas complètement comprimés, ceci afin de pouvoir placer les sections dans cette position pour le transport. Avant d'utiliser la machine, ajustez les ressorts à la compression correcte.
Le cas échéant, retirez les éléments d'emballage qui fixent les extensions des sections droite et gauche pour le transport.
Soutenez les sections quand elles sont déployées en position de pulvérisation.
Au niveau de la charnière de section, mesurez la compression des ressorts supérieur et inférieur quand les sections sont déployées (Figure 5).
Les deux ressorts doivent être comprimés à 4 cm.
Pour comprimer les ressorts de plus de 4 cm, utilisez l'écrou de blocage.

Répétez la procédure pour tous les ressorts des charnières de sections.
Repliez les sections en croix pour le transport. Voir Changement de position des sections de pulvérisation pour plus de renseignements.



La pédale de déplacement (Figure 10) commande le mouvement de la machine en marche avant et en marche arrière. Appuyez sur le haut de la pédale avec le bout du pied droit pour avancer, et sur le bas de la pédale avec le talon pour reculer. Relâchez la pédale pour ralentir et immobiliser la machine.
Important: Attendez l'arrêt complet du pulvérisateur avant de passer de la MARCHE AVANT à la MARCHE ARRIèRE ou inversement.
Note: La vitesse de déplacement du pulvérisateur, dans l'une ou l'autre direction, est proportionnelle à l'enfoncement de la pédale. Pour atteindre la vitesse maximale en marche avant, placez la commande d'accélérateur en position de HAUT RéGIME et enfoncez complètement la pédale de déplacement.
Note: Pour obtenir la puissance maximale quand la machine est chargée ou gravit une pente, placez la commande d'accélérateur en position de HAUT RéGIME et appuyez légèrement sur la pédale de déplacement pour maintenir un régime moteur élevé. Si le régime moteur commence à baisser, relâchez légèrement la pédale pour l'augmenter.

Elle permet d'arrêter la machine ou de réduire la vitesse de déplacement (Figure 10).
Si vous utilisez le pulvérisateur alors que les freins sont mal réglés ou usés, vous risquez d'en perdre le contrôle et de vous exposer, ainsi que toute personne à proximité, à des blessures graves ou mortelles.
Contrôlez toujours les freins avant d'utiliser le pulvérisateur et assurez-vous qu'ils sont correctement réglés et en bon état.
Le frein de stationnement est une pédale située à gauche de la pédale de frein (Figure 10). Serrez le frein de stationnement chaque fois que vous quittez le siège pour empêcher le pulvérisateur de se déplacer accidentellement. Pour serrer le frein de stationnement, appuyez sur la pédale de frein, maintenez-la enfoncée et appuyez sur la pédale du frein de stationnement. Pour desserrer le frein de stationnement, enfoncez puis relâchez la pédale de frein. Si le pulvérisateur est garé sur une pente raide, serrez le frein de stationnement et placez des cales sous les roues du côté aval.
Le commutateur d’allumage (Figure 9) sert à démarrer et arrêter le moteur. Il a trois positions : ARRêT, CONTACT/PRéCHAUFFAGE et DéMARRAGE.
Lorsqu'elle est engagée, la commande de blocage de vitesse verrouille la pédale de déplacement (Figure 11). Cela permet de maintenir constante la vitesse de déplacement du pulvérisateur lorsque vous conduisez sur une surface plane et horizontale.

La commande d'accélérateur commande le régime moteur ; elle est située sur le panneau de commande entre les sièges (Figure 11). Poussez la commande en avant pour augmenter le régime moteur et ramenez-la en arrière pour réduire le régime moteur.
Basculez l'interrupteur pour commander les phares de travail (Figure 9). Appuyez vers l'avant pour allumer les phares, et vers l'arrière pour les éteindre.
La jauge de carburant est située sur le tableau de bord de la machine et indique le niveau de carburant dans le réservoir (Figure 9).
Le port USB à 2 douilles est situé à l'arrière de l'accoudoir (Figure 12).


Le témoin de pression d'huile moteur s'allume lorsque la pression de l'huile descend en dessous de 0,48 bar.
Lorsque la machine fonctionne normalement, le témoin de pression d'huile s'allume quand vous tournez la clé en position CONTACT et s'éteint quand le moteur tourne.
Le témoin de température du liquide de refroidissement s'allume quand le température du liquide de refroidissement dépasse 102 à 108 °C.
Le témoin de tension de batterie s'allume quand le tension d l'alternateur descend de 1,5 V ou plus en dessous de la tension de batterie.
Lorsque la machine fonctionne normalement, le témoin de tension de batterie s'allume quand vous tournez la clé en position CONTACT et s'éteint quand le moteur tourne.
Le témoin de préchauffage s'allume pendant que la bougie de préchauffage est activée. Lorsque vous tournez la clé de contact à la position CONTACT, le témoin de préchauffage s'allume durant 6 secondes pendant l'activation de la bougie de préchauffage. Lorsque le témoin de préchauffage s'éteint, le moteur est prêt à démarrer.

Le manomètre est situé sur le tableau de bord (Figure 14). Il indique la pression du liquide dans le système en bar et en psi.
Utilisez le sélecteur de mode pour alterner entre le mode débit d'application (boucle fermée) et le mode manuel (boucle ouverte)..
La commande de débit de pulvérisation se trouve sur le tableau de bord, à droite du volant (Figure 14). Utilisez la commande de débit de pulvérisation pour réguler la vitesse de la pompe de pulvérisation quand le pulvérisateur est en mode manuel. Appuyez de façon continue sur l'avant de l'interrupteur pour augmenter le débit d'application (pression) ou sur l'arrière pour réduire la le débit d'application (pression).
La commande de la pompe de pulvérisation est située sur la console centrale, à droite du siège (Figure 14). Basculez la commande en avant pour actionner la pompe de pulvérisation, ou en arrière pour l'arrêter. Un voyant s'allume sur la commande quand elle est en position de marche.
Important: Pour éviter d'endommager l'entraînement de la pompe de pulvérisation, n'utilisez la commande de la pompe que lorsque le moteur tourne au RALENTI.
Les interrupteurs de levage des sections de rampe sont situés sur la console centrale, à droite du siège ; ils permettent de lever ou d'abaisser les sections des rampes gauche et droite (Figure 14).
La commande générale des sections est située sur la console centrale de la machine. Cette commande permet de lancer ou d'arrêter la pulvérisation. Appuyez sur la commande pour activer ou désactiver le système de pulvérisation (Figure 14).
Les 3 interrupteurs de section sont situés sur la console centrale devant l'accoudoir (Figure 14). Basculez chaque interrupteur en avant pour activer la section correspondante et en arrière pour la désactiver. Lorsque l'interrupteur est en position ACTIVéE, une icône s'affiche en haut de l'InfoCenter.
Note: Ces interrupteurs n'ont d'effet sur le système de pulvérisation que si la commande générale des sections est ACTIVéE.
La commande d'agitation est située sur la console centrale, à droite du siège (Figure 14). Basculez cette commande en avant pour lancer l'agitation dans la cuve, ou en arrière pour arrêter l'agitation. Un voyant s'allume sur la commande quand elle est en position de marche. Pour activer la fonction d'agitation, mettez la pompe du système de pulvérisation en marche et faites tourner moteur à un régime supérieur au ralenti.
La vanne de dérivation renvoie le liquide à la pompe du système de pulvérisation lorsque vous désactivez l'agitation (Figure 15). La vanne de dérivation d'agitation est située au-dessus de la vanne d'agitation. Vous pouvez régler la vanne de dérivation pour que la pression reste constante quand vous activez et désactivez l'agitation ; voir Étalonnage de la vanne de dérivation d'agitation.

Le débitmètre mesure le débit de liquide qui sera utilisé par le système InfoCenter et pendant la pulvérisation en mode débit d'application (Figure 15).
Le régulateur de pression d'agitation est une vanne à bille à commande manuelle qui régule le débit vers les buses d'agitation dans la cuve principale. Ce régulateur permet à l'utilisateur de contrôler la pression aux buses d'agitation de la cuve principale lorsque des débits d'application plus élevés sont requis. Le régulateur de pression d'agitation est situé au-dessus de la pompe (Figure 16).

Les vannes de dérivation de section permettent de régler la pression du système de pulvérisation appliquée aux vannes de section pour que la pression de pulvérisation vers la section de rampe reste constante, quel que soit le nombre de sections actuellement activées. (Figure 17).
Note: Utilisez les vannes de dérivation uniquement pour la pulvérisation en mode manuel (boucle ouverte).

Utilisez la vanne de coupure de dérivation pour réguler le débit de liquide entre les vannes de dérivation de section et la cuve quand vous utilisez le mode de pulvérisation manuel (boucle ouverte) ; voir Figure 17.
Note: Fermez la vanne de coupure de dérivation quand vous utilisez le mode débit d'application (boucle fermée).
Une prise pour flexible à l'avant du couvercle de la cuve est munie d'un raccord fileté, d'un raccord cannelé à 90 degrés et d'un flexible court que vous pouvez diriger vers l'ouverture de la cuve. Ce raccordement permet de brancher un flexible d'eau et de remplir la cuve d'eau sans que les produits chimiques qu'elle contient ne contaminent le flexible.
Important: Ne prolongez pas le flexible jusqu'à toucher les liquides présents dans la cuve. La distance entre l'extrémité du flexible et le niveau supérieur de l'eau doit rester dans les limites règlementaires.

Le couvercle se trouve en haut et au centre de la cuve. Pour l'ouvrir, coupez le moteur, tournez la moitié avant du couvercle vers la gauche et relevez-le. Vous pouvez retirer la crépine qui se trouve à l'intérieur pour la nettoyer. Pour fermer la cuve, rabattez le couvercle et tournez la moitié avant vers vers la droite.
Utilisez les 5 boutons situés sous l'affichage à LED l'InfoCenter pour naviguer dans les menus, entrer des données et modifier des fonctions.

Note: Les spécifications et la conception peuvent faire l'objet de modifications sans préavis.
| Description | Mesures |
|---|---|
| Poids de base | 1 307 kg |
| Poids avec système de pulvérisation standard à vide, sans l'utilisateur | 1 307 kg |
| Poids avec système de pulvérisation standard plein, sans l'utilisateur | 2 499 kg |
| Poids total autorisé en charge (PTAC) (sur surface plane) | 3 023 kg |
| Capacité de la cuve | 1 135,6 l |
| Largeur hors tout quand les sections du système de pulvérisation standard sont repliées en croix | 226 cm |
| Description | Mesures |
|---|---|
| Longueur hors tout avec système de pulvérisation standard | 391 cm |
| Hauteur hors tout avec système de pulvérisation standard jusqu'en haut des sections repliées en croix. | 442 cm |
| Hauteur hors tout avec système de pulvérisation standard | 146 cm |
| Hauteur hors tout avec système de pulvérisation standard jusqu'en haut des sections repliées en croix. | 231 cm |
| Garde au sol | 18,4 cm |
| Empattement | 198 cm |
Une sélection d'outils et d'accessoires agréés par Toro est disponible pour augmenter et améliorer les capacités de la machine. Contactez un distributeur Toro agréé.
Pour garantir un rendement optimal et la sécurité continue de la machine, utilisez uniquement des pièces de rechange et accessoires Toro d'origine. Les pièces de rechange et accessoires provenant d'autres constructeurs peuvent être dangereux, et leur utilisation risque d'annuler la garantie de la machine.
Note: Les côtés gauche et droit de la machine sont déterminés d'après la position d'utilisation normale.
| Périodicité d'entretien | Procédure d'entretien |
|---|---|
| À chaque utilisation ou une fois par jour |
|
Ne confiez jamais l'utilisation ou l'entretien de la machine à des enfants ou à des personnes non qualifiées. Certaines législations imposent un âge minimum pour l'utilisation de ce type d'appareil. Le propriétaire de la machine doit assurer la formation de tous les utilisateurs et mécaniciens.
Familiarisez-vous avec le maniement correct du matériel, les commandes et les symboles de sécurité.
Coupez le moteur, enlevez la clé (selon l'équipement) et attendez l'arrêt de tout mouvement avant de quitter la position d'utilisation. Laissez refroidir la machine avant tout réglage, entretien, nettoyage ou remisage.
Apprenez à arrêter la machine et le moteur rapidement.
Vérifiez toujours que les commandes de présence de l'utilisateur, les contacteurs de sécurité et les capots de protection sont en place et fonctionnent correctement. N'utilisez pas la machine s'ils ne fonctionnent pas correctement.
N'utilisez pas la machine si elle ne fonctionne pas correctement ou si elle est endommagée de quelque manière que ce soit. Remédiez au problème avant d'utiliser la machine ou l'accessoire.
Assurez-vous que le poste d'utilisation et la place du passager sont propres et exempts de résidus chimiques et de débris.
Vérifiez le serrage de tous les raccords, ainsi que l'état de tous les flexibles avant de mettre le système sous pression.
Faites preuve de la plus grande prudence quand vous manipulez du carburant, en raison de son inflammabilité et du risque d'explosion des vapeurs qu'il dégage.
Éteignez cigarettes, cigares, pipes et autres sources d'étincelles.
Utilisez exclusivement un bidon à carburant homologué.
N'enlevez pas le bouchon du réservoir de carburant et n'ajoutez pas de carburant pendant que le moteur tourne ou est encore chaud.
N'ajoutez pas de carburant et ne vidangez pas le réservoir dans un local fermé.
Ne rangez pas la machine ni les bidons de carburant à proximité d'une flamme nue, d'une source d'étincelles ou d'une veilleuse, telle celle d'un chauffe-eau ou autre appareil.
Si vous renversez du carburant, ne mettez pas le moteur en marche. Évitez toute source possible d'inflammation jusqu'à dissipation complète des vapeurs de carburant.
Les substances chimiques utilisées dans le système de pulvérisation peuvent être nocives et toxiques pour vous-même, toute autre personne et les animaux ; elles peuvent aussi endommager les plantes, les sols et autres.
Lisez l'information sur chaque produit chimique. Refusez d'utiliser ou d'intervenir sur le pulvérisateur si ces renseignements ne sont pas disponibles.
Avant toute intervention sur un système de pulvérisation, assurez-vous qu'il a été neutralisé et rincé à trois reprises conformément aux recommandations du ou des fabricants des produits chimiques et que toutes les vannes ont effectué 3 cycles.
Vérifiez que vous disposez d'une source d'eau propre et de savon à proximité afin de pouvoir vous laver immédiatement en cas de contact direct avec un produit chimique.
Lisez attentivement les étiquettes signalétiques et les fiches de données de sécurité (FDS) de tous les produits chimiques utilisés et protégez-vous en suivant les recommandations des fabricants des produits chimiques.
Protégez-vous toujours le corps lorsque vous utilisez des produits chimiques. Utilisez un équipement de protection individuelle (EPI) adapté pour éviter tout contact direct avec les produits chimiques, notamment les équipements suivants :
lunettes de sécurité, lunettes enveloppantes et/ou écran facial
combinaison de protection chimique
appareil respiratoire ou masque filtrant
gants résistants aux produits chimiques
bottes en caoutchouc ou autres chaussures solides
vêtements de rechange propres, savon et serviettes jetables pour le nettoyage
Suivez la formation appropriée avant d'utiliser ou de manipuler des produits chimiques.
Utilisez le produit chimique correct pour la tâche à accomplir.
Suivez les instructions du fabricant concernant l'application sûre du produit chimique. Ne dépassez pas la pression d'application recommandée du système.
Ne remplissez-pas, n'étalonnez pas ou ne nettoyez pas la machine lorsque des personnes, en particulier des enfants, ou des animaux se trouvent à proximité.
Manipulez les produits chimiques dans un local bien ventilé.
Ne mangez pas, ne buvez pas ou ne fumez pas lorsque vous travaillez près de produits chimiques.
Ne nettoyez pas les buses de pulvérisation en soufflant dedans ou les mettant dans la bouche.
Lavez-vous toujours les mains et toute autre partie du corps exposée après avoir travaillé avec des produits chimiques.
Conservez les produits chimiques dans leur emballage d'origine et rangez-les en lieu sûr.
Débarrassez-vous correctement des produits chimiques et des récipients qui les contiennent, selon les instructions du fabricant et la réglementation locale.
Les produits chimiques et les vapeurs à l'intérieur des cuves sont dangereux. Ne pénétrez jamais à l'intérieur et ne passez jamais votre tête au-dessus ou par l'ouverture de la cuve.
Respectez la réglementation locale et nationale concernant la pulvérisation ou l'épandage de produits chimiques.
Effectuez les contrôles suivants au début de chaque journée de travail :
Contrôlez la pression des pneus.
Note: Les pneus de cette machine sont différents de ceux d'une voiture ; ils n'ont pas besoin d'être autant gonflés pour minimiser le compactage et préserver l'aspect de la pelouse.
Vérifiez tous les niveaux et faites l'appoint au besoin avec les liquides spécifiés.
Vérifiez le fonctionnement de la pédale de frein.
Vérifiez le fonctionnement des éclairages.
Tournez le volant à gauche et à droite pour vérifier la réponse de la direction.
Après avoir coupé le moteur, vérifiez qu'il n'y a pas de fuites d'huile, de pièces desserrées ou autres anomalies évidentes.
Si vous constatez des défaillances après les contrôles ci-dessus, signalez-les à votre mécanicien ou à votre responsable avant de vous mettre au volant. Votre responsable vous demandera peut-être de procéder à d'autres vérifications journalières. Demandez-lui ce dont vous devez vous charger précisément.
Avant de mettre le moteur en marche et d'utiliser la machine, vérifiez le niveau d'huile dans le carter moteur ; voir Contrôle du niveau d'huile moteur.
Avant de mettre le moteur en marche et d'utiliser la machine, vérifiez le circuit de refroidissement ; voir Contrôle du niveau du liquide de refroidissement.
Avant de mettre le moteur en marche et d'utiliser la machine, vérifiez le système hydraulique ; voir Contrôle du niveau de liquide hydraulique.
| Périodicité d'entretien | Procédure d'entretien |
|---|---|
| À chaque utilisation ou une fois par jour |
|
Vérifiez fréquemment que les pneus sont gonflés à la pression correcte. Gonflez les pneus à 1,38 bar.
Note: Vérifiez aussi si les pneus sont usés ou endommagés.
| Périodicité d'entretien | Procédure d'entretien |
|---|---|
| À chaque utilisation ou une fois par jour |
|
Avant de mettre le pulvérisateur en marche, appuyez légèrement sur la pédale de frein. Si la pédale s'enfonce de plus de 25 mm avant qu'une résistance se fasse sentir, réglez les freins ; voir Réglage des freins.
Si vous utilisez le pulvérisateur alors que les freins sont mal réglés ou usés, vous risquez d'en perdre le contrôle et de vous exposer, ainsi que toute personne à proximité, à des blessures graves ou mortelles.
Contrôlez toujours les freins avant d'utiliser le pulvérisateur et assurez-vous qu'ils sont correctement réglés et en bon état.
Important: Pour garantir la fraîcheur du carburant, n'achetez pas plus que la quantité normalement consommée en 6 mois.
Note: Il pourra être nécessaire d'utiliser un carburant à indice de cétane supérieur si la machine est utilisée à hautes altitudes ou dans des températures ambiantes basses.
N'utilisez jamais de kérosène ou d'essence à la place du gazole,
Ne mélangez jamais de kérosène ou d'huile moteur usagée au gazole.
Utilisez uniquement du gazole propre et frais ou des carburants au biodiesel.
| Gazole à un indice de cétane minimum de 40. |
| Utilisez du gazole à très faible teneur en soufre. |
| Utilisez du gazole de qualité été (nº 2-D) si la température ambiante est supérieure à -7 ºC et du gazole de qualité hiver (nº 1-D ou mélange nº 1-D/2-D) si la température ambiante est inférieure à -7 ºC. |
Note: L'usage de carburant de qualité hiver à basses températures réduit le point d'éclair et les caractéristiques d'écoulement à froid, ce qui facilite le démarrage et réduit le colmatage du filtre à carburant.
L'usage de carburant de qualité été au-dessus de -7 ºC contribue à prolonger la vie de la pompe à carburant et augmente la puissance comparé au carburant de qualité hiver.
| Utiliser un mélange carburant et biodiesel jusqu'à B20 (20 % biodiesel, 80 % pétrodiesel). |
| La partie gazole doit être à faible ou à très faible teneur en soufre. |
| La partie biodiesel du carburant doit être conforme à la norme ASTM D6751 ou EN 14214. Le mélange de carburant doit être conforme à la norme ASTM D975 ou EN590. |
| Utilisez du B5 (teneur en biodiesel de 5 %) ou un mélange de plus faible teneur par temps froid. |
Prenez les précautions suivantes :
Le filtre à carburant peut se colmater pendant quelque temps après l'adoption de mélanges au biodiesel.
Examinez régulièrement les joints et flexibles en contact avec le carburant, car ils peuvent se détériorer avec le temps.
Les mélanges au biodiesel peuvent endommager les surfaces peintes.
Pour tout renseignement complémentaire sur le biodiesel, veuillez contacter votre concessionnaire.
Capacité du réservoir de carburant : environ 45 litres.
Garez la machine sur une surface plane et horizontale, serrez le frein de stationnement, arrêtez la pompe de pulvérisation, coupez le moteur, enlevez la clé de contact et laissez refroidir le moteur.
Nettoyez la surface autour du bouchon du réservoir de carburant (Figure 20).

Enlevez le bouchon du réservoir de carburant.
Remplissez le réservoir de carburant jusqu'à 2,5 cm au-dessous du haut du réservoir (base du goulot de remplissage).
Note: L'espace vide dans le réservoir permet au carburant de se dilater. Ne remplissez pas excessivement le réservoir.
Revissez solidement le bouchon du réservoir.
Essuyez le carburant éventuellement répandu.
| Périodicité d'entretien | Procédure d'entretien |
|---|---|
| Après les 100 premières heures de fonctionnement |
|
Vérifiez régulièrement les niveaux de liquides et d'huile moteur, et recherchez des signes de surchauffe des composants du pulvérisateur.
Si le moteur est froid, laissez-le tourner pendant environ 15 secondes avant d'appuyer sur la pédale d'accélérateur.
Évitez d'emballer le moteur.
Variez la vitesse de déplacement de la machine en marche. Évitez les démarrages brutaux et les arrêts rapides.
Reportez-vous à pour connaître les contrôles spéciaux à effectuer pendant le rodage.
Note: Consultez le guide de sélection des buses disponible auprès de votre distributeur Toro agréé.
Les corps de tourelles peuvent recevoir jusqu'à 3 buses différentes. Pour choisir une buse, procédez comme suit :
Arrêtez le pulvérisateur sur une surface plane et horizontale, coupez le moteur, enlevez la clé et serrez le frein de stationnement.
Réglez la commande générale des sections en position DéSACTIVéE et la commande de la pompe de pulvérisation en position ARRêT.
Tournez la tourelle de buses dans un sens ou dans l'autre jusqu'à la buse correcte.
Pour les machines fonctionnant en mode débit d'application, effectuez un étalonnage du débit ; reportez-vous au Guide du logiciel pour les pulvérisateurs Multi Pro 5800-D et 5800-G à système de pulvérisation ExcelaRate.
Équipement standard : filtre d'aspiration maille 50 (bleu)
Utilisez le tableau des filtres d'aspiration pour identifier le maillage correct pour les buses utilisées, en fonction des produits chimiques ou des solutions de viscosité équivalente à l'eau.
| Code couleur des buses de pulvérisation (débit) | Maillage de la crépine* | Code couleur des filtres |
|---|---|---|
| Jaune (0,2 gpm) | 50 | Bleu |
| Rouge (0,4 gpm) | 50 | Bleu |
| Brun (0,5 gpm) | 50 (ou 30) | Bleu (ou vert) |
| Gris (0,6 gpm) | 30 | Vert |
| Blanc (0,8 gpm) | 30 | Vert |
| Bleu (1 gpm) | 30 | Vert |
| Vert (1,5 gpm) | 30 | Vert |
| *Le maillage des filtres d'aspiration indiqué dans ce tableau est basé sur des produits chimiques ou des solutions de viscosité équivalente à l'eau. | ||
Important: Si vous pulvérisez des produits chimiques de viscosité plus élevée (plus épais) ou des solutions avec poudres mouillables, vous devrez peut-être utiliser un maillage plus grossier pour le filtre d'aspiration en option ; voir Figure 21.

Quand vous utilisez un débit de pulvérisation plus élevé, songez à utilisez un filtre d'aspiration plus grossier ; voir Figure 22.

Existe dans les tailles suivantes :
Équipement standard : filtre d'aspiration maille 50 (bleu)
Utilisez le tableau des filtres sous pression pour identifier le maillage correct pour les buses utilisées, en fonction des produits chimiques ou des solutions de viscosité équivalente à l'eau.
| Code couleur des buses de pulvérisation (débit) | Maillage de la crépine* | Code couleur des filtres |
|---|---|---|
| Selon besoin pour les produits chimiques ou les solutions de basse viscosité ou pour de faibles débits d'application | 100 | Vert |
| Jaune (0,2 gpm) | 80 | Jaune |
| Rouge (0,4 gpm) | 50 | Bleu |
| Brun (0,5 gpm) | 50 | Bleu |
| Gris (0,6 gpm) | 50 | Bleu |
| Blanc (0,8 gpm) | 50 | Bleu |
| Bleu (1 gpm) | 50 | Bleu |
| Vert (1,5 gpm) | 50 | Bleu |
| Selon besoin pour les produits chimiques ou les solutions de viscosité élevée ou pour des débits d'application élevés | 30 | Rouge |
| Selon besoin pour les produits chimiques ou les solutions de viscosité élevée ou pour des débits d'application élevés | 16 | Marron |
| *Le maillage des filtres sous pression indiqué dans ce tableau est basé sur des produits chimiques ou des solutions de viscosité équivalente à l'eau. | ||
Important: Si vous pulvérisez des produits chimiques de viscosité plus élevée (plus épais) ou des solutions avec poudres mouillables, vous devrez peut-être utiliser un maillage plus grossier pour le filtre sous pression en option ; voir Figure 23.

Quand vous utilisez un débit de pulvérisation plus élevé, songez à utilisez un filtre sous pression plus grossier ; voir Figure 24.

Note: Utilisez le filtre de buse en option pour protéger la buse et prolonger sa vie utile.
Utilisez le tableau des filtres de buse pour identifier le maillage correct pour les buses utilisées, en fonction des produits chimiques ou des solutions de viscosité équivalente à l'eau.
| Code couleur des buses de pulvérisation (débit) | Maillage du filtre* | Code couleur des filtres |
|---|---|---|
| Jaune (0,2 gpm) | 100 | Vert |
| Rouge (0,4 gpm) | 50 | Bleu |
| Brun (0,5 gpm) | 50 | Bleu |
| Gris (0,6 gpm) | 50 | Bleu |
| Blanc (0,8 gpm) | 50 | Bleu |
| Bleu (1 gpm) | 50 | Bleu |
| Vert (1,5 gpm) | 50 | Bleu |
| *Le maillage des filtres de buse indiqué dans ce tableau est basé sur des produits chimiques ou des solutions de viscosité équivalente à l'eau. | ||
Important: Si vous pulvérisez des produits chimiques de viscosité plus élevée (plus épais) ou des solutions avec poudres mouillables, vous devrez peut-être utiliser un maillage plus grossier pour le filtre de buse en option ; voir Figure 25.

Quand vous utilisez un débit de pulvérisation plus élevé, songez à utilisez un filtre de buse plus grossier ; voir Figure 26.

Important: N'utilisez pas d'eau recyclée (eau grise) dans le réservoir d'eau douce.
Note: Ce réservoir constitue une source d'eau douce que vous pouvez utiliser pour laver la peau, les yeux ou d'autres parties du corps en cas d'exposition accidentelle aux produits chimiques.
Remplissez toujours le réservoir d'eau douce propre avant de manipuler ou de mélanger des produits chimiques.
Pour remplir le réservoir, dévissez le bouchon situé sur le dessus, remplissez-le d'eau douce puis revissez le bouchon en place (Figure 27).
Pour ouvrir le robinet du réservoir d'eau douce, tournez le levier sur le robinet (Figure 27).

Montez le kit de prémélange de produit chimique en option pour optimiser le mélange et la propreté extérieure de la cuve.
Important: Dans la mesure du possible, n'utilisez pas d'eau recyclée (eau grise) dans la cuve du pulvérisateur.
Important: Vérifiez que les produits chimiques que vous utilisez sont compatibles avec le Viton™ (voir l'étiquette du fabricant qui devrait indiquer la compatibilité). L'utilisation d'un produit chimique non compatible avec le Viton aura pour effet de dégrader les joints toriques du pulvérisateur et de provoquer des fuites.
Important: Les repères sur la cuve ne sont là qu'à titre indicatif ; ils ne sont pas assez précis pour effectuer l'étalonnage.
Arrêtez la machine sur une surface plane et horizontale, coupez le moteur, enlevez la clé et serrez le frein de stationnement.
Déterminez la quantité d'eau nécessaire pour mélanger la quantité de produit chimique requise selon les indications du fabricant.
Ouvrez le couvercle de la cuve du pulvérisateur.
Note: Le couvercle se trouve en haut et au centre de la cuve. Pour ouvrir le couvercle, tournez la moitié avant dans le sens antihoraire et soulevez-le. Vous pouvez retirer la crépine située sous le couvercle et la nettoyer.
Branchez le flexible de remplissage au raccord rapide pour l'embout antisiphonnage.
Ajoutez les 3/4 de l'eau nécessaire dans la cuve (Figure 28).
Important: Utilisez toujours de l'eau douce et propre dans la cuve de produit. Ne versez pas de concentré dans la cuve vide.

Démarrez le moteur, serrez le frein de stationnement, placez la commande de la pompe de pulvérisation en position ACTIVéE et la commande d'accélérateur en position RALENTI ACCéLéRé.
Réglez la commande d'agitation à la position de MARCHE.
Important: Avant de mettre des poudres mouillables dans un système de pulvérisation Toro, mélangez les poudres dans un récipient approprié avec une quantité d'eau douce suffisante pour former une bouillie liquide. Si ces consignes ne sont pas respectées, des dépôts de produit chimique peuvent se former au fond de la cuve, l'agitation peut se dégrader, les filtres se colmater et l'application s'effectuer à des vitesses inadaptées.Toro préconise l'utilisation du kit éjecteur approuvé pour cette machine. Pour plus de renseignements, contactez votre distributeur Toro agréé.
Ajoutez la proportion correcte de concentré chimique dans la cuve selon les instructions du fabricant du produit.
Ajoutez l'eau restante dans la cuve, enlevez le flexible de remplissage et refermez le couvercle de la cuve.
Note: Pour fermer la cuve, rabattez le couvercle et tournez la moitié avant vers dans le sens horaire.
Important: Après avoir rempli la cuve pour la première fois, vérifiez le serrage des sangles de la cuve. Serrez au besoin.
| Périodicité d'entretien | Procédure d'entretien |
|---|---|
| À chaque utilisation ou une fois par jour |
|
Important: Vous risque de déformer et d'endommager la cuve et ses sangles si vous serrez les fixations excessivement.
Important: Dans la mesure du possible, n'utilisez pas d'eau recyclée (eau grise) dans la cuve du pulvérisateur.
Remplissez la cuve principale d'eau propre.
Assurez-vous qu'il n'y a pas de jeu entre les sangles de la cuve et la cuve (Figure 29).

Si les sangles de la cuve ne sont pas assez serrées, resserrez les contre-écrous à embase et les boulons en haut des sangles jusqu'à ce que ces dernières soient parfaitement en appui sur la surface de la cuve (Figure 29).
Note: Ne serrez pas excessivement les fixations des sangles de la cuve.
Important: Pour les machines fonctionnant en mode débit d'application, vous devez régler les vannes de dérivation de section en position fermée.
Important: Dans la mesure du possible, n'utilisez pas d'eau recyclée (eau grise) dans la cuve du pulvérisateur.
Avant d'utiliser le pulvérisateur pour la première fois, à chaque changement de buses ou selon les besoins, étalonnez le débit de pulvérisation et la vitesse du pulvérisateur, et réglez la dérivation des sections.
Important: Choisissez une surface plane et horizontale pour effectuer cette procédure.
Remplissez la cuve du pulvérisateur à moitié d'eau propre.
Abaissez des sections de pulvérisation.
Serrez le frein de stationnement.
Placez la commande de pulvérisation sur manuel.
Réglez les 3 interrupteurs de section en position ACTIVéE, mais laissez la commande générale en position ARRêT.
Placez la commande de la pompe de pulvérisation à la position de MARCHE et lancez l'agitation.
Sur l'InfoCenter, naviguez jusqu'à l'écran Étalonnage et sélectionnez l'option Vitesse d'essai ; reportez-vous à la Simulation d'une vitesse d'essai dans le Guide du logiciel pour les pulvérisateurs Multi Pro 5800-D et 5800-G avec système de pulvérisation ExcelaRate.
Appuyez sur le bouton 3 ou 4 pour augmenter ou réduire la vitesse simulée à 5,6 km/h.
Appuyez sur le bouton 4 ACTIVER la simulation de vitesse d'essai.
Appuyez sur le bouton 5 pour sauvegarder et quitter l'écran de VITESSE D'ESSAI.
À l'aide de la commande de débit de pulvérisation, réglez le débit de pulvérisation selon le tableau ci-après.
| Couleur de buse | SI (métrique) | Anglais | Turf |
| Jaune | 159 l/ha | 17 gal/a | 0,39 gpk |
| Rouge | 319 l/ha | 34 gal/a | 0,78 gpk |
| Marron | 394 l/ha | 42 gal/a | 0,96 gpk |
| Gris | 478 l/ha | 51 gal/a | 1,17 gpk |
| Blanc | 637 l/ha | 68 gal/a | 1,56 gpk |
| Bleu | 796 l/ha | 85 gal/a | 1,95 gpk |
| Vert | 1 190 l/ha | 127 gal/a | 2,91 gpk |
Désactivez la section gauche et réglez le bouton de dérivation de section (Figure 30) jusqu'à ce que le débit indiqué corresponde au précédent conformément au tableau.
Note: Les chiffres sur le bouton de dérivation et l'aiguille servent uniquement de référence.

Activez la section gauche et désactivez la section droite.
Réglez le bouton de dérivation de la section droite (Figure 30) jusqu'à ce que le débit indiqué corresponde au précédent conformément au tableau.
Activez la section droite et désactivez la section centrale.
Réglez le bouton de dérivation de la section centrale (Figure 30) jusqu'à ce que le débit indiqué corresponde au précédent conformément au tableau.
Placez la commande générale des sections en position d'arrêt.
Arrêtez la pompe de pulvérisation.
La vanne de dérivation d'agitation est en position complètement ouverte comme montré à la Figure 31A.
La vanne de dérivation d'agitation est en position complètement fermée (0) comme montré à la Figure 31B.
La vanne de dérivation d'agitation est en position intermédiaire (réglée en fonction du manomètre pour le système de pulvérisation) comme montré à la Figure 31C.

| Périodicité d'entretien | Procédure d'entretien |
|---|---|
| Une fois par an |
|
Important: Dans la mesure du possible, n'utilisez pas d'eau recyclée (eau grise) dans la cuve du pulvérisateur.
Choisissez une surface plane et horizontale pour effectuer cette procédure.
Remplissez la cuve du pulvérisateur à moitié d'eau propre.
Vérifiez si la vanne de commande d'agitation est ouverte.
Note: Si elle a été réglée, ouvrez-la complètement.
Serrez le frein de stationnement et mettez le moteur en marche.
Placez le secteur de mode du pulvérisateur en position Mode manuel ; voir Pulvérisation en mode manuel.
Réglez la commande de la pompe de pulvérisation en position marche et la commande d'agitation en position ACTIVéE.
Placez la commande générale des sections à la position DéSACTIVéE.
Placez la commande d'accélérateur à la position HAUT RéGIME.
Utilisez la commande de débit de pulvérisation pour régler la pression du système de pulvérisation à 6,89 bar.
Tournez la commande d'agitation en position DéSACTIVéE et observez le manomètre.
Si la pression indiquée est 6,89 bar, la vanne de dérivation est correctement étalonnée.
Si la pression indiquée est différente, passez à l'opération suivante.
Réglez la vanne de dérivation d'agitation (Figure 32) à l'arrière de la vanne d'agitation jusqu'à ce que la pression indiquée soit 6,89 bar.

Placez la commande générale des sections à la position DéSACTIVéE.
Placez la commande d'accélérateur en position RALENTI/BAS RéGIME et tournez la clé de contact à la position ARRêT.
La pompe de pulvérisation est située près de l'arrière de la cuve, sur le côté gauche (Figure 33).

Le propriétaire/l'utilisateur est responsable des accidents pouvant entraîner des dommages corporels ou matériels et peut les prévenir.
Portez des vêtements appropriés, y compris une protection oculaire, un pantalon, des chaussures solides à semelle antidérapante et des protecteurs d'oreilles. Si vos cheveux sont longs, attachez-les et ne portez pas de vêtements amples ni de bijoux pendants.
Portez un équipement de protection individuelle adapté comme stipulé dans la section consacrée à la sécurité chimique.
Accordez toute votre attention à l'utilisation de la machine. Ne participez à aucune activité susceptible de vous distraire, sous risque de causer des dommages corporels ou matériels.
N'utilisez pas la machine si vous êtes fatigué, malade ou sous l'emprise de l'alcool, de drogues ou de médicaments.
Ne transportez jamais plus d'un passager à la fois sur la machine ; le passager ne doit s'asseoir qu'à l'emplacement spécifié.
N'utilisez la machine que si la visibilité est bonne. Évitez les trous ou autres dangers cachés.
Avant de démarrer le moteur, asseyez-vous sur le siège, vérifiez que la transmission est à la position POINT MORT (manuelle) ou STATIONNEMENT (automatique) et que le frein de stationnement est serré.
Restez assis pendant le déplacement de la machine. Gardez les deux mains sur le volant autant que possible et gardez toujours les bras et les jambes à l'intérieur du poste opérateur.
Soyez prudent à l'approche de tournants sans visibilité, de buissons, d'arbres ou d'autres objets susceptibles de vous masquer la vue.
Avant de faire marche arrière, vérifiez que la voie est libre derrière vous Reculez lentement.
Ne pulvérisez jamais à proximité de personnes, en particulier des enfants ou des animaux familiers.
Ne travaillez pas à proximité de dénivellations, fossés ou berges. La machine pourrait se retourner brusquement si une roue passe par-dessus une dénivellation quelconque et se retrouve dans le vide, ou si un bord s'effondre.
Ralentissez sur terrain accidenté, irrégulier et près de trottoirs, trous et autres accidents de terrain. La charge peut se déplacer et rendre la machine instable.
Si la machine heurte un obstacle ou vibre de manière inhabituelle, coupez le moteur, enlevez la clé, serrez le frein de stationnement et vérifiez si la machine est endommagée. Effectuez toutes les réparations nécessaires avant de réutiliser la machine.
Ralentissez et faites preuve de prudence quand vous changez de direction, ainsi que pour traverser des routes et des trottoirs avec la machine. Cédez toujours la priorité.
Soyez particulièrement prudent lorsque vous utilisez la machine sur des surfaces humides, dans des conditions météorologiques défavorables, à grande vitesse ou à pleine charge. Le temps et la distance d'arrêt augmentent dans ces conditions.
Ne touchez pas le moteur ou le silencieux si le moteur est en marche ou vient de s'arrêter, car vous risquez de vous brûler.
Avant de quitter la position d'utilisation, effectuez la procédure suivante :
Garez la machine sur un sol plat et horizontal.
Amenez la pédale de déplacement en position NEUTRE.
Serrez le frein de stationnement.
Coupez le moteur de la machine et enlevez la clé (selon l'équipement).
Attendez l'arrêt complet de tout mouvement.
Ne faites jamais tourner le moteur dans un local ne permettant pas d'évacuer les gaz d'échappement.
N'utilisez pas la machine si la foudre menace.
Utilisez uniquement les outils et accessoires agréés par Toro.
Note: La cabine installée par Toro sur chacune des machines mentionnées dans ce manuel de l'utilisateur est un système ROPS.
Ne retirez pas le système ROPS de la machine.
Attachez la ceinture de sécurité et apprenez à la détacher rapidement en cas d'urgence. Attachez toujours la ceinture de sécurité.
Vérifiez soigneusement où se trouvent les obstacles en hauteur et ne les touchez pas.
Maintenez le système ROPS en bon état en vérifiant minutieusement et régulièrement s'il est endommagé et en maintenant toutes les fixations bien serrées.
Faites l'entretien de la ou des ceintures de sécurité, et nettoyez-les au besoin.
Remplacez les composants du ROPS endommagés. Ne le réparez pas et ne le modifiez pas.
Les pentes augmentent significativement les risques de perte de contrôle et de retournement de la machine pouvant entraîner des accidents graves, voire mortels. Vous êtes responsable de la sécurité d'utilisation de la machine sur les pentes. L'utilisation de la machine sur une pente, quelle qu'elle soit, demande une attention particulière.
Lisez les instructions ci-dessous relatives à l'utilisation de la machine sur les pentes et déterminez si les conditions d'utilisation existantes et le site se prêtent à l'utilisation de la machine. Les variations de terrain peuvent modifier le fonctionnement de la machine sur les pentes.
Déterminez si la pente vous permet d'utiliser la machine sans risque, en étudiant le terrain entre autres. Faites toujours preuve de bon sens et de discernement quand vous réalisez cette étude.
Évitez de démarrer, de vous arrêter ou de tourner sur les pentes. Déplacez-vous toujours dans le sens de la pente. Évitez de changer soudainement de vitesse ou de direction. Si vous ne pouvez pas faire autrement, tournez lentement et progressivement, de préférence vers le bas. Faites toujours marche arrière avec prudence.
N'utilisez pas la machine si vous avez des doutes concernant la motricité, la direction ou la stabilité de la machine.
Enlevez ou balisez les obstacles tels que fossés, trous, ornières, bosses, rochers ou autres dangers cachés. L'herbe haute peut masquer les accidents du terrain. Les irrégularités du terrain risquent de provoquer le retournement de la machine.
Tenez compte du fait que la motricité de la machine peut être réduite sur les surfaces humides, en travers des pentes ou dans les descentes. La perte de motricité peut faire patiner la machine et entraîner la perte du freinage et de la direction.
Faites preuve de la plus grande prudence lorsque vous utilisez la machine près de fortes dénivellations, de fossés, de berges, d'étendues d'eau ou autres dangers. La machine pourrait se retourner brusquement si une roue passe par-dessus une dénivellation quelconque et se retrouve dans le vide, ou si un bord s'effondre. Établissez une zone de sécurité entre la machine et tout danger potentiel.
Redoublez de prudence lorsque la machine est équipée d'accessoires, car ceux-ci peuvent affecter la stabilité de la machine.
Si le moteur cale ou commence à faiblir pendant que vous montez une pente, freinez progressivement et descendez lentement la pente en ligne droite et en marche arrière.
Laissez toujours la machine en prise (le cas échéant) quand vous descendez une pente.
Ne garez pas la machine sur une pente.
Le poids du produit dans la cube peut modifier le comportement de la machine. Respectez les consignes de sécurité suivantes pour éviter de perdre le contrôle du véhicule et de vous blesser :
Si vous transportez de lourdes charges, ralentissez et prévoyez une distance de freinage suffisante. Ne freinez pas brutalement. Soyez particulièrement prudent sur les pentes.
Les liquides chargés se déplacent, particulièrement dans les virages, en montant ou en descendant une pente, si vous changez brusquement de vitesse ou si vous traversez des surfaces irrégulières. La machine peut alors se renverser.
Asseyez-vous sur le siège du conducteur, mais n'appuyez pas sur la pédale de déplacement.
Vérifiez que les points suivants sont satisfaits :
Le frein de stationnement est serré.
La pédale de déplacement est en position NEUTRE.
La pompe de pulvérisation est arrêtée.
La commande d'accélérateur est à la position BAS RéGIME.
Tournez le commutateur d'allumage en position CONTACT/PRéCHAUFFAGE.
Note: Une minuterie automatique maintient le préchauffage pendant environ 6 secondes.
Après le préchauffage, tournez la clé en position DéMARRAGE.
Actionnez le démarreur pendant 15 secondes au maximum.
Relâchez la clé quand le moteur démarre.
Si un préchauffage supplémentaire est nécessaire, tournez la clé en position ARRêT, puis de nouveau en position CONTACT/PRéCHAUFFAGE.
Note: Répétez les opérations 3 à 7 le cas échéant.
Laissez tourner le moteur au RALENTI ou à ouverture partielle du papillon jusqu'à ce qu'il soit chaud.
Serrez le frein de stationnement et appuyez sur le haut de la pédale de déplacement pour conduire la machine en marche avant et sur le bas de la pédale pour faire marche arrière.
Important: Attendez l'arrêt complet du pulvérisateur avant de passer de la MARCHE AVANT à la MARCHE ARRIèRE ou inversement.
Pour vous arrêter lentement, relâchez la pédale de déplacement.
Note: La pédale de déplacement revient en position NEUTRE.
Pour vous arrêter rapidement, appuyez sur la pédale de frein.
Note: La distance d'arrêt de la machine peut varier suivant la charge de la cuve du pulvérisateur et la vitesse de déplacement de la machine.
Si vous appuyez sur la commande de blocage de la vitesse de déplacement sans enfoncer la pédale de déplacement, la machine peut s'arrêter brutalement ; vous risquez alors d'en perdre le contrôle et de vous blesser ou de blesser d'autres personnes.
Enfoncez toujours la pédale de déplacement quand vous désengagez la commande de blocage de la vitesse de déplacement.
Démarrer la pompe de pulvérisation en poussant la commande de la pompe en position ACTIVéE ; voir Commande de pompe de pulvérisation.
Conduisez la machine en marche avant jusqu'à ce que vous atteigniez la vitesse voulue ; voir Conduire la machine.
Note: Vous devez conduire la machine à moins de 11 km/h pour programmer le blocage de la vitesse de déplacement.
Appuyez sur le haut de la commande de blocage de la vitesse de déplacement.
Note: Le témoin de la commande doit s'allumer.
Enlevez le pied de la pédale de déplacement.
Note: Le pulvérisateur reste à la vitesse que vous avez choisie.
Pour relâcher la commande de blocage de la vitesse de déplacement, enfoncez la pédale de déplacement et appuyez sur le bas de la commande ou retirez le pied de la pédale de déplacement et enfoncez la pédale de frein.
Note: Le témoin de la commande s'éteint et vous pouvez à nouveau commander le déplacement avec la pédale.
Placez toutes les commandes en position de POINT MORT.
Appuyez sur la pédale de frein pour arrêter le pulvérisateur.
Serrez le frein de stationnement.
Placez la commande d'accélérateur à la position RALENTI/BAS RéGIME.
Tournez la clé à la position ARRêT.
Retirez la clé de contact du commutateur pour éviter tout démarrage accidentel du moteur.
Pour utiliser le pulvérisateur Multi Pro®, vous devez d'abord remplir la cuve, puis pulvériser le mélange de produit sur la zone de travail et finir par le nettoyage de la cuve et du système de pulvérisation. Il est important d'effectuer chacune de ces opérations dans l'ordre et successivement pour éviter d'endommager le pulvérisateur. Par exemple, vous ne devez pas mélanger ni ajouter de produits chimiques dans la cuve du pulvérisateur le soir pour les pulvériser le lendemain matin. Cela entraîne la séparation des produits chimiques et peut endommager les composants du pulvérisateur.
Les produits chimiques sont dangereux et peuvent causer des blessures.
Avant de manipuler les produits chimiques, lisez le mode d'emploi et suivez toutes les recommandations et les précautions du fabricant.
Ne mettez pas les produits chimiques en contact avec la peau. En cas de contact, lavez soigneusement la zone affectée à l'eau propre et au savon.
Portez un équipement de protection individuelle adapté (EPI) conformément aux instructions du fabricant du produit chimique.
Le pulvérisateur Multi Pro® est spécialement conçu pour offrir une grande durabilité et une longue vie utile. À cet effet, différents matériaux ont été spécifiquement choisis pour les différentes parties de la machine. Il n'existe malheureusement aucun matériau unique convenant à toutes les applications prévisibles.
Certains produits chimiques sont plus agressifs que les autres et chacun réagit différemment avec divers matériaux. Certaines consistances (poudres mouillables, charbon de bois, par ex.) sont plus abrasives et entraînent des taux d'usure plus élevés. Si un produit chimique est proposé sous forme d'une préparation qui prolonge la vie utile du pulvérisateur, choisissez cette préparation.
Comme toujours, ne manquez pas de nettoyer le pulvérisateur et le système de pulvérisation après chaque application. Votre pulvérisateur bénéficiera ainsi d'une longue vie et d'un fonctionnement exempt de problèmes.
Note: Si vous avez besoin de conseils ou de renseignements supplémentaires concernant le système de pulvérisation, consultez le Manuel de l'utilisateur fourni avec le système.
Reportez-vous au Guide du logiciel des pulvérisateurs Multi Pro 5800-D et 5800-G avec système de pulvérisation ExcelaRate pour en savoir plus sur ce qui suit :
Avant l'utilisation
L'écran d'accueil de l'InfoCenter
L'écran du menu principal
Les sous écrans du menu principal
Les écrans d'entretien
Les écrans de diagnostic
Les écrans de renseignements (À propos)
Pendant l'utilisation
Saisie des données de tâche
Écrans superficie de pulvérisation de l'InfoCenter
Avis de l'InfoCenter
Reportez-vous au Guide du logiciel des pulvérisateurs Multi Pro 5800-D et 5800-G avec système de pulvérisation ExcelaRate pour en savoir plus sur les procédures suivantes :
Important: Pour que le produit reste bien mélangé, utilisez la fonction d'agitation chaque fois que la cuve contient de la solution.
Vérifiez que le système de pulvérisation est étalonné pour les buses actives que vous avez sélectionnées ; reportez-vous au Guide du logiciel des pulvérisateurs Multi Pro 5800-D et 5800-G avec système de pulvérisation ExcelaRate.
Tournez la vanne de coupure de dérivation de section à la position fermée (Figure 34).

Placez le secteur de mode du pulvérisateur en position Mode débit d'application (Figure 35).

Conduisez le pulvérisateur jusqu'à la surface à pulvériser.
Si vous collectez des données de superficie pulvérisée et de volume pulvérisé pour chaque site, sélectionnez un écran de sous-zone (sous-zones 1 à 20) pour enregistrer les données de superficie et de volume individuelles ; reportez-vous à Utilisation de l'écran Sous-zone dans le Guide du logiciel pour les pulvérisateurs Multi Pro 5800-D et 5800-G avec système de pulvérisation ExcelaRate.
Note: Lorsque vous changez de site, vous devez sélectionner un autre écran de sous-zone pour enregistrer les données de superficie et de volume individuelles.
Si vous avez besoin de changer le débit actif entre le débit 1 le débit 2, à partir de l'écran d'accueil de InfoCenter, appuyez simultanément sur les boutons 1 et 2 pour sélectionner le DéBIT 1 ou appuyez simultanément sur les boutons 4 et 5 pour sélectionner le DéBIT 2 ; reportez-vous au Guide du logiciel pour les pulvérisateurs Multi Pro 5800-D et 5800-G avec système de pulvérisation ExcelaRate.
Placez le(s) interrupteur(s) de section de pulvérisation en position ACTIVéE (Figure 36).

Réglez la commande d'agitation et la commande de la pompe de pulvérisation en position ACTIVéE (Figure 37).

Placez la commande d'accélérateur en position HAUT RéGIME (Figure 37).
Conduisez à la vitesse voulue puis réglez la commande générale des sections à la position ACTIVéE pour commencer la pulvérisation (Figure 36).
Note: Utilisez la commande générale pour lancer et arrêter le flux de produits chimiques vers les sections sélectionnées du pulvérisateur.
Une fois la pulvérisation terminée, placez la commande générale des sections en position DéSACTIVéE pour mettre toutes les sections hors service, puis réglez la commande de la pompe de pulvérisation à la position DéSACTIVéE.
Note: Levez les sections de pulvérisation extérieures à la position de transport et conduisez le pulvérisateur jusqu'à la zone de nettoyage.
Important: Lorsque vous déplacez le pulvérisateur d'une zone de pulvérisation à une autre ou que vous l'amenez dans la zone de remisage ou de nettoyage, levez toujours les sections de rampe jusqu'à ce qu'elles soient complètement rentrées dans le berceau de transport et repliées en croix, et que les vérins soient complètement rétractés.
Note: Cette procédure suppose que la pompe de pulvérisation est en marche ; voir Pulvérisation en mode débit d'application sous Figure 37.
Vérifiez que le système de pulvérisation est réglé pour les buses actives que vous avez sélectionnées ; voir Étalonnage de la vanne de dérivation d'agitation.
Placez le sélecteur de mode du pulvérisateur en position Mode manuel (Figure 38).

Placez la commande générale des sections à la position DéSACTIVéE ; voir Figure 36 sous Pulvérisation en mode débit d'application.
Réglez la commande d'accélérateur pour obtenir le régime moteur voulu pour pulvériser ; voir Figure 37 sous Pulvérisation en mode débit d'application.
Conduisez la machine jusqu'à la zone de pulvérisation.
Abaissez les sections en position.
Placez les interrupteurs des sections individuelles en position ACTIVéE ; voir Figure 36 sous Pulvérisation en mode débit d'application.
Utilisez la commande de débit de pulvérisation pour obtenir la pression voulue comme indiqué dans le guide de sélection des buses fourni avec le pulvérisateur (Figure 39).

Conduisez à la vitesse voulue puis réglez la commande générale à la position ACTIVéE pour commencer la pulvérisation ; voir Figure 36 sous Pulvérisation en mode débit d'application.
Note: Lorsque la cuve est pratiquement vide, l'agitation peut créer de la mousse à l'intérieur. Tournez la commande d'agitation en position DéSACTIVéE. Vous pouvez aussi ajouter un agent antimousse dans la cuve.
Une fois la pulvérisation terminée, placez la commande générale en position DéSACTIVéE pour mettre toutes les sections hors service, puis réglez la commande de pompe de pulvérisation à la position ARRêT.
Note: Ramenez les sections à la position de transport et conduisez le pulvérisateur jusqu'à la zone de nettoyage.
Important: Lorsque vous déplacez le pulvérisateur d'une zone de pulvérisation à une autre ou que vous l'amenez dans la zone de remisage ou de nettoyage, élevez toujours les sections jusqu'à ce qu'elles soient complètement rentrées dans le berceau de transport et repliées en croix, et que les vérins soient complètement rétractés.
Matériel fourni par le client : un récipient gradué (gradué de préférence tous les 0,01 ml et un chronomètre.
Important: Dans la mesure du possible, n'utilisez pas d'eau recyclée (eau grise) dans la cuve du pulvérisateur.
Vérifiez que la cuve du pulvérisateur est propre ; voir Nettoyage du système de pulvérisation.
Versez au moins 568 litres d'eau douce propre dans la cuve ; voir Remplissage de la cuve du pulvérisateur.
Vérifiez que les buses que vous voulez tester sont en position de pulvérisation active (abaissées).
Pour les machines fonctionnant en mode débit d'application, vérifiez que la vanne de coupure de dérivation de section à la position fermée (Figure 40).

Pour les machines fonctionnant en mode débit d'application, vérifiez que la vanne de coupure de dérivation de section est fermée (Figure 40).
Serrez le frein de stationnement et mettez le moteur en marche.
Note: Faites chauffer le moteur pendant 10 minutes.
Pour les machines fonctionnant en mode débit d'application, effectuez la procédure décrire sous Utilisation de la vitesse d'essai ; reportez-vous au Guide du logiciel pour les pulvérisateurs Multi Pro 5800-D et 5800-G avec système de pulvérisation ExcelaRate.
Note: Réglez la vitesse d'essai simulée entre 4 km/h et 14 km/h.
Placez le(s) interrupteur(s) de section en position ACTIVéE pour la ou les sections que vous testez.
Placez la commande d'accélérateur en position HAUT RéGIME.
Placez la commande générale des sections en position ACTIVéE.
Effectuez un test de récupération de 15 secondes sur l'une des buses de pulvérisation actives.

Placez la commande générale des sections en position désactivée, la commande d'accélérateur en position de bas régime, arrêtez la pompe de pulvérisation et coupez le moteur.
Placez le récipient gradué sur une surface plane et horizontale, et notez le volume de liquide (Figure 42).
Important: Pour lire correctement le récipient gradué, vous devez le poser sur une surface plane et horizontale.
Important: Lorsque vous lisez le récipient gradué, relevez le volume de liquide au point le plus bas de la courbe de surface du liquide.
Important: Les petites erreurs de relevé du volume de liquide dans le récipient gradué auront un impact significatif sur la précision d'étalonnage du pulvérisateur.

Comparez le volume d'eau dans le récipient gradué et le volume à la buse en vous reportant au tableau du test de récupération de 15 secondes.
| Couleur de buse | Millilitres récupérés en 15 secondes | Onces récupérées en 15 secondes |
| Jaune | 189 | 6,4 |
| Rouge | 378 | 12,8 |
| Marron | 473 | 16 |
| Gris | 567 | 19,2 |
| Blanc | 757 | 25,6 |
| Bleu | 946 | 32 |
| Vert | 1 419 | 48 |
Si le niveau de liquide dans le récipient gradué est supérieur ou inférieur de 7,4 ml au volume à la buse dans le tableau de test de récupération de 15 secondes, effectuez l'une des procédures suivantes :
Effectuez un étalonnage du débit ou remplacez les buses usées et effectuez un étalonnage de débit ; reportez-vous au Guide du logiciel pour les pulvérisateurs Multi Pro 5800-D et 5800-G avec système de pulvérisation ExcelaRate.
Étalonnez la vanne de dérivation d'agitation ou remplacez les buses usées et étalonnez la vanne de dérivation d'agitation ; voir Étalonnage de la vanne de dérivation d'agitation.
Les interrupteurs de levage des sections de rampe situés sur le panneau de commande du pulvérisateur vous permettent de placer les sections extérieures en position transport ou de pulvérisation sans quitter le siège. Dans la mesure du possible, arrêtez la machine avant de changer les sections de position.
Effectuez la procédure suivante pour placer les sections extérieures en position de PULVéRISATION :
Garez la machine sur un sol plat et horizontal.
Utilisez les interrupteurs de levage des sections de rampe pour abaisser les sections extérieures.
Note: Attendez que les sections extérieures soient complètement déployées en position de pulvérisation.
Terminez la pulvérisation en cours, puis effectuez la procédure suivante pour rétracter les sections extérieures en position de transport :
Important: Si votre machine est équipée du kit déflecteur de dérive de pulvérisation, du kit de mise à niveau de rampe ultrasonique ou des deux, placez les sections extérieures en position de transport l'une après l'autre.Si le kit déflecteur ou le kit de mise à niveau est installé et que vous déplacez les deux sections extérieures en même temps, vous risquez d'endommager les déflecteurs, les capteurs ou les deux.
Garez la machine sur un sol plat et horizontal.
Utilisez les interrupteurs de levage pour lever les sections extérieures jusqu'à ce qu'elles soient complètement rentrées dans le berceau de transport et repliées en croix, et que les vérins de levage soient complètement rétractés.
Important: Relâchez les ou les interrupteurs de levage une fois que les sections extérieures ont atteint la position voulue. Les vérins de levage et/ou d'autres composants hydrauliques peuvent être endommagés s'ils percutent les butées mécaniques.

Important: Pour ne pas endommager les vérins de levage, rétractez-les toujours complètement avant de transporter la machine.
Le pulvérisateur est équipé d'un berceau de transport des sections de rampes qui comporte un équipement unique en son genre. Vous pouvez pousser les sections hors des berceaux de transport si elles touchent accidentellement un obstacle en passant dessous. Dans ce cas, les sections se posent en position quasi horizontale sur l'arrière de la machine. Ce déplacement n'endommage pas les sections, mais il faut cependant les remettre immédiatement dans le berceau de transport.
Important: Les sections peuvent être endommagées si elles sont transportées autrement que repliées en croix dans le berceau de transport.
Pour remettre les sections extérieures dans le berceau de transport, abaissez-les en position de pulvérisation puis élevez-les en position de transport. Les vérins doivent être complètement rétractés pour éviter d'endommager la tige.
Important: Dans certains cas, la chaleur produite par le moteur, le radiateur et le silencieux peut endommager l'herbe quand vous pulvérisez sur place. Les modes de fonctionnement « machine arrêtée » comprennent l'agitation de la cuve, la pulvérisation manuelle au pistolet et l'utilisation d'une rampe ambulante.
Prenez les précautions suivantes :
Évitez de pulvériser sur place par temps chaud et/ou sec, car l'herbe peut être plus fragile dans ces conditions.
Évitez de garer la machine sur la pelouse quand vous pulvérisez sur place. Garez-vous sur une piste pour voiturette dans la mesure du possible.
Minimisez le temps pendant lequel la machine reste sur place, moteur en marche. La durée d'immobilisation et la température ont toutes deux un effet sur l'état de l'herbe.
Réglez le régime moteur aussi bas que possible pour obtenir la pression et le débit voulus. Cela minimise la chaleur produite et la vitesse de l'air provenant du ventilateur de refroidissement.
Quand vous travaillez sur place, laissez la chaleur s'échapper vers le haut du compartiment moteur, en soulevant les sièges, au lieu de l'expulser sous le véhicule.
N'empiétez pas sur les zones pulvérisées précédemment.
Recherchez les buses bouchées. Remplacez toutes les buses usées ou endommagées.
Utilisez la commande générale des sections pour arrêter la pulvérisation avant d'arrêter la machine. Lorsque la machine est arrêtée, utilisez la commande d'accélérateur pour maintenir le régime moteur afin de ne pas interrompre l'agitation.
Vous obtiendrez de bien meilleurs résultats si le pulvérisateur se déplace quand vous mettez les sections en service.
Si une buse se bouche en cours de pulvérisation, nettoyez-la comme suit :
Arrêtez le pulvérisateur sur une surface plane et horizontale, coupez le moteur et serrez le frein de stationnement.
Réglez la commande générale des sections en position DéSACTIVéE et la commande de la pompe en position ARRêT.
Déposez la buse bouchée et nettoyez-la avec un flacon pulvérisateur d'eau ou une brosse à dents.
Reposez la buse.
Avant de quitter la position d'utilisation, effectuez la procédure suivante :
Garez la machine sur un sol plat et horizontal.
Serrez le frein de stationnement.
Coupez le moteur de la machine et enlevez la clé (selon l'équipement).
Attendez l'arrêt complet de tout mouvement.
À la fin de votre journée de travail, lavez les résidus de produit chimique qui se sont déposés sur les surfaces extérieures de la machine et veillez à neutraliser et rincer trois fois le système conformément aux recommandations du ou des fabricant(s) des produits chimiques et assurez-vous que toutes les vannes ont effectué 3 cycles ; voir la section sur la sécurité chimique.
Laissez refroidir le moteur avant de ranger la machine dans un local fermé.
Ne remisez jamais la machine ni les bidons de carburant à proximité d'une flamme nue, d'une source d'étincelles ou d'une veilleuse, telle celle d'un chauffe-eau ou autre appareil.
Maintenez toutes les pièces de la machine en bon état de marche et toutes les fixations bien serrées.
Remplacez tous les autocollants usés, endommagés ou manquants.
Au besoin, lavez la machine seulement avec de l'eau ou en y ajoutant un détergent doux. Vous pouvez laver la machine à l'aide d'un chiffon.
Important: Ne nettoyez pas la machine avec de l'eau saumâtre ou recyclée.
Note: N'utilisez pas un jet à haute pression pour laver la machine. Cela pourrait endommager le système électrique, décoller des autocollants importants ou enlever la graisse nécessaire aux points de frottement. N'utilisez pas trop d'eau près du panneau de commande, du moteur et de la batterie.
Important: Ne lavez pas la machine pendant que le moteur tourne. Cela pourrait endommager les pièces internes du moteur.
Arrêtez le pulvérisateur, serrez le frein de stationnement, coupez le moteur et enlevez la clé.
Trouvez l'emplacement du robinet de vidange de la cuve sur l'aile arrière gauche de la machine (Figure 44).
Note: Le robinet de vidange est fixé au support qui est monté sur l'aile arrière gauche.

Soulevez le robinet jusqu'à ce que les goujons de montage soient dégagés des fentes dans le support, puis déplacez le robinet vers l'arrière (Figure 45A).

Alignez l'extrémité du robinet et le bac de vidange, et tournez la poignée à la position ouverte (Figure 45B).
Lorsque la cuve est complètement vide, tournez la poignée du robinet de vidange à la position fermée et replacez le robinet sur son support (Figure 45B et Figure 45A).
Important: Débarrassez-vous des produits chimiques du pulvérisateur conformément à la réglementation locale en matière d'environnement et aux consignes du fabricant.
| Périodicité d'entretien | Procédure d'entretien |
|---|---|
| Après chaque utilisation |
|
Important: Utilisez uniquement de l'eau propre pour nettoyer le pulvérisateur.
Important: Vidangez et rincez toujours le pulvérisateur, y compris les accessoires de pulvérisation qui sont montés, immédiatement après chaque utilisation. Si vous ne le faites pas, les produits chimiques risquent de sécher et de boucher les canalisations, les filtres, les vannes, les buses, la pompe et autres composants.
Utilisez le kit de rinçage et nettoyage approuvé pour cette machine. Pour plus de renseignements, contactez votre distributeur Toro agréé.
Note: Les recommandations et instructions qui suivent supposent que le kit de rinçage Toro n'est pas installé.
Nettoyez le système de pulvérisation et les accessoires installés après chaque séance de pulvérisation. Pour nettoyer correctement le système de pulvérisation, procédez comme suit :
Effectuez 3 cycles de rinçage séparés.
Utilisez les agents nettoyants et neutralisants recommandés par les fabricants des produits chimiques.
Utilisez de l'eau propre et pure (sans agents nettoyants ou neutralisants) pour le dernier rinçage.
Versez au moins 190 l d'eau propre dans la cuve et fermez le couvercle.
Note: Vous pouvez ajouter un agent nettoyant/neutralisant à l'eau au besoin. Pour le dernier rinçage, utilisez uniquement de l'eau pure et propre.
Abaissez les sections extérieures en position de pulvérisation.
Démarrez le moteur, placez la commande de pompe en position de MARCHE et la commande d'accélérateur en position de régime élevé.
Réglez la commande d'agitation à la position de MARCHE.
À l'aide de la commande de débit, réglez la pression à la valeur maximale.
Réglez la commande générale et les interrupteurs des sections en position MARCHE.
Vérifiez que toutes les buses pulvérisent correctement.
Attendez que toute l'eau de la cuve soit pulvérisée par les buses.
Réglez la commande générale des sections à la position ARRêT, la commande d'agitation et la commande de pompe de pulvérisation à la position ARRêT, puis coupez le moteur.
Répétez les opérations 1 à 9 au moins 2 autres fois pour que le système de pulvérisation soit parfaitement nettoyé.
Important: Vous devez toujours effectuer 3 cycles de rinçage pour nettoyer parfaitement le système de pulvérisation et les accessoires de pulvérisation ; cela évitera de causer des dommages au système.
Nettoyez le filtre d'aspiration et le filtre sous pression ; voir Nettoyage du filtre d'aspiration et Nettoyage du filtre sous pression.
Important: Si vous utilisez des produits chimiques en poudre mouillable, nettoyez la crépine après chaque remplissage de la cuve.
À l'aide d'un tuyau d'arrosage ordinaire, lavez l'extérieur du pulvérisateur à l'eau propre.
Déposez les buses et nettoyez-les à la main.
Note: Remplacez les buses usées ou endommagées.
Note: Si votre machine est équipée des filtres de buses en option, nettoyez-les avant de mettre les buses en place ; voir Nettoyage du filtre de buse.
| Périodicité d'entretien | Procédure d'entretien |
|---|---|
| À chaque utilisation ou une fois par jour |
|
Garez la machine sur une surface plane et horizontale, serrez le frein de stationnement, arrêtez la pompe, coupez le moteur et enlevez la clé de contact.
Au sommet de la cuve du pulvérisateur, retirez l'étrier qui fixe le raccord de flexible sur le grand flexible et le logement du filtre (Figure 46).

Retirez le flexible et le raccord du logement du filtre (Figure 46).
Sortez la crépine d'aspiration du logement du filtre dans le réservoir (Figure 47).

Nettoyez le filtre d'aspiration à l'eau propre.
Important: Remplacez le filtre à air s'il est endommagé ou s'il est impossible de le nettoyer.
Insérez le filtre d'aspiration dans le logement du filtre jusqu'à ce que le filtre soit complètement engagé.
Alignez le flexible et le raccord sur le logement du filtre au sommet du réservoir, et fixez le raccord et le logement avec l'étrier retiré à l'opération 2.
| Périodicité d'entretien | Procédure d'entretien |
|---|---|
| À chaque utilisation ou une fois par jour |
|
Garez la machine sur une surface plane et horizontale, serrez le frein de stationnement, arrêtez la pompe de pulvérisation, coupez le moteur et enlevez la clé de contact.
Placez un bac de vidange sous le filtre sous pression (Figure 48).

Tournez le bouchon de vidange dans le sens antihoraire et déposez-le de la cuvette du filtre sous pression (Figure 48).
Note: Vidangez complètement la cuvette.
Tournez la cuvette dans le sens antihoraire et déposez la tête du filtre (Figure 48).
Retirez l'élément du filtre sous pression (Figure 48).
Nettoyez l'élément du filtre sous pression à l'eau propre.
Important: Remplacez le filtre à air s'il est endommagé ou s'il est impossible de le nettoyer.
Contrôlez l'état et l'usure du joint du bouchon de vidange (à l'intérieur de la cuvette) et du joint de la cuvette (à l'intérieur de la tête du filtre) (Figure 48).
Important: Remplacez les joints usés ou endommagés du bouchon, de la cuvette ou les deux .
Montez l'élément filtrant dans la tête du filtre sous pression (Figure 48).
Note: Vérifiez que l'élément filtrant est bien engagé dans la tête du filtre.
Vissez la cuvette sur la tête du filtre et serrez-la à la main (Figure 48).
Vissez le bouchon de vidange sur le raccord au fond de la cuvette et serrez-le à la main (Figure 48).
Garez la machine sur une surface plane et horizontale, serrez le frein de stationnement, arrêtez la pompe de pulvérisation, coupez le moteur et enlevez la clé de contact.
Déposez la buse de la tourelle de pulvérisation (Figure 49).

Déposez le filtre de buse (Figure 49).
Nettoyez le filtre de buse à l'eau propre.
Important: Remplacez le filtre à air s'il est endommagé ou s'il est impossible de le nettoyer.
Montez le filtre de buse (Figure 49).
Note: Vérifiez que le filtre est complètement engagé.
Montez la buse sur la tourelle de pulvérisation (Figure 49).
| Périodicité d'entretien | Procédure d'entretien |
|---|---|
| Après chaque utilisation |
|
Spécifications du conditionneur : « antigel RV non toxique » au propylène glycol avec inhibiteur de corrosion
Important: Utilisez uniquement du propylène glycol avec inhibiteur de corrosion. N'utilisez pas de propylène glycol recyclé. N'utilisez pas d'antigel à l'éthylène glycol.N'utilisez pas de propylène glycol additionné d'alcools solubles (méthanol, éthanol ou isopropanol) ou de saumures.
Amenez la machine sur une surface plane et horizontale, serrez le frein de stationnement, coupez le moteur et enlevez la clé de contact.
Ajoutez le conditionneur dans le réservoir comme suit :
Pour de l'antigel RV au propylène glycol prêt à l'utilisation (prémélangé), ajoutez 38 litres de gallons de cet antigel dans le réservoir.
Pour de l'antigel RV au propylène glycol concentré, procédez comme suit :
Ajoutez 38 litres de mélange antigel RV au propylène glycol RV et eau dans la cuve du pulvérisateur. Préparez le mélange antigel comme expliqué par le fabricant pour une concentration adaptée pour -45°C minimum.
Important: Utilisez uniquement de l'eau propre pour nettoyer le pulvérisateur.
Mettez le moteur en marche et réglez la commande de la pompe de pulvérisation à la position MARCHE.
Appuyez sur la pédale d'accélérateur pour augmenter le régime moteur.
Réglez la commande d'agitation à la position de MARCHE.
Faites circuler le mélange conditionneur et eau pendant au moins 3 minutes.
Outil recommandé : récipient de récupération transparent.
Amenez la machine jusqu'à une zone de vidange et serrez le frein de stationnement.
Abaissez les sections de rampes extérieures.
Réglez les interrupteurs des sections gauche, centrale et droite, ainsi que la commande générale des sections à la position MARCHE.
Actionnez le système de pulvérisation jusqu'à ce que le conditionneur sorte par les buses.
Note: La plupart des antigels RV au propylène glycol sont de couleur rose. Utilisez le récipient de récupération pour recueillir le liquide pulvérisé par plusieurs des buses.
Coupez la commande générale des sections, les 3 interrupteurs de section, la commande d'agitation, la commande de la pompe de pulvérisation et le moteur.
Chargez la machine sur une remorque ou un camion pour la déplacer sur une longue distance.
En cas d'urgence, vous pouvez remorquer le pulvérisateur sur une courte distance après avoir ouvert la vanne de remorquage. Nous vous déconseillons toutefois d'employer cette procédure de manière habituelle.
Le remorquage à des vitesses excessives peut entraîner la perte du contrôle de la direction et provoquer des accidents.
Ne remorquez jamais le véhicule à plus de 4,8 km/h.
Le remorquage du pulvérisateur nécessite l'intervention de 2 personnes. Si vous devez déplacer la machine sur une longue distance, faites-la transporter par camion ou chargez-la sur une remorque ; voir Transport de la machine.
Laissez complètement refroidir le système d'échappement.
Déposez le carénage du soubassement ; voir Dépose du carénage de soubassement.
Tournez la vanne de remorquage (Figure 52) de 90° dans un sens ou dans l'autre pour l'ouvrir.

Important: Si vous n'ouvrez pas la vanne de remorquage avant de remorquer le pulvérisateur, la transmission sera endommagée.
Accrochez un câble de remorquage au cadre ; voir les points de remorquage avant et arrière (Figure 53 et Figure 54).


Desserrez le frein de stationnement.
Ne remorquez pas le pulvérisateur à plus de 4,8 km/h.
Une fois le remorquage effectué, fermez la vanne de remorquage et serrez-la à un couple de 7 à 11 N·m.
Important: Avant de remettre la machine en service, reposez le carénage du soubassement ; voir Pose du carénage de soubassement.
Note: Vous pouvez télécharger un exemplaire gratuit du schéma hydraulique ou électrique en vous rendant sur www.Toro.com et en recherchant votre machine sous le lien Manuels sur la page d'accueil.
Important: Reportez-vous au manuel du propriétaire du moteur pour toutes procédures d'entretien supplémentaires.
Note: Les côtés gauche et droit de la machine sont déterminés d'après la position d'utilisation normale.
Avant de quitter la position d'utilisation :
Garez la machine sur un sol plat et horizontal.
Sélectionnez le POINT MORT (transmission manuelle) ou la position STATIONNEMENT (transmission automatique).
Serrez le frein de stationnement.
Coupez le moteur de la machine et enlevez la clé (selon l'équipement).
Attendez l'arrêt complet de tout mouvement.
Laissez refroidir les composants de la machine avant d'effectuer tout entretien.
Ne confiez l'entretien, les réparations, les réglages et les contrôles de la machine qu'à du personnel qualifié et autorisé.
Avant d'effectuer un entretien, nettoyez et rincez soigneusement le pulvérisateur ; voir la Sécurité chimique.
Les produits chimiques utilisés dans le système de pulvérisation peuvent être nocifs et toxiques pour vous-même, toute personne présente, les animaux, les plantes, les sols et autres.
Lisez attentivement les étiquettes signalétiques et les fiches de données de sécurité (FDS) de tous les produits chimiques utilisés et protégez-vous en suivant les recommandations des fabricants des produits chimiques.
Protégez toujours votre peau quand vous travaillez près de produits chimiques. Utilisez un équipement de protection individuelle (EPI) adapté pour éviter tout contact direct avec les produits chimiques, notamment :
lunettes de sécurité, lunettes étanches et/ou écran facial
combinaison de protection chimique
appareil respiratoire ou masque filtrant
gants résistants aux produits chimiques
bottes en caoutchouc ou autres chaussures solides
vêtements de rechange propres, savon et serviettes jetables pour le nettoyage
Refusez d'utiliser ou d'intervenir sur le pulvérisateur si les informations sur la sécurité des produits chimiques ne sont pas disponibles.
Ne remplissez-pas, n'étalonnez pas ou ne nettoyez pas la machine lorsque des personnes, en particulier des enfants, ou des animaux se trouvent à proximité.
Manipulez les produits chimiques dans un local bien ventilé.
Prévoyez une source d'eau propre surtout pour remplir la cuve du pulvérisateur.
Vous ne devez jamais manger, boire ou fumer lorsque vous travaillez près de produits chimiques.
Ne nettoyez pas les buses de pulvérisation en soufflant dedans ou les mettant dans la bouche.
Lavez-vous toujours les mains et toute partie du corps exposée après avoir travaillé avec des produits chimiques.
Les produits chimiques et les vapeurs à l'intérieur des cuves sont dangereux. Ne pénétrez jamais à l'intérieur et ne passez jamais votre tête au-dessus ou par l'ouverture de la cuve.
Vérifiez l'état de la machine dans son ensemble et maintenez toutes les fixations serrées au couple prescrit.
Pour réduire les risques d'incendie, débarrassez le moteur de tout excès de graisse, produits chimiques, débris d'herbe, feuilles et saletés.
Si le moteur doit tourner pour effectuer un réglage, n’approchez pas les mains, les pieds et autres parties du corps ni les vêtements, du moteur et des pièces mobiles. Tenez tout le monde à l'écart.
Ne modifiez pas la vitesse de déplacement de la machine. Pour garantir la sécurité et la précision du fonctionnement, demandez à un distributeur Toro agréé de contrôler la vitesse de déplacement.
Si la machine nécessite une réparation importante ou si vous avez besoin d'une assistance technique, contactez un concessionnaire Toro agréé.
Toute modification de la machine susceptible d'en altérer le fonctionnement, les performances, la durabilité ou l'utilisation risque d'entraîner des blessures parfois mortelles. La garantie risque alors d'être annulée.
Soutenez la machine avec des chandelles chaque fois que vous devez travailler dessous.
Libérez la pression emmagasinée dans les composants avec précaution.
| Périodicité d'entretien | Procédure d'entretien |
|---|---|
| Après les 8 premières heures de fonctionnement |
|
| Après les 50 premières heures de fonctionnement |
|
| Après les 100 premières heures de fonctionnement |
|
| Après les 200 premières heures de fonctionnement |
|
| À chaque utilisation ou une fois par jour |
|
| Après chaque utilisation |
|
| Toutes les 50 heures |
|
| Toutes les 100 heures |
|
| Toutes les 200 heures |
|
| Toutes les 400 heures |
|
| Toutes les 800 heures |
|
| Toutes les 1000 heures |
|
| Toutes les 2000 heures |
|
| Une fois par an |
|
Copiez cette page pour pouvoir vous en servir régulièrement.
|
Entretiens à effectuer |
Pour la semaine du : |
||||||
|---|---|---|---|---|---|---|---|
|
Lundi |
Mardi |
Mercredi |
Jeudi |
Vendredi |
Samedi |
Dimanche |
|
|
Contrôlez le fonctionnement du frein et du frein de stationnement. | |||||||
|
Contrôlez le fonctionnement de l'interrupteur de verrouillage du point mort. | |||||||
|
Contrôlez le niveau de carburant. | |||||||
|
Contrôlez le niveau d'huile moteur. | |||||||
|
Contrôlez le niveau de liquide hydraulique. | |||||||
|
Contrôlez le niveau du liquide de refroidissement. | |||||||
|
Examinez le filtre à air. | |||||||
|
Vérifiez la propreté du radiateur et du refroidisseur d'huile. | |||||||
|
Vérifiez tous bruits anormaux en provenance du moteur. | |||||||
|
Vérifiez tous bruits de fonctionnement anormaux. | |||||||
|
Contrôlez la pression des pneus. | |||||||
|
Recherchez les fuites éventuelles. | |||||||
|
Contrôlez tous les flexibles hydrauliques et de liquide pour vérifier s'ils sont endommagés, pliés ou usés. | |||||||
|
Vérifiez le fonctionnement des instruments. | |||||||
|
Vérifiez le fonctionnement de l'accélérateur. | |||||||
|
Nettoyez la crépine d'aspiration. | |||||||
|
Lubrifiez tous les graisseurs1 | |||||||
|
Lavez la machine. | |||||||
|
Retouchez les peintures endommagées. | |||||||
1Immédiatement après chaque lavage, quelle que soit la fréquence d'entretien indiquée.
| Contrôle effectué par : | ||
| Point contrôlé | Date | Information |
| 1 | ||
| 2 | ||
| 3 | ||
| 4 | ||
| 5 | ||
| 6 | ||
| 7 | ||
| 8 | ||
| 9 | ||
| 10 | ||
Si vous laissez la clé dans le commutateur d'allumage, quelqu'un pourrait mettre le moteur en marche accidentellement et vous blesser gravement, ainsi que toute personne à proximité.
Avant tout entretien, retirez la clé du commutateur d'allumage.
Si le moteur doit tourner à des fins d'entretien et/ou de diagnostic du moteur, placez des chandelles sous le pont arrière de manière que les roues arrière soient à 25 mm du sol.
Un pulvérisateur en appui sur un cric peut être instable ; il pourrait tomber et blesser la personne qui se trouve dessous.
Retirez toujours la clé du commutateur d'allumage avant de descendre du pulvérisateur.
Calez les roues quand le pulvérisateur est soutenu par un cric.
Soutenez la machine avec des chandelles.
Le point de levage à l'avant du pulvérisateur se trouve sous l'essieu avant, directement sous les ressorts à lames (Figure 55).

Le point de levage à l'arrière du pulvérisateur se trouve à l'emplacement des supports de rampes (Figure 56).

Serrez le frein de stationnement, arrêtez la pompe de pulvérisation, coupez le moteur et enlevez la clé du commutateur d'allumage.
Élevez l'avant et l'arrière de la machine et soutenez-la avec des chandelles ; voir Levage du pulvérisateur.
Retirez les 6 boulons à tête hexagonale et les 6 rondelles qui fixent l'écran pare-chaleur avant au châssis et déposez l'écran (Figure 57).
Note: Conservez les boulons, les rondelles et l'écran pare-chaleur en vue de la repose à la section Pose de l'écran pare-chaleur avant.

Alignez la bride arrière de l'écran pare-chaleur avant et la bride avant de l'écran pare-chaleur arrière (Figure 58).

Alignez les trous de l'écran pare-chaleur avant et les trous filetés du châssis (Figure 58).
Montez l'écran pare-chaleur avant sur la machine au moyen des 6 boulons à tête hexagonale et des 6 rondelles (Figure 58) retirés à l'opération 3 de Dépose de l'écran pare-chaleur avant.
Serrez les boulons à un couple de 19,78 à 25,42 N·m.
Retirez les chandelles et abaissez la machine.
Retirez les 5 boulons à embase (5/16" x ⅞") et les 5 rondelles (5/16") qui fixent l'arrière du carénage de soubassement au châssis de la machine (Figure 59).
Note: Conservez les boulons à embase et les rondelles pour le montage à l'opération 5 de Pose du carénage de soubassement.


Retirez les 4 contre-écrous à embase (5/16") des boulons et le boulon de carrosserie qui fixent les languettes de montage du carénage de soubassement aux supports du moteur de la machine (Figure 60).
Note: Ne retirez pas les boulons de la machine. Conservez les contre-écrous à embase pour la pose à l'opération 3 de Pose du carénage de soubassement.

Dégagez les languettes de montage des boulons qui fixent le carénage de soubassement aux supports du moteur.
Déposez le carénage de soubassement de la machine (Figure 59 et Figure 60).
Alignez le carénage de soubassement sur le châssis inférieur de la machine ; voir Figure 60 sous Dépose du carénage de soubassement.
Engagez les languettes de montage du carénage de soubassement sur les boulons et le boulon de carrosserie des supports du moteur de la machine ; voir Figure 60 sous Dépose du carénage de soubassement.
Fixez le carénage de soubassement aux supports du moteur et aux boulons (Figure 60) à l'aide des 4 contre-écrous à embase (5/16") que vous avez retirés à l'opération 2 de Dépose du carénage de soubassement.
Alignez les trous dans la partie arrière du carénage de soubassement et les trous dans le châssis ; voir Figure 59 sous Dépose du carénage de soubassement.
Fixez la partie arrière du carénage de soubassement au châssis (Figure 59) à l'aide des 5 boulons à embase (5/16" x ⅞") et des 5 rondelles (5/16") que vous avez retirés à l'opération 1 de Dépose du carénage de soubassement.
Serrez les écrous et les boulons à un couple de 11,29 à 15,82 N·m.
Alignez les trous du panneau d'accès et les trous dans la base du siège (Figure 61).
Fixez le panneau d'accès à la base du siège au moyen des 2 boulons à embase (Figure 61) retirés à l'opération 1 de Dépose du panneau d'accès de la base du siège.
Serrez les boulons à un couple de 19,75 à 25,42 N·m.
| Périodicité d'entretien | Procédure d'entretien |
|---|---|
| Toutes les 50 heures |
|
Type de graisse : Mobil XHP 461.
| Périodicité d'entretien | Procédure d'entretien |
|---|---|
| Toutes les 50 heures |
|
Type de graisse : graisse au lithium nº 2. La graisse universelle Toro Premium est disponible chez tous les concessionnaires Toro.
Vérin de direction – 2 graisseurs sur chaque côté tige du vérin
Biellette de direction – 2 graisseurs à chaque extrémité
Pivot de fusée – 2 graisseurs de chaque côté de la machine
Injectez de la graisse dans les graisseurs (Figure 63 et Figure 64).
Essuyez tout excès de graisse.
Note: Les emplacements des graisseurs sont illustrés à la Figure 63.


| Périodicité d'entretien | Procédure d'entretien |
|---|---|
| Toutes les 100 heures |
|
Important: Si vous lavez les charnières de rampes à l'eau, vous devez ensuite éliminer entièrement l'eau et les impuretés des charnières et appliquer de la graisse fraîche.
Type de graisse : graisse au lithium nº 2.
Essuyez les graisseurs pour éviter que des impuretés ne pénètrent dans le roulement ou la bague.
Injectez la graisse dans le roulement ou la bague au niveau de chaque graisseur (Figure 65).

Essuyez tout excès de graisse.
Répétez la procédure pour chaque pivot de rampe.
| Périodicité d'entretien | Procédure d'entretien |
|---|---|
| Toutes les 400 heures |
|
Type de graisse : graisse au lithium nº 2.
Abaissez les sections extérieures en position de PULVéRISATION.
Retirez la goupille fendue de l'axe de chape (Figure 66).
Levez la section, retirez l'axe de chape et abaissez lentement la section au sol (Figure 66).
Vérifiez l'état de l'axe de chape et remplacez-le au besoin.

Faites pivoter le roulement au bout de la tige de vérin et appliquez de la graisse dans le roulement (Figure 67).
Note: Essuyez tout excès de graisse.

Levez la section de pulvérisation pour aligner le pivot sur la tige de vérin.
Tout en soutenant la section de pulvérisation, insérez l'axe de chape dans le pivot de rampe et la tige de vérin (Figure 66).
Une fois l'axe de chape en position, relâchez la section et fixez l'axe au moyen de la goupille fendue retirée précédemment.
Répétez les opérations 2 à 8 pour le roulement de tige de vérin de l'autre côté de la machine.
Coupez le moteur avant de contrôler le niveau d'huile ou d'ajouter de l'huile dans le carter.
| Périodicité d'entretien | Procédure d'entretien |
|---|---|
| À chaque utilisation ou une fois par jour |
|
Serrez le frein de stationnement, arrêtez la pompe de pulvérisation, coupez le moteur et enlevez la clé du commutateur d'allumage.
Basculez le siège passager en avant et enclenchez la béquille dans la fente de guidage.
Nettoyez le capuchon antipoussière et le boîtier du filtre à air (Figure 68).

Recherchez sur le boîtier du filtre à air des dommages susceptibles d'occasionner des fuites d'air (Figure 68).
Note: Remplacez le capuchon antipoussière et le boîtier du filtre à air s'ils sont endommagés.
Pressez la valve à poussière pour éliminer les saletés, la poussière et les débris (Figure 68).
Desserrez les 2 attaches qui fixent le capuchon antipoussière sur le boîtier du filtre à air.
Vérifiez que l'élément du filtre à air ne présente pas de dépôts excessifs de poussière, saleté ou débris (Figure 68).
Note: Remplacez l'élément du filtre à air s'il est encrassé ; ne le nettoyez pas.
Reposez le capuchon antipoussière sur le boîtier du filtre à air et fixez-le en place avec les 2 attaches (Figure 68).
Note: Vérifiez que la valve à poussière s'aligne bien entre les positions 5 et 7 heures vu de l'extrémité.
Abaissez le siège passager.
| Périodicité d'entretien | Procédure d'entretien |
|---|---|
| Toutes les 100 heures |
|
Si vous remplacez le filtre, vérifiez que l'élément filtrant neuf n'a pas été endommagé lors du transport, y compris l'extrémité d'étanchéité.
Important: N'installez pas l'élément s'il est endommagé.
Nettoyez le capuchon antipoussière et le boîtier du filtre à air (Figure 68).
Soulevez le réservoir de trop-plein de liquide de refroidissement pour le déposer de son support (Figure 69).

Desserrez les 2 attaches qui fixent le capuchon antipoussière sur le boîtier du filtre à air (Figure 69).
Sortez l'ancien élément filtrant du boîtier du filtre avec précaution pour ne pas déloger trop de poussière.
Note: Évitez de cogner l'élément contre le boîtier du filtre à air.
Nettoyez l'intérieur du capuchon antipoussière, du boîtier du filtre à air et de la valve à poussière avec un chiffon humide (Figure 68 et Figure 69).
Insérez l'élément filtrant neuf dans le boîtier du filtre à air (Figure 69).
Note: Vérifiez que l'élément filtrant est correctement enfoncé dans le boîtier du filtre en appuyant sur son bord extérieur lors de la pose. N'appuyez pas sur la partie centrale souple de l'élément filtrant.
Reposez le couvercle sur le boîtier du filtre à air et fixez-le en place avec les 2 attaches (Figure 69).
Note: Vérifiez que la valve à poussière s'aligne bien entre les positions 5 et 7 heures vu de l'extrémité (Figure 69).
Placez le réservoir de trop-plein du liquide de refroidissement en face de son support et fixez solidement le réservoir (Figure 69).
Important: Vérifiez que le flexible de décharge de pression est dirigé vers l'avant et le bas et que le flexible d'évent du réservoir est dirigé vers l'arrière, comme montré à la Figure 69.
Abaissez le siège passager.
Type d'huile – Classification API CH-4, CI-4 ou mieux.
Viscosité d'huile préférée – SAE -15W-40 (au-dessus de -18 ºC)
Autre viscosité d'huile possible – SAE 10W-30 ou 5W-30 (toutes températures)
L'huile moteur Toro Premium est en vente chez votre distributeur avec une viscosité de 15W40 ou de 10W30. Consultez le Catalogue de pièces pour les numéros de référence.
| Périodicité d'entretien | Procédure d'entretien |
|---|---|
| À chaque utilisation ou une fois par jour |
|
Note: Le meilleur moment pour vérifier le niveau d'huile moteur est en début de journée, quand le moteur est froid avant sa mise en marche. Si le moteur a déjà tourné, attendez au moins 10 minutes que l'huile retourne dans le carter avant de vérifier le niveau.
Le moteur est expédié avec de l'huile dans le carter. Vérifiez toutefois le niveau d'huile avant et après la première mise en marche du moteur.
Placez la machine sur une surface plane et horizontale.
Retirez la jauge, située sous le siège du passager, et essuyez-la sur un chiffon propre (Figure 70).
Note: Remettez la jauge dans le tube en l'enfonçant au maximum. Sortez de nouveau la jauge et vérifiez le niveau d'huile.


Si le niveau est trop bas, enlevez le bouchon de remplissage du couvre-culasse et versez la quantité d'huile nécessaire dans le goulot de remplissage pour faire monter le niveau jusqu'au repère maximum sur la jauge (Figure 71).
Note: Versez l'huile lentement et vérifiez souvent le niveau durant la procédure. Ne remplissez pas excessivement.

Remettez le bouchon de remplissage d'huile en place.
Revissez la jauge solidement en place.
| Périodicité d'entretien | Procédure d'entretien |
|---|---|
| Après les 50 premières heures de fonctionnement |
|
| Toutes les 200 heures |
|
Déposez l'écran pare-chaleur avant ; voir Dépose de l'écran pare-chaleur avant.
Soulevez les sièges.
Les composants qui se trouvent sous le siège sont très chauds si le pulvérisateur vient de s'arrêter. Vous risquez de vous brûler à leur contact.
Laissez refroidir le pulvérisateur avant tout entretien ou avant de toucher les composants situés sous le capot.
Placez un bac de vidange sous le filtre à huile moteur (Figure 72).

Retirez le filtre à huile usagé (Figure 72).
Note: Débarrassez-vous du filtre à huile usagé dans un centre de recyclage agréé.
Avec un chiffon, essuyez la surface de l'adaptateur de filtre à huile sur le moteur.
Remplissez le filtre à huile avec l'huile spécifiée.
Note: Attendez que l'élément filtrant soit saturé d'huile.
Appliquez une fine couche d'huile spécifiée sur le joint en caoutchouc du filtre à huile de rechange.
Posez le filtre à huile sur l'adaptateur et vissez le filtre dans le sens horaire jusqu'à ce que le joint en caoutchouc touche l'adaptateur, puis serrez encore le filtre d'un demi-tour (Figure 72).
Note: Ne serrez pas le filtre à huile excessivement.
Essuyez toute trace d'huile restante.
4,6 l avec le filtre ; voir Spécifications de l’huile moteur.
| Périodicité d'entretien | Procédure d'entretien |
|---|---|
| Après les 50 premières heures de fonctionnement |
|
| Toutes les 200 heures |
|
Placez un bac de vidange sous le bouchon de vidange (Figure 72).
Enlevez le bouchon de vidange pour permettre à toute l'huile de s'écouler (Figure 72).
Note: Vérifiez le joint du bouchon de vidange et remplacez-le s'il est usé ou endommagé.
Note: Débarrassez-vous de l'huile usagée dans un centre de recyclage agréé.
Remettez le bouchon de vidange dans l'orifice de vidange du carter d'huile et serrez-le à un couple de 33 à 37 N·m.
Basculez le siège passager en avant et enclenchez la béquille dans la fente de guidage.
Enlevez le bouchon de remplissage d'huile du goulot de remplissage sur le couvre-culasse et versez avec précaution environ 80 % de la quantité d'huile spécifiée dans le goulot de remplissage (Figure 73).

Sortez la jauge et vérifiez le niveau d'huile dans le carter moteur (Figure 74).

Faites l'appoint d'huile spécifiée avec précaution pour faire monter le niveau jusqu'au repère maximum sur la jauge (Figure 74).
Important: Ne remplissez pas excessivement le moteur d'huile au risque d'endommager le moteur.
Remettez le bouchon de remplissage d'huile dans le goulot de remplissage (Figure 73).
Reposez l'écran pare-chaleur avant ; voir Pose de l'écran pare-chaleur avant.
| Périodicité d'entretien | Procédure d'entretien |
|---|---|
| Toutes les 400 heures |
|
Effectuez toutes les procédures d'entretien annuelles spécifiées dans le Manuel du propriétaire du moteur.
Dans certaines conditions, le carburant et les vapeurs qu'il dégage sont extrêmement inflammables et explosifs. Un incendie ou une explosion causé(e) par du carburant peut vous brûler, ainsi que d'autres personnes, et causer des dommages matériels.
Remplissez le réservoir à l'aide d'un entonnoir, à l'extérieur, dans un endroit dégagé, et lorsque le moteur est arrêté et froid. Essuyez tout carburant répandu.
Ne remplissez pas complètement le réservoir de carburant. Remplissez le réservoir de carburant jusqu'à 25 mm au-dessous de la base du goulot de remplissage. L'espace au-dessus doit rester vide pour permettre au carburant de se dilater.
Ne fumez jamais quand vous manipulez du carburant, et tenez-vous à l'écart des flammes nues et étincelles qui pourraient enflammer les vapeurs de carburant.
Stockez le carburant dans un bidon de sécurité propre homologué qui doit être maintenu bouché.
| Périodicité d'entretien | Procédure d'entretien |
|---|---|
| Après les 50 premières heures de fonctionnement |
|
| Toutes les 400 heures |
|
Vérifiez que les conduites et les raccords ne sont pas détériorés, endommagés ou desserrés.
Note: Si vous constatez une fuite de carburant, réparez le(s) composant(s) du système de carburant avant d'utiliser la machine.
Note: Vérifiez que le réservoir de carburant est au moins à moitié plein.
Serrez le frein de stationnement, arrêtez la pompe de pulvérisation, coupez le moteur et enlevez la clé du commutateur d'allumage.
Déposez l'écran pare-chaleur avant ; voir Dépose de l'écran pare-chaleur avant.
Basculez le siège passager en avant et enclenchez la béquille dans la fente de guidage.
Placez un bac de vidange sous le filtre à carburant ; voir Figure 77 sous Remplacement du filtre séparateur d'eau.
Dévissez le bouchon d'aération sur le séparateur d'eau/carburant (Figure 75)..

Tournez la clé dans le commutateur d'allumage en position CONTACT.
Note: La pompe d'alimentation électrique commence à faire sortir l'air autour du bouchon d'aération. Laissez la clé à la position CONTACT jusqu'à ce que le carburant s'écoule régulièrement par le bouchon d'aération.
Serrez le bouchon d'aération et tournez la clé dans le commutateur d'allumage en position ARRêT (Figure 75).
Placez un bac de vidange sous la partie pompe d'injection du moteur (Figure 76).

Desserrez la vis de purge sur la pompe d'injection (Figure 76).
Tournez la clé dans le commutateur d'allumage à la position CONTACT.
Note: La pompe d'alimentation électrique se met en marche et force l'air autour de la vis de purge sur la pompe d'injection.
Laissez la clé à la position CONTACT jusqu'à ce que le carburant s'écoule régulièrement par la vis de purge (Figure 76).
Serrez la vis de purge (Figure 76) et tournez la clé à la position ARRêT.
Note: Le moteur devrait démarrer sans problème après la purge du système d'alimentation. Toutefois, si le moteur refuse de démarrer, il se peut qu'il reste de l'air entre la pompe d'injection et les injecteurs ; voir Purge de l'air des injecteurs.
Vous ne devez effectuer cette procédure qu'après avoir purgé l'air du système et si le moteur ne démarre pas ; voir Purge du circuit d'alimentation.
Placez un bac de vidange sous le côté droit du moteur..
Desserrez l'écrou-raccord sur l'injecteur n° 1 et le porte-injecteur.
Placez la commande d'accélérateur en position HAUT RéGIME.
Tournez la clé en position DéMARRAGE et observez l'écoulement du carburant autour du raccord.
Tournez la clé à la position ARRêT lorsque le carburant s'écoule régulièrement.
Resserrez l'écrou-raccord.
Nettoyez les traces de carburant autour de l'injecteur.
Répétez les opérations 2 à 7 pour les autres injecteurs.
Reposez l'écran pare-chaleur avant ; voir Pose de l'écran pare-chaleur avant.
| Périodicité d'entretien | Procédure d'entretien |
|---|---|
| Toutes les 400 heures |
|
Déposez l'écran pare-chaleur avant ; voir Dépose de l'écran pare-chaleur avant.
Placez un bac de vidange sous le filtre séparateur d'eau (Figure 77).

Tournez la vanne de vidange au bas du filtre séparateur d'eau dans le sens antihoraire (Figure 77).
Note: Attendez que tout le carburant du filtre soit vidangé puis refermez la vanne.
Nettoyez la surface autour du filtre séparateur d'eau et du support de l'adaptateur (Figure 77).
Déposez le filtre séparateur d'eau (Figure 77).
Note: Débarrassez-vous du carburant et de la cartouche usagés dans un centre de recyclage agréé.
Nettoyez la surface de montage de l'adaptateur du filtre.
Lubrifiez le du filtre séparateur d'eau avec de l'huile moteur propre.
Vissez le filtre à la main jusqu'à ce que le joint touche la tête de montage, puis serrez-le encore d'un demi-tour.
Tournez fermement la vanne de vidange au bas du filtre séparateur d'eau dans le sens horaire (Figure 77).
| Périodicité d'entretien | Procédure d'entretien |
|---|---|
| Toutes les 400 heures |
|
Note: Le filtre à carburant est intégré au tuyau vertical.
Serrez le frein de stationnement, arrêtez la pompe de pulvérisation, coupez le moteur et enlevez la clé du commutateur d'allumage.
Sur le réservoir de carburant, retirez les 4 vis (nº 10 x ¾") qui fixent le couvercle au sommet du réservoir et déposez le couvercle (Figure 78A).

Desserrez les colliers qui retiennent les 2 flexibles de carburant sur les 2 raccords au sommet du tuyau vertical (Figure 78B).
Débranchez les 2 flexibles des raccords et vidangez le carburant dans un bidon homologué (Figure 78B).
Tournez le bouchon du tuyau vertical/transmetteur de carburant dans le sens antihoraire pour le retirer (Figure 79).

Soulevez et déposez le tuyau vertical/transmetteur de carburant du réservoir de carburant (Figure 79).
Note: Mettez l'ancien tuyau au rebut.
Note: Procurez-vous le nouvel ensemble tuyau vertical auprès de votre concessionnaire Toro agréé. Vous aurez éventuellement besoin d'une bague supplémentaire pour fixer le raccord coudé et le tuyau vertical au sommet du réservoir de carburant.
Placez le bouchon sur le tuyau vertical et le tuyau vertical sur le joint (Figure 79).
Alignez le bouchon, le tuyau vertical et le joint, et insérez l'ensemble avec précaution dans le réservoir de carburant (Figure 79).
Note: Alignez les raccords de flexible vers l'axe de la machine.
Vissez le bouchon sur le goulot du réservoir de carburant et serrez-le à la main (Figure 79).
Branchez le flexible de carburant de 6,4 mm au raccord de 6,4 mm et fixez-le en place avec le collier (Figure 78B).
Branchez le flexible de carburant de 8 mm au raccord de 8 mm et fixez-le en place avec le collier (Figure 78B).
Fixez le couvercle sur le réservoir (Figure 78A) à l'aide des 4 vis (nº 10 x ¾") retirées à l'opération 2 de Dépose du filtre à carburant à l'intérieur du réservoir.
Serrez les vis à 1,13 N·m.
| Périodicité d'entretien | Procédure d'entretien |
|---|---|
| Toutes les 400 heures |
|
Vidangez et nettoyez le réservoir de carburant si le système d'alimentation est contaminé ou si vous prévoyez de remiser la machine pendant une période prolongée. Lors du nettoyage du réservoir, utilisez du carburant neuf propre pour rincer le carburant.
Transférez le carburant restant dans le réservoir dans un bidon homologué à l'aide d'une pompe de siphonnage, ou déposez le réservoir de la machine et videz le carburant par le bec de remplissage dans le bidon de carburant.
Note: Si vous déposez le réservoir de carburant, vous devez auparavant débrancher les flexibles d'alimentation et de retour de carburant de l'ensemble tuyau vertical : voir les opérations 1 à 4 dans Dépose du filtre à carburant à l'intérieur du réservoir.
Remplacez les filtres à carburant ; voir Remplacement du filtre séparateur d'eau.
Rincez le réservoir de carburant avec du carburant propre et frais le cas échéant.
Reposez le réservoir si vous l'avez déposé ; voir les opérations 1 à 5 de Dépose du filtre à carburant à l'intérieur du réservoir.
Remplissez le réservoir de carburant frais et propre.
Débranchez la batterie avant de réparer la machine. Débranchez toujours la borne négative de la batterie avant la borne positive. Rebranchez toujours la borne positive avant la borne négative.
Chargez la batterie dans un endroit dégagé et bien aéré, à l'écart des flammes ou sources d'étincelles. Débranchez le chargeur du secteur avant de brancher ou de débrancher la batterie.
Portez des vêtements de protection et utilisez des outils isolés.
La boîte à fusibles du système électrique se trouve sous le siège de l'utilisateur (Figure 80).

| Périodicité d'entretien | Procédure d'entretien |
|---|---|
| Toutes les 50 heures |
|
La batterie doit toujours être propre et chargée au maximum. Nettoyez la batterie et le bac à batterie à l'aide d'une serviette en papier. Si les bornes de la batterie sont corrodées, nettoyez-les avec un mélange constitué de 4 volumes d'eau pour 1 volume de bicarbonate de soude. Enduisez les bornes de la batterie d'une mince couche de graisse pour éviter la corrosion.
Tension : 12 V avec 690 ampères de démarrage à froid à -18 °C.
Placez le pulvérisateur sur une surface plane et horizontale, serrez le frein de stationnement, arrêtez la pompe de pulvérisation, coupez le moteur et enlevez la clé de contact.
Déposez le couvercle de la batterie et débranchez le câble de masse négatif (noir) de la borne de la batterie (Figure 81).

S'ils sont mal acheminés, les câbles de la batterie peuvent subir des dommages ou endommager le pulvérisateur et produire des étincelles. Les étincelles peuvent provoquer l'explosion des gaz de la batterie et vous blesser.
Débranchez toujours le câble négatif (noir) de la batterie avant le câble positif (rouge).
Connectez toujours le câble positif (rouge) de la batterie avant le câble négatif (noir).
Les bornes de la batterie ou les outils en métal peuvent causer des courts-circuits au contact des pièces métalliques du pulvérisateur et produire des étincelles. Les étincelles peuvent provoquer l'explosion des gaz de la batterie et vous blesser.
Lors de la mise en place ou du retrait de la batterie, évitez que les bornes touchent les parties métalliques du pulvérisateur.
Évitez de créer des courts-circuits entre les bornes de la batterie et les parties métalliques du pulvérisateur avec des outils en métal.
Laissez toujours la sangle de la batterie en place pour protéger et immobiliser la batterie.
Débranchez le câble positif (rouge) de la borne de la batterie.
Retirez la batterie.
Placez la batterie sur son support en veillant à diriger les bornes à l'opposé du pulvérisateur.
Branchez le câble positif (rouge) à la borne positive (+) de la batterie et le câble négatif (noir) à la borne négative (–) à l'aide des boulons et écrous.
Glissez le capuchon isolant sur la borne positive de la batterie.
Posez le couvercle de la batterie et fixez-le avec la sangle que vous avez retirée précédemment (Figure 81).
Important: Laissez toujours le dispositif de maintien en place pour protéger et immobiliser la batterie.
Important: La batterie doit toujours être chargée au maximum. Cela est particulièrement important pour prévenir la dégradation de la batterie si la température tombe en dessous de 0 ºC.
Retirez la batterie du châssis ; voir Retrait de la batterie.
Branchez un chargeur de batterie de 3 à 4 ampères aux bornes de la batterie et chargez la batterie au régime de 3 à 4 ampères pendant 4 à 8 heures (12 V).
Important: Ne chargez pas la batterie excessivement.
Reposez la batterie sur le châssis ; voir Mise en place de la batterie.
Si vous remisez la machine pendant plus d'un mois, enlevez la batterie et chargez-la au maximum. Rangez-la sur une étagère ou remettez-la sur la machine. Débranchez les câbles si vous remettez la batterie sur la machine. Rangez la batterie dans un endroit frais pour éviter qu'elle ne se décharge trop rapidement. Pour protéger la batterie du gel, maintenez-la chargée au maximum.
| Périodicité d'entretien | Procédure d'entretien |
|---|---|
| Après les 8 premières heures de fonctionnement |
|
| Après les 200 premières heures de fonctionnement |
|
| Toutes les 100 heures |
|
| Toutes les 400 heures |
|
Serrez les écrous des roues avant à un couple de 75 à 102 N·m et les écrous des roues arrière à un couple de 95 à 122 N·m.
Les accidents de conduite, comme une collision contre une bordure (de trottoir), peuvent endommager un pneu ou une jante et dérégler le parallélisme des roues. Pour cette raison, vérifiez l'état des pneus après tout accident.
Huile pour engrenages SAE 85W-140

Amenez la machine sur une surface plane et horizontale, tournez une roue de sorte que le bouchon de remplissage soit en haut, à la position 12 heures, et le bouchon de vidange soit en bas, à la position 6 heures (Figure 83).

Retirez le bouchon de contrôle (Figure 45).
Le niveau d'huile doit atteindre le bas du filetage de l'orifice du bouchon de contrôle.

Vérifiez l'état des joints toriques du bouchon de contrôle.
Remplacez le joint torique s'il est endommagé.
Si le niveau d'huile est trop bas, enlevez le bouchon de remplissage et ajoutez l'huile spécifiée jusqu'à ce qu'elle ressorte par le trou du bouchon de contrôle (Figure 85) ; voir Spécifications de l'huile du train planétaire.

Vérifiez l'état des joints toriques du bouchon de remplissage.
Remplacez le joint torique s'il est endommagé.
Remettez en place les bouchons de remplissage et de contrôle (Figure 85).
Répétez les opérations 1 à 6 pour le train planétaire de l'autre côté de la machine.
| Périodicité d'entretien | Procédure d'entretien |
|---|---|
| Après les 8 premières heures de fonctionnement |
|
| Toutes les 400 heures |
|
Amenez la machine sur une surface plane et horizontale, tournez une roue de sorte que le bouchon de remplissage soit en haut, à la position 12 heures, et le bouchon de vidange soit en bas, à la position 6 heures ; voir Figure 83 sous Contrôle du niveau d'huile du train planétaire.
Placez un bac de vidange sous le moyeu du train planétaire, enlevez le bouchon de vidange, le bouchon de remplissage et le bouchon de contrôle, et vidangez toute l'huile (Figure 86).

Vérifiez si des résidus métalliques sont présents sur les bouchons de vidange et de remplissage.
Si c'est le cas, réparez le train planétaire.
Vérifiez l'état des joints toriques des bouchons de vidange, de remplissage et de contrôle.
Remplacez les joints toriques qui sont endommagés.
Remettez le bouchon de vidange en place.
Placez un bac de vidange sous le carter de frein, enlevez le bouchon de vidange et vidangez toute l'huile (Figure 87).

Remettez le bouchon de vidange dans le carter de frein.
0,62 l ; voir Spécifications de l'huile du train planétaire
Versez lentement l'huile pour engrenages spécifiée par l'orifice du bouchon de remplissage ; voir Figure 85 sous Contrôle du niveau d'huile du train planétaire.
Le niveau d'huile doit atteindre le bas du filetage de l'orifice du bouchon de contrôle.
Important: Si le train planétaire est rempli avant que la quantité d'huile spécifiée soit ajoutée, patientez une heure ou remettez les bouchons en place, et déplacez la machine d'environ 3 mètres pour bien répartir l'huile dans le système de freinage. Retirez ensuite les bouchons et ajoutez le restant d'huile.
Patientez 10 minutes pour donner le temps à l'huile de se stabiliser, puis contrôlez le niveau d'huile et faites l'appoint au besoin pour faire monter le niveau jusqu'au bas du filetage de l'orifice du bouchon de contrôle.
Remettez en place les bouchons de remplissage et de contrôle ; voir Figure 85 sous Contrôle du niveau d'huile du train planétaire.
Répétez les opérations Vidange de l'huile du train planétaire et Plein d'huile du train planétaire pour le train planétaire de l'autre côté de la machine.
| Périodicité d'entretien | Procédure d'entretien |
|---|---|
| Toutes les 200 heures |
|
La distance entre l'entraxe à l'avant des roues doit être inférieure de 0 à 3 mm à la distance à l'entraxe à l'arrière des roues.
Contrôlez et gonflez tous les pneus ; voir Contrôle de la pression des pneus.
Mesurez la distance entre les roues avant à hauteur d'essieu, à l'avant et à l'arrière des roues (Figure 88).
Note: La distance entre l'avant des roues doit être inférieure de 0 à 3 mm à la distance à l'arrière des roues avant.

Si les mesures sont hors spécifications, desserrez les écrous de blocage aux deux extrémités de la biellette (Figure 89).

Tournez la biellette de façon à déplacer l'avant de la roue vers l'intérieur ou l'extérieur.
Resserrez les écrous de blocage des biellettes quand le réglage correct est obtenu.
Vérifiez que la rotation du volant est la même des deux côtés.
L'ingestion de liquide de refroidissement peut être toxique ; rangez-le hors de la portée des enfants et des animaux domestiques.
Les projections de liquide de refroidissement brûlant sous pression ou le contact avec le radiateur brûlant et les pièces qui l'entourent peuvent causer des brûlures graves.
Laissez toujours refroidir le moteur pendant au moins 15 minutes avant d'enlever le bouchon du radiateur.
Servez-vous d'un chiffon pour ouvrir le bouchon du radiateur et desserrez-le lentement pour laisser la vapeur s'échapper.
N'utilisez jamais la machine sans les capots de protection.
N'approchez pas les doigts, les mains et les vêtements du ventilateur et de la courroie d'entraînement en rotation.
Solution 50/50 d'eau et d'antigel permanent à l'éthylène glycol.
Vérifiez la concentration de liquide de refroidissement du moteur selon les instructions du fabricant.
| Périodicité d'entretien | Procédure d'entretien |
|---|---|
| À chaque utilisation ou une fois par jour |
|
Si le moteur vient de tourner, le liquide de refroidissement peut encore être chaud et sous pression. Si vous ouvrez le bouchon de radiateur alors que le liquide de refroidissement est chaud, ce dernier risque de gicler et de vous brûler gravement ou de brûler les personnes à proximité.
Laissez refroidir le moteur pendant au moins 15 minutes avant d'ouvrir le bouchon de radiateur.
Important: N'ajoutez pas de liquide de refroidissement à un moteur qui a surchauffé tant qu'il n'est pas complètement refroidi. Vous risqueriez de fissurer le bloc-moteur.
Placez le pulvérisateur sur un sol plat et horizontal.
Serrez le frein de stationnement, arrêtez la pompe de pulvérisation, coupez le moteur et enlevez la clé du commutateur d'allumage.
Retirez le bouchon du radiateur et le bouchon du vase d'expansion avec précaution (Figure 90).

Vérifiez le niveau du liquide de refroidissement dans le radiateur et le vase d'expansion.
Note: Le radiateur doit être rempli jusqu'en haut du goulot de remplissage et le vase d'expansion jusqu'au repère maximum (Figure 90).
Si le niveau de liquide de refroidissement est trop bas, enlevez le bouchon du vase d'expansion et le bouchon du radiateur. Remplissez le vase d'expansion jusqu'au repère maximum, et le radiateur jusqu'en haut du goulot de remplissage (Figure 90).
Important: Ne remplissez pas le vase d'expansion excessivement.
Important: N'utilisez pas seulement de l'eau pure, ni des liquides de refroidissement à base d'alcool ou de méthanol.
Remettez en place les bouchons du radiateur et du vase d'expansion (Figure 90).
5,5 l ; voir Spécifications du liquide de refroidissement
| Périodicité d'entretien | Procédure d'entretien |
|---|---|
| Toutes les 400 heures |
|
Matériel fourni par le propriétaire : un thermomètre de liquide de refroidissement à main
Placez le pulvérisateur sur une surface plane et horizontale, serrez le frein de stationnement, arrêtez la pompe de pulvérisation, coupez le moteur et enlevez la clé de contact.
Attendez que le moteur soit froid, puis retirez le bouchon du radiateur (Figure 90).
Placez un grand bac de vidange sous le radiateur.
Ouvrez le robinet de vidange et vidangez le liquide de refroidissement dans le bac (Figure 91).

Fermez le robinet de vidange (Figure 91).
Retirez le bouchon de radiateur (Figure 90).
Versez lentement du liquide de refroidissement dans le radiateur jusqu'à 25 mm en dessous de la surface d'étanchéité du bouchon.
Note: Utilisez une quantité de liquide de refroidissement suffisante pour remplir le moteur et les conduites du système. Cela permet au liquide de se dilater sans déborder pendant le réchauffement du moteur.
Démarrez le moteur en ayant desserré légèrement le bouchon sur le radiateur (Figure 90).
Laissez chauffer le moteur jusqu'à l'ouverture du thermostat.
Note: Le thermostat du moteur doit s'ouvrir quand le thermomètre à main indique que la température du liquide de refroidissement se situe entre 79 et 88 °C.
Une fois le liquide de refroidissement chaud, faites l'appoint jusqu'à la surface d'étanchéité du bouchon et serrez ce dernier (Figure 90).
Ouvrez le bouchon du vase d'expansion et versez du liquide de refroidissement jusqu'au niveau à froid (Figure 90).
Contrôlez le niveau de liquide de refroidissement après plusieurs cycles de démarrage et arrêt du moteur.
Note: Faites l'appoint de liquide de refroidissement dans le radiateur et le vase d'expansion selon les besoins.
Si la pédale de frein s'enfonce de plus de 2,5 cm avant qu'une résistance se fasse sentir, réglez les freins comme suit :
Placez le pulvérisateur sur une surface plane et horizontale, arrêtez la pompe de pulvérisation, coupez le moteur et enlevez la clé.
Serrez le frein de stationnement.
Placez des cales sous les roues pour empêcher la machine de rouler.
Desserrez le frein de stationnement.
Desserrez les écrous de blocage avant sur les câbles de frein, sous l'extrémité avant du pulvérisateur (Figure 92).

Serrez les écrous de blocage arrière uniformément jusqu'à ce que la pédale s'enfonce de 1 à 2 cm avant que vous sentiez une résistance (Figure 92).
Important: Serrez les deux écrous arrière uniformément de sorte que les extrémités filetées des câbles de freins soient de la même longueur devant les écrous avant.
Serrez les écrous de blocage avant.
| Périodicité d'entretien | Procédure d'entretien |
|---|---|
| Après les 8 premières heures de fonctionnement |
|
| Toutes les 100 heures |
|
Contrôlez l'état et la tension de la courroie d'alternateur/de ventilateur de refroidissement. Remplacez la courroie au besoin.
Placez le pulvérisateur sur une surface plane et horizontale, serrez le frein de stationnement, arrêtez la pompe de pulvérisation, coupez le moteur et enlevez la clé de contact.
Contrôlez la tension de la courroie d'alternateur en exerçant une force de 10 kg à mi-chemin entre les poulies d'alternateur et de vilebrequin.
Note: La courroie doit présenter une flèche de 10 à 12 mm. Si la flèche est excessive, passez à l'opération 3. Si la flèche est correcte, vous pouvez ignorer le reste de la procédure et remettre le pulvérisateur en service.
Desserrez le boulon sur le point de pivot de l'alternateur ; desserrez le boulon qui fixe l'alternateur au renfort fendu (Figure 93).

Insérez avec précaution un levier entre l'alternateur et le moteur pour extraire l'alternateur.
Lorsque vous avez obtenu la tension correcte, resserrez l'alternateur et les boulons pour fixer le réglage.
Serrez le contre-écrou pour bloquer le réglage.
Consultez immédiatement un médecin si du liquide est injecté sous la peau. Toute injection de liquide hydraulique sous la peau doit être éliminée dans les quelques heures qui suivent par une intervention chirurgicale réalisée par un médecin.
Dépressurisez avec précaution le système hydraulique avant toute intervention sur le système.
Vérifiez l'état de tous les flexibles et conduits hydrauliques, ainsi que le serrage de tous les raccords et branchements avant de mettre le système hydraulique sous pression.
N'approchez pas les mains ni aucune autre partie du corps des fuites en trou d'épingle ou des gicleurs d'où sort du liquide hydraulique sous haute pression.
Utilisez un morceau de papier ou de carton pour détecter les fuites.
Le réservoir est rempli en usine de liquide hydraulique de haute qualité. Contrôlez néanmoins le niveau du liquide hydraulique avant le tout premier démarrage du moteur, puis tous les jours ; voir Contrôle du niveau de liquide hydraulique.
Liquide hydraulique recommandé : liquide hydraulique longue durée « Toro PX Extended Life » ; disponible en bidons de 19 litres ou barils de 208 litres.
Note: Si vous utilisez le liquide de remplacement recommandé dans la machine vous n'aurez pas besoin de vidanger le liquide et de remplacer le filtre aussi souvent.
Autres liquides hydrauliques possibles : si vous ne disposez pas de liquide hydraulique longue durée Toro PX, vous pouvez utiliser d'autres liquides hydrauliques classiques à base de pétrole à condition qu'ils soient conformes aux caractéristiques physiques et aux spécifications de l'industrie suivantes. N'utilisez pas de liquide synthétique. Consultez votre distributeur de lubrifiants pour identifier un produit qui convient.
Note: Toro décline toute responsabilité en cas de dommage causé par l'utilisation d'huiles de remplacement inadéquates. Utilisez uniquement des produits provenant de fabricants réputés qui répondent de leur recommandation.
| Propriétés physiques : | ||
| Viscosité, ASTM D445 | 44 à 48 cSt à 40 ºC | |
| Indice de viscosité, ASTM D2270 | 140 ou plus | |
| Point d'écoulement, ASTM D97 | -37 à -45 ºC | |
| Spécifications de l'industrie : | Eaton Vickers 694 (I-286-S, M-2950-S/35VQ25 ou M-2952-S) | |
Note: De nombreux liquides hydrauliques sont presque incolores, ce qui rend difficile la détection des fuites. Un additif colorant rouge pour liquide hydraulique est disponible en bouteilles de 20 ml. Une bouteille suffit pour 15 à 22 litres de liquide hydraulique. Vous pouvez commander ces bouteilles chez les concessionnaires Toro agréés (réf. 44-2500).
Important: Le liquide hydraulique biodégradable synthétique « Toro Premium Synthetic Bio Hyd Fluid » est le seul liquide biodégradable synthétique agréé par Toro. Il est compatible avec les élastomères utilisés dans les systèmes hydrauliques Toro et convient pour de larges plages de températures. Ce liquide est compatible avec les huiles minérales classiques ; toutefois vous devez rincer soigneusement le système hydraulique pour le débarrasser de l'ancien liquide afin d'optimiser la biodégradabilité et les performances. Cette huile est disponible en bidons de 19 litres ou en barils de 208 litres chez votre distributeur Toro agréé.
| Périodicité d'entretien | Procédure d'entretien |
|---|---|
| À chaque utilisation ou une fois par jour |
|
Important: Si le liquide est contaminé, demandez à un distributeur Toro agréé de rincer le système.Le liquide contaminé a un aspect laiteux ou noir comparé à de l'huile propre.
Placez le pulvérisateur sur une surface plane et horizontale, serrez le frein de stationnement, arrêtez la pompe de pulvérisation, coupez le moteur et enlevez la clé de contact.
Nettoyez la surface autour du bouchon-jauge du réservoir de liquide hydraulique et enlevez-le (Figure 94).

Important: Veillez à ce qu'aucune poussière ou autres impuretés ne tombent dans l'ouverture pendant le contrôle du liquide.
Essuyez la jauge sur un chiffon propre et remettez-la complètement dans le goulot de remplissage.
Ressortez la jauge et vérifiez le niveau de liquide (Figure 95).
Note: Le niveau de liquide à froid doit atteindre le cran supérieur sur la jauge du reniflard.

Si le niveau d'huile est trop bas, versez le liquide hydraulique spécifié dans le réservoir jusqu'à ce qu'il atteigne le repère inférieur ; voir Liquides hydrauliques spécifiés.
Remettez le bouchon/jauge en place et serrez-le.
| Périodicité d'entretien | Procédure d'entretien |
|---|---|
| Toutes les 800 heures |
|
| Toutes les 1000 heures |
|
Le liquide hydraulique chaud peut causer de graves brûlures.
Laissez refroidir l'huile hydraulique avant de procéder à un quelconque entretien du système hydraulique.
Important: L'utilisation de tout autre filtre peut annuler la garantie de certaines pièces.
Utilisez le filtre de rechange Toro (voir le Manuel des pièces pour le numéro de référence correct).
Placez le pulvérisateur sur une surface plane et horizontale, serrez le frein de stationnement, arrêtez la pompe de pulvérisation, coupez le moteur et enlevez la clé de contact.
Localisez les 2 filtres hydrauliques sur la machine (Figure 96 et Figure 97).
Note: L'un des filtres se trouve sous le réservoir de liquide hydraulique et l'autre à l'arrière de la machine sur le cadre.
Filtre avant – sous le réservoir hydraulique

Filtre arrière – sur le cadre de la machine

Nettoyez la zone autour de la surface de montage du filtre.
Placez un bac de vidange sous le filtre.
Déposez le filtre.
Débarrassez-vous du filtre usagé dans un centre de recyclage agréé.
Lubrifiez le joint du filtre de rechange avec du liquide hydraulique propre ; voir Liquides hydrauliques spécifiés.
Essuyez la surface de montage du filtre avec un chiffon.
Vissez le filtre jusqu'à ce que le joint touche la plaque de montage, puis serrez encore le filtre d'un demi-tour.
Démarrez le moteur, réglez l'accélérateur au ralenti accéléré et laissez tourner le moteur de 3 à 5 minutes pour purger l'air du système hydraulique.
Coupez le moteur, vérifiez le niveau de liquide hydraulique et recherchez des fuites éventuelles ; voir Contrôle du niveau de liquide hydraulique.
54 l ; voir Liquides hydrauliques spécifiés.
| Périodicité d'entretien | Procédure d'entretien |
|---|---|
| Toutes les 800 heures |
|
| Toutes les 2000 heures |
|
Le liquide hydraulique chaud peut causer de graves brûlures.
Laissez refroidir l'huile hydraulique avant de procéder à un quelconque entretien du système hydraulique.
Important: L'utilisation de tout autre liquide peut annuler la garantie de certaines pièces.
Remplacez les filtres à huile hydraulique ; voir Remplacement des filtres hydrauliques.
Nettoyez la surface autour d'un raccord de flexible hydraulique au bas du réservoir d'huile hydraulique (Figure 98).

Placez un grand bac de vidange sous les raccords du réservoir hydraulique.
Débranchez le raccord de flexible du réservoir et vidangez l'huile dans le bac de vidange (Figure 98).
Débarrassez-vous du liquide usagé dans un centre de recyclage agréé.
Rebranchez le flexible et le raccord au réservoir, et serrez fermement.
Versez environ 53 litres du liquide hydraulique spécifié ou d'un liquide équivalent dans le réservoir hydraulique ; voir Liquides hydrauliques spécifiés.
Démarrez le moteur, réglez l'accélérateur au ralenti accéléré et laissez tourner le moteur de 3 à 5 minutes pour purger l'air du système hydraulique.
Coupez le moteur, vérifiez le niveau de liquide hydraulique et recherchez des fuites éventuelles ; voir Contrôle du niveau de liquide hydraulique.
| Périodicité d'entretien | Procédure d'entretien |
|---|---|
| Toutes les 200 heures |
|
| Toutes les 400 heures |
|
Vérifiez que les flexibles du système de pulvérisation ne présentent pas de fissures, fuites ou autres dégâts. En même temps, vérifiez l'état des différents raccords. Remplacez les flexibles et les raccords endommagés.
| Périodicité d'entretien | Procédure d'entretien |
|---|---|
| Toutes les 400 heures |
|
Note: Déterminez le maillage du filtre d'aspiration convenant le mieux pour la tâche à accomplir ; voir Sélection d'un filtre d'aspiration.
Garez la machine sur une surface plane et horizontale, serrez le frein de stationnement, arrêtez la pompe, coupez le moteur et enlevez la clé de contact.
Au sommet de la cuve du pulvérisateur, retirez l'étrier qui fixe le raccord de flexible sur le grand flexible et le logement du filtre (Figure 99).

Retirez le flexible et le raccord du logement du filtre (Figure 99).
Sortez l'ancien filtre d'aspiration de son logement dans le réservoir (Figure 100).
Note: Mettez l'ancien filtre au rebut.

Montez le filtre d'aspiration neuf dans le logement du filtre.
Note: Vérifiez que le filtre est complètement engagé.
Alignez le flexible et le raccord sur le logement du filtre au sommet du réservoir, et fixez le raccord et le logement avec l'étrier retiré à l'opération 2.
| Périodicité d'entretien | Procédure d'entretien |
|---|---|
| Toutes les 400 heures |
|
Placez la machine sur une surface plane et horizontale, arrêtez la pompe de pulvérisation, coupez le moteur et enlevez la clé.
Placez un bac de vidange sous le filtre sous pression (Figure 101).

Tournez le bouchon de vidange dans le sens antihoraire et déposez-le de la cuvette du filtre sous pression (Figure 101).
Note: Vidangez complètement la cuvette.
Tournez la cuvette dans le sens antihoraire et déposez-la de la tête du filtre (Figure 101).
Retirez l'élément du filtre sous pression usagé (Figure 101).
Note: Mettez l'ancien filtre au rebut.
Contrôlez l'état et l'usure du joint torique du bouchon de vidange (à l'intérieur de la cuvette) et du joint torique de la cuvette (à l'intérieur de la tête du filtre) (Figure 101).
Note: Remplacez les joints toriques usés ou endommagés pour le bouchon, la cuvette ou les deux .
Montez le nouvel élément filtrant dans la tête du filtre sous pression (Figure 101).
Note: Vérifiez que l'élément filtrant est bien engagé dans la tête du filtre.
Vissez la cuvette sur la tête du filtre et serrez-la à la main (Figure 101).
Vissez le bouchon sur la cuvette à la main (Figure 101).
Note: Déterminez le maillage du filtre de buse convenant le mieux pour la tâche à accomplir ; voir Sélection d'un filtre de buse (option)..
Garez la machine sur une surface plane et horizontale, serrez le frein de stationnement, arrêtez la pompe de pulvérisation, coupez le moteur et enlevez la clé de contact.
Déposez la buse de la tourelle de pulvérisation (Figure 102).

Retirez le filtre de buse usagé (Figure 102).
Note: Mettez l'ancien filtre au rebut.
Montez le filtre de buse neuf (Figure 102).
Note: Vérifiez que le filtre est complètement engagé.
Montez la buse sur la tourelle de pulvérisation (Figure 102).
Vous pouvez utiliser la procédure suivante pour régler les vérins de la rampe centrale afin de maintenir les rampes gauche et droite de niveau.
Déployez les rampes en position de pulvérisation.
Retirez la goupille fendue de l'axe de pivotement (Figure 103).

Élevez la rampe et retirez l'axe (Figure 103), puis abaissez lentement la rampe au sol.
Vérifiez l'état de l'axe et remplacez-le au besoin.
Placez une clé sur les méplats de la tige de vérin pour l'immobiliser, puis desserrez l'écrou de blocage pour pouvoir ajuster la tige à œillet (Figure 104).

Tournez la tige à œillet dans la tige du vérin pour raccourcir ou allonger le vérin déployé à la position voulue (Figure 104).
Note: Vous devez tourner la tige à œillet un demi ou un tour complet à la fois pour pouvoir l'assembler avec la rampe.
Lorsque la position correcte est obtenue, serrez l'écrou de blocage pour fixer le vérin et la tige à œillet.
Élevez la rampe pour aligner le pivot sur la tige de vérin.
Tout en maintenant la rampe, insérez l'axe dans le pivot de rampe et la tige de vérin (Figure 103).
Une fois l'axe en position, relâchez la rampe et fixez l'axe au moyen de la goupille fendue retirée précédemment.
Répétez la procédure pour chaque roulement de tige d'actionneur au besoin.
| Périodicité d'entretien | Procédure d'entretien |
|---|---|
| Toutes les 400 heures |
|
Garez la machine sur une surface plane et horizontale, serrez le frein de stationnement, arrêtez la pompe, coupez le moteur et enlevez la clé de contact.
Déployez les sections de rampes extérieures en position de pulvérisation et soutenez les sections avec des chandelles ou avec des sangles et un dispositif de levage.
Retirez le boulon et l'écrou qui fixent l'axe de pivot, et déposez celui-ci (Figure 105).

Déposez l'ensemble rampe et support de pivot du profilé d'extrémité du bâti central pour accéder aux bagues en nylon.
Déposez et examinez les bagues en nylon à l'avant et à l'arrière du support de pivot (Figure 105).
Note: Remplacez les bagues usées ou endommagées.
Lubrifiez les bagues en nylon avec un peu d'huile et posez-les dans le support de pivot (Figure 105).
Alignez les trous du support de pivot et les trous du profilé d'extrémité (Figure 105).
Insérez l'axe de pivot et fixez-le avec le boulon à embase et le contre-écrou à embase retirés à l'opération 3.
Répétez les opérations 2 à 8 pour l'autre section de rampe extérieure.
| Périodicité d'entretien | Procédure d'entretien |
|---|---|
| Toutes les 400 heures |
|
Note: Les pièces suivantes de la machine sont considérées comme non durables, sauf si elle sont défectueuses, et ne sont pas couvertes par la garantie associée à cette machine.
Demandez à un concessionnaire Toro agréé de vérifier l'état des composants de la pompe suivants :
Membranes de pompe
Clapets antiretour
Remplacez les composants le cas échéant.
Au besoin, lavez la machine seulement avec de l'eau ou en y ajoutant un détergent doux. Vous pouvez laver la machine à l'aide d'un chiffon.
Important: Ne nettoyez pas la machine avec de l'eau saumâtre ou recyclée.
Note: N'utilisez pas un jet à haute pression pour laver la machine. Cela pourrait endommager le système électrique, décoller des autocollants importants ou enlever la graisse nécessaire aux points de frottement. N'utilisez pas trop d'eau près du panneau de commande, du moteur et de la batterie.
Important: Ne lavez pas la machine pendant que le moteur tourne. Cela pourrait endommager les pièces internes du moteur.
| Périodicité d'entretien | Procédure d'entretien |
|---|---|
| Toutes les 200 heures |
|
Important: Ne pulvérisez pas d'eau dans le compartiment moteur chaud au risque d'endommager le moteur.
Placez le pulvérisateur sur une surface plane et horizontale, serrez le frein de stationnement, arrêtez la pompe de pulvérisation, coupez le moteur et enlevez la clé de contact.
Basculez les sièges du conducteur et du passager en avant et enclenchez la béquille dans la fente de guidage.
Laissez refroidir le circuit de refroidissement.
Déposez le couvercle d'accès de la base du siège ; voir Dépose du panneau d'accès de la base du siège.
À l'aide d'une brosse souple et d'air comprimé basse pression, nettoyez les ailettes du radiateur.
Note: Nettoyez les ailettes plus souvent au besoin. Contrôlez également tous les flexibles de refroidissement et remplacez ceux qui sont usés, qui fuient ou sont endommagés.
Abaissez les sièges du conducteur et du passager.
Reposez le couvercle d'accès sur la base du siège ; voir Repose du panneau d'accès de la base du siège.
| Périodicité d'entretien | Procédure d'entretien |
|---|---|
| Toutes les 200 heures |
|
Rincez et vidangez soigneusement tout le système de pulvérisation.
Déposez le débitmètre du pulvérisateur et rincez-le à l'eau propre.
Retirez le circlip en amont (Figure 106).

Nettoyez la turbine et le moyeu de turbine pour éliminer toute trace de limaille de fer et de poudres mouillables.
Vérifiez l'usure des pales de la turbine.
Note: Tenez la turbine dans la main et faites-la tourner. Elle doit tourner librement avec peu de traînée. Remplacez-la si ce n'est pas le cas.
Montez le débitmètre.
Utilisez un jet d'air basse pression (0,34 bar) pour que la turbine tourne librement.
Note: Si elle ne tourne pas librement, desserrez le goujon hexagonal au bas du moyeu de turbine de 1/16ème de tour jusqu'à ce que la turbine tourne librement.
Pour nettoyer la vanne d'agitation, reportez-vous aux rubriques suivantes :
Pour nettoyer les 3 vannes de section de rampe, reportez-vous aux rubriques suivantes :
Placez le pulvérisateur sur une surface plane et horizontale, serrez le frein de stationnement, arrêtez la pompe de pulvérisation, coupez le moteur et enlevez la clé de contact.
Retirez l'étrier qui fixe l'actionneur à la valve du collecteur pour la vanne de section ou la vanne d'agitation (Figure 107).
Note: Rapprochez les 2 jambes de l'étrier de fixation tout en le poussant vers le bas.
Note: Conservez l'actionneur et l'étrier de fixation pour la repose sous Montage de l'actionneur de valve.

Déposez l'actionneur de la valve de collecteur.
Retirez l'étrier qui fixe le raccord rapide du flexible d'agitation au collecteur de la vanne d'agitation (Figure 108).

Retirez les 3 colliers bride qui fixent le collecteur de vanne d'agitation aux brides de la tête du filtre sous pression et à l'adaptateur d'accouplement (Figure 108).
Retirez les 2 boulons à embase (¼" x ¾") et les 2 contre-écrous à embase (¼") qui fixent le collecteur de vanne d'agitation au support de vanne (Figure 109).

Déposez le collecteur de vanne d'agitation et les joints de la machine (Figure 109).
Note: Au besoin, desserrez la fixation de la tête du filtre sous pression afin d'obtenir le jeu nécessaire.
Note: Conservez les colliers bride, les joints et les étriers de fixation pour l'installation à la section Repose de la valve de collecteur d'agitation.
Retirez l'étrier qui fixe le raccord rapide de la la vanne de dérivation de section à la vanne du collecteur de section (Figure 110)

Retirez l'étrier qui fixe le raccord rapide du flexible d'alimentation de section au collecteur et l'étrier qui fixe le raccord rapide de la vanne du collecteur de section (Figure 110).
Retirez les 2 colliers bride qui fixent la vanne de collecteur de section aux brides des composants adjacents (Figure 111).

Pour les collecteurs de vanne de section gauche et droit, retirez les 2 boulons à embase (¼" x ¾") et les 2 contre-écrous à embase (¼") qui fixent le collecteur de vanne de section au support de vannes (Figure 112).

Baissez le collecteur de vanne de section et les joints pour les séparer de la vanne de dérivation de section et déposez-les de la machine (Figure 112).
Note: Au besoin, desserrez la fixation des collecteurs de vanne de section gauche et droit afin d'obtenir le jeu nécessaire.
Note: Conservez les colliers bride, les joints et les étriers de fixation pour l'installation à la section Repose de la valve du collecteur de section de rampe.
Positionnez la tige de la valve pour la placer en position fermée (Figure 113B).

Déposez les 2 raccords d'embout à chaque extrémité du collecteur (Figure 114 et Figure 115).


Tournez la tige de la valve pour placer la bille à la position ouverte (Figure 113A).
Note: Quand la tige de la valve est parallèle au sens de débit, la bille sort.
Retirez l'étrier de fixation de tige situé dans les fentes de l'orifice de tige du collecteur (Figure 114 et Figure 115).
Déposez du collecteur le dispositif de retenue de la tige et le siège de la tige (Figure 114 et Figure 115).
En passant par le corps du collecteur, déposez la tige de valve (Figure 114 et Figure 115).
Nettoyez l'intérieur du collecteur et l'extérieur de la vanne à bille, la tige de valve, l'étrier de fixation de la tige et les raccords d'extrémité.
Matériel fourni par l'opérateur : graisse silicone transparente.
Important: Utilisez uniquement de la graisse silicone pour assembler la valve.
Vérifiez l'état et l'usure des joints toriques de raccord de sortie (collecteur de vanne de section seulement), joints toriques d'embout, joints toriques de portée arrière et siège de bille (Figure 114 et Figure 115).
Note: Remplacez les joints toriques ou les sièges usés ou endommagés.
Appliquez de la graisse silicone sur la tige de la valve et insérez cette dernière dans son siège (Figure 114 et Figure 115).
Placez la tige et le siège de valve dans le collecteur et fixez-les à l'aide du dispositif de retenue (Figure 114 et Figure 115).
Vérifiez que le joint torique de portée arrière et le siège de bille sont bien alignés et engagés dans le raccord d'embout (Figure 114 et Figure 115)
Montez le raccord d'embout sur le corps du collecteur jusqu'à ce que la bride du raccord touche le corps (Figure 114 et Figure 115), puis tournez encore le raccord d'embout de ⅛ à ¼ de tour.
Note: Veillez à ne pas endommager l'extrémité du raccord.
Insérez la bille dans le corps de la vanne (Figure 116).
Note: La tige de la vanne doit entrer dans la fente d'entraînement de la bille. Si la tige de la valve ne rentre pas, ajustez la position de la bille (Figure 116).

Tournez la tige de la valve de sorte à fermer la valve (Figure 113B).
Répétez les opérations 4 et 5 pour l'autre raccord d'embout.
Alignez les 2 joints que vous avez retirés à la section Dépose de la valve de collecteur de section et les brides du collecteur de vanne de section (Figure 117).
Note: Au besoin, desserrez la fixation des collecteurs de vanne de section gauche et droit afin d'obtenir le jeu nécessaire.

Alignez la bride du collecteur de vanne de section entre les brides des autres vannes de section et/ou adaptateur d'accouplement (Figure 117).
Fixez le raccord rapide du collecteur de vanne de section au raccord rapide femelle de la vanne de dérivation de section à l'aide d'un l'étrier de fixation (Figure 117 et Figure 118).

Fixez légèrement les colliers bride que vous avez déposés à la section Dépose de la valve de collecteur de section sur les brides du collecteur de vanne de section et les brides des autres vannes de section et/ou adaptateur d'accouplement (Figure 119).

Pour les collecteurs de vanne de section gauche et droit, fixez le collecteur de vanne de section au support de vannes (Figure 117) à l'aide des 2 boulons à embase (¼" x ¾") et des 2 contre-écrous à embase (¼") que vous avez retirés à la section Dépose de la valve de collecteur de section.
Serrez les boulons à embase et les contre-écrous à embase à un couple de 19,78 à 25,42 N·m.
Serrez les 2 colliers bride à la main (Figure 119).
Fixez le raccord rapide du flexible de section au raccord rapide du collecteur de vanne de section à l'aide de l'étrier de fixation (Figure 118).
Si vous avez desserré les fixations des collecteurs de vanne de section gauche et droit, serrez l'écrou et le boulon à un couple de 19,78 à 25,42 N·m.
Alignez la bride du collecteur de la vanne d'agitation et les 3 joints sur les brides de la vanne de dérivation d'agitation, de la tête du filtre sous pression et de l'adaptateur d'accouplement (Figure 121 et Figure 120).
Note: Au besoin, desserrez la fixation de la tête du filtre sous pression afin d'obtenir le jeu nécessaire.


Fixez légèrement le collecteur de vanne d'agitation à la vanne de dérivation d'agitation, la tête du filtre sous pression et l'adaptateur d'accouplement (Figure 121) à l'aide des 3 colliers que vous avez retirés à la section Dépose de la valve du collecteur d'agitation.
Fixez le collecteur de vanne d'agitation au support de vannes à l'aide des 2 boulons à embase (¼" x ¾") et du contre-écrou à embase (¼") que vous avez retirés à la section Dépose de la valve du collecteur d'agitation.
Serrez les boulons à embase et les contre-écrous à embase à un couple de 19,78 à 25,42 N·m.
Serrez les 3 colliers bride à la main (Figure 121).
Fixez le raccord rapide du flexible d'agitation au raccord rapide du collecteur de vanne d'agitation à l'aide de l'étrier de fixation (Figure 121).
Si vous desserrez la fixation de la tête du filtre sous pression, serrez l'écrou et le boulon à un couple de 19,8 à 25,4 N·m.
Placez l'actionneur devant la valve de collecteur (Figure 107).
Fixez l'actionneur et la valve à l'aide de l'étrier de fixation retiré à l'opération 2 de Dépose de l'actionneur de vanne.
Avant de quitter la position d'utilisation, coupez le moteur, enlevez la clé (selon l'équipement) et attendez l'arrêt complet de tout mouvement. Laissez refroidir la machine avant de la régler, d'en faire l'entretien, de la nettoyer ou de la remiser.
Ne rangez pas la machine ni les bidons de carburant à proximité d'une flamme nue, d'une source d'étincelles ou d'une veilleuse, telle celle d'un chauffe-eau ou autre appareil.
Effectuez les procédures suivantes :
Important: Ne nettoyez pas la machine avec de l'eau saumâtre ou recyclée.
Avant de quitter la machine, garez-la sur une surface plane et horizontale, serrez le frein de stationnement, coupez la pompe de pulvérisation et le moteur, enlevez la clé et attendez l'arrêt de tout mouvement.
Éliminez les saletés et la crasse sur toute la machine, y compris à l'extérieur des ailettes de la culasse et du boîtier du ventilateur.
Important: Vous pouvez laver la machine avec de l'eau et un détergent doux. Ne lavez pas la machine au jet d'eau haute pression. Le lavage à haute pression peut endommager le système électrique ou enlever la graisse nécessaire aux points de frottement. N'utilisez pas trop d'eau, surtout près du panneau de commande, des feux, du moteur et de la batterie.
Avant de quitter la position d'utilisation, amenez la machine jusqu'à la zone de vidange, serrez le frein de stationnement, coupez la pompe de pulvérisation et le moteur, enlevez la clé et attendez l'arrêt de tout mouvement.
Vidangez le réservoir d'eau douce et laissez le robinet ouvert.
Vidangez la cuve du pulvérisateur aussi complètement que possible.
Préparez une solution antigel RV sans alcool et antirouille ; voir Préparation du conditionneur.
Détachez le tube au dos du manomètre et placez l'extrémité dans un bac (Figure 122).

Démarrez le moteur et abaissez les sections de rampes extérieures.
Faites fonctionner la pompe de pulvérisation pendant quelques minutes pour faire circuler l'antigel RV dans tout le système de pulvérisation et dans les accessoires de pulvérisation qui sont montés.
Tournez les interrupteurs des sections gauche, centrale et droite en position ACTIVéE.
Tournez la commande générale des sections en position MARCHE et procédez comme suit :
Vérifiez que l'antigel RV s'écoule par l'extrémité débranchée du tube du manomètre.
Pulvérisez par la buse jusqu'à ce que l'antigel RV soit visible.
Placez la commande générale des sections à la position DéSACTIVéE.
Tournez la commande de pompe en position ARRêT.
Utilisez les interrupteurs de levage des sections pour lever les sections extérieures.
Levez les sections jusqu'à ce qu'elles soient complètement rentrées dans le berceau de transport et repliées en croix, et que les vérins de levage soient complètement rétractés.
Note: Les vérins de levage doivent être complètement rétractés pour éviter d'endommager la tige.
Coupez le moteur.
Vidangez la cuve du pulvérisateur aussi complètement que possible.
Effectuez les procédures suivantes indiquées sous Remisage à court terme :
Effectuez en plus les procédures suivantes :
Contrôlez la pression des pneus ; voir Contrôle de la pression des pneus.
Contrôlez les freins ; voir Réglage des freins.
Contrôlez et resserrez tous les boulons, écrous et vis.
Note: Réparez ou remplacez toute pièce usée ou endommagée.
Peignez toutes les surfaces métalliques éraflées ou mises à nu (peinture en vente chez les concessionnaires Toro agréés).
Nettoyez la vanne d'agitation et les 3 vannes de section ; voir Nettoyage des vannes d'agitation et de section de rampe.
Graissez le pulvérisateur ; voir Graissage de la pompe de pulvérisation.
Contrôlez l'état de tous les flexibles de pulvérisation.
Note: Remplacez tout flexible usé ou endommagé.
Serrez tous les colliers et raccords de flexibles.
Faites l'entretien du filtre à air ; voir Vérifiez le filtre à air..
Vidangez l'huile et remplacez le filtre à huile moteur ; voir Remplacement du filtre à huile moteur et Vidange de l'huile moteur.
Vidangez le réservoir de carburant ; voir Vidange du réservoir de carburant.
Ajouter un stabilisateur au carburant en respectant les instructions du fabricant et remplissez le réservoir de carburant.
Démarrez le moteur et faites-le tourner au ralenti pendant 5 minutes.
Coupez le moteur.
Rebranchez tous les raccords du circuit d'alimentation.
Amenez la machine dans un endroit propre et sec.
Retirez la batterie du châssis ; voir Retrait de la batterie.
Note: Ne laissez pas les câbles connectés aux bornes de la batterie durant le remisage.
Contrôlez le niveau d'électrolyte.
Chargez la batterie au maximum ; voir Charge de la batterie.
Important: La batterie doit être chargée au maximum pour éviter de geler et de subir des dommages si la température descend en dessous de 0 ºC. Une batterie chargée au maximum conserve sa charge durant environ 50 jours à des températures inférieures à 4 ºC. Si la température dépasse 4 ºC, vérifiez le niveau d'eau dans la batterie et chargez-la tous les 30 jours.
Enlevez la clé du commutateur d'allumage et rangez-la en lieu sûr, hors de la portée des enfants.
Couvrez la machine pour la protéger et la garder propre.
Insérez le tube du manomètre dans le coupleur au dos du manomètre (Figure 123).

Fermez le robinet du réservoir d'eau douce.
Ajoutez du carburant dans le réservoir de carburant.
Chargez la batterie au maximum ; voir Charge de la batterie.
Reposez la batterie sur le châssis ; voir Mise en place de la batterie.
| Problem | Possible Cause | Corrective Action |
|---|---|---|
| Le démarreur ne doit pas entraîner le moteur. |
|
|
| Le démarreur fonctionne mais le moteur ne démarre pas. |
|
|
| Le moteur démarre, mais s'arrête aussitôt. |
|
|
| Le moteur tourne, mais cogne et a des ratés. |
|
|
| Le moteur ne tourne pas au ralenti. |
|
|
| Le moteur surchauffe. |
|
|
| Le moteur perd de la puissance. |
|
|
| Vibrations ou bruit anormaux. |
|
|
| La machine ne fonctionne pas du tout ou fonctionne laborieusement quel que soit le sens de marche, car le moteur peine ou cale. |
|
|
| La machine ne fonctionne dans aucune direction. |
|
|
| Problem | Possible Cause | Corrective Action |
|---|---|---|
| Une section de pulvérise pas. |
|
|
| Une section fonctionne en permanence. |
|
|
| Une vanne de section fuit. |
|
|
| Une baisse de pression se produit quand vous activez une section. |
|
|
| Une ou des buses de pulvérisation gouttent quand les interrupteurs de section sont en position arrêt. |
|
|
| Baisse de la pression pendant la pulvérisation. |
|
|
