Vedlikehold
Bruke støtten når du tipper klippeenheten
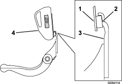
Når klippeenheten må tippes på siden for at man skal komme til motstålet/spolen, støtt opp baksiden av klippeenheten med støtten (følger med trekkenheten) for å sikre at mutterne bak på enden av justeringsskruen til motstangen ikke hviler på arbeidsoverflaten (Figur 21).

Smøre maskinen
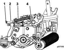
Smør regelmessig de seks smøreniplene på hver klippeenhet (Figur 22) med litiumbasert smørefett nr. 2.
Det er to smørepunkter på den fremre valsen, to på den bakre valsen og to for spolelageret.
Note: Hvis du smører klippeenhetene rett etter at du har vasket dem, skylles vannet ut av lagrene og bidrar til at de får forlenget levetid.
-
Tørk av alle smøreniplene med en ren fille.
-
Påfør smørefett til det kommer rent smørefett ut av valsetetningene og avlastningsventilen på lageret.
-
Tørk vekk eventuelt overflødig fett.

Baksliping av spolen
Spolen har en kuttebredde på 1,3 til 1,5 mm og en 30 graders baksliping.
Gjør følgende når kuttebredden blir større enn 3 mm:
-
Bruk en 30 graders baksliping på alle spoleknivene til kuttebredden er 1,3 mm bred (Figur 23 og Figur 24).


-
Slip spolen ved å spinne den til en urundhet som er mindre enn 0,025 mm.
Note: Dette får kuttebredden til å øke litt.
Note: For å forlenge levetiden til spoleeggene og motstålet: Etter sliping av spolen og/eller motstålet, kontroller kontakten mellom spolen og motstålet igjen etter klipping av to lengder. Dette fordi eventuelle ru kanter vil bli fjernet, noe som kan danne feil klaring mellom spolen og motstålet og dermed akselerere slitasjen.
Vedlikeholde motstålet
Grenser for vedlikehold av motstålet er oppgitt i skjemaet som følger.
Important: Bruk av klippeenheten med motstål som er under "vedlikeholdsgrense", kan føre til dårlig sluttresultat og redusere motstålets strukturelle integritet mot støt.
| Vedlikeholdsgrenseskjema for motstål | ||||
| Motstål | Delenr. | Høyde på motstålsleppe* | Vedlikeholdsgrense* | Slipevinklerøvre/fremre vinkler |
| Lav klippehøyde (ekstrautstyr) | 110-4084 | 5,6 mm | 4,8 mm | 10/5 grader |
| EdgeMax® lav klippehøyde (modell 03623) | 137-0832 | 5,6 mm | 4,8 mm | 10/5 grader |
| Forlenget lav klippehøyde (ekstrautstyr) | 120-1640 | 5,6 mm | 4,8 mm | 10/10 grader |
| Forlenget EdgeMax® lav klippehøyde (ekstrautstyr) | 119-4280 | 5,6 mm | 4,8 mm | 10/10 grader |
| EdgeMax® (modell 03621) | 137-0833 | 6,9 mm | 4,8 mm | 10/5 grader |
| Standard (ekstrautstyr) | 108-9096 | 6,9 mm | 4,8 mm | 10/5 grader |
| Tungt arbeid (ekstrautstyr) | 110-4074 | 9,3 mm | 4,8 mm | 10/5 grader |
Anbefalte slipevinkler for øvre og fremre motstål Figur 25 ()

Note: Alle vedlikeholdsgrenser for motstål viser til bunnen av motstålet (Figur 26)

Kontroller øvre slipevinkel
Vinkelen som du bruker til å slipe motstålet, er svært viktig.
Bruk vinkelindikatoren (delenr. 131-6828) og vinkelindikatorfestet (delenr. 131-6829) for å kontrollere vinkelen som slipeapparatet lager, og korriger for eventuell unøyaktighet.
-
Plasser vinkelindikatoren på undersiden av motstålet, som vist i Figur 27.

-
Trykk på Alt Zero-knappen på vinkelindikatoren.
-
Plasser vinkelindikatorfestet på kanten av motstålet slik at kanten på magneten er paret med kanten på motstålet (Figur 28).
Note: Det digitale displayet skal være synlig fra samme side under dette trinnet som det var i trinn 1.

-
Plasser vinkelindikatoren på festet som vist i Figur 28.
Note: Dette er vinkelen slipeapparatet lager, og bør være innenfor 2 grader av anbefalt øvre slipevinkel.
Vedlikeholde motstangen
Fjerne motstangen
-
Skru justeringsskruen til motstangen mot klokken, for å få motstålet bort fra spolen (Figur 29).

-
Skru ut fjærspenningsmutteren til skiven ikke lenger er strammet mot motstangen (Figur 29).
-
Løsne låsemutteren som fester motstangsbolten på begge sider av maskinen (Figur 30).

-
Fjern begge motstangsboltene slik at motstangen kan dras nedover og fjernes fra maskinbolten (Figur 30).
Note: Husk å ta de to nylonskivene og skiven av stanset stål på hver side av motstangen med i beregningen (Figur 31).

Montere motstangen
-
Når du skal montere motstangen, må du plassere monteringsfestene mellom skiven og motstangsjustereren.
-
Fest motstangen på hver side av sideplaten ved hjelp av motstangsboltene (mutterne på boltene) og seks skiver.
Note: Plasser en nylonskive på hver side av sideplatens nav. Plasser en stålskive på utsiden av de ytterste nylonskivene (Figur 31).
-
Trekk til motstangsboltene med et moment på 27–36 Nm.
-
Stram låsemutrene likt på begge sider, helt til det ikke er mulig å dreie de ytre stålskivene for hånd. Løsne deretter låsemutrene til de ytre stålskivene kun roterer for hånd, uten at det er noe endeslakk for motstangen (Figur 32).
Note: Hvis låsemutrene strammes for mye, kan dette forårsake at sideplater og motstang bøyes, noe som kan påvirke kontakten mellom spole og motstål.
Note: Skivene på innsiden kan ha et mellomrom.
Note: Ikke stram mutterne for mye, dette kan skade fjæren.

Montere motstålet
-
Fjern rust, avskalling og korrosjon av motstålets flate, og påfør et tynt lag olje på motstålets flate.
-
Rengjør skruegjengene.
-
Påfør Anti-Seize på skruene, og monter motstålet til motstangen slik (Figur 33):

-
Slip motstålet.
Vedlikeholde HD-dobbeltpunktjusteringene (DPA)
-
Fjern alle deler. Se monteringsinstruksjoner for HD DPA-sett modellnr. 120-7230 og Figur 35.
-
Påfør Anti-Seize-middel på innsiden av fôringsområdet på den midtre klippeenhetens ramme (Figur 35).
-
Still nøklene på flensfôringene på linje med slissene i rammen, og monter fôringene (Figur 35).
-
Monter en bølget skive på justeringsakselen, og før justeringsakselen inn i flensfôringene i klippeenhetens ramme (Figur 35).
-
Fest justeringsakselen med en flat skive og en låsemutter (Figur 35). Trekk til låsemutteren med et moment på 20–27 N∙m.
Note: Justeringsakselen for motstangen er venstregjenget.
-
Påfør Anti-Seize-middel på gjengene på justeringsskruen for motstangen som passer inn i justeringsakselen. Skru justeringsskruen for motstangen inn i justeringsakselen.
-
Monter den herdede skiven, fjæren og fjærspenningsmutteren løst på justeringsskruen.
-
Når du skal montere motstangen, må du plassere monteringsfestene mellom skiven og motstangsjustereren.
-
Fest motstangen på hver side av sideplaten ved hjelp av motstangsboltene (mutterne på boltene) og seks skiver, på følgende måte:
-
Plasser en nylonskive på hver side av sideplatens nav.
-
Plasser en stålskive på utsiden av hver nylonskive (Figur 35).
-
Trekk til motstangsboltene med et moment på 37–45 Nm.
-
Stram til låsemutterne til den ytre stålskiven slutter å rotere og det ikke finnes dødgang, men ikke stram til for mye eller trykk ned sideplatene.
Note: Skivene på innsiden kan ha et mellomrom (Figur 31).
-
-
Stram til mutteren på hver justering for motstangsenheten til fjærspenningen er trykket helt sammen. Løsne deretter mutteren en halv omdreining (Figur 32).
-
Gjenta prosedyren på den andre enden av klippeenheten.
-
Juster motstålet til spolen.

Vedlikeholde valsen
Et gjenoppbyggingssett for valse, delenr. 114-5430 og et verktøysett for gjenoppbygging av valse, delenr. 115-0803 (Figur 36) er tilgjengelig for vedlikehold av valsen. Gjenoppbyggingssettet for valse inneholder alle lagre, lagermuttere, indre forseglinger og ytre forseglinger som trengs for å gjenoppbygge en valse. Gjenoppbyggingssettet for valse inneholder alle verktøy og monteringsinstruksjoner som er nødvendige for å gjenoppbygge en valse med gjenoppbyggingssettet. Se delekatalogen eller ta kontakt med din distributør for hjelp.



) som betyr Forsiktig, Advarsel
eller Fare – personsikkerhetsinstruks. Hvis ikke disse instruksjonene
tas hensyn til, kan det føre til alvorlige personskader eller
dødsfall.

















