Manutenção
Utilizar o apoio ao inclinar a unidade de corte
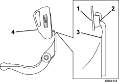
Se for necessário inclinar a unidade de corte para que a lâmina de corte e o cilindro fiquem expostos, coloque o apoio (fornecido com a unidade de tração) por baixo da traseira da unidade de corte para assegurar que as porcas na parte traseira dos parafusos de ajuste da barra de apoio não fiquem apoiadas sobre a superfície de trabalho (Figura 21).

Lubrificar a máquina
Lubrifique regularmente os seis bocais de lubrificação em cada unidade de corte (Figura 22), com massa n.º 2 para utilizações gerais, à base de lítio.
Há dois pontos de lubrificação no rolo frontal, dois no rolo traseiro e dois no rolamento do cilindro.
Note: Lubrificar as unidades de corte imediatamente após a lavagem ajuda a purgar a água dos rolamentos e aumenta a duração dos mesmos.
-
Limpe cada bocal de lubrificação com um trapo limpo.
-
Aplique lubrificação até que se veja lubrificante limpo a sair dos vedantes do rolo e da válvula de descarga do rolamento.
-
Elimine o excesso de massa lubrificante.

Amolação de retificação do cilindro
O cilindro tem uma largura de 1,3 a 1,5 mm e uma amolação de retificação de 30 graus.
Quando a dimensão da folga é superior a 3 mm de largura, faça o seguinte:
-
Aplique uma amolação de retificação de 30 graus em todas as lâminas do cilindro até que a folga tenha uma largura de 1,3 mm (Figura 23 e Figura 24).


-
Amole o cilindro para obter uma deslocação do cilindro <0,025 mm.
Note: Isto causa que a folga aumente ligeiramente.
Note: Para aumentar a longevidade da afiação da extremidade do cilindro e lâmina – após a amolação do cilindro e/ou lâmina – verifique novamente o contacto entre cilindro e lâmina depois de cortar dois fairways, uma vez que qualquer rebarba é eliminada o que pode criar uma folga indevida entre cilindro e lâmina e acelerar, desta forma, o desgaste.
Assistência à lâmina
Os limites de assistência à lâmina encontram-se no quadro seguinte.
Important: O funcionamento da unidade de corte com a lâmina abaixo do “limite de assistência” pode causar um fraco aspecto após o corte e reduzir a integridade estrutural da lâmina para impactos.
| Quadro de limite de assistência à lâmina | ||||
| Lâmina de corte | Peça nº | Altura do topo da lâmina* | Limite de assistência* | Ângulos de amolaçãoÂngulo superior/frontal |
| Baixa altura de corte (Opcional) | 110-4084 | 5,6 mm | 4,8 mm | 10/5 graus |
| Baixa altura de corte EdgeMax® (modelo 03623) | 137-0832 | 5,6 mm | 4,8 mm | 10/5 graus |
| Baixa altura extensível de corte (Opcional) | 120-1640 | 5,6 mm | 4,8 mm | 10/10 graus |
| Baixa altura EdgeMax® extensível de corte (Opcional) | 119-4280 | 5,6 mm | 4,8 mm | 10/10 graus |
| EdgeMax® (Modelo 03621) | 137-0833 | 6,9 mm | 4,8 mm | 10/5 graus |
| Standard (opcional) | 108-9096 | 6,9 mm | 4,8 mm | 10/5 graus |
| Pesados (opcional) | 110-4074 | 9,3 mm | 4,8 mm | 10/5 graus |
Recomendado para ângulos superiores e frontais da lâmina de corte (Figura 25)

Note: Todas as medidas dos limites de assistência da lâmina se referem à parte inferior da lâmina (Figura 26)

Verificar o ângulo de amolação superior
O ângulo que utiliza para amolar as lâminas de corte é muito importante.
Utilize o indicador de ângulo (peça n.º 131-6828) e a montagem do indicador do ângulo (peça n.º 131-6829) para verificar o ângulo que o seu amolador produz e depois corrija qualquer imprecisão no amolador.
-
Coloque o indicador de ângulo no lado inferior da lâmina de corte, como se ilustra na Figura 27.

-
Pressione o botão Alt Zero no indicador de ângulo.
-
Coloque a montagem do indicador de ângulo na extremidade da lâmina de corte para que a extremidade do íman fique alinhada com a extremidade da lâmina de corte (Figura 28).
Note: O ecrã digital deve ser visível do mesmo lado durante este passo como era no passo 1.

-
Coloque o indicador de ângulo na montagem, como se mostra na Figura 28.
Note: Este é o ângulo que o seu amolador produz e deve estar a 2 graus do ângulo de amolação superior recomendado.
Manutenção da barra de apoio
Remoção da barra de apoio
-
Rode os parafusos de ajuste da barra de apoio no sentido contrário ao dos ponteiros do relógio, para afastar a lâmina de corte do cilindro (Figura 29).

-
Faça recuar a porca da mola tensora até que a anilha deixe de estar sob tensão contra a barra de apoio (Figura 29).
-
Desaperte a porca de bloqueio que segura a cavilha da barra de apoio, em cada um dos lados da máquina (Figura 30).

-
Remova cada uma das cavilhas da barra de apoio, de modo permitir puxá-la e retirá-la da máquina (Figura 30).
Note: Guarde as duas anilhas de nylon e anilha de aço prensado de cada uma das extremidades da barra de apoio (Figura 31).

Montagem da barra de apoio
-
Instale a barra de apoio, posicionando as aletas de montagem entre a anilha e o ajustador da barra de apoio.
-
Fixe a barra de apoio a cada um dos lados da placa lateral com as cavilhas (porcas nas cavilhas) e com as 6 arruelas.
Note: Coloque uma anilha de nylon de cada lado da placa lateral. Coloque uma anilha de aço no exterior de cada uma das anilhas de nylon (Figura 31).
-
Aperte os parafusos da barra de apoio com uma força de 27 a 36 N·m.
-
Aperte as porcas de bloqueio de forma igual em cada lado até que não consiga rodar as anilhas de aço à mão. Em seguida, desaperte as porcas de bloqueio até que as arruelas de aço exteriores possam ser rodadas à mão, ainda não existir folga na barra de apoio. (Figura 32).
Note: Apertar em demasia as porcas de bloqueio pode fazer defletir as placas laterais e barra de apoio, o que pode afetar o contacto do cilindro/lâmina de corte.
Note: As anilhas podem ter uma folga interna.
Note: Não aperte demasiado as porcas, pois tal poderá danificar a mola.

Instalação da lâmina de corte
-
Elimine a ferrugem, escória e corrosão da superfície da barra de apoio e aplique uma fina camada de óleo na superfície da barra de apoio.
-
Limpe as roscas do parafuso.
-
Aplique composto antigripagem nos parafusos e instale a lâmina de corte na barra de apoio da seguinte forma (Figura 33):

-
Amole a lâmina de corte.
Assistência ao Ajuste de Dois Pontos HD (DPA)
-
Retire todas as peças; consulte as Instruções de instalação do Kit DPA HD Modelo 120-7230 e Figura 35.
-
Aplique composto antigripagem no interior da área dos casquilhos na estrutura unidade de corte central (Figura 35).
-
Alinhe as chaves nos casquilhos das flanges com as ranhuras na estrutura e instale os casquilhos (Figura 35).
-
Instale uma anilha ondulada no veio do ajustador e deslize o veio para os casquilhos da flange na estrutura da unidade de corte (Figura 35).
-
Prenda o veio ajustador com uma anilha plana e uma porca de bloqueio (Figura 35). Aperte a porca de bloqueio com uma força de 20 a 27 N m.
Note: O veio do ajustador da barra de apoio possui roscas esquerdas.
-
Aplique composto antigripagem nas roscas do parafuso do ajustador da barra de apoio que encaixa no veio do ajustador. Enrosque o parafuso do ajustador da barra de apoio no veio do ajustador.
-
Instale sem apertar a anilha reforçada, mola e porca tensora da mola no parafuso do ajustador.
-
Instale a barra de apoio, posicionando as aletas de montagem entre a anilha e o ajustador da barra de apoio.
-
Fixe a barra de apoio a cada placa lateral com os parafusos (porcas nos parafusos) e com as 6 anilhas da seguinte forma:
-
Coloque uma anilha de nylon de cada lado da placa lateral.
-
Coloque uma arruela de aço no exterior de cada uma das arruelas de nylon (Figura 35).
-
Aperte os parafusos da barra de apoio com uma força de 37 a 45 N·m.
-
Aperte as porcas até que a anilha de aço exterior pare de rodar e a folga seja removida, mas não aperte em demasiado nem desvie as placas laterais.
Note: As anilhas podem ter uma folga interna (Figura 31).
-
-
Aperte a porca em cada conjunto de ajustador da barra de apoio até que a mola de compressão esteja totalmente comprimida e, em seguida, desaperte a porca 1/2 volta (Figura 32).
-
Repita o procedimento no lado oposto da unidade de corte.
-
Ajustar a lâmina de corte ao cilindro.

Manutenção do rolo
Um kit de remontagem do rolo, peça nº 114-5430 e um kit de ferramentas de remontagem do rolo, peça nº 115-0803 (Figura 36) estão disponíveis para fazer a manutenção do rolo. O kit do rolo inclui todos os rolamentos, porcas dos rolamentos, vedantes internos e externos necessários para remontar um rolo. O kit inclui todas as ferramentas e as instruções de instalação necessárias à remontagem de um rolo com o Kit de remontagem de rolo. Consulte o Catálogo de peças ou contacte o distribuidor para obter ajuda.



O não cumprimento
destas instruções pode resultar em ferimentos pessoais
ou mesmo em morte.

















