Mantenimiento
Uso del soporte para volcar la unidad de corte.
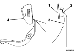
Cuando sea necesario inclinar la unidad de corte para tener acceso a la contracuchilla/el molinete, apoye la parte trasera de la unidad de corte en el soporte (suministrado con la unidad de tracción) para asegurarse de que las tuercas de los extremos de los tornillos de ajuste de la barra de asiento no estén apoyadas en la superficie de trabajo (Figura 21).

Lubricación de la máquina
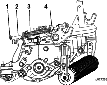
Lubrique regularmente los 6 engrasadores de cada unidad de corte (Figura 22) con grasa de litio Nº 2.
Hay 2 puntos de lubricación en el rodillo delantero, 2 en el rodillo trasero y 2 en el cojinete del molinete.
Note: El lubricar las unidades de corte inmediatamente después del lavado ayuda a purgar agua de los cojinetes y aumenta la vida de éstos.
-
Limpie cada engrasador con un trapo limpio.
-
Aplique grasa hasta que salga grasa limpia de las juntas del rodillo y la válvula de alivio del cojinete.
-
Limpie cualquier exceso de grasa.

Afilado del molinete con rebajo
El molinete tiene una superficie de incidencia de 1,3–1,5 mm de anchura, y un rebajo de 30°.
Si la anchura de la superficie de incidencia es superior a 3 mm, haga lo siguiente:
-
Afile todas las cuchillas con un rebajo de 30 grados hasta que la anchura de la superficie de incidencia sea de 1,3 mm (Figura 23 y Figura 24).


-
Afile el molinete con muela, sin rebajo, hasta que la excentricidad del molinete sea inferior a 0,025 mm.
Note: Esto hace que la superficie de incidencia se ensanche ligeramente.
Note: Para que los filos del molinete y de la contracuchilla duren más, después de amolar el molinete y/o la contracuchilla, vuelva a comprobar el contacto entre molinete y contracuchilla después de segar 2 calles, porque esto eliminará la rebaba, posiblemente creando un contacto incorrecto entre el molinete y la contracuchilla y por tanto acelerando el desgaste.
Mantenimiento de la contracuchilla
La tabla siguiente indica los límites de ajuste de la contracuchilla.
Important: La operación de la unidad de corte con la contracuchilla por debajo del “límite de ajuste” puede dar como resultado un deficiente aspecto después del corte, y puede reducir la integridad estructural de la contracuchilla en caso de impacto.
| Tabla de límites de ajuste de la contracuchilla | ||||
| Contracuchilla | Pieza Nº | Altura del filo de la contracuchilla* | Límite de ajuste* | Ángulos de rectificadoÁngulos superior/delantero |
| Altura de corte baja (opcional) | 110-4084 | 5,6 mm | 4,8 mm | 10/5 grados |
| EdgeMax® ADC baja (Modelo 03623) | 137-0832 | 5,6 mm | 4,8 mm | 10/5 grados |
| Altura de corte extendida baja (opcional) | 120-1640 | 5,6 mm | 4,8 mm | 10/10 grados |
| Altura de corte extendida baja EdgeMax® (opcional) | 119-4280 | 5,6 mm | 4,8 mm | 10/10 grados |
| EdgeMax® (Modelo 03621) | 137-0833 | 6,9 mm | 4,8 mm | 10/5 grados |
| De serie (opcional) | 108-9096 | 6,9 mm | 4,8 mm | 10/5 grados |
| Servicio pesado (opcional) | 110-4074 | 9,3 mm | 4,8 mm | 10/5 grados |
Ángulo de amolado recomendado para la parte superior y delantera de la contracuchillaFigura 25().

Note: Todos los límites de ajuste de la contracuchilla se miden respecto a la cara inferior de la misma (Figura 26)

Comprobación del ángulo de amolado superior
El ángulo de rectificado de las contracuchillas es muy importante.
Utilice el indicador de ángulo (Pieza N° 131-6828) y el soporte del indicador de ángulo (Pieza N° 131-6829) para comprobar el ángulo producido por su muela, y corrija cualquier falta de precisión.
-
Coloque el indicador de ángulo en el lado inferior de la contracuchilla, según se muestra en Figura 27.

-
Pulse el botón Alt Zero del indicador de ángulo.
-
Coloque el soporte del indicador de ángulo sobre el filo de la contracuchilla de manera que el borde del imán esté enrasado con el filo de la contracuchilla (Figura 28).
Note: La pantalla digital debe estar visible desde el mismo lado durante este paso que durante el paso 1.

-
Coloque el indicador de ángulo en el soporte, según se muestra en Figura 28.
Note: Este es el ángulo que produce su muela, y no debe variar en más de 2 grados del ángulo de amolado superior recomendado.
Mantenimiento de la barra de asiento
Cómo retirar la barra de asiento
-
Gire los tornillos de ajuste de la barra de asiento en sentido antihorario para alejar la contracuchilla del molinete (Figura 29).

-
Afloje la tuerca de tensado del muelle hasta que el muelle deje de presionar la arandela contra la barra de asiento (Figura 29).
-
En cada lado de la máquina, afloje la contratuerca que fija el perno de la barra de asiento (Figura 30).

-
Retire todos los pernos de la barra de asiento, para poder tirar de la barra hacia abajo y retirarla de la máquina (Figura 30).
Note: Guarde las 2 arandelas de nylon y la arandela de acero troquelado de cada extremo de la barra de asiento (Figura 31).

Ensamblaje de la barra de asiento
-
Instale la barra de asiento, posicionando las pestañas de montaje entre la arandela y el mecanismo de ajuste de la barra de asiento.
-
Sujete la barra de asiento a cada chapa lateral con los pernos de la barra (con tuercas en los pernos) y las 6 arandelas.
Note: Coloque una arandela de nylon en cada lado del saliente de la chapa lateral. Coloque una arandela de acero por fuera de las arandelas de nylon exterior (Figura 31).
-
Apriete los pernos de la barra de asiento a entre 27 y 36 N∙m.
-
Apriete las contratuercas uniformemente en cada lado hasta que no pueda girar las arandelas de acero exteriores a mano. Luego afloje las contratuercas hasta que apenas pueda girar las arandelas de acero exteriores a mano, y al mismo tiempo que no haya holgura en la barra de asiento (Figura 32).
Note: Si aprieta en exceso las contratuercas, puede desviar las chapas laterales, lo que puede afectar al contacto entre el molinete y la contracuchilla.
Note: Las arandelas del interior pueden tener cierta holgura.
Note: No apriete en exceso las tuercas porque puede dañarse el muelle.

Instalación de la contracuchilla
-
Elimine el óxido, las incrustaciones y la corrosión de la superficie de la barra de asiento y aplique una capa fina de aceite sobre ella.
-
Limpie las roscas de los tornillos
-
Aplique compuesto antiadherente a los tornillos e instale la contracuchilla en la barra de asiento del siguiente modo (Figura 33):

-
Rebaje la contracuchilla.
Mantenimiento de los ajustadores de dos puntos (DPA) de servicio pesado
-
Retire todas las piezas (consulte las Instrucciones de instalación del Kit HD DPA Modelo 120-7230 y la Figura 35).
-
Aplique compuesto antigripante en la parte interior de la zona de los casquillos del bastidor central de la unidad de corte (Figura 35).
-
Alinee los salientes de los casquillos con brida con las ranuras del bastidor, e instale los casquillos (Figura 35).
-
Instale una arandela ondulada sobre el eje del ajustador e introduzca el eje del ajustador en los casquillos con brida del bastidor de la unidad de corte (Figura 35).
-
Sujete el eje del ajustador con una arandela plana y una contratuerca (Figura 35). Apriete la contratuerca a 20–27 N·m.
Note: El eje del ajustador de la barra de asiento tiene rosca a izquierdas.
-
Aplique compuesto antigripante a las roscas del tornillo de ajuste de la barra de asiento que encaja en el eje del ajustador. Enrosque el tornillo del ajustador de la barra de asiento en el eje del ajustador.
-
Instale provisionalmente la arandela endurecida, el muelle y la tuerca de tensado del muelle en el tornillo de ajuste.
-
Instale la barra de asiento, posicionando las pestañas de montaje entre la arandela y el mecanismo de ajuste de la barra de asiento.
-
Sujete la barra de asiento a cada chapa lateral con los pernos de la barra (con tuercas en los pernos) y las 6 arandelas como se indica a continuación:
-
Coloque una arandela de nylon en cada lado del saliente de la chapa lateral.
-
Coloque una arandela de acero por fuera de cada arandela de nylon (Figura 35).
-
Apriete los pernos de la barra de asiento a 37–45 N·m.
-
Apriete las contratuercas hasta que la arandela de acero exterior deje de girar, y la holgura quede eliminada, pero no apriete demasiado ni desvíe las chapas laterales.
Note: Las arandelas del interior pueden tener cierta holgura (Figura 31).
-
-
Apriete la tuerca de cada ajustador de la barra de asiento hasta que el muelle de compresión esté comprimido del todo, luego afloje la tuerca 1/2 vuelta (Figura 32).
-
Repita el procedimiento en el otro extremo de la unidad de corte.
-
Ajuste la contracuchilla contra el molinete.

Mantenimiento del rodillo
Para facilitar el mantenimiento del rodillo están disponibles un Kit de reacondicionamiento de rodillos, Pieza Nº 114-5430 y un Kit de herramientas para el reacondicionamiento del rodillo, Pieza Nº 115-0803 (Figura 36). El Kit de reacondicionamiento de rodillo incluye todos los cojinetes, tuercas de cojinetes, juntas y retenes necesarios para reacondicionar un rodillo. El Kit de herramientas para el reacondicionamiento del rodillo incluye todas las herramientas y las instrucciones de instalación necesarias para reacondicionar un rodillo con el Kit de reacondicionamiento de rodillos. Consulte el Catálogo de piezas o póngase en contacto con su distribuidor si necesita ayuda.



, que significa: Cuidado, Advertencia o Peligro
– instrucción relativa a la seguridad personal. El incumplimiento
de estas instrucciones puede dar lugar a lesiones personales o la
muerte.

















