Tämä sarja sopii vain kaksipylväisen kaatumissuojausjärjestelmän jatkosarjamalliin 31351.
Note: Koneen vasen ja oikea puoli määritellään normaalista käyttöasennosta käsin.
Note: Asenna tämä sarja toisen henkilön avustuksella.
Pysäköi kone tasaiselle alustalle.
Laske leikkuuyksiköt.
Kytke seisontajarru.
Sammuta moottori ja irrota virta-avain.
Jos turvakaaressa on valot, irrota valot ja kiinnitystarvikkeet turvakaaresta.
Säilytä valot ja kiinnitystarvikkeet
Jos koneeseen on asennettu kaksipylväisen kaatumissuojausjärjestelmän jatkosarja, irrota sivupaneelit, joihin kaatumissuojausjärjestelmän pylväiden valot kiinnitetään (Kuva 2).
Note: Säilytä kaatumissuojausjärjestelmän pidikkeet ja vastaavat kiinnitystarvikkeet.
Käännä ohjauskonsolia mahdollisimman paljon sisäänpäin.
Vaiheeseen tarvittavat osat:
| Vasemman oven kehikkokokoonpano | 1 |
| Oikean oven kehikkokokoonpano | 1 |
| Vasemman oven tuki | 1 |
| Oikean oven tuki | 1 |
| Vasen alapaneelikokoonpano | 1 |
| Oikea alapaneelikokoonpano | 1 |
| Vasemman oven kannatin | 1 |
| Oikean oven kannatin | 1 |
| Takasäleikkö | 1 |
| Takapaneeli | 1 |
| Ylempi asennuskannatin | 2 |
| Alempi asennuskannatin | 2 |
| Välikappale | 4 |
| Jousikannatin | 2 |
| Jousi | 2 |
| Pallotappi | 4 |
| Pultti (5/16 × ¾ tuumaa) | 40 |
| Mutteri (5/16 tuumaa) | 44 |
| Lukkopultti (¼-20 × ¾ tuumaa) | 10 |
| Laippamutteri (¼ tuumaa) | 10 |
Katso kuvaa (Kuva 2) seuraavia vaiheita suoritettaessa.
Note: Varmista, että kaikki osat asennetaan löysästi. Viimeistele sarjan asennus ja kiristä sitten kaikki kiinnikkeet.
Kiinnitä vasemman ja oikean oven tuki kaksipylväisen kaatumissuojausjärjestelmän jatkosarjan yläkaiteisiin pulteilla (5/16 × ¾ tuumaa) ja laippamuttereilla (5/16 tuumaa).
Kiinnitä ylempi ja alempi asennuskannatin ja vasemman ja oikean oven tuki turvakaareen pulteilla (5/16 × ¾ tuumaa) ja laippamuttereilla (5/16 tuumaa).
Kiinnitä takapaneeli vasemman ja oikean oven tukeen pulteilla (5/16 × ¾ tuumaa) ja laippamuttereilla (5/16 tuumaa).
Kiinnitä takasäleikkö takapaneeliin ja kaksipylväisen kaatumissuojausjärjestelmän jatkosarjan takimmaiseen katon kannattimeen pulteilla (5/16 × ¾ tuumaa) ja laippamuttereilla (5/16 tuumaa).
Note: Varmista, että takasäleikön reiät kohdistuvat takapaneelin ja takimmaisen katon kannattimen reikiin.
Kiinnitä takasäleikkö vasemman ja oikean oven tukeen pulteilla (5/16 × ¾ tuumaa) ja laippamuttereilla (5/16 tuumaa).
Kiinnitä vasemman oven kannatin vasemman oven tukeen ja oikean oven kannatin oikean oven tukeen pulteilla (5/16 × ¾ tuumaa) ja laippamuttereilla (5/16 tuumaa).
Kiinnitä jousikannattimet kaksipylväisen kaatumissuojausjärjestelmän jatkosarjan yläkaiteisiin pulteilla (5/16 × ¾ tuumaa) ja laippamuttereilla (5/16 tuumaa).
Kiinnitä vasen ja oikea alapaneelikokoonpano jalkatasoon ja kaksipylväisen kaatumissuojausjärjestelmän jatkosarjan alempiin sivukannattimiin kymmenellä lukkopultilla (¼-20 × ¾ tuumaa) ja kymmenellä laippamutterilla (¼ tuumaa).
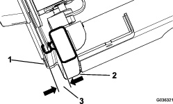
Jalkatasoon on porattava reiät.
Merkitse kohdat, joissa alemmat paneelikokoonpanot osuvat jalkatasoon (Kuva 1).
Poraa jalkatasoon neljä reikää (0,71 cm).
Asenna lukkopultit ja laippamutterit.

Kiinnitä vasemman ja oikean oven kehikkokokoonpano koneen vastaaville puolille.
Aseta kuhunkin oveen kiinnitetty saranakokoonpano aikaisemmin asennettuihin oven asennuskokoonpanoihin neljää välikappaletta käyttämällä.
Kiinnitä jouset ovien kehikkokokoonpanoihin ja jousikannattimiin neljällä pallotapilla ja neljällä laippamutterilla (5/16 tuumaa).
Note: Asenna jouset niin, että sylinteripää on oven kehikkokokoonpanossa ja mäntäpää jousikannattimessa.

Vaiheeseen tarvittavat osat:
| Vastamutteri | 2 |
| Tapin suojus | 2 |
| Lukitustapin nokka | 2 |
| Painealuslaatta | 4 |
| Varmistuslaatta | 4 |
| Lukitustappi | 2 |
Varmista, että olet kääntänyt ohjauskonsolia mahdollisimman paljon sisäänpäin.
Kohdista lukitustapin nokka vastalevyssä olevaan aukkoon kuvan mukaisesti (Kuva 3).

Aseta lukitustappi (ensin ilman aluslaattoja) lukitustapin nokkaan (Kuva 3).
Lisää tarvittaessa aluslaattoja, jotta lukitustappi on ovisalvan keskellä.
Note: Lukitustappia täytyy ehkä säätää painealuslaatalla ja varmistuslaatalla, jotta se asettuu oven salpaan.
Kohdista lukitustappi ja vastamutteri vastalevyn aukon takaosaan (Kuva 3).
Kiristä vastamutteri lukitustappiin käsin (Kuva 3).
Keskitä lukitustappi kaiteessa olevaan lukitustapin asennuskannattimeen (Kuva 4).

Sulje ovi kokonaan ja katso kohtaa, jossa lukitustappi koskettaa oven salpaa.
Note: Jos lukitustappi ei asetu täysin oven salpaan, lisää aluslaattoja lukitustapin nokan ja lukitustapin väliin.
Sulje ovi kokonaan ja mittaa tiivisteen korkeus ohjaamon kaiteen tiivistepintaan. Varmista, että mitta on 1,9–2,2 cm kuvan mukaisesti (Kuva 5).
Note: Jos mitattu korkeus on suositusta suurempi, säädä korkeus sopivaksi kääntämällä lukitustapin nokkaa 45 astetta ohjaamon sisäosaa kohti. Jos mitattu korkeus on suositusta pienempi, tee toimenpide päinvastaisesti.
Note: Lukitustappi asettuu keskelle itsestään.

Kiristä vastamutteri, kun lukitustapin mitta on 1,9–2,2 cm kuvan mukaisesti (Kuva 4).
Löysää oven lukitustappia.
Sulje ovi ja pidä se paikoillaan rataslukkovyöllä (Kuva 6).
Note: Aseta rataslukkovyön toinen pää ylärunkokaiteeseen ja toinen pää oven kahvaan.

Löysää oven saranan neljää pulttia ja neljää mutteria (Kuva 6).
Vedä ovea ylös kiristämällä rataslukkovyö (Kuva 6).
Varmista, että oven ja rungon välissä on 1,3 cm:n aukko.
Kiristä oven saranan pultit ja mutterit ja oven lukitustappi.
Irrota rataslukkovyö.
Toista toimenpide toiselle ovelle.
Vaiheeseen tarvittavat osat:
| Kaksoislaattakannatin | 1 |
| Sivulaattakannatin | 2 |
| Ylälaattakannatin | 1 |
| Niitti | 6 |
| Alempi tuulilasin kokoonpano | 1 |
| Ylempi tuulilasin kokoonpano | 1 |
| Pultti (5/16 × 1½ tuumaa) | 13 |
| Tukialuslaatta | 13 |
| Kumiholkki (pituus 0,31 tuumaa) | 13 |
| Kumiholkki (pituus 0,56 tuumaa) | 13 |
| Mutteri (5/16 tuumaa) | 13 |
Katso kuvaa (Kuva 7) seuraavia vaiheita suoritettaessa.
Note: Varmista, että ylempi tuulilasi on asennettu siten, että sauma sijoittuu rungon alareunaan.
Asenna kaksoislaattakannatin ylemmän ja alemman tuulilasirungon väliin kaatumissuojausjärjestelmässä.
Kiinnitä kaksi sivulaattakannatinta kahdella niitillä kaksipylväisen kaatumissuojausjärjestelmän jatkosarjan pylvään suojuksen reikiin.
Kiinnitä ylälaattakannatin niitillä kaksipylväisen kaatumissuojausjärjestelmän jatkosarjan etupaneelin reikään.
Asenna alempi ja ylempi tuulilasikokoonpano 13 pultilla (5/16 × 1½ tuumaa), 13 tukialuslaatalla, 13 laippaholkilla (0,31 tuumaa), 13 laippaholkilla (0,56 tuumaa) ja 13 mutterilla (5/16 tuumaa).

Varmista, että kaikki kiinnikkeet on kiristetty.
Asenna aiemmin mahdollisesti irrotetut lisälaitteet, kuten valot, vasempaan ja oikeaan paneeliin.