Deze set is enkel geschikt voor model 31351 van de verlengset voor de rolbeugel met 2 stangen.
Note: Bepaal vanuit de normale bedieningspositie de linker- en rechterzijde van de machine.
Note: Bij het monteren van deze set heeft u een assistent nodig.
Parkeer de machine op een horizontaal oppervlak.
Breng de maai-eenheden omlaag.
Stel de parkeerrem in werking.
Zet de motor af en verwijder het sleuteltje.
Verwijder eerst eventuele lampen en het bijbehorende bevestigingsmateriaal van de rolbeugel.
Bewaar de lampen en het bevestigingsmateriaal.
Als de machine voorzien is van een verlengde rolbeugel met 2 stangen, verwijder dan de zijpanelen waarop de lampen van de rolbeugelstangen gemonteerd zijn (Figuur 2).
Note: Bewaar de rolbeugelklemmen en het bijhorende bevestigingsmateriaal.
Plaats het bedieningspaneel zo ver mogelijk naar binnen.
Benodigde onderdelen voor deze stap:
| Linkerkooideur | 1 |
| Rechterkooideur | 1 |
| Linkerdeursteun | 1 |
| Rechterdeursteun | 1 |
| Onderste paneel links | 1 |
| Onderste paneel rechts | 1 |
| Houder linkerdeur | 1 |
| Houder rechterdeur | 1 |
| Achterste scherm | 1 |
| Achterpaneel | 1 |
| Bovenste montagebeugel | 2 |
| Onderste montagebeugel | 2 |
| Afstandsstuk | 4 |
| Veerhouder | 2 |
| Veer | 2 |
| Halvekogeltap | 4 |
| Bout (5/16" x ¾") | 40 |
| Moer (5/16") | 44 |
| Slotbout (¼-20 x ¾") | 10 |
| Flensmoer (¼") | 10 |
Raadpleeg Figuur 2 bij het uitvoeren van de volgende stappen.
Note: Verzeker dat alle onderdelen los gemonteerd worden. Voltooi eerst de montage van de set; zet vervolgens al het bevestigingsmateriaal vast.
Gebruik bouten (5/16" x ¾") en flensmoeren (5/16") om de linker- en rechterdeursteun te bevestigen aan de bovenrails van het verlengstuk voor de rolbeugel met 2 stangen.
Gebruik bouten (5/16" x ¾") en flensmoeren (5/16") om de bovenste en onderste montagebeugel en de linker- en rechterdeursteun aan de rolbeugel te bevestigen.
Gebruik bouten (5/16" x ¾") en flensmoeren (5/16") om het achterpaneel aan de linker- en rechterdeursteun te bevestigen.
Gebruik bouten (5/16" x ¾") en flensmoeren (5/16") om het achterste scherm te bevestigen op het achterpaneel en de achterste dakbevestiging van de verlenging van de rolbeugel met 2 stangen.
Note: Verzeker dat de gaten in het achterste scherm uitgelijnd zijn met de gaten in het achterpaneel en de achterste dakbevestiging.
Gebruik bouten (5/16" x ¾") en flensmoeren (5/16") om het achterste scherm te bevestigen op de linker- en rechterdeursteun.
Gebruik bouten (5/16" x ¾") en flensmoeren (5/16") om de houder van de linker- en rechterdeur achtereenvolgens aan de linker- en rechterdeursteun te bevestigen.
Gebruik bouten (5/16" x ¾") en flensmoeren (5/16") om de veerhouders te bevestigen aan de bovenrails van het verlengstuk voor de rolbeugel met 2 stangen.
Gebruik 10 slotbouten (¼-20 x ¾") en 10 flensmoeren (¼") om de onderste panelen links en rechts te bevestigen aan het voetplatform en de onderste zijbeugels van het verlengstuk voor de rolbeugel met 2 stangen.
U dient gaten te boren in het voetplatform.
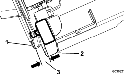
Markeer de locaties waar de onderste panelen het voetplatform raken (Figuur 1).
Boor 4 gaten van 7,1 mm in het voetplatform.
Bevestig de slotbouten en de flensmoeren.

Bevestig de linker- en rechterkooideur aan de overeenkomende zijde van de machine.
Plaats de scharnieren van de deuren met 4 afstandsstukken op de deurhouders die u eerder gemonteerd hebt.
Gebruik 4 halvekogeltappen en 4 flensmoeren (5/16") om de veren aan de kooideuren en de veerhouders te bevestigen.
Note: Monteer de veren met het cilinderuiteinde op de kooideur en het zuigeruiteinde op de veerhouder.

Benodigde onderdelen voor deze stap:
| Contramoer | 2 |
| Penbeveiliging | 2 |
| Nok van vergrendelpen | 2 |
| Drukring | 4 |
| Borgring | 4 |
| Vergrendelpen | 2 |
Zorg dat u het bedieningspaneel zo ver mogelijk naar binnen plaatst.
Lijn de nok van de vergrendelpen uit met de opening van de aanslagplaat in de stand getoond in Figuur 3.

Steek de vergrendelpen (in eerste instantie zonder de ringen) in de nok van de vergrendelpen (Figuur 3).
Voeg indien nodig extra onderlegringen toe om de vergrendelpen in de vergrendeling te centreren.
Note: Mogelijk moet u een drukring in combinatie met een borgring gebruiken om de vergrendelpen zodanig af te stellen dat deze in de deurvergrendeling grijpt.
Plaats de vergrendelpen en de contramoer aan de achterkant van de opening in de aanslagplaat (Figuur 3).
Draai de contramoer met de hand vast op de vergrendelpen (Figuur 3).
Centreer de vergrendelpen in de montagebeugel van de vergrendelpen op de rail (Figuur 4).

Doe de deur helemaal dicht en kijk waar de vergrendelpen de deurvergrendeling raakt.
Note: Als de vergrendelpen niet volledig met de deurvergrendeling aangrijpt, voeg dan onderlegringen toe tussen de nok van de vergrendelpen en de vergrendelpen.
Sluit de deur volledig en meet de hoogte van de dichting tot het dichtoppervlak van de cabinerail. Dit moet tussen de 1,9 en 2,2 cm zijn, zie Figuur 5.
Note: Als de meting meer is dan toegelaten, draai dan de nok van de vergrendelpen 45° naar de binnenkant van de cabine om de aanbevolen meting te verkrijgen. Als de meting kleiner is dan toegelaten, doe dan precies het tegenovergestelde.
Note: De vergrendelpen wordt automatisch gecentreerd.

Draai de contramoer vast zodra de vergrendelpen 1,9 tot 2,2 cm bereikt; zie Figuur 4.
Zet de vergrendelpen van de deur los.
Doe de deur dicht en hou de deur tegen met een spanband (Figuur 6).
Note: Plaats een uiteinde van de spanband op de bovenste framerail en het andere uiteinde op de handgreep van de deur.

Zet de 4 bouten en de 4 moeren van het scharnier van de deur los (Figuur 6).
Span de spanband aan om de deur op te tillen (Figuur 6).
Zorg ervoor dat de afstand tussen de deur en het frame 1,3 cm is.
Draai de bouten en moeren van het scharnier van de deur en van de vergrendelingspen van de deur vast.
Verwijder de spanband.
Herhaal de procedure voor de andere deur.
Benodigde onderdelen voor deze stap:
| Dubbele bevestigingsnok | 1 |
| Zijbevestigingsnok | 2 |
| Bovenste bevestigingsnok | 1 |
| Popnagel | 6 |
| Onderste voorruit | 1 |
| Bovenste voorruit | 1 |
| Bout (5/16 x 1½") | 13 |
| Sluitring | 13 |
| Rubberen lager (0,31" lang) | 13 |
| Rubberen lager (0,56" lang) | 13 |
| Moer (5/16") | 13 |
Raadpleeg Figuur 7 bij het uitvoeren van de volgende stappen.
Note: Verzeker dat de bovenste ruit zo is gemonteerd dat de naad zich onderaan bij het frame bevindt.
Monteer de dubbele bevestigingsnok tussen het frame van de bovenste en de onderste ruit op de rolbeugel.
Zet de 2 bevestigingsnokken vast in de gaten in de verlenging van de rolbeugel met 2 stangen, met 2 popnagels.
Zet de bovenste bevestigingsnok vast in het gat in het voorpaneel van de verlenging van de rolbeugel met 2 stangen, met 1 popnagel.
Monteer de onderste en bovenste voorruit; gebruik 13 bouten (5/16 x 1½"), 13 sluitringen, 13 rubberen lagers (0,31" lang), 13 rubberen lagers (0,56" lang) en 13 moeren (5/16").

Controleer of alle bevestigingen goed vast zitten.
Monteer eventuele accessoires die u eerder hebt verwijderd (zoals lampen) op het linker- en rechterpaneel.