Important: Maskinen skal udstyres med hjælpemotorsættet (Toro-delnr. 30382), før dette sæt monteres.

Advarsel

CALIFORNIEN

Advarsel i henhold til erklæring nr. 65

Brug af dette produkt kan medføre eksponering over for kemikalier, der ifølge staten Californien er kræftfremkaldende og giver medfødte defekter eller andre forplantningsskader.

Sikkerhed

Sikkerheds- og instruktionsmærkater

Graphic

Sikkerheds- og instruktionsmærkaterne kan nemt ses af operatøren og er placeret tæt på potentielle risikoområder. Beskadigede eller bortkomne mærkater skal udskiftes.

decal133-8061

Montering

Klargøring af maskinen

  1. Placer maskinen på en plan flade, sænk klippeenheden, stands maskinen, aktiver parkeringsbremsen, og tag nøglen ud af tændingen.

    Forsigtig

    Hvis du lader nøglen sidde i tændingslåsen, er der risiko for, at nogen utilsigtet kan starte motoren og forårsage alvorlig skade på dig eller andre personer i nærheden.

    Fjern nøglen fra tændingen, før vedligeholdelsesarbejde påbegyndes.

  2. Kobl batteriets minuskabel (-) fra batteriet.

Montering af løftearmsenheden

Model 30810

Dele, der skal bruges til dette trin:

Cylinderstøttesamling1
Bolt (3/8 x 2-3/4 tommer)2
Bolt (3/8 x 1-1/4 tomme)3
Bolt (3/8" x 1")1
Møtrik (⅜")3
Løftearmsenhed1
Bolt (7/8 x 4-1/2 tommer)2
Kontramøtrik (7/8 tomme)2
Spindelspændeskive8
Bolt (1/2 x 1-1/2 tomme)1
Låsemøtrik (1/2 tomme)1
Cylindermonteret drejetap1
Smørenippel1

Note: For at forbedre adgangen, når sættet samles, skal du hæve bageste del af traktionsenheden, understøtte den med donkrafte og fjerne højre baghjul.

  1. Fjern de eksisterende 3 bolte og 3 møtrikker fra platformsenheden (Figur 1).

    Note: Gem møtrikkerne.

    g029812
  2. Fastgør cylinderstøttesamlingen på bagkofangerbeslaget og platformsenheden med 2 bolte (3/8 x 2-3/4 tommer), 3 bolte (3/8 x 1-1/4 tomme), 2 møtrikker (3/8 tomme) og de 3 eksisterende møtrikker, du lige har fjernet.

    Note: Placer cylinderstøttesamlingen som vist i Figur 2.

    g029526
  3. Monter løftearmsenheden på de bageste rammevanger med 2 bolte (7/8 x 4-1/2 tommer), 2 kontramøtrikker (7/8 tomme) og så mange spindelspændeskiver som nødvendigt for at opnå en ensartet afstand mellem højre og venstre side af løftearmen og de bageste rammevanger.

    Note: Placer komponenterne som vist i Figur 3.

    g029785
  4. Tilspænd boltene og låsemøtrikkerne til 518 til 648 Nm (382 til 478 ft-lb).

  5. Juster længden på gevindleddet til 19 cm, og spænd kontramøtrikkerne (Figur 4).

    g012818
  6. Fastgør gevindledstangens ende til cylinderstøttesamlingen med en bolt (1/2 x 1-1/2 tomme) og låsemøtrik (1/2 tomme) som vist i Figur 5.

    g029786
  7. Monter hydraulikcylinderens løse ende på cylinderstøttesamlingen med den cylindermonterede drejetap, bolten (3/8 x 1 tomme) og møtrikken (3/8 tomme) som vist i Figur 6.

    g029528
  8. Skru en smørenippel ind i enden af drejetappen som vist i Figur 6.

Montering af løftearmsenheden

Model 30812

Dele, der skal bruges til dette trin:

Ledmontering1
Bolt (3/8" x 1")3
Møtrik (3/8 tomme)3
Løftearmsenhed1
Bolt (7/8 x 4-1/2 tommer)2
Kontramøtrik (7/8 tomme)2
Spindelspændeskive8
Bolt (1/2 x 1-1/2 tomme)1
Låsemøtrik (1/2 tomme)1
Drejetap1
Smørenippel1

Note: For at forbedre adgangen, når sættet samles, skal du hæve bageste del af traktionsenheden, understøtte den med donkrafte og fjerne højre baghjul.

  1. Fastgør ledmonteringen på bagkofangerbeslaget med 3 bolte (3/8 x 1 tomme) og 3 møtrikker (3/8 tomme).

    Note: Placer ledmonteringen som vist i Figur 7.

    g029787
  2. Monter løftearmsenheden på de bageste rammevanger med 2 bolte (7/8 x 4-1/2 tommer), 2 kontramøtrikker (7/8 tomme) og så mange spindelspændeskiver som nødvendigt for at opnå en ensartet afstand mellem højre og venstre side af løftearmen og de bageste rammevanger.

    Note: Placer komponenterne som vist i Figur 8.

    g029790
  3. Tilspænd boltene og låsemøtrikkerne til 518 til 648 Nm (382 til 478 ft-lb).

  4. Juster længden på gevindleddet til 19 cm, og spænd kontramøtrikkerne (Figur 9).

    g012818
  5. Fastgør gevindledstangens ende til leddets støttesamling med en bolt (1/2 x 1-1/2 tomme) og låsemøtrik (1/2 tomme) som vist i Figur 10.

    g029791
  6. Monter den stationære ende af hydraulikcylinderen på undersiden af rammens tværvangebeslag med en drejetap (Figur 11).

    g012820
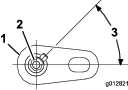
  7. Skru en smørenippel ind i enden af drejetappen (Figur 11).

    Note: Placer smøreniplen som vist i Figur 12.

    g012821

Montering af hydraulikslangerne

Dele, der skal bruges til dette trin:

T-fitting (kun model 30812)1
Slangeklemme (3/8 tomme)3
Kabelbånd4
  1. Sæt et aftapningskar under oliekølerreturslangen (Figur 13 eller Figur 14) i højre side af maskinen lige foran kølerrammen.

    g029810
    g029809
  2. Før den korte slange fra manifolden til oliekølerreturslangens placering.

  3. Kun model 30810: Monter den korte slange på oliekølerslangen som følger:

    1. Fjern hætten fra oliekølerreturslangens rørledning (Figur 15).

      g029792
    2. Skru den korte slange fast på rørledningen (Figur 15).

    3. Fortsæt til trin 5.

  4. Kun model 30812: Monter den korte slange på oliekølerslangen som følger:

    1. Sæt en klemme på den korte slange, og stik derefter T-fittingen ind i enden af den korte slange (Figur 16).

      g012826
    2. Opmål ca. 12,7 cm fra kølerrammen, og tilskær oliekølerreturslangen (Figur 17).

      Note: Dette er slangen mellem skjoldløftets ventil og oliekøleren. Hold slangeenderne op for at reducere mængden af hydraulikvæske, der spildes.

      g012827
    3. Fastgør alle 3 slanger til T-fittingen med slangeklemmer (7/8 tomme).

    4. Monter den korte slange på porten i oliekølerreturslangen.

  5. Find skjoldløftets ventilenhed (Figur 18) på højre ramme.

    g029530
  6. Fjern proppen fra venstre side af ventilenheden (Figur 18).

  7. Skru hydraulikventilfittingen ind i ventilens åbning (Figur 19).

    g029531
  8. Før den lange slange under kølerrammen, over rammens tværvange og langs med rammeskinnen til ventilen (Figur 20).

    Note: Den lange slange følger en anden slange fra transmissionsrummet til ventilsamlingen.

    g030407
  9. Fastgør den lange slange med 4 kabelbånd (Figur 20).

  10. Fastgør slangefittingen til den lige fitting (Figur 19).

Montering af relæer og kontakter

Model 30810

Dele, der skal bruges til dette trin:

Relæbeslag1
Relæ6
Bolt (1/4 x 1/2 tomme)6
Møtrik (1/4 tomme)7
Bolt (1/4 x 3/4 tomme)1
Mærkat (fra hjælpemotorsæt)1
Kontakt2
  1. Monter 6 relæer på relæbeslaget med 6 bolte (1/4 x 1/2 tomme) og 6 møtrikker (1/4 tomme) på højre side af maskinen som vist i Figur 21.

    g030287
  2. Fjern bolten og møtrikken fra støtterøret.

  3. Brug en bolt (1/4 x 3/4 tomme) og møtrik (1/4 tomme) sammen med bolten og møtrikken, du lige har fjernet, til at montere relæbeslaget på maskinen (Figur 21).

  4. Lås kontrolpanelets dæksel op, og skub det til side (Figur 22).

    g012831
  5. Find og fjern de 2 udtrykningspropper fra toppen af kontrolpanelet (Figur 23).

    g029533
  6. Skær og fjern forsigtigt mærkatmaterialet for at blotlægge hullerne i kontrolpanelet.

    Note: Fjern kun udtrykningspropperne og mærkatmaterialet for de krævede kontakter.

  7. Afgrat de netop blotlagte kanter på kontrolpanelet.

  8. Rengør kontrolpanelets overflade, og påsæt mærkater omkring de blotlagte huller (Figur 24).

    g029534
  9. Sæt kontakterne ind i de tilhørende monteringshuller (Figur 24).

    Note: Placer den flade del af kontakten hen mod føreren.

Montering af relæer og kontakter

Model 30812

Dele, der skal bruges til dette trin:

Relæbeslag1
Relæ6
Bolt (1/4 x 1/2 tomme)6
Møtrik (1/4 tomme)7
Bolt (3/8 x 2 tommer)1
Spændeskive (0,406 tomme)1
Møtrik (⅜")1
Bolt (1/4 x 1/2 tomme)6
Låsemøtrik (1/4 tomme)6
Mærkat (fra hjælpemotorsæt)1
Kontakt2
  1. Monter relæbeslaget løst på rammen med en bolt (3/8 x 2 tommer), spændeskive (0,406 tomme) og møtrik (3/8 tomme) som vist i Figur 25.

    g029794
  2. Markér placeringen, der er anført i Figur 25.

  3. Fjern beslaget, og bor et hul (0,281 tomme) gennem begge rammens vægge ved den markerede placering.

  4. Monter beslaget med de møtrikker og bolte, du brugte til at montere beslaget løst, og fastgør beslaget til det nye hul med en bolt (1/4 x 2-1/2 tommer) og møtrik (1/4 tomme).

  5. Monter de 6 relæer på beslaget ved at bruge 6 bolte (1/4 x 1/2 tomme) og 6 låsemøtrikker (1/4 tomme).

    g029795
  6. Lås kontrolpanelets dæksel op, og skub det til side (Figur 22).

    g012831
  7. Find og fjern de 2 udtrykningspropper fra toppen af kontrolpanelet (Figur 28).

    g012832
  8. Skær og fjern forsigtigt mærkatmaterialet for at blotlægge hullerne i kontrolpanelet.

    Note: Fjern kun udtrykningspropperne og mærkatmaterialet for de krævede kontakter.

  9. Afgrat de netop blotlagte kanter på kontrolpanelet.

  10. Rengør kontrolpanelets overflade, og påsæt mærkater omkring de blotlagte huller (Figur 29).

    g012833
  11. Sæt kontakterne ind i de tilhørende monteringshuller (Figur 29).

    Note: Placer den flade del af kontakten hen mod føreren.

Montering af ledningsnettet

Dele, der skal bruges til dette trin:

Ledningsnet1

Note: Maskinen skal udstyres med hjælpemotorsæt, Toro-delnr. 30382.

  1. Afdæk udsatte forbindelser på ledningsnettet med vejrbestandigt tape eller elektrisk tape for at holde snavs ude af forbindelserne, mens ledningsnettet føres.

  2. Før og tilslut ledningsnettet (Figur 30 og Figur 31) på følgende steder:

    • Hydraulikmanifoldstik

    • Relæer (6) på relæbeslaget

    • Hovedledningsnettets stik placeret under højre betjeningsanordninger ved standardkontrolmodulet

      Note: Hovedledningsnettets stik er et Metri-pak-stik med 2 ledninger (brun og gylden ledning)

    • Skjoldløft ind i A og B

      Note: Tag de 2 stik ud af løftemanifoldblokken, og sæt dem i ledningsnettet.

    • Skjoldløft ud af A og B

      Note: Slut ledningsnettet til løfteblokmanifolden det sted, du lige har taget de 2 stik ud.

    • Pink strømledningsstik

    • Jord til jordblokken

    • Løfte-/sænkekontakt

    • Flyde-/aktiveringskontakt

  3. Fastgør ledningsnettet til maskinen med kabelbånd.

    Important: Hold ledningsnettet på afstand af alle varme, skarpe eller bevægelige dele.

    Important: Fastgør ledningsnettet på afstand af maskinens udstødningsrør.

g030288
g029798

Afslutning af montering

  1. Smør alle de nye smørenipler med lithiumbaseret fedt nr. 2.

  2. Kontroller hydraulikvæskestanden, og fyld på efter behov.

  3. Tilslut batteriets minuskabel.

  4. Start maskinen, og betjen bagliften. Kontroller, om der er lækager, og fyld hydraulikvæske på efter behov.

    Note: Hvis den er monteret korrekt, bør manifolden ikke tilføres strøm, når nøglen er i OFF-position.

Betjening

Løfte-/sænkekontakt

Flyt kontakten til LøFTEPOSITIONEN for at hæve redskabet og til SæNKEPOSITIONEN for at sænke redskabet (Figur 33).

Flyde-/slukningskontakt

Hvis kontakten flyttes til FLYDEPOSITIONEN, kan redskabet følge jordens konturer. Hvis kontakten flyttes til NEDSæNKNINGSPOSITIONEN, tilføres der vægt fra maskinen for at øge kraften, når jorden rammes (Figur 33). En højere kraft, når jorden rammes, sænker maskinens traktionskapacitet.

g029535
g012835

Justering af redskabets vinkel

Gør som følger for at øge eller reducere redskabets indkoblingsvinkel:

  1. Løsn kontrolmøtrikkerne på gevindleddet (Figur 34).

  2. Drej sekskantrøret, indtil den ønskede vinkel opnås (Figur 34).

  3. Spænd kontramøtrikken for at fastlåse justeringen (Figur 34).

  4. Mens motoren kører i lav tomgang, hæves bagredskabet for at sikre, at det ikke berører motorhjelmen.

    g029544

Vægtskemaer for model 30810

Brug følgende vægtskemaer til at finde den forvægt, der er påkrævet til din maskinen.

183 cm klippebreddeModel 30695 med 30354, 30481 eller 30353 ogYderligere påkrævet forvægtDelnr. for vægtVægtbeskrivelseAntal
Bagmonteret QAS (model 30810) og intet redskab66,2 kg125-2655-03, 125-2670og 114-4096Frontrammevægte, vægtbeslag og kuffertvægte411
Finplaneringsenhed (boksrive) (model 08754)95,7 kg125-2655-03, 125-2670 og 114-4096Frontrammevægte, vægtbeslag og kuffertvægte412
Ståltrækmåtte (model 08757)88,9 kg125-2655-03, 125-2670 og 114-4096Frontrammevægte, vægtbeslag og kuffertvægte412
Standardrive (model 08751)75,7 kg125-2655-03, 125-2670 og 114-4096Frontrammevægte,vægtbeslagog kuffertvægte411
Standardrive med løvrive (model 08752) monteret94,3 kg125-2655-03, 125-2670, 114-4096Frontrammevægte, vægtbeslag og kuffertvægte412
Kokostrækmåtte (model 08758)88,9 kg125-2655-03, 125-2670 og 114-4096Frontrammevægte, vægtbeslag og kuffertvægte412
Trækrive (model 08781)94,3 kg125-2655-03, 125-2670 og 114-4096Frontrammevægte, vægtbeslag og kuffertvægte412
Blæsemaskine (model 30393)95,7 kg125-2655-03,125-2670og 114-4096Frontrammevægte, vægtbeslag og kuffertvægte412
Rahn-trimmer (beslægtet produkt)Ikke godkendt
183 cm klippebreddeModel 30695 med 30354, 30481 eller 30353Med hård kaleche, model 30349 ogYderligere påkrævet forvægtDelnr. for vægtVægtbeskrivelseAntal
Bagmonteret QAS (model 30810) og intet redskab85,3 kg125-2655-03, 125-2670og 114-4096Frontrammevægte, vægtbeslag og kuffertvægte412
Finplaneringsenhed (boksrive) (model 08754)114,8 kg125-2655-03, 125-2670og 114-4096Frontrammevægte, vægtbeslag og kuffertvægte413
Ståltrækmåtte (model 08757)108 kg125-2655-03, 125-2670og 114-4096Frontrammevægte, vægtbeslag og kuffertvægte413
Standardrive (model 08751)95,7 kg125-2655-03, 125-2670og 114-4096Frontrammevægte, vægtbeslag og kuffertvægte412
Standardrive med løvrive (model 08752) monteret108 kg125-2655-03, 125-2670og 114-4096Frontrammevægte, vægtbeslag og kuffertvægte413
Kokostrækmåtte (model 08758)108 kg125-2655-03, 125-2670og 114-4096Frontrammevægte, vægtbeslag og kuffertvægte413
Trækrive (model 08781)108 kg125-2655-03, 125-2670og 114-4096Frontrammevægte, vægtbeslag og kuffertvægte413
Blæsemaskine (model 30393)114,8 kg125-2655-03, 125-2670og 114-4096Frontrammevægte, vægtbeslag og kuffertvægte413
Rahn-trimmer (beslægtet produkt)Ikke godkendt
152 cm eller 157 cm klippebreddeModel 30695 med 30456 eller 30457 ogYderligere påkrævet forvægtDelnr. for vægtVægtbeskrivelseAntal
Bagmonteret QAS (model 30810) og intet redskab66,2 kg125-2655-03, 125-2670og 114-4096Frontrammevægte, vægtbeslag og kuffertvægte411
Finplaneringsenhed (boksrive) (model 08754)123,4 kg125-2655-03, 125-2670og 114-4096Frontrammevægte, vægtbeslag og kuffertvægte414
Ståltrækmåtte (model 08757)117,5 kg125-2655-03, 125-2670og 114-4096Frontrammevægte, vægtbeslag og kuffertvægte414
Standardrive (model 08751)95,7 kg125-2655-03, 125-2670og 114-4096Frontrammevægte, vægtbeslag og kuffertvægte412
Standardrive med løvrive (model 08752) monteret114,3 kg125-2655-03, 125-2670og 114-4096Frontrammevægte, vægtbeslag og kuffertvægte413
Kokostrækmåtte (model 08758)114,3 kg125-2655-03, 125-2670og 114-4096Frontrammevægte, vægtbeslag og kuffertvægte413
Trækrive (model 08781)114,3 kg125-2655-03, 125-2670og 114-4096Frontrammevægte, vægtbeslag og kuffertvægte413
Blæsemaskine (model 30393)125,2 kg125-2655-03, 125-2670og 114-4096Frontrammevægte, vægtbeslag og kuffertvægte414
Rahn-trimmer (beslægtet produkt)Ikke godkendt
152 cm eller 158 cm klippebreddeModel 30362 og 30365Med hård kaleche, model 30359 ogYderligere påkrævet forvægtDelnr. for vægtVægtbeskrivelseAntal
Bagmonteret QAS (model 30810) og intet redskab85,3 kg125-2655-03, 125-2670og 114-4096Frontrammevægte, vægtbeslag og kuffertvægte412
Finplaneringsenhed (boksrive) (model 08754)142,4 kg125-2655-03, 125-2670og 114-4096Frontrammevægte, vægtbeslag og kuffertvægte415
Ståltrækmåtte (model 08757)136,5 kg125-2655-03, 125-2670og 114-4096Frontrammevægte, vægtbeslag og kuffertvægte415
Standardrive (model 08751)107 kg125-2655-03, 125-2670og 114-4096Frontrammevægte, vægtbeslag og kuffertvægte413
Standardrive med løvrive (model 08752) monteret133,4 kg125-2655-03, 125-2670og 114-4096Frontrammevægte, vægtbeslag og kuffertvægte414
Kokostrækmåtte (model 08758)133,4 kg125-2655-03, 125-2670og 114-4096Frontrammevægte, vægtbeslag og kuffertvægte414
Trækrive (model 08781)133,4 kg125-2655-03, 125-2670og 114-4096Frontrammevægte, vægtbeslag og kuffertvægte414
Blæsemaskine (model 30393)144,2 kg125-2655-03, 125-2670og 114-4096Frontrammevægte, vægtbeslag og kuffertvægte415
Rahn-trimmer (beslægtet produkt)Ikke godkendt

Vægtskemaer for model 30812

Brug følgende vægtskemaer til at finde den forvægt, der er påkrævet til din maskinen.

183 cm klippebreddeModel 30495 eller 30487 med 30354, 30481 eller 30353Uden hård kaleche, model 30349 ogYderligere påkrævet forvægtDelnr. for vægtVægtbeskrivelseAntal
Bagmonteret QAS (model 30812) og intet redskab0 kg
Finplaneringsenhed (boksrive) (model 08754)0 kg
Ståltrækmåtte (model 08757)0 kg
Standardrive (model 08751)0 kg
Standardrive med løvrive (model 08752) monteret0 kg
Kokostrækmåtte (model 08758)30,4 kg125-2670 og114-4096Forvægtsbeslagog19,1 kg forvægt11
Trækrive (model 08781)30,4 kg125-2670og114-4096Forvægtsbeslagog19,1 kg forvægt11
Blæsemaskine (model 30393)49,4 kg125-2670og114-4096Forvægtsbeslagog19,1 kg forvægt12
Rahn-trimmer (beslægtet produkt)68,5 kg125-2670 og114-4096Forvægtsbeslagog19,1 kg forvægt13
183 cm klippebreddeModel 30495 eller 30487 med 30354, 30481 eller 30353Med hård kaleche, model 30359 ogYderligere påkrævet forvægtDelnr. for vægtVægtbeskrivelseAntal
Bagmonteret QAS (model 30812) og intet redskab0 kg
Finplaneringsenhed (boksrive) (model 08754)11,3 kg125-2670Forvægtsbeslag1
Ståltrækmåtte (model 08757)11,3 kg125-2670Forvægtsbeslag1
Standardrive (model 08751)11,3 kg125-2670Forvægtsbeslag1
Standardrive med løvrive (model 08752) monteret11,3 kg125-2670Forvægtsbeslag11
Kokostrækmåtte (model 08758)49,4 kg 125-2670 og114-4096Forvægtsbeslagog19,1 kg forvægt12
Trækrive (model 08781)49,4 kg125-2670 og114-4096Forvægtsbeslagog19,1 kg forvægt12
Blæsemaskine (model 30393)68,5 kg125-2670og114-4096Forvægtsbeslagog19,1 kg forvægt13
Rahn-trimmer (beslægtet produkt)Ikke godkendt
158 cm klippebreddeModel 30495 eller 30487 med 30456 eller 30457Uden hård kaleche, model 30349 ogYderligere påkrævet forvægtDelnr. for vægtVægtbeskrivelseAntal
Bagmonteret QAS (model 30812) og intet redskab30,4 kg 125-2670og114-4096Forvægtsbeslagog19,1 kg forvægt11
Finplaneringsenhed (boksrive) (model 08754)68,5 kg125-2670og114-4096Forvægtsbeslagog19,1 kg forvægt13
Ståltrækmåtte (model 08757)68,5 kg125-2670og114-4096Forvægtsbeslagog19,1 kg forvægt13
Standardrive (model 08751)68,5 kg125-2670og114-4096Forvægtsbeslagog19,1 kg forvægt12
Standardrive med løvrive (model 08752) monteret68,5 kg125-2670og114-4096Forvægtsbeslagog19,1 kg forvægt13
Kokostrækmåtte (model 08758)68,5 kg125-2670og114-4096Forvægtsbeslagog19,1 kg forvægt13
Trækrive (model 08781)68,5 kg125-2670og114-4096Forvægtsbeslagog19,1 kg forvægt13
Blæsemaskine (model 30393)68,5 kg125-2670og114-4096Forvægtsbeslagog19,1 kg forvægt13
Rahn-trimmer (beslægtet produkt)Ikke godkendt
158 cm klippebreddeModel 30362 og 30365Med hård kaleche, model 30359 ogYderligere påkrævet forvægtDelnr. for vægtVægtbeskrivelseAntal
Bagmonteret QAS (model 30812) og intet redskab49,4 kg 125-2670og114-4096Forvægtsbeslagog19,1 kg forvægt12
Finplaneringsenhed (boksrive) (model 08754)87,5 kg125-2670og114-4096Forvægtsbeslagog19,1 kg forvægt13
Ståltrækmåtte (model 08757)87,5 kg 125-2670og114-4096Forvægtsbeslagog19,1 kg forvægt14
Standardrive (model 08751)68,5 kg125-2670og114-4096Forvægtsbeslagog19,1 kg forvægt13
Standardrive med løvrive (model 08752) monteret87,5 kg125-2670og114-4096Forvægtsbeslagog19,1 kg forvægt14
Kokostrækmåtte (model 08758)87,5 kg 125-2670og114-4096Forvægtsbeslagog19,1 kg forvægt14
Trækrive (model 08781)87,5 kg125-2670og114-4096Forvægtsbeslagog19,1 kg forvægt14
Blæsemaskine (model 30393)87,5 kg 125-2670og114-4096Forvægtsbeslagog19,1 kg forvægt14
Rahn-trimmer (beslægtet produkt)Ikke godkendt

Tip vedrørende betjening

  • Læs og forstå betjeningsvejledningen til redskabet, før maskinen tages i brug.

  • Sørg for, at det rigtige vægtmonteringsbeslag og den eller de rigtige forvægte er monteret for bagredskabet.

  • Fjern bagredskabet og løse forvægte før klipning.

  • Vær forsigtig, når maskinen anvendes med et bagredskab monteret, idet redskabet er bredere end maskinen og derfor kan støde ind i pæle, hegn eller træer.

  • Brug aldrig maskinen i nærheden af omkringstående personer.

Vedligeholdelse

  • Smør smøreniplerne med litiumbaseret fedt nr. 2 en gang om ugen eller efter hver vask.

  • Når der arbejdes i støvede omgivelser, skal luftfilteret kontrolleres dagligt. Der fås et sikkerhedsluftfilterelement, som kan sættes på det eksisterende luftfilter med henblik på ekstra beskyttelse af motoren.