Important: Prima di montare questo kit, installate sulla macchina il kit del gruppo motore ausiliario (n. cat. Toro 30382).

Avvertenza

CALIFORNIA

Avvertenza norma "Proposition 65"

L'utilizzo del presente prodotto potrebbe esporre a sostanze chimiche che nello Stato della California sono considerate cancerogene e causa di anomalie congenite o di altre problematiche della riproduzione.

Sicurezza

Adesivi di sicurezza e informativi

Graphic

Gli adesivi di sicurezza e di istruzione sono chiaramente visibili e sono affissi accanto a zone particolarmente pericolose. Sostituite gli adesivi danneggiati o smarriti.

decal133-8061

Installazione

Preparazione della macchina

  1. Parcheggiate la macchina su un terreno pianeggiante, abbassate l'apparato di taglio, spegnete la macchina, inserite il freno di stazionamento e togliete la chiave di accensione.

    Attenzione

    Se lasciate la chiave nell'interruttore di accensione, qualcuno potrebbe accidentalmente avviare il motore e ferire gravemente voi o gli astanti.

    Togliete la chiave dall'interruttore di accensione prima di ogni intervento di manutenzione.

  2. Scollegate il cavo negativo (–) della batteria dalla batteria.

Montaggio del gruppo del braccio di sollevamento

Modello 30810

Parti necessarie per questa operazione:

Gruppo di supporto del cilindro1
Bullone (⅜" x 2¾")2
Bullone (⅜" x 1¼")3
Bullone (⅜" x 1")1
Dado (⅜")3
Gruppo del braccio di sollevamento1
Bullone (⅞" x 4½")2
Controdado (⅞")2
Rondella del mandrino8
Bullone (½" x 1½")1
Dado di bloccaggio (½")1
Perno girevole del supporto del cilindro1
Raccordo d'ingrassaggio1

Note: Per ottenere maggiore accesso durante il montaggio del kit, sollevate la parte posteriore del trattorino, sostenetela con cavalletti metallici e rimuovete lo pneumatico posteriore destro.

  1. Togliete i 3 bulloni e i 3 dadi esistenti dal gruppo del pattino (Figura 1).

    Note: Conservate i dadi.

    g029812
  2. Fissate il gruppo di supporto del cilindro alla staffa del paraurti posteriore e al gruppo del pattino con 2 bulloni (⅜" x 2¾"), 3 bulloni (⅜" x 1¼"), 2 dadi (⅜") e i 3 dadi esistenti appena rimossi.

    Note: Posizionate il gruppo di supporto del cilindro come illustrato nella Figura 2.

    g029526
  3. Montate il gruppo del braccio di sollevamento sugli elementi del telaio posteriore, con 2 bulloni (⅞" x 4½"), 2 controdadi (⅞") e quante rondelle del mandrino sono necessarie per creare uno spessore uniforme tra i lati destro e sinistro del braccio di sollevamento e gli elementi del telaio posteriore.

    Note: Collocate i componenti come illustrato nella Figura 3.

    g029785
  4. Serrate i bulloni e i dadi di bloccaggio a un valore compreso tra 518 e 648 N·m.

  5. Regolate la lunghezza dell'attacco filettato a 19 cm e serrate i controdadi (Figura 4).

    g012818
  6. Fissate l'estremità dell'asta dell'attacco filettato al gruppo di supporto del cilindro con un bullone (½" x 1½") e un dado di bloccaggio (½") come mostrato nella Figura 5.

    g029786
  7. Montate l'estremità libera del cilindro idraulico sul gruppo di supporto del cilindro con un perno girevole del supporto del cilindro, un bullone (⅜" x 1") e un dado (⅜") come mostrato nella Figura 6.

    g029528
  8. Avvitate un raccordo di ingrassaggio sull'estremità del perno girevole come mostrato nella Figura 6.

Montaggio del gruppo del braccio di sollevamento

Modello 30812

Parti necessarie per questa operazione:

Supporto di collegamento1
Bullone (⅜" x 1")3
Dado da ⅜"3
Gruppo del braccio di sollevamento1
Bullone (⅞" x 4½")2
Controdado (⅞")2
Rondella del mandrino8
Bullone (½" x 1½")1
Dado di bloccaggio (½")1
Perno girevole1
Raccordo d'ingrassaggio1

Note: Per ottenere maggiore accesso durante il montaggio del kit, sollevate la parte posteriore del trattorino, sostenetela con cavalletti metallici e rimuovete lo pneumatico posteriore destro.

  1. Fissate il supporto dell'attacco alla staffa del paraurti posteriore con 3 bulloni (⅜" x 1") e 3 dadi (⅜").

    Note: Posizionate il supporto dell'attacco come illustrato nella Figura 7.

    g029787
  2. Montate il gruppo del braccio di sollevamento sugli elementi del telaio posteriore, con 2 bulloni (⅞" x 4½"), 2 controdadi (⅞") e quante rondelle del mandrino sono necessarie per creare uno spessore uniforme tra i lati destro e sinistro del braccio di sollevamento e gli elementi del telaio posteriore.

    Note: Collocate i componenti come illustrato nella Figura 8.

    g029790
  3. Serrate i bulloni e i dadi di bloccaggio a un valore compreso tra 518 e 648 N·m.

  4. Regolate la lunghezza dell'attacco filettato a 19 cm e serrate i controdadi (Figura 9).

    g012818
  5. Fissate l'estremità dell'asta dell'attacco filettato al gruppo di supporto dell'attacco con un bullone (½" x 1½") e un dado di bloccaggio (½") come mostrato nella Figura 10.

    g029791
  6. Montate l'estremità stazionaria del cilindro idraulico sul lato inferiore della staffa della traversa del telaio con un perno girevole (Figura 11).

    g012820
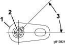
  7. Avvitate un raccordo di ingrassaggio sull'estremità del perno girevole (Figura 11).

    Note: Posizionate il raccordo di ingrassaggio come illustrato nella Figura 12.

    g012821

Montaggio dei flessibili idraulici

Parti necessarie per questa operazione:

Raccordo a T (solo modello 30812)1
Fascetta stringitubo (⅜")3
Fascetta per cavi4
  1. Sul lato destro della macchina, appena davanti al telaio del radiatore, posizionate una bacinella di spurgo sotto il flessibile di ritorno del radiatore dell'olio (Figura 13 o Figura 14).

    g029810
    g029809
  2. Disponete il flessibile corto dal collettore alla posizione del flessibile di ritorno del radiatore dell'olio.

  3. Solo per il modello 30810: montate il flessibile corto sul flessibile del radiatore dell'olio come segue:

    1. Rimuovete il tappo dalla tubazione rigida del flessibile di ritorno del radiatore dell'olio (Figura 15).

      g029792
    2. Avvitate il tubo flessibile corto alla tubazione rigida (Figura 15).

    3. Proseguite con la fase 5.

  4. Solo per il modello 30812: montate il flessibile corto sul flessibile del radiatore dell'olio come segue:

    1. Inserite una fascetta stringitubo sul flessibile corto e poi inserite il raccordo a T nell'estremità del flessibile corto (Figura 16).

      g012826
    2. Misurate circa 12,7 cm dal telaio del radiatore e tagliate il flessibile di ritorno del radiatore dell'olio (Figura 17).

      Note: Questo è il flessibile tra la valvola di sollevamento del piatto di taglio e il radiatore dell'olio. Tenete le estremità del flessibile rivolte verso l'alto per ridurre le perdite di fluido idraulico.

      g012827
    3. Fissate tutti e 3 i flessibili al raccordo T con le fascette stringitubo (⅞").

    4. Montate il flessibile corto nel foro del flessibile di ritorno del radiatore dell'olio.

  5. Sul telaio di destra, individuate il gruppo della valvola di sollevamento del piatto di taglio (Figura 18).

    g029530
  6. Togliete il tappo dal lato sinistro del gruppo della valvola (Figura 18).

  7. Avvitate il raccordo della valvola idraulica nel foro della valvola (Figura 19).

    g029531
  8. Disponete il flessibile lungo sotto il telaio del radiatore, sopra la traversa del telaio e lungo la guida del telaio fino alla valvola (Figura 20).

    Note: Il flessibile lungo seguirà un altro flessibile dall'area di trasmissione al gruppo valvola.

    g030407
  9. Fissate il flessibile lungo con 4 fascette per cavi (Figura 20).

  10. Fissate il raccordo del flessibile sul raccordo diritto (Figura 19).

Montaggio dei relè e degli interruttori

Modello 30810

Parti necessarie per questa operazione:

Staffa del relè1
Relè6
Bullone (¼" x ½")6
Dado (¼")7
Bullone (¼" x ¾")1
Adesivo (del kit Gruppo motore ausiliario)1
Interruttore2
  1. Sul lato destro della macchina, montate 6 relè sulla staffa del relè utilizzando 6 bulloni (¼" x ½") e 6 dadi (¼") come mostrato nella Figura 21.

    g030287
  2. Rimuovete il bullone e il dado dal tubo di supporto.

  3. Utilizzando un bullone (¼" x ¾"), un dado (¼") e il bullone e il dado appena rimossi, montate la staffa del relè sulla macchina (Figura 21).

  4. Sbloccate il coperchio della plancia e mettetelo da parte (Figura 22).

    g012831
  5. Individuate e togliete i 2 tappi dalla parte superiore della plancia (Figura 23).

    g029533
  6. Tagliate e rimuovete con delicatezza il materiale dell'adesivo esponendo i fori della plancia.

    Note: Togliete solo i tappi e il materiale dell'adesivo per gli interruttori necessari.

  7. Sbavate i bordi appena esposti della plancia.

  8. Pulite la superficie della plancia e applicate l'adesivo attorno ai fori esposti (Figura 24).

    g029534
  9. Inserite gli interruttori nei fori di montaggio corretti (Figura 24).

    Note: Posizionate la parte piatta dell'interruttore verso l'operatore.

Montaggio dei relè e degli interruttori

Modello 30812

Parti necessarie per questa operazione:

Staffa del relè1
Relè6
Bullone (¼" x ½")6
Dado (¼")7
Bullone (⅜" x 2")1
Rondella (0,406")1
Dado (⅜")1
Bullone (¼" x ½")6
Dado di bloccaggio (¼")6
Adesivo (del kit Gruppo motore ausiliario)1
Interruttore2
  1. Montate (senza fissarla) la staffa del relè con un bullone (⅜" x 2"), una rondella (0,406") e un dado (⅜"), come illustrato nella Figura 25.

    g029794
  2. Contrassegnate la posizione indicata nella Figura 25.

  3. Togliete la staffa e praticate un foro (0,281") attraverso entrambe le pareti del telaio, nel punto contrassegnato.

  4. Montate la staffa con la bulloneria utilizzata per montare la staffa e fissatela al nuovo foro con un bullone (¼" x 2½") e un dado (¼").

  5. Montate i 6 relè sulla staffa con 6 bulloni (¼" x ½") e 6 dadi di bloccaggio (¼").

    g029795
  6. Sbloccate il coperchio della plancia e mettetelo da parte (Figura 22).

    g012831
  7. Individuate e togliete i 2 tappi dalla parte superiore della plancia (Figura 28).

    g012832
  8. Tagliate e rimuovete con delicatezza il materiale dell'adesivo esponendo i fori nel pannello di controllo.

    Note: Togliete solo i tappi e il materiale dell'adesivo per gli interruttori necessari.

  9. Sbavate i bordi appena esposti della plancia.

  10. Pulite la superficie della plancia e applicate l'adesivo attorno ai fori esposti (Figura 29).

    g012833
  11. Inserite gli interruttori nei fori di montaggio corretti (Figura 29).

    Note: Posizionate la parte piatta dell'interruttore verso l'operatore.

Montaggio del cablaggio preassemblato

Parti necessarie per questa operazione:

Cablaggio1

Note: La macchina deve essere dotata del kit gruppo motore ausiliario, n. cat. Toro 30382.

  1. Coprite i connettori esposti sul cablaggio preassemblato con nastro adesivo o isolante per evitare l'ingresso di detriti nei connettori durante la posa del cablaggio.

  2. Disponete e collegate il cablaggio preassemblato (Figura 30 e Figura 31) nei seguenti punti:

    • Connettori del collettore idraulico

    • Relè (6) sulla staffa del relè

    • Connettore del cablaggio principale, situato sotto i comandi di destra dell'operatore, accanto al modulo di controllo standard

      Note: Il connettore del cablaggio principale è un connettore Metri-pak a 2 fili (fili marrone e marroncino)

    • Sollevamento del piatto di taglio in ingresso nei punti A e B

      Note: Scollegate i 2 connettori dal blocco del collettore di sollevamento e collegateli al cablaggio preassemblato.

    • Sollevamento del piatto di taglio in uscita nei punti A e B

      Note: Collegate il cablaggio al collettore del blocco di sollevamento dove avete appena scollegato i 2 connettori.

    • Connettore del filo elettrico rosa

    • Messa a terra alla morsettiera di messa a terra

    • Interruttore di sollevamento/abbassamento

    • Interruttore di flottazione/attivazione

  3. Fissate il cablaggio preassemblato alla macchina con fascette per cavi.

    Important: Tenete il cablaggio lontano da tutti i componenti caldi, taglienti o in movimento.

    Important: Fissate il cablaggio preassemblato a distanza dal tubo di scappamento della macchina.

g030288
g029798

Completamento dell'installazione

  1. Ingrassate tutti i nuovi raccordi con grasso n. 2 a base di litio.

  2. Controllate il livello del fluido idraulico e rabboccate se necessario.

  3. Collegate il cavo negativo (-) della batteria.

  4. Avviate la macchina e azionate il sollevamento posteriore. Verificate l'assenza di perdite e rabboccate il fluido idraulico in base alle esigenze.

    Note: Se montato correttamente, il collettore non deve essere alimentato quando la chiave è in posizione OFF.

Funzionamento

Interruttore di sollevamento/abbassamento

Spostate l'interruttore in posizione di sollevamento LIFT per sollevare l'attrezzo e in posizione di abbassamento LOWER per abbassarlo (Figura 33).

Interruttore di flottazione/spegnimento

Spostando l'interruttore in posizione di flottazione FLOAT, l'attrezzo segue il contorno del terreno. Spostando l'interruttore in posizione di spegnimento POWER DOWN si aggiunge zavorra dalla macchina per aumentare la forza di innesto a terra (Figura 33). Una maggiore forza di innesto a terra riduce la capacità di trazione della macchina.

g029535
g012835

Regolazione dell'angolo dell'attrezzo

Per aumentare o ridurre l’angolo di innesto dell'attrezzo, procedete come segue:

  1. Allentate i controdadi sul raccordo filettato (Figura 34).

  2. Ruotate il tubo esagonale fino a ottenere l'angolo desiderato (Figura 34).

  3. Serrate il controdado per fissare la regolazione (Figura 34).

  4. Con il motore al minimo, sollevate l'attrezzo posteriore per assicurarvi che non entri a contatto con il cofano.

    g029544

Tabelle per le zavorre per il modello 30810

Fate riferimento alle tabelle per le zavorre seguenti per stabilire la quantità corretta di zavorra anteriore necessaria per la vostra macchina.

Larghezza di taglio di 183 cmModelli 30695 con 30354, 30481 o 30353 eZavorra anteriore aggiuntiva necessariaZavorra n. cat.Descrizione della zavorraQtà
QAS posteriore (modello 30810) senza attrezzi66 kg125-2655-03, 125-2670e 114-4096Zavorre del telaio anteriore, staffa della zavorra e zavorre a valigia411
Livellatore per finiture (rastrello meccanico) (Modello 08754)95,7 kg125-2655-03, 125-2670 e 114-4096Zavorre del telaio anteriore, staffa della zavorra e zavorre a valigia412
Rete livellatrice in acciaio (Modello 08757)89 kg125-2655-03, 125-2670 e 114-4096Zavorre del telaio anteriore, staffa della zavorra e zavorre a valigia412
Rastrello a denti flessibili (Modello 08751)76,7 kg125-2655-03,125-2670e 114-4096Zavorre del telaio anteriore,staffa della zavorrae zavorre a valigia411
Rastrello a denti flessibili con rastrello a molle (Modello 08752) montato94 kg125-2655-03, 125-2670, 114-4096Zavorre del telaio anteriore, staffa della zavorra e zavorre a valigia412
Rete livellatrice in cocco (Modello 08758)89 kg125-2655-03, 125-2670 e 114-4096Zavorre del telaio anteriore, staffa della zavorra e zavorre a valigia412
Scarificatore (Modello 08781)94 kg125-2655-03, 125-2670 e 114-4096Zavorre del telaio anteriore, staffa della zavorra e zavorre a valigia412
Soffiatore di detriti (Modello 30393)95,7 kg125-2655-03,125-2670e 114-4096Zavorre del telaio anteriore, staffa della zavorra e zavorre a valigia412
Grooming Rahn (prodotto collegato)Non approvato
Larghezza di taglio di 183 cmModelli 30695 con 30354, 30481 o 30353Con tettuccio rigido, modello 30349 eZavorra anteriore aggiuntiva necessariaZavorra n. cat.Descrizione della zavorraQtà
QAS posteriore (modello 30810) senza attrezzi85 kg125-2655-03, 125-2670e 114-4096Zavorre del telaio anteriore, staffa della zavorra e zavorre a valigia412
Livellatore per finiture (rastrello meccanico) (Modello 08754)114,8 kg125-2655-03, 125-2670e 114-4096Zavorre del telaio anteriore, staffa della zavorra e zavorre a valigia413
Rete livellatrice in acciaio (Modello 08757)108 kg125-2655-03, 125-2670e 114-4096Zavorre del telaio anteriore, staffa della zavorra e zavorre a valigia413
Rastrello a denti flessibili (Modello 08751)95,7 kg125-2655-03, 125-2670e 114-4096Zavorre del telaio anteriore, staffa della zavorra e zavorre a valigia412
Rastrello a denti flessibili con rastrello a molle (Modello 08752) montato108 kg125-2655-03, 125-2670e 114-4096Zavorre del telaio anteriore, staffa della zavorra e zavorre a valigia413
Rete livellatrice in cocco (Modello 08758)108 kg125-2655-03, 125-2670e 114-4096Zavorre del telaio anteriore, staffa della zavorra e zavorre a valigia413
Scarificatore (Modello 08781)108 kg125-2655-03, 125-2670e 114-4096Zavorre del telaio anteriore, staffa della zavorra e zavorre a valigia413
Soffiatore di detriti (Modello 30393)114,8 kg125-2655-03, 125-2670e 114-4096Zavorre del telaio anteriore, staffa della zavorra e zavorre a valigia413
Grooming Rahn (prodotto collegato)Non approvato
Larghezza di taglio di 152 o 157 cmModelli 30695 con 30456 o 30457 eZavorra anteriore aggiuntiva necessariaZavorra n. cat.Descrizione della zavorraQtà
QAS posteriore (modello 30810) senza attrezzi66 kg125-2655-03, 125-2670e 114-4096Zavorre del telaio anteriore, staffa della zavorra e zavorre a valigia411
Livellatore per finiture (rastrello meccanico) (Modello 08754)123 kg125-2655-03, 125-2670e 114-4096Zavorre del telaio anteriore, staffa della zavorra e zavorre a valigia414
Rete livellatrice in acciaio (Modello 08757)117,5 kg125-2655-03, 125-2670e 114-4096Zavorre del telaio anteriore, staffa della zavorra e zavorre a valigia414
Rastrello a denti flessibili (Modello 08751)95,7 kg125-2655-03, 125-2670e 114-4096Zavorre del telaio anteriore, staffa della zavorra e zavorre a valigia412
Rastrello a denti flessibili con rastrello a molle (Modello 08752) montato114,3 kg125-2655-03, 125-2670e 114-4096Zavorre del telaio anteriore, staffa della zavorra e zavorre a valigia413
Rete livellatrice in cocco (Modello 08758)114,3 kg125-2655-03, 125-2670e 114-4096Zavorre del telaio anteriore, staffa della zavorra e zavorre a valigia413
Scarificatore (Modello 08781)114,3 kg125-2655-03, 125-2670e 114-4096Zavorre del telaio anteriore, staffa della zavorra e zavorre a valigia413
Soffiatore di detriti (Modello 30393)125 kg125-2655-03, 125-2670e 114-4096Zavorre del telaio anteriore, staffa della zavorra e zavorre a valigia414
Grooming Rahn (prodotto collegato)Non approvato
Larghezza di taglio di 152 o 157 cmModelli 30362 e 30365Con tettuccio rigido, modello 30359 eZavorra anteriore aggiuntiva necessariaZavorra n. cat.Descrizione della zavorraQtà
QAS posteriore (modello 30810) senza attrezzi85 kg125-2655-03, 125-2670e 114-4096Zavorre del telaio anteriore, staffa della zavorra e zavorre a valigia412
Livellatore per finiture (rastrello meccanico) (Modello 08754)142,4 kg125-2655-03, 125-2670e 114-4096Zavorre del telaio anteriore, staffa della zavorra e zavorre a valigia415
Rete livellatrice in acciaio (Modello 08757)136,5 kg125-2655-03, 125-2670e 114-4096Zavorre del telaio anteriore, staffa della zavorra e zavorre a valigia415
Rastrello a denti flessibili (Modello 08751)107 kg125-2655-03, 125-2670e 114-4096Zavorre del telaio anteriore, staffa della zavorra e zavorre a valigia413
Rastrello a denti flessibili con rastrello a molle (Modello 08752) montato133,3 kg125-2655-03, 125-2670e 114-4096Zavorre del telaio anteriore, staffa della zavorra e zavorre a valigia414
Rete livellatrice in cocco (Modello 08758)133,3 kg125-2655-03, 125-2670e 114-4096Zavorre del telaio anteriore, staffa della zavorra e zavorre a valigia414
Scarificatore (Modello 08781)133,4 kg125-2655-03, 125-2670e 114-4096Zavorre del telaio anteriore, staffa della zavorra e zavorre a valigia414
Soffiatore di detriti (Modello 30393)144 kg125-2655-03, 125-2670e 114-4096Zavorre del telaio anteriore, staffa della zavorra e zavorre a valigia415
Grooming Rahn (prodotto collegato)Non approvato

Tabelle per le zavorre per il modello 30812

Fate riferimento alle tabelle per le zavorre seguenti per stabilire la quantità corretta di zavorra anteriore necessaria per la vostra macchina.

Larghezza di taglio di 183 cmModelli 30495 o 30487 con 30354, 30481 o 30353Senza tettuccio rigido, modello 30349 eZavorra anteriore aggiuntiva necessariaZavorra n. cat.Descrizione della zavorraQtà
QAS posteriore (modello 30812) senza attrezzi0 kgNP
Livellatore per finiture (rastrello meccanico) (Modello 08754)0 kgNP
Rete livellatrice in acciaio (Modello 08757)0 kgNP
Rastrello a denti flessibili (Modello 08751)0 kgNP
Rastrello a denti flessibili con rastrello a molle (Modello 08752) montato0 kgNP
Rete livellatrice in cocco (Modello 08758)30,4 kg125-2670 e114-4096Staffa della zavorra anterioreezavorra anteriore da 19 kg11
Scarificatore (Modello 08781)30,4 kg125-2670e114-4096Staffa della zavorra anterioreezavorra anteriore da 19 kg11
Soffiatore di detriti (Modello 30393)49,4 kg125-2670e114-4096Staffa della zavorra anterioreezavorra anteriore da 19 kg12
Grooming Rahn (prodotto collegato)68,5 kg125-2670 e114-4096Staffa della zavorra anterioreezavorra anteriore da 19 kg13
Larghezza di taglio di 183 cmModelli 30495 o 30487 con 30354, 30481 o 30353Con tettuccio rigido, modello 30359 eZavorra anteriore aggiuntiva necessariaZavorra n. cat.Descrizione della zavorraQtà
QAS posteriore (modello 30812) senza attrezzi0 kgNP
Livellatore per finiture (rastrello meccanico) (Modello 08754)11,3 kg125-2670Staffa della zavorra anteriore1
Rete livellatrice in acciaio (Modello 08757)11,3 kg125-2670Staffa della zavorra anteriore1
Rastrello a denti flessibili (Modello 08751)11,3 kg125-2670Staffa della zavorra anteriore1
Rastrello a denti flessibili con rastrello a molle (Modello 08752) montato11,3 kg125-2670Staffa della zavorra anteriore11
Rete livellatrice in cocco (Modello 08758)49,4 kg 125-2670 e114-4096Staffa della zavorra anterioreezavorra anteriore da 19 kg12
Scarificatore (Modello 08781)49,4 kg125-2670 e114-4096Staffa della zavorra anterioreezavorra anteriore da 19 kg12
Soffiatore di detriti (Modello 30393)68,5 kg125-2670e114-4096Staffa della zavorra anterioreezavorra anteriore da 19 kg13
Grooming Rahn (prodotto collegato)Non approvato
Larghezza di taglio di 157 cmModelli 30495 o 30487 con 30456 o 30457Senza tettuccio rigido, modello 30349 eZavorra anteriore aggiuntiva necessariaZavorra n. cat.Descrizione della zavorraQtà
QAS posteriore (modello 30812) senza attrezzi30,4 kg 125-2670e114-4096Staffa della zavorra anterioreezavorra anteriore da 19 kg11
Livellatore per finiture (rastrello meccanico) (Modello 08754)68,5 kg125-2670e114-4096Staffa della zavorra anterioreezavorra anteriore da 19 kg13
Rete livellatrice in acciaio (Modello 08757)68,5 kg125-2670e114-4096Staffa della zavorra anterioreezavorra anteriore da 19 kg13
Rastrello a denti flessibili (Modello 08751)68,5 kg125-2670e114-4096Staffa della zavorra anterioreezavorra anteriore da 19 kg12
Rastrello a denti flessibili con rastrello a molle (Modello 08752) montato68,5 kg125-2670e114-4096Staffa della zavorra anterioreezavorra anteriore da 19 kg13
Rete livellatrice in cocco (Modello 08758)68,5 kg125-2670e114-4096Staffa della zavorra anterioreezavorra anteriore da 19 kg13
Scarificatore (Modello 08781)68,5 kg125-2670e114-4096Staffa della zavorra anterioreezavorra anteriore da 19 kg13
Soffiatore di detriti (Modello 30393)68,5 kg125-2670e114-4096Staffa della zavorra anterioreezavorra anteriore da 19 kg13
Grooming Rahn (prodotto collegato)Non approvato
Larghezza di taglio di 157 cmModelli 30362 e 30365Con tettuccio rigido, modello 30359 eZavorra anteriore aggiuntiva necessariaZavorra n. cat.Descrizione della zavorraQtà
QAS posteriore (modello 30812) senza attrezzi49,4 kg 125-2670e114-4096Staffa della zavorra anterioreezavorra anteriore da 19 kg12
Livellatore per finiture (rastrello meccanico) (Modello 08754)87,5 kg125-2670e114-4096Staffa della zavorra anterioreezavorra anteriore da 19 kg13
Rete livellatrice in acciaio (Modello 08757)87,5 kg 125-2670e114-4096Staffa della zavorra anterioreezavorra anteriore da 19 kg14
Rastrello a denti flessibili (Modello 08751)68,5 kg125-2670e114-4096Staffa della zavorra anterioreezavorra anteriore da 19 kg13
Rastrello a denti flessibili con rastrello a molle (Modello 08752) montato87,5 kg125-2670e114-4096Staffa della zavorra anterioreezavorra anteriore da 19 kg14
Rete livellatrice in cocco (Modello 08758)87,5 kg 125-2670e114-4096Staffa della zavorra anterioreezavorra anteriore da 19 kg14
Scarificatore (Modello 08781)87,5 kg125-2670e114-4096Staffa della zavorra anterioreezavorra anteriore da 19 kg14
Soffiatore di detriti (Modello 30393)87,5 kg 125-2670e114-4096Staffa della zavorra anterioreezavorra anteriore da 19 kg14
Grooming Rahn (prodotto collegato)Non approvato

Suggerimenti

  • Leggete e comprendete il Manuale dell'operatore dell'attrezzo prima di utilizzare la macchina.

  • Assicuratevi che la staffa del supporto della zavorra e la/le zavorra/e anteriore/i siano montate per l'attrezzo posteriore.

  • Togliete l'attrezzo posteriore ed eventuali zavorre anteriori sfuse prima di iniziare a tosare.

  • Prestate attenzione durante l'utilizzo della macchina quando è installato un attrezzo posteriore, dal momento che è più largo della macchina e può entrare a contatto con pali, recinzioni o alberi.

  • Non utilizzate mai la macchina in presenza di astanti.

Manutenzione

  • Lubrificate i raccordi di ingrassaggio con grasso numero 2 a base di litio ogni settimana o dopo ogni lavaggio.

  • In caso di utilizzo della macchina in condizioni polverose, è necessario controllare il filtro dell'aria ogni giorno. È disponibile un elemento del filtro dell'aria di sicurezza e può essere aggiunto al filtro esistente per una maggiore protezione del motore.