Important: Antes de instalar este kit, equipe a máquina com o kit de unidade de potência auxiliar (peça Toro n.º 30382).

Aviso

CALIFÓRNIA

Proposição 65 Aviso

É do conhecimento do Estado da Califórnia que a utilização deste produto pode causar exposição a químicos que podem provocar cancro, defeitos congénitos ou outros problemas reprodutivos.

Segurança

Autocolantes de segurança e de instruções

Graphic

Os autocolantes de segurança e instruções estão facilmente visíveis para o operador e situam-se próximo das zonas de potencial perigo. Substitua todos os autocolantes danificados ou perdidos.

decal133-8061

Instalação

Preparação da máquina

  1. Estacione a máquina numa superfície nivelada, baixe a unidade de corte, desligue o motor, engate o travão de estacionamento e retire a chave da ignição.

    Cuidado

    Se deixar a chave na ignição, alguém pode ligar acidentalmente o motor e feri-lo a si ou às pessoas que se encontrarem próximo da máquina.

    Retire a chave da ignição antes de efetuar qualquer manutenção.

  2. Desligue o cabo negativo (-) da bateria.

Instalação do conjunto do braço de elevação

Modelo 30810

Peças necessárias para este passo:

Suporte do cilindro1
Parafuso (⅜ pol. x 2¾ pol.)2
Parafuso (⅜ x 1¼ pol.)3
Parafuso (⅜ x 1 pol.)1
Porca (⅜ pol.)3
Conjunto do braço de elevação1
Parafuso (⅞ pol. x 4½ pol.)2
Porca (⅞ pol.)2
Anilha8
Parafuso (½ pol. x 1½ pol.)1
Porca de bloqueio (½ pol.)1
Pino de articulação de montagem do cilindro1
Bocal de lubrificação1

Note: Para dispor de melhor acesso durante a montagem do kit, eleve a traseira da unidade de corte. Apoie-a em preguiças e retire o pneu traseiro direito.

  1. Retire os três parafusos e as três porcas do patim (Figura 1).

    Note: Guarde as porcas.

    g029812
  2. Fixe o suporte do cilindro ao suporte do para-choques traseiro e ao patim. Utilize dois parafusos de ⅜ x 2-3/4 polegadas, três parafusos de ⅜ x 1¼ polegadas., duas porcas de ⅜ polegadas e as três porcas que acabou de retirar.

    Note: Posicione o suporte do cilindro tal como ilustrado na Figura 2.

    g029526
  3. Monte o braço de elevação à estrutura traseira. Utilize dois parafusos (⅞ pol. x 4½ pol.), duas porcas de bloqueio (⅞ pol.) e as anilhas necessárias para a colocação equilibrada entre os lados direito e esquerdo do braço e da estrutura.

    Note: Coloque os componentes como indicado em Figura 3.

    g029785
  4. Aperte os parafusos e porcas com uma força de 518 a 648 N-m.

  5. Regule o comprimento do encaixe roscado para 19 cm e aperte as porcas de segurança (Figura 4).

    g012818
  6. Prenda a extremidade da barra do encaixe ao suporte do cilindro. Utilize um parafuso (½ pol. x 1½ pol.) e uma porca (½ pol.), tal como se mostra na Figura 5.

    g029786
  7. Monte a ponta solta do cilindro hidráulico ao suporte do cilindro. Utilize o pino de articulação para montagem do cilindro, um parafuso (⅜ pol x 1 pol.) e uma porca (⅜ pol.), tal como se ilustra na Figura 6.

    g029528
  8. Enrosque um bocal de lubrificação na extremidade do pino de articulação, tal como se mostra na Figura 6.

Instalação do conjunto do braço de elevação

Modelo 30812

Peças necessárias para este passo:

Montagem de ligação1
Parafuso (⅜ pol. x 1 pol.)3
Porca (⅜ pol.)3
Conjunto do braço de elevação1
Parafuso (⅞ pol. x 4½ pol.)2
Porca (⅞ pol.)2
Anilha8
Parafuso (½ pol. x 1½ pol.)1
Porca de bloqueio (½ pol.)1
Pino de articulação1
Bocal de lubrificação1

Note: Para dispor de melhor acesso durante a montagem do kit, eleve a traseira da unidade de corte. Apoie-a em preguiças e retire o pneu traseiro direito.

  1. Prenda a montagem de ligação ao suporte do para-choques traseiro, utilizando três parafusos (⅜ pol. x 1 pol.) e três porcas (⅜ pol.).

    Note: Coloque a montagem de ligação como se mostra na Figura 7.

    g029787
  2. Monte o braço de elevação à estrutura traseira. Utilize dois parafusos (⅞ pol. x 4½ pol.), duas porcas de bloqueio (⅞ pol.) e as anilhas necessárias para a colocação equilibrada entre os lados direito e esquerdo do braço e da estrutura.

    Note: Coloque os componentes como indicado em Figura 8.

    g029790
  3. Aperte os parafusos e porcas com uma força de 518 a 648 N-m.

  4. Regule o comprimento do encaixe roscado para 19 cm e aperte as porcas de segurança (Figura 9).

    g012818
  5. Prenda a extremidade da barra do encaixe ao suporte do cilindro. Utilize um parafuso (½ pol. x 1½ pol.) e uma porca (½ pol.), como se mostra na Figura 10.

    g029791
  6. Monte a ponta estacionária do cilindro hidráulico na parte de baixo do suporte do elemento transversal da estrutura utilizando um pino de articulação (Figura 11).

    g012820
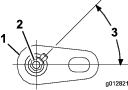
  7. Enrosque um bocal de lubrificação na extremidade do pino de articulação (Figura 11).

    Note: Posicione o bocal tal como se ilustra na Figura 12.

    g012821

Instalação das tubagens hidráulicas

Peças necessárias para este passo:

União em T (apenas Modelo 30812)1
Braçadeira de tubos (⅜ pol.)3
Braçadeira de cabos4
  1. No lado direito da máquina, logo à frente da estrutura do radiador, coloque um recipiente de drenagem sob o tubo de retorno do refrigerador do óleo (Figura 13 ou Figura 14).

    g029810
    g029809
  2. Encaminhe o tubo curto do coletor até ao tubo de retorno.

  3. Apenas para o Modelo 30810, instale o tubo curto no tubo do refrigerador do óleo, conforme se indica a seguir:

    1. Retire a tampa da linha rígida do tubo de retorno (Figura 15).

      g029792
    2. Ligue o tubo curto à linha rígida (Figura 15).

    3. Proceda para o passo 5.

  4. Apenas para o Modelo 30812, instale o tubo curto no tubo do refrigerador do óleo, conforme se indica a seguir:

    1. Coloque uma braçadeira no tubo curto e, de seguida, insira uma união em T na extremidade do tubo (Figura 16).

      g012826
    2. Meça aproximadamente 12,7 cm a partir da estrutura do radiador e corte o tubo de retorno (Figura 17).

      Note: Este é o tubo entre a válvula de elevação da plataforma e o refrigerador de óleo. Segure as pontas do tubo voltadas para cima para diminuir a perda do fluido hidráulico.

      g012827
    3. Prenda os três tubos à união em T usando braçadeiras de tubos (⅞ pol.).

    4. Insira o tubo curto na abertura do tubo de retorno.

  5. Na estrutura do lado direito, localize a válvula de elevação da plataforma (Figura 18).

    g029530
  6. Retire o tampão do lado esquerdo da válvula (Figura 18).

  7. Enrosque a união da válvula hidráulica na abertura da válvula (Figura 19).

    g029531
  8. Encaminhe o tubo comprido sob a estrutura do radiador, sobre o elemento transversal e ao longo da calha, até à válvula (Figura 20).

    Note: O tubo comprido segue outro tubo da baía de transmissão até ao conjunto da válvula.

    g030407
  9. Prenda o tubo comprido com quatro braçadeiras de cabos (Figura 20).

  10. Prenda o encaixe do tubo com a união reta (Figura 19).

Instalação dos relés e interruptores

Modelo 30810

Peças necessárias para este passo:

Suporte de relé1
Relé6
Parafuso (¼ pol. x ½ pol.)6
Porca (¼ pol.)7
Parafuso (¼ pol. x ¾ pol.)1
Autocolante (do kit de unidade de potência auxiliar)1
Interruptor2
  1. No lado direito da máquina, monte seis relés no suporte utilizando seis parafusos (¼ pol. x ½ pol.) e seis porcas (¼ pol.), como se mostra na Figura 21.

    g030287
  2. Retire o parafuso e a porca do tubo de suporte.

  3. Com um parafuso (¼ pol. x ¾ pol.), porca (¼ pol.) e o parafuso e a porca que acabou de retirar, monte o suporte de relé na máquina (Figura 21).

  4. Abra a tampa do painel de controlo e retire (Figura 22).

    g012831
  5. Localize e retire as duas tampas extraíveis da parte de cima do painel de controlo (Figura 23).

    g029533
  6. Corte e remova cuidadosamente o material autocolante para expor os furos no painel de controlo.

    Note: Retire as tampas extraíveis e o material autocolante apenas dos interruptores pretendidos.

  7. Desbarbe as extremidades expostas do painel.

  8. Limpe a superfície do painel e fixe o autocolante em torno dos furos expostos (Figura 24).

    g029534
  9. Insira os interruptores nos respetivos orifícios de montagem (Figura 24).

    Note: Coloque a parte plana do interruptor voltada para o operador.

Instalação dos relés e interruptores

Modelo 30812

Peças necessárias para este passo:

Suporte de relé1
Relé6
Parafuso (¼ pol. x ½ pol.)6
Porca (¼ pol.)7
Parafuso (⅜ x 2 pol.)1
Anilha (0,406 pol.)1
Porca (⅜ pol.)1
Parafuso (¼ pol. x ½ pol.)6
Porca de bloqueio (¼ pol.)6
Autocolante (do kit de unidade de potência auxiliar)1
Interruptor2
  1. Monte, sem apertar, o suporte de relé na estrutura. Utilize um parafuso (⅜ pol. x 2 pol.), anilha (0,406 pol.) e porca (⅜ pol.), tal como se ilustra na Figura 25.

    g029794
  2. Marque o local indicado na Figura 25.

  3. Retire o suporte e faça um furo (0,71 cm) através das duas paredes da estrutura, no local marcado.

  4. Instale o suporte com as ferragens utilizadas para instalar o suporte sem apertar; aperte o suporte no novo furo utilizando um parafuso (¼ pol. x 2½ pol.) e porca (¼ pol.).

  5. Instale os seis relés no suporte utilizando seis parafusos (¼ pol. x ½ pol.) e seis porcas de bloqueio (¼ pol.).

    g029795
  6. Abra a tampa do painel de controlo e retire (Figura 22).

    g012831
  7. Localize e retire as duas tampas extraíveis da parte de cima do painel de controlo (Figura 28).

    g012832
  8. Corte e remova cuidadosamente o material autocolante para expor os orifícios no painel de controlo.

    Note: Retire as tampas extraíveis e o material autocolante apenas dos interruptores pretendidos.

  9. Desbarbe as extremidades expostas do painel.

  10. Limpe a superfície do painel e fixe o autocolante em torno dos furos expostos (Figura 29).

    g012833
  11. Insira os interruptores nos respetivos orifícios de montagem (Figura 29).

    Note: Coloque a parte plana do interruptor voltada para o operador.

Instalação da cablagem

Peças necessárias para este passo:

Cablagem1

Note: A máquina tem de estar equipada com o Kit de unidade de potência auxiliar, peça Toro n.° 30382.

  1. Cubra os conectores expostos da cablagem com fita isoladora para manter os detritos afastados dos conectores ao encaminhar a cablagem.

  2. Encaminhe e ligue a cablagem (Figura 30 e Figura 31) nos seguintes locais:

    • Conectores do coletor hidráulico

    • Relés (6) no suporte de relé

    • Conector de cablagem principal, sob os controlos do operador do lado direito, junto ao módulo de controlo

      Note: O conector de cablagem principal é um conector de dois fios Metri-pak (fios castanho e amarelado)

    • Elevador da plataforma em A e B

      Note: Desligue os dois conectores do bloco do coletor de elevação e ligue-os à cablagem.

    • Elevador da plataforma estendido, A e B

      Note: Ligue a cablagem ao coletor do bloco de elevação de onde desligou os conectores.

    • Conector de ligação rosa

    • Terra ao bloco de terra

    • Interruptor Elevar/Descer

    • Interruptor Flutuar/Ativar

  3. Prenda a cablagem à máquina com braçadeiras de cabos.

    Important: Mantenha a cablagem afastada de todas as peças quentes, afiadas ou em movimento.

    Important: Mantenha a cablagem afastada do tubo de escape da máquina.

g030288
g029798

Conclusão da instalação

  1. Lubrifique os novos bocais com massa n.º 2 à base de lítio.

  2. Verifique o nível de fluido hidráulico e encha conforme necessário.

  3. Ligue o cabo negativo (-) da bateria.

  4. Ligue a máquina e opere o elevador traseiro. Verifique se há fugas e abasteça com fluido hidráulico conforme necessário.

    Note: Quando é instalado corretamente, o coletor não terá ter energia elétrica quando a chave se encontra na posição DESLIGAR.

Funcionamento

Interruptor Elevar/Descer

Desloque o interruptor para a posição LIFT (Elevar) para erguer o engate e para a posição LOWER (Descer) para descer o engate (Figura 33).

Interruptor flutuar/menos potência

Se deslocar o interruptor para FLOAT (Flutuar), o engate segue o contorno do solo. Se deslocar o interruptor para POWER DOWN (Menos potência), é adicionado peso da máquina para aumentar a força de contacto com o solo (Figura 33). Uma maior força de contacto com o solo diminui a capacidade de tração da máquina.

g029535
g012835

Ajuste do ângulo do acessório

Para aumentar ou diminuir o ângulo do engate, proceda da seguinte forma:

  1. Liberte as porcas de aperto no encaixe roscado (Figura 34).

  2. Rode o tubo hexagonal para o ângulo desejado (Figura 34).

  3. Aperte a porca para bloquear o ajuste (Figura 34).

  4. Com o motor a baixo ralenti, eleve o acessório traseiro para confirmar que não toca no capot.

    g029544

Tabelas de peso para o Modelo 30810

Utilize as seguintes tabelas de pesos para determinar a quantidade correta de pesos dianteiros necessários para a máquina.

Largura de corte de 183 cmModelos 30695 com 30354, 30481 ou 30353 ePeso dianteiro adicional necessárioPeso, peça númeroDescrição do pesoQuantidade
QAS traseiro (Modelo 30810) e sem acessório66 kg125-2655-03, 125-2670e 114-4096Pesos da estrutura dianteira, suporte de peso e pesos planos411
Niveladora de acabamentos (respigador) (Modelo 08754)95,7 kg125-2655-03, 125-2670 e 114-4096Pesos da estrutura dianteira, suporte de peso e pesos planos412
Tapete de arrastamento de aço (Modelo 08757)89 kg125-2655-03, 125-2670 e 114-4096Pesos da estrutura dianteira, suporte de peso e pesos planos412
Ancinho dentado (Modelo 08751)76,7 kg125-2655-03,125-2670e 114-4096Pesos da estrutura dianteira, Suporte de peso e pesos planos411
Ancinho dentado com ancinho de mola (Modelo 08752) instalado94 kg125-2655-03, 125-2670, 114-4096Pesos da estrutura dianteira, suporte de peso e pesos planos412
Tapete de arrastamento de coco (Modelo 08758)89 kg125-2655-03, 125-2670 e 114-4096Pesos da estrutura dianteira, suporte de peso e pesos planos412
Barra escarificadora (Modelo 08781)94 kg125-2655-03, 125-2670 e 114-4096Pesos da estrutura dianteira, suporte de peso e pesos planos412
Soprador de detritos (Modelo 30393)95,7 kg125-2655-03,125-2670e 114-4096Pesos da estrutura dianteira, suporte de peso e pesos planos412
Rastelo Rahn (produto aliado)Não aprovado
Largura de corte de 183 cmModelos 30695 com 30354, 30481 ou 30353Com tejadilho rígido, Modelo 30349 ePeso dianteiro adicional necessárioPeso, peça númeroDescrição do pesoQuantidade
QAS traseiro (Modelo 30810) e sem acessório85 kg125-2655-03, 125-2670e 114-4096Pesos da estrutura dianteira, suporte de peso e pesos planos412
Niveladora de acabamentos (respigador) (Modelo 08754)114,8 kg125-2655-03, 125-2670e 114-4096Pesos da estrutura dianteira, suporte de peso e pesos planos413
Tapete de arrastamento de aço (Modelo 08757)108 kg125-2655-03, 125-2670e 114-4096Pesos da estrutura dianteira, suporte de peso e pesos planos413
Ancinho dentado (modelo 08751)95,7 kg125-2655-03, 125-2670e 114-4096Pesos da estrutura dianteira, suporte de peso e pesos planos412
Ancinho dentado com ancinho de mola (Modelo 08752) instalado108 kg125-2655-03, 125-2670e 114-4096Pesos da estrutura dianteira, suporte de peso e pesos planos413
Tapete de arrastamento de coco (modelo 08758)108 kg125-2655-03, 125-2670e 114-4096Pesos da estrutura dianteira, suporte de peso e pesos planos413
Barra escarificadora (modelo 08781)108 kg125-2655-03, 125-2670e 114-4096Pesos da estrutura dianteira, suporte de peso e pesos planos413
Soprador de detritos (modelo 30393)114,8 kg125-2655-03, 125-2670e 114-4096Pesos da estrutura dianteira, suporte de peso e pesos planos413
Rastelo Rahn (produto aliado)Não aprovado
Largura de corte de 152 cm ou 157 cmModelos 30695 com 30456 ou 30457 ePeso dianteiro adicional necessárioPeso, peça númeroDescrição do pesoQuantidade
QAS traseiro (Modelo 30810) e sem acessório66 kg125-2655-03, 125-2670e 114-4096Pesos da estrutura dianteira, suporte de peso e pesos planos411
Niveladora de acabamentos (respigador) (Modelo 08754)123 kg125-2655-03, 125-2670e 114-4096Pesos da estrutura dianteira, suporte de peso e pesos planos414
Tapete de arrastamento de aço (modelo 08757)117,5 kg125-2655-03, 125-2670e 114-4096Pesos da estrutura dianteira, suporte de peso e pesos planos414
Ancinho dentado (Modelo 08751)95,7 kg125-2655-03, 125-2670e 114-4096Pesos da estrutura dianteira, suporte de peso e pesos planos412
Ancinho dentado com ancinho de mola (Modelo 08752) instalado114,3 kg125-2655-03, 125-2670e 114-4096Pesos da estrutura dianteira, suporte de peso e pesos planos413
Tapete de arrastamento de coco (Modelo 08758)114,3 kg125-2655-03, 125-2670e 114-4096Pesos da estrutura dianteira, suporte de peso e pesos planos413
Barra escarificadora (Modelo 08781)114,3 kg125-2655-03, 125-2670e 114-4096Pesos da estrutura dianteira, suporte de peso e pesos planos413
Soprador de detritos (Modelo 30393)125 kg125-2655-03, 125-2670e 114-4096Pesos da estrutura dianteira, suporte de peso e pesos planos414
Rastelo Rahn (produto aliado)Não aprovado
Largura de corte de 152 cm ou 157 cmModelos 30362 e 30365Com tejadilho rígido, Modelo 30359 ePeso dianteiro adicional necessárioPeso, peça númeroDescrição do pesoQuantidade
QAS traseiro (Modelo 30810) e sem acessório85 kg125-2655-03, 125-2670e 114-4096Pesos da estrutura dianteira, suporte de peso e pesos planos412
Niveladora de acabamentos (respigador) (Modelo 08754)142,4 kg125-2655-03, 125-2670e 114-4096Pesos da estrutura dianteira, suporte de peso e pesos planos415
Tapete de arrastamento de aço (Modelo 08757)136,5 kg125-2655-03, 125-2670e 114-4096Pesos da estrutura dianteira, suporte de peso e pesos planos415
Ancinho dentado (Modelo 08751)107 kg125-2655-03, 125-2670e 114-4096Pesos da estrutura dianteira, suporte de peso e pesos planos413
Ancinho dentado com ancinho de mola (Modelo 08752) instalado133,4 kg125-2655-03, 125-2670e 114-4096Pesos da estrutura dianteira, suporte de peso e pesos planos414
Tapete de arrastamento de coco (Modelo 08758)133,4 kg125-2655-03, 125-2670e 114-4096Pesos da estrutura dianteira, suporte de peso e pesos planos414
Barra escarificadora (Modelo 08781)133,4 kg125-2655-03, 125-2670e 114-4096Pesos da estrutura dianteira, suporte de peso e pesos planos414
Soprador de detritos (Modelo 30393)144 kg125-2655-03, 125-2670e 114-4096Pesos da estrutura dianteira, suporte de peso e pesos planos415
Rastelo Rahn (produto aliado)Não aprovado

Tabelas de peso para o Modelo 30812

Utilize as seguintes tabelas de pesos para determinar a quantidade correta de pesos dianteiros necessários para a máquina.

Largura de corte de 183 cmModelos 30495 ou 30487 com 30354, 30481 ou 30353Sem tejadilho rígido, Modelo 30349 ePeso dianteiro adicional necessárioPeso, peça númeroDescrição do pesoQuantidade
QAS traseiro (Modelo 30812) e sem acessório0 kgNA
Niveladora de acabamentos (respigador) (Modelo 08754)0 kgNA
Tapete de arrastamento de aço (Modelo 08757)0 kgNA
Ancinho dentado (Modelo 08751)0 kgNA
Ancinho dentado com ancinho de mola (Modelo 08752) instalado0 kgNA
Tapete de arrastamento de coco (Modelo 08758)30,4 kg125-2670 e114-4096Suporte de peso dianteiroepeso dianteiro de 19 kg11
Barra escarificadora (Modelo 08781)30,4 kg125-2670e114-4096Suporte de peso dianteiroepeso dianteiro de 19 kg11
Soprador de detritos (Modelo 30393)49,4 kg125-2670e114-4096Suporte de peso dianteiroepeso dianteiro de 19 kg12
Rastelo Rahn (produto aliado)68,5 kg125-2670 e114-4096Suporte de peso dianteiroepeso dianteiro de 19 kg13
Largura de corte de 183 cmModelos 30495 ou 30487 com 30354, 30481 ou 30353Com tejadilho rígido, Modelo 30359 ePeso dianteiro adicional necessárioPeso, peça númeroDescrição do pesoQuantidade
QAS traseiro (Modelo 30812) e sem acessório0 kgNA
Niveladora de acabamentos (respigador) (Modelo 08754)11,3 kg125-2670Suporte de peso dianteiro1
Tapete de arrastamento de aço (Modelo 08757)11,3 kg125-2670Suporte de peso dianteiro1
Ancinho dentado (Modelo 08751)11,3 kg125-2670Suporte de peso dianteiro1
Ancinho dentado com ancinho de mola (Modelo 08752) instalado11,3 kg125-2670Suporte de peso dianteiro11
Tapete de arrastamento de coco (Modelo 08758)49,4 kg 125-2670 e114-4096Suporte de peso dianteiroepeso dianteiro de 19 kg12
Barra escarificadora (modelo 08781)49,4 kg125-2670 e114-4096Suporte de peso dianteiroepeso dianteiro de 19 kg12
Soprador de detritos (modelo 30393)68,5 kg125-2670e114-4096Suporte de peso dianteiroepeso dianteiro de 19 kg13
Rastelo Rahn (produto aliado)Não aprovado
Largura de corte de 157 cmModelos 30495 ou 30487 com 30456 ou 30457Sem tejadilho rígido, Modelo 30349 ePeso dianteiro adicional necessárioPeso, peça númeroDescrição do pesoQuantidade
QAS traseiro (Modelo 30812) e sem acessório30,4 kg 125-2670e114-4096Suporte de peso dianteiroepeso dianteiro de 19 kg11
Niveladora de acabamentos (respigador) (Modelo 08754)68,5 kg125-2670e114-4096Suporte de peso dianteiroepeso dianteiro de 19 kg13
Tapete de arrastamento de aço (modelo 08757)68,5 kg125-2670e114-4096Suporte de peso dianteiroepeso dianteiro de 19 kg13
Ancinho dentado (modelo 08751)68,5 kg125-2670e114-4096Suporte de peso dianteiroepeso dianteiro de 19 kg12
Ancinho dentado com ancinho de mola (Modelo 08752) instalado68,5 kg125-2670e114-4096Suporte de peso dianteiroepeso dianteiro de 19 kg13
Tapete de arrastamento de coco (modelo 08758)68,5 kg125-2670e114-4096Suporte de peso dianteiroepeso dianteiro de 19 kg13
Barra escarificadora (modelo 08781)68,5 kg125-2670e114-4096Suporte de peso dianteiroepeso dianteiro de 19 kg13
Soprador de detritos (modelo 30393)68,5 kg125-2670e114-4096Suporte de peso dianteiroepeso dianteiro de 19 kg13
Rastelo Rahn (produto aliado)Não aprovado
Largura de corte de 157 cmModelos 30362 e 30365Com tejadilho rígido, Modelo 30359 ePeso dianteiro adicional necessárioPeso, peça númeroDescrição do pesoQuantidade
QAS traseiro (Modelo 30812) e sem acessório49,4 kg 125-2670e114-4096Suporte de peso dianteiroepeso dianteiro de 19 kg12
Niveladora de acabamentos (respigador) (Modelo 08754)87,5 kg125-2670e114-4096Suporte de peso dianteiroepeso dianteiro de 19 kg13
Tapete de arrastamento de aço (modelo 08757)87,5 kg 125-2670e114-4096Suporte de peso dianteiroepeso dianteiro de 19 kg14
Ancinho dentado (modelo 08751)68,5 kg125-2670e114-4096Suporte de peso dianteiroepeso dianteiro de 19 kg13
Ancinho dentado com ancinho de mola (Modelo 08752) instalado87,5 kg125-2670e114-4096Suporte de peso dianteiroepeso dianteiro de 19 kg14
Tapete de arrastamento de coco (modelo 08758)87,5 kg 125-2670e114-4096Suporte de peso dianteiroepeso dianteiro de 19 kg14
Barra escarificadora (modelo 08781)87,5 kg125-2670e114-4096Suporte de peso dianteiroepeso dianteiro de 19 kg14
Soprador de detritos (modelo 30393)87,5 kg 125-2670e114-4096Suporte de peso dianteiroepeso dianteiro de 19 kg14
Rastelo Rahn (produto aliado)Não aprovado

Sugestões de utilização

  • Leia e entenda o Manual do utilizador do acessório antes de utilizar a máquina.

  • Garanta a instalação do suporte de montagem de pesos e do(s) peso(s) dianteiro(s) adequados para o acessório traseiro.

  • Retire o acessório traseiro e os pesos dianteiros soltos antes do corte.

  • Utilize a máquina com cuidado se estiver instalado um acessório traseiro. Isto porque, o acessório é mais largo do que a máquina e poderá tocar em postes, vedações ou árvores.

  • Nunca utilize a máquina perto de outras pessoas.

Manutenção

  • Lubrifique os bocais com massa n.º 2 à base de líquido, todas as semanas ou após a lavagem.

  • Se utilizar em ambientes com pó, o filtro de ar deverá ser verificado diariamente. Está disponível um elemento de filtro de ar de segurança, que poderá instalar no filtro existente para aumentar a proteção do motor.