Important: Antes de instalar este kit, equipe la máquina con el kit eléctrico auxiliar (pieza Toro n.º 30382).

Advertencia

CALIFORNIA

Advertencia de la Propuesta 65

El uso de este producto puede provocar la exposición a sustancias químicas que el Estado de California considera causantes de cáncer, defectos congénitos u otros trastornos del sistema reproductor.

Seguridad

Pegatinas de seguridad e instrucciones

Graphic

Las pegatinas de seguridad e instrucciones están a la vista del operador y están ubicadas cerca de cualquier zona de peligro potencial. Sustituya cualquier pegatina que esté dañada o que falte.

decal133-8061

Instalación

Preparación de la máquina

  1. Aparque la máquina en una superficie nivelada, baje la unidad de corte, pare la máquina, ponga el freno de estacionamiento y retire la llave de contacto.

    Cuidado

    Si usted deja la llave en el interruptor de encendido, alguien podría arrancar el motor accidentalmente y causar lesiones graves a usted o a otras personas.

    Retire la llave del interruptor de encendido antes de realizar ninguna operación de mantenimiento.

  2. Desconecte el cable negativo (–) de la batería.

Instalación del brazo de elevación

Modelo 30810

Piezas necesarias en este paso:

Soporte del cilindro1
Perno (⅜" x 2¾")2
Perno (⅜" x 1¼")3
Perno (⅜" x 1")1
Tuerca (⅜")3
Brazo de elevación1
Perno (⅞" x 4½")2
Contratuerca (⅞")2
Arandela del eje8
Perno (½" x 1½")1
Contratuerca (½")1
Pasador de giro del cilindro1
Engrasador1

Note: Para facilitar el acceso durante el montaje del kit, eleve la parte trasera de la unidad de tracción, apóyela sobre gatos fijos y retire el neumático trasero derecho.

  1. Retire los 3 pernos y las 3 tuercas del patín (Figura 1).

    Note: Guarde las tuercas.

    g029812
  2. Sujete el soporte del cilindro al conjunto de soporte del parachoques trasero/patín con 2 pernos (⅜" x 2¾"), 3 pernos (⅜" x 1¼"), 2 tuercas (⅜") y las 3 tuercas existentes que acaba de retirar.

    Note: Posicione el soporte del cilindro según se muestra en Figura 2.

    g029526
  3. Monte el conjunto del brazo de elevación en los perfiles del bastidor trasero con 2 pernos (⅞" x 4½"), 2 contratuercas (⅞"), y el número de arandelas que sea necesario para centrar el brazo de elevación entre los perfiles izquierdo y derecho del bastidor.

    Note: Coloque los componentes según se muestra en Figura 3.

    g029785
  4. Apriete los pernos y las contratuercas a 518–648 N·m.

  5. Ajuste la longitud del acoplamiento roscado a 19 cm, y apriete las contratuercas (Figura 4).

    g012818
  6. Sujete la rótula del acoplamiento roscado al soporte del cilindro con un perno (½" x 1½") y una contratuerca (½"), según se muestra en Figura 5.

    g029786
  7. Monte el extremo libre del cilindro hidráulico en el soporte del cilindro con el pasador de pivote del soporte del cilindro, un perno (⅜" x 1") y una tuerca (⅜"), según se muestra en Figura 6.

    g029528
  8. Enrosque un engrasador en el extremo del pasador de giro, según se muestra en Figura 6.

Instalación del brazo de elevación

Modelo 30812

Piezas necesarias en este paso:

Montaje de enlace1
Perno (⅜" x 1")3
Tuerca (⅜")3
Brazo de elevación1
Perno (⅞" x 4½")2
Contratuerca (⅞")2
Arandela del eje8
Perno (½" x 1½")1
Contratuerca (½")1
Pasador de giro1
Engrasador1

Note: Para facilitar el acceso durante el montaje del kit, eleve la parte trasera de la unidad de tracción, apóyela sobre gatos fijos y retire el neumático trasero derecho.

  1. Sujete el soporte del cilindro al soporte del parachoques trasero con 3 pernos (⅜" x 1") y 3 tuercas (⅜").

    Note: Posicione el soporte del cilindro según se muestra en (Figura 7).

    g029787
  2. Monte el conjunto del brazo de elevación en los perfiles del bastidor trasero con 2 pernos (⅞" x 4½"), 2 contratuercas (⅞"), y el número de arandelas que sea necesario para centrar el brazo de elevación entre los perfiles izquierdo y derecho del bastidor.

    Note: Coloque los componentes según se muestra en Figura 8.

    g029790
  3. Apriete los pernos y las contratuercas a 518–648 N·m.

  4. Ajuste la longitud del acoplamiento roscado a 19 cm, y apriete las contratuercas (Figura 9).

    g012818
  5. Sujete la rótula del acoplamiento roscado al soporte con un perno (½" x 1½") y una contratuerca (½"), según se muestra en Figura 10.

    g029791
  6. Monte el extremo fijo del cilindro hidráulico en la parte inferior del soporte del travesaño del bastidor con un pasador de giro (Figura 11).

    g012820
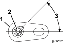
  7. Enrosque un engrasador en el extremo del pasador de giro (Figura 11).

    Note: Posicione el engrasador según se muestra en Figura 12.

    g012821

Instalación de las mangueras hidráulicas

Piezas necesarias en este paso:

Acoplamiento en T (Modelo 30812 solamente)1
Abrazadera (⅜")3
Brida4
  1. En el lado derecho de la máquina, justo por delante del bastidor del radiador, coloque un recipiente adecuado debajo de la manguera de retorno del enfriador de aceite (Figura 13 o Figura 14).

    g029810
    g029809
  2. Enrute la manguera corta desde el distribuidor hasta la posición de la manguera de retorno del enfriador de aceite.

  3. En el modelo 30810 únicamente, conecte la manguera corta a la manguera del enfriador de aceite como se indica a continuación:

    1. Retire el tapón de la línea rígida de la manguera de retorno del enfriador de aceite (Figura 15).

      g029792
    2. Enrosque la manguera corta en la línea rígida (Figura 15).

    3. Continúe con al paso 5..

  4. En el modelo 30812 únicamente, conecte la manguera corta a la manguera del enfriador de aceite como se indica a continuación:

    1. Coloque una abrazadera en la manguera corta y luego inserte el acoplamiento en T en el extremo de la manguera corta (Figura 16).

      g012826
    2. Mida aproximadamente 12,7 cm desde el bastidor del radiador y corte la manguera de retorno del enfriador de aceite (Figura 17).

      Note: Ésta es la manguera situada entre la válvula de elevación de la carcasa y el enfriador de aceite. Sostenga los extremos de las mangueras hacia arriba para reducir las pérdidas de aceite hidráulico.

      g012827
    3. Sujete las 3 mangueras al acoplamiento en T con abrazaderas (7/8").

    4. Conecte la manguera corta al acoplamiento de la manguera de retorno del enfriador de aceite.

  5. En el bastidor derecho, localice el conjunto de válvulas de elevación de la carcasa (Figura 18).

    g029530
  6. Retire el tapón del lado izquierdo de la válvula (Figura 18).

  7. Enrosque el acoplamiento de la válvula hidráulica en el orificio de la válvula (Figura 19).

    g029531
  8. Enrute la manguera larga por debajo del bastidor del radiador, por encima del travesaño del bastidor, y a lo largo del larguero del bastidor hasta la válvula (Figura 20).

    Note: La manguera larga seguirá el mismo recorrido que otra manguera desde el hueco de la transmisión hasta las válvulas.

    g030407
  9. Sujete la manguera larga con 4 bridas (Figura 20;

  10. Conecte el acoplamiento de la manguera al acoplamiento recto (Figura 19).

Instalación de los relés y los interruptores

Modelo 30810

Piezas necesarias en este paso:

Soporte de los relés1
Relé6
Perno (¼" x ½")6
Tuerca (¼")7
Perno (¼" x ¾")1
Pegatina (del Kit eléctrico auxiliar)1
Interruptor2
  1. En el lado derecho de la máquina, monte 6 relés en el soporte usando 6 pernos (¼" x ½") y 6 contratuercas (¼"), según se muestra en Figura 21.

    g030287
  2. Retire el perno y la tuerca del tubo de sujeción.

  3. Usando un perno (¼" x ¾") una tuerca (¼"), y el perno y la tuerca que acaba de retirar, monte el soporte de los relés en la máquina (Figura 21).

  4. Abra los cierres de tapa del panel de control y apártela (Figura 22).

    g012831
  5. Retire los 2 tapones de la parte superior del panel de control y retírelos (Figura 23).

    g029533
  6. Recorte cuidadosamente la pegatina para dejar libres los huecos del panel de control.

    Note: Retire únicamente los tapones y la zona de la pegatina que corresponden a los interruptores a instalar.

  7. Quite las rebabas de los bordes recién expuestos del panel de control.

  8. Limpie la superficie del panel de control, y coloque la pegatina alrededor de los huecos (Figura 24).

    g029534
  9. Introduzca los interruptores en los huecos de montaje correspondientes (Figura 24).

    Note: Oriente la parte plana del interruptor hacia el operador.

Instalación de los relés y los interruptores

Modelo 30812

Piezas necesarias en este paso:

Soporte de los relés1
Relé6
Perno (¼" x ½")6
Tuerca (¼")7
Perno (⅜" x 2")1
Arandela (0,406")1
Tuerca (⅜")1
Perno (¼" x ½")6
Contratuerca (¼")6
Pegatina (del Kit eléctrico auxiliar)1
Interruptor2
  1. Monte provisionalmente el soporte de los relés en el bastidor usando un perno (⅜" x 2"), una arandela (0,406") y una tuerca (⅜"), según se muestra en Figura 25.

    g029794
  2. Marque el punto indicado en Figura 25.

  3. Retire el soporte y perfore un taladro de 0,281" a través de ambas paredes del bastidor, en la posición marcada.

  4. Instale el soporte usando las fijaciones que utilizó para instalar provisionalmente el soporte, y sujete el soporte al taladro nuevo con un perno (¼" x 2½") y una tuerca (¼").

  5. Instale los 6 relés en el soporte usando 6 pernos (¼" x ½") y 6 contratuercas (¼").

    g029795
  6. Abra los cierres de tapa del panel de control y apártela (Figura 22).

    g012831
  7. Retire los 2 tapones de la parte superior del panel de control y retírelos (Figura 28).

    g012832
  8. Recorte cuidadosamente la pegatina para tener acceso a los huecos del panel de control.

    Note: Retire únicamente los tapones y la zona de la pegatina que corresponden a los interruptores a instalar.

  9. Quite las rebabas de los bordes recién expuestos del panel de control.

  10. Limpie la superficie del panel de control, y coloque la pegatina alrededor de los huecos (Figura 29).

    g012833
  11. Introduzca los interruptores en los huecos de montaje correspondientes (Figura 29).

    Note: Oriente la parte plana del interruptor hacia el operador.

Instalación del arnés de cables

Piezas necesarias en este paso:

Arnés de cables1

Note: La máquina debe estar equipada con el Kit eléctrico auxiliar, Pieza Toro n° 30382.

  1. Cubra los conectores expuestos del arnés de cables con cinta adhesiva o cinta aislante para que no entre suciedad en los conectores mientras se enruta el arnés.

  2. Enrute y conecte el arnés de cables (Figura 30 y Figura 31) a los puntos siguientes:

    • Conectores del distribuidor hidráulico

    • Relés (6) en el soporte de los relés

    • Conector del arnés de cables principal, situado debajo de los controles del operador de la derecha, junto al módulo de control de serie

      Note: El conector del arnés principal es un conector "Metri-pak" de 2 cables (cables marrón y beige)

    • Entrada de elevación de la carcasa, A y B

      Note: Desenchufe los 2 conectores del bloque del distribuidor de elevación y enchúfelos en el arnés de cables.

    • Salida de elevación de la carcasa, A y B

      Note: Enchufe el arnés de cables en el distribuidor del bloque de elevación, donde acaba de desenchufar los 2 conectores.

    • Conector del cable de alimentación (rosa)

    • Masa al bloque de terminales de tierra

    • Interruptor de elevación/bajada

    • Interruptor de flotación/activación

  3. Sujete el arnés de cables a la máquina con bridas.

    Important: Mantenga el arnés alejado de piezas calientes, puntiagudos, afilados o móviles.

    Important: Mantenga el arnés de cables alejado del tubo de escape de la máquina.

g030288
g029798

Finalización de la instalación

  1. Lubrique todos los engrasadores nuevos con grasa de litio Nº 2.

  2. Compruebe el nivel de fluido hidráulico y rellene según sea necesario.

  3. Conecte el cable negativo (–) de la batería.

  4. Arranque el motor y accione la elevación trasera. Compruebe que no hay fugas y añada más fluido hidráulico si es necesario.

    Note: Si la instalación es correcta, el distribuidor debe no tiene alimentación eléctrica cuando la llave está en la posición de DESCONECTADO.

Operación

Interruptor de elevación/bajada

Mueva el interruptor a la posición de ELEVACIóN para elevar el accesorio, y a la posición de BAJADA para bajar el accesorio (Figura 33).

Interruptor de flotación/fuerza descendente

Cuando el interruptor está en la posición de FLOTACIóN, el accesorio puede seguir los contornos del suelo. Al mover el interruptor a la posición de FUERZA DESCENDENTE se añade peso desde la máquina para aumentar la fuerza de penetración en el suelo (Figura 33). La mayor fuerza de penetración en el suelo reduce la capacidad de tracción de la máquina.

g029535
g012835

Ajuste del ángulo del accesorio

Para aumentar o reducir el ángulo de incidencia del accesorio, siga estos pasos:

  1. Afloje las contratuercas del acoplamiento roscado (Figura 34).

  2. Gire el tubo hexagonal hasta obtener el ángulo deseado (Figura 34).

  3. Apriete la contratuerca para afianzar el ajuste (Figura 34).

  4. Con el motor en marcha a ralentí bajo, eleve el accesorio trasero para asegurarse de que no choca contra el capó.

    g029544

Tablas de pesos – Modelo 30810

Utilice las siguientes tablas de pesos para determinar la cantidad correcta de pesos delanteros necesarios para su máquina.

Anchura de corte de 183 cmModelos 30695 con 30354, 30481, o 30353 yPeso delantero adicional necesarioContrapeso – Nº PiezaContrapeso – DescripciónCant.
QAS trasero (Modelo 30810), sin accesorio66,22 kg125-2655-03, 125-2670,y 114-4096Pesos del bastidor delantero, Soporte de los pesos, y Pesos de maletín411
Grada para acabados (Rastrillo giratorio) (Modelo 08754)95,71 kg125-2655-03, 125-2670, y 114-4096Pesos del bastidor delantero, Soporte de los pesos, y Pesos de maletín412
Estera niveladora de acero (Modelo 08757)88,90 kg125-2655-03, 125-2670, y 114-4096Pesos del bastidor delantero, Soporte de los pesos, y Pesos de maletín412
Rastrillo de dientes (Modelo 08751)76,66 kg125-2655-03, 125-2670, y 114-4096Pesos del bastidor delantero, Soporte de los pesos, y Pesos de maletín411
Rastrillo de dientes con rastrillo flexible (Modelo 08752) acoplado94,35 kg125-2655-03, 125-2670, 114-4096Pesos del bastidor delantero, Soporte de los pesos, y Pesos de maletín412
Estera de coco (Modelo 08758)88,90 kg125-2655-03, 125-2670, y 114-4096Pesos del bastidor delantero, Soporte de los pesos, y Pesos de maletín412
Placa escarificadora (Modelo 08781)94,35 kg125-2655-03, 125-2670, y 114-4096Pesos del bastidor delantero, Soporte de los pesos, y Pesos de maletín412
Soplador de residuos (Modelo 30393)95,71 kg125-2655-03, 125-2670, y 114-4096Pesos del bastidor delantero, Soporte de los pesos, y Pesos de maletín412
Groomer Rahn (producto complementario)No procede
Anchura de corte de 183 cmModelos 30695 con 30354, 30481 o 30353Con capota dura, modelo 30349 yPeso delantero adicional necesarioContrapeso – Nº PiezaContrapeso – DescripciónCant.
QAS trasero (Modelo 30810), sin accesorio85,28 kg125-2655-03, 125-2670,y 114-4096Pesos del bastidor delantero, Soporte de los pesos, y Pesos de maletín412
Grada para acabados (Rastrillo giratorio) (Modelo 08754)114,76 kg125-2655-03, 125-2670,y 114-4096Pesos del bastidor delantero, Soporte de los pesos, y Pesos de maletín413
Estera niveladora de acero (Modelo 08757)107,95 kg125-2655-03, 125-2670,y 114-4096Pesos del bastidor delantero, Soporte de los pesos, y Pesos de maletín413
Rastrillo de dientes (Modelo 08751)95,71 kg125-2655-03, 125-2670,y 114-4096Pesos del bastidor delantero, Soporte de los pesos, y Pesos de maletín412
Rastrillo de dientes con rastrillo flexible (Modelo 08752) acoplado107,95 kg125-2655-03, 125-2670,y 114-4096Pesos del bastidor delantero, Soporte de los pesos, y Pesos de maletín413
Estera de coco (Modelo 08758)107,95 kg125-2655-03, 125-2670,y 114-4096Pesos del bastidor delantero, Soporte de los pesos, y Pesos de maletín413
Placa escarificadora (Modelo 08781)107,95 kg125-2655-03, 125-2670,y 114-4096Pesos del bastidor delantero, Soporte de los pesos, y Pesos de maletín413
Soplador de residuos (Modelo 30393)114,76 kg125-2655-03, 125-2670,y 114-4096Pesos del bastidor delantero, Soporte de los pesos, y Pesos de maletín413
Groomer Rahn (producto complementario)No procede
Anchura de corte de 152 cm o 157 cmModelos 30695 con 30456, 30481, o 30457 yPeso delantero adicional necesarioContrapeso – Nº PiezaContrapeso – DescripciónCant.
QAS trasero (Modelo 30810), sin accesorio66,22 kg125-2655-03, 125-2670,y 114-4096Pesos del bastidor delantero, Soporte de los pesos, y Pesos de maletín411
Grada para acabados (Rastrillo giratorio) (Modelo 08754)123,38 kg125-2655-03, 125-2670,y 114-4096Pesos del bastidor delantero, Soporte de los pesos, y Pesos de maletín414
Estera niveladora de acero (Modelo 08757)117,48 kg125-2655-03, 125-2670,y 114-4096Pesos del bastidor delantero, Soporte de los pesos, y Pesos de maletín414
Rastrillo de dientes (Modelo 08751)95,71 kg125-2655-03, 125-2670,y 114-4096Pesos del bastidor delantero, Soporte de los pesos, y Pesos de maletín412
Rastrillo de dientes con rastrillo flexible (Modelo 08752) acoplado114,31 kg125-2655-03, 125-2670,y 114-4096Pesos del bastidor delantero, Soporte de los pesos, y Pesos de maletín413
Estera de coco (Modelo 08758)114,31 kg125-2655-03, 125-2670,y 114-4096Pesos del bastidor delantero, Soporte de los pesos, y Pesos de maletín413
Placa escarificadora (Modelo 08781)114,31 kg125-2655-03, 125-2670,y 114-4096Pesos del bastidor delantero, Soporte de los pesos, y Pesos de maletín413
Soplador de residuos (Modelo 30393)125,19 kg125-2655-03, 125-2670,y 114-4096Pesos del bastidor delantero, Soporte de los pesos, y Pesos de maletín414
Groomer Rahn (producto complementario)No procede
Anchura de corte de 152 cm o 157 cmModelos 30362 y 30365Con capota dura, modelo 30359 yPeso delantero adicional necesarioContrapeso – Nº PiezaContrapeso – DescripciónCant.
QAS trasero (Modelo 30810), sin accesorio85,28 kg125-2655-03, 125-2670,y 114-4096Pesos del bastidor delantero, Soporte de los pesos, y Pesos de maletín412
Grada para acabados (Rastrillo giratorio) (Modelo 08754)142,43 kg125-2655-03, 125-2670,y 114-4096Pesos del bastidor delantero, Soporte de los pesos, y Pesos de maletín415
Estera niveladora de acero (Modelo 08757)136,53 kg125-2655-03, 125-2670,y 114-4096Pesos del bastidor delantero, Soporte de los pesos, y Pesos de maletín415
Rastrillo de dientes (Modelo 08751)107,05 kg125-2655-03, 125-2670,y 114-4096Pesos del bastidor delantero, Soporte de los pesos, y Pesos de maletín413
Rastrillo de dientes con rastrillo flexible (Modelo 08752) acoplado133,36 kg125-2655-03, 125-2670,y 114-4096Pesos del bastidor delantero, Soporte de los pesos, y Pesos de maletín414
Estera de coco (Modelo 08758)133,36 kg125-2655-03, 125-2670,y 114-4096Pesos del bastidor delantero, Soporte de los pesos, y Pesos de maletín414
Placa escarificadora (Modelo 08781)133,36 kg125-2655-03, 125-2670,y 114-4096Pesos del bastidor delantero, Soporte de los pesos, y Pesos de maletín414
Soplador de residuos (Modelo 30393)144,24 kg125-2655-03, 125-2670,y 114-4096Pesos del bastidor delantero, Soporte de los pesos, y Pesos de maletín415
Groomer Rahn (producto complementario)No procede

Tablas de pesos – Modelo 30812

Utilice las siguientes tablas de pesos para determinar la cantidad correcta de pesos delanteros necesarios para su máquina.

Anchura de corte de 183 cmModelos 30495 o 30487 con 30354, 30481 o 30353Sin capota dura, modelo 30349 yPeso delantero adicional necesarioContrapeso – Nº PiezaContrapeso – DescripciónCant.
QAS trasero (Modelo 30812), sin accesorio0 kgNA
Grada para acabados (Rastrillo giratorio) (Modelo 08754)0 kgNA
Estera niveladora de acero (Modelo 08757)0 kgNA
Rastrillo de dientes (Modelo 08751)0 kgNA
Rastrillo de dientes con rastrillo flexible (Modelo 08752) acoplado0 kgNA
Estera de coco (Modelo 08758)30,39 kg125-2670 y 114-4096Soporte de pesos delanteroypeso delantero de 19,05 kg11
Placa escarificadora (Modelo 08781)30,39 kg125-2670 y 114-4096Soporte de pesos delanteroypeso delantero de 19,05 kg11
Soplador de residuos (Modelo 30393)49,44 kg125-2670 y 114-4096Soporte de pesos delanteroypeso delantero de 19,05 kg12
Groomer Rahn (producto complementario)68,49 kg125-2670 y 114-4096Soporte de pesos delanteroypeso delantero de 19,05 kg13
Anchura de corte de 183 cmModelos 30495 o 30487 con 30354, 30481 o 30353Con capota dura, modelo 30359 yPeso delantero adicional necesarioContrapeso – Nº PiezaContrapeso – DescripciónCant.
QAS trasero (Modelo 30812), sin accesorio0 kgNA
Grada para acabados (Rastrillo giratorio) (Modelo 08754)11,34 kg125-2670Soporte de pesos delantero1
Estera niveladora de acero (Modelo 08757)11,34 kg125-2670Soporte de pesos delantero1
Rastrillo de dientes (Modelo 08751)11,34 kg125-2670Soporte de pesos delantero1
Rastrillo de dientes con rastrillo flexible (Modelo 08752) acoplado11,34 kg125-2670Soporte de pesos delantero11
Estera de coco (Modelo 08758)49,44 kg 125-2670 y 114-4096Soporte de pesos delanteroypeso delantero de 19,05 kg12
Placa escarificadora (Modelo 08781)49,44 kg125-2670 y 114-4096Soporte de pesos delanteroypeso delantero de 19,05 kg12
Soplador de residuos (Modelo 30393)68,49 kg125-2670 y 114-4096Soporte de pesos delanteroypeso delantero de 19,05 kg13
Groomer Rahn (producto complementario)No procede
Anchura de corte de 157 cmModelos 30495 o 30487 con 30456 o 30457Sin capota dura, modelo 30349 yPeso delantero adicional necesarioContrapeso – Nº PiezaContrapeso – DescripciónCant.
QAS trasero (Modelo 30812), sin accesorio30,39 kg 125-2670 y 114-4096Soporte de pesos delanteroypeso delantero de 19,05 kg11
Grada para acabados (Rastrillo giratorio) (Modelo 08754)68,49 kg125-2670 y 114-4096Soporte de pesos delanteroypeso delantero de 19,05 kg13
Estera niveladora de acero (Modelo 08757)68,49 kg125-2670 y 114-4096Soporte de pesos delanteroypeso delantero de 19,05 kg13
Rastrillo de dientes (Modelo 08751)68,49 kg125-2670 y 114-4096Soporte de pesos delanteroypeso delantero de 19,05 kg12
Rastrillo de dientes con rastrillo flexible (Modelo 08752) acoplado68,49 kg125-2670 y 114-4096Soporte de pesos delanteroypeso delantero de 19,05 kg13
Estera de coco (Modelo 08758)68,49 kg125-2670 y 114-4096Soporte de pesos delanteroypeso delantero de 19,05 kg13
Placa escarificadora (Modelo 08781)68,49 kg125-2670 y 114-4096Soporte de pesos delanteroypeso delantero de 19,05 kg13
Soplador de residuos (Modelo 30393)68,49 kg125-2670 y 114-4096Soporte de pesos delanteroypeso delantero de 19,05 kg13
Groomer Rahn (producto complementario)No procede
Anchura de corte de 157 cmModelos 30362 y 30365Con capota dura, modelo 30359 yPeso delantero adicional necesarioContrapeso – Nº PiezaContrapeso – DescripciónCant.
QAS trasero (Modelo 30812), sin accesorio49,44 kg 125-2670 y 114-4096Soporte de pesos delanteroypeso delantero de 19,05 kg12
Grada para acabados (Rastrillo giratorio) (Modelo 08754)87,54 kg125-2670 y 114-4096Soporte de pesos delanteroypeso delantero de 19,05 kg13
Estera niveladora de acero (Modelo 08757)87,54 kg 125-2670 y 114-4096Soporte de pesos delanteroypeso delantero de 19,05 kg14
Rastrillo de dientes (Modelo 08751)68,49 kg125-2670 y 114-4096Soporte de pesos delanteroypeso delantero de 19,05 kg13
Rastrillo de dientes con rastrillo flexible (Modelo 08752) acoplado87,54 kg125-2670 y 114-4096Soporte de pesos delanteroypeso delantero de 19,05 kg14
Estera de coco (Modelo 08758)87,54 kg 125-2670 y 114-4096Soporte de pesos delanteroypeso delantero de 19,05 kg14
Placa escarificadora (Modelo 08781)87,54 kg125-2670 y 114-4096Soporte de pesos delanteroypeso delantero de 19,05 kg14
Soplador de residuos (Modelo 30393)87,54 kg 125-2670 y 114-4096Soporte de pesos delanteroypeso delantero de 19,05 kg14
Groomer Rahn (producto complementario)No procede

Consejos de operación

  • Lea y comprenda el Manual del operador del accesorio antes de utilizar la máquina.

  • Asegúrese de que están instalados el soporte de montaje y los pesos delanteros apropiados para el accesorio trasero.

  • Retire el accesorio trasero y cualquier peso delantero suelto antes de segar.

  • Extreme las precauciones al utilizar la máquina con un accesorio trasero instalado, porque el accesorio es más ancho que la máquina y puede chocar con postes, vallas o árboles.

  • Nunca utilice la máquina cerca de otras personas.

Mantenimiento

  • Lubrique los engrasadores con grasa de litio Nº 2 cada semana o después de cada lavado.

  • Si trabaja en condiciones de mucho polvo, el limpiador de aire debe revisarse a diario. Está disponible un elemento de seguridad para el limpiador de aire, y puede agregarse al limpiador de aire existente para proporcionar una mayor protección al motor.