| Периодичность технического обслуживания | Порядок технического обслуживания |
|---|---|
| Перед каждым использованием или ежедневно |
|
Данная машина является ездовой газонокосилкой, оборудованной барабаном с ножами и предназначенной для использования в коммерческих целях профессиональными операторами. Она предназначена главным образом для скашивания травы на благоустроенных газонах. Использование этого изделия не по прямому назначению может быть опасным для пользователя и находящихся рядом людей.
Внимательно изучите данное руководство, чтобы знать как правильно использовать и обслуживать машину, не допуская ее повреждения и травмирования персонала. Вы несете ответственность за правильное и безопасное использование машины.
Посетите веб-сайт www.Toro.com для получения дополнительной информации, включая рекомендации по технике безопасности, учебные материалы, информации о принадлежностях, а также для получения помощи в поиске дилера или для регистрации изделия.
Для выполнения технического обслуживания, приобретения оригинальных запчастей Toro или получения дополнительной информации обращайтесь в сервисный центр официального дилера или в отдел технического обслуживания компании Toro. Не забудьте при этом указать модель и серийный номер изделия. На Рисунок 1 показано расположение номера модели и серийного номера. Запишите номера в предусмотренном для этого месте.
Important: С помощью мобильного устройства вы можете отсканировать QR-код на табличке с серийным номером (при наличии), чтобы получить информацию по гарантии и запчастям, а также другие сведения об изделии.

В настоящем руководстве приведены потенциальные опасности и рекомендации по их предотвращению, обозначенные символом (Рисунок 2), который предупреждает об опасности серьезного травмирования или гибели в случае несоблюдения пользователем рекомендуемых мер безопасности.

Для выделения информации в данном руководстве используются два слова. Внимание — привлекает внимание к специальной информации, относящейся к механической части машины, и Примечание — выделяет общую информацию, требующую специального внимания.
Данное изделие соответствует всем европейским директивам. Подробные сведения содержатся в документе «Декларация соответствия» на каждое отдельное изделие.
Раздел 4442 или 4443 Калифорнийского свода законов по общественным ресурсам запрещает использовать или эксплуатировать на землях, покрытых лесом, кустарником или травой, двигатель без исправного искрогасительного устройства, описанного в разделе 4442 и поддерживаемого в надлежащем рабочем состоянии; или двигатель должен быть изготовлен, оборудован и проходить обслуживание с учетом противопожарной безопасности.
Прилагаемое Руководство для владельца двигателя содержит информацию относительно требований Агентства по охране окружающей среды США (EPA) и (или) Директивы по контролю вредных выбросов штата Калифорния, касающихся выхлопных систем, технического обслуживания и гарантии. Запасные части можно заказать у изготовителя двигателя.
КАЛИФОРНИЯ
Положение 65, Предупреждение
Согласно законам штата Калифорния считается, что выхлопные газы дизельного двигателя и некоторые их составляющие вызывают рак, врождённые пороки, и представляют опасность для репродуктивной функции.
Полюсные выводы аккумуляторной батареи, клеммы, и сопутствующие принадлежности содержат свинец и соединения свинца - химические вещества, которые в штате Калифорния расцениваются как вызывающие рак и нарушающие репродуктивную функцию. После работы с этими элементами необходимо мыть руки.
Лица, использующие данное вещество, должны иметь в виду, что, согласно информации, имеющейся в распоряжении компетентных органов штата Калифорния, оно содержит химическое соединение (соединения), отнесенные к категории канцерогенных, способных вызвать врождённые пороки и оказывающих вредное воздействие на репродуктивную систему человека.
Конструкция данной машины соответствует требованиям стандарта EN ISO 5395 (при условии, что вами выполнены процедуры настройки) и стандарта ANSI B71.4-2017.
Данное изделие может привести к травматической ампутации конечностей, а также к травмированию отброшенными предметами.
Перед запуском двигателя прочтите и усвойте содержание настоящего Руководства оператора.
Будьте предельно внимательны при работе на данной машине. Во избежание травмирования людей или повреждения имущества не отвлекайтесь во время работы.
Не помещайте руки и ноги рядом с движущимися компонентами машины.
Не допускается эксплуатация машины без установленных на штатных местах всех ограждений и других защитных устройств в надлежащем исправном состоянии.
Не допускайте детей, посторонних лиц и домашних животных в рабочую зону. Запрещается допускать детей к эксплуатации машины.
Прежде чем покинуть рабочее место оператора, заглушите двигатель, извлеките ключ и дождитесь остановки всех движущихся частей машины. Дайте машине остыть перед регулировкой, техническим обслуживанием, очисткой или помещением на хранение.
Нарушение правил
эксплуатации или
технического обслуживания
машины может привести
к травме. Чтобы
снизить вероятность
травмирования,
выполняйте правила
техники безопасности
и всегда обращайте
внимание на символы,
предупреждающие
об опасности (
, которые
имеют следующее
значение: «Осторожно!»,
«Внимание!» или
«Опасно!» — указания
по обеспечению
личной безопасности.
Несоблюдение данных
инструкций может
стать причиной
травмы или гибели.
![]() |
Предупреждающие наклейки и инструкции по технике безопасности должны быть хорошо видны оператору и установлены во всех местах потенциальной опасности. Если наклейка отсутствует или повреждена, установите новую наклейку. |






















Note: Определите левую и правую стороны машины относительно места оператора.
Перед первым запуском двигателя проверьте уровни следующих рабочих жидкостей:
Моторное масло
Охлаждающая жидкость двигателя
Гидравлическая жидкость
Масло в заднем мосту
Детали, требуемые для этой процедуры:
| Подъемная цепь | 7 |
| Кронштейн цепи | 7 |
| U-образный болт | 7 |
| Гайка | 14 |
| Винт | 7 |
| Шайба | 7 |
| Гайка | 7 |
| Большое уплотнительное кольцо | 7 |
| Откидная опора | 1 |
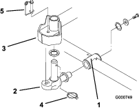
Снимите опрокидыватели в сборе (если они установлены) с подъемных рычагов № 1, № 2 и № 3, чтобы предотвратить возможный контакт с несущими рамами режущих блоков.
Отверните контргайку с шайбой, крепящие ось поворота к подъемному рычагу № 2 (Рисунок 3). Снимите ось поворота и пружину с подъемного рычага. Повторите эту процедуру для подъемных рычагов № 1 и № 3.

Note: Кронштейн опрокидывателя с роликом и опорные кронштейны опрокидывателя не требуются при эксплуатации режущих блоков DPA (Рисунок 3).
Отсоедините подъемные цепи от режущих блоков, если они подсоединены.
Установите кронштейн цепи на каждый подъемный рычаг с помощью U-образного болта и 2 гаек. Расположите кронштейны следующим образом:
Note: Для определения положения подъемных рычагов с соответствующими номерами см. Рисунок 4.

На подъемных рычагах № 1, № 4 и № 5 расположите кронштейны цепей и U-образные болты на расстоянии 38,1 см от осевой линии поворотного кулака (Рисунок 5).
На подъемных рычагах № 1 и № 5 кронштейны необходимо повернуть вправо на угол 10 градусов относительно вертикали (Рисунок 5).
На подъемном рычаге № 4 кронштейн необходимо повернуть влево на угол 10 градусов относительно вертикали (Рисунок 5).

На подъемных рычагах № 2 и № 3 расположите кронштейны и U-образные болты на расстоянии 38,1 см от осевой линии поворотного кулака (Рисунок 6).
Note: Поверните кронштейны на 45 градусов в направлении наружной стороны машины.

На подъемных рычагах № 6 и № 7 расположите кронштейны и U-образные болты на расстоянии 36,8 см от осевой линии поворотного кулака (Рисунок 7).
Note: Поверните кронштейны на 10 градусов в направлении наружной стороны машины.

Затяните все гайки U-образных болтов с моментом от 52 до 65 Н∙м.
Установите подъемную цепь на каждый кронштейн цепи с помощью винта, шайбы и гайки, расположив их так, как показано на Рисунок 8.

При наклоне режущего блока для получения доступа к неподвижному ножу и барабану обоприте заднюю часть режущего блока на откидную опору, чтобы гайки, установленные на регулировочных винтах планки неподвижного ножа, не контактировали с рабочей поверхностью (Рисунок 9).

В большинстве случаев наиболее эффективное разбрасывание достигается при закрытом заднем щитке (выброс вперед). В тяжелых или влажных условиях можно открыть задний щиток.
Чтобы открыть задний щиток (Рисунок 10), ослабьте колпачковый винт, крепящий щиток к левой боковой пластине, поверните щиток в открытое положение и затяните колпачковый винт.

Все режущие блоки поставляются с противовесом, установленным с левой стороны режущего блока. Для определения расположения противовесов и двигателей барабанов используйте следующую схему.
Note: У некоторых тяговых блоков есть только 5 режущих блоков

На режущих блоках № 2, № 4 и № 6 отверните 2 колпачковых винта, которыми противовес крепится к левому концу режущего блока.
Note: Снимите противовес (Рисунок 12).

На правом конце режущего блока снимите пластиковую заглушку с корпуса подшипника (Рисунок 13).
Выверните 2 колпачковых винта из правой боковой пластины (Рисунок 13).

Установите противовес на правом конце режущего блока с помощью 2 винтов, снятых ранее.
Установите, не затягивая, 2 монтажных винта двигателя барабана в левую боковую пластину режущего блока (Рисунок 13).
На Рисунок 14 показано расположение приводного гидромотора для каждого из положений режущего блока. Для каждого из положений, в котором требуется установка двигателя на правом конце режущего блока, установите противовес на левом конце режущего блока. Для каждого из положений, в котором требуется установка двигателя на левом конце, установите противовес на правом конце режущего блока.
Note: При поставке монтажные колпачковые винты противовесов установлены на правом корпусе подшипников режущих блоков. Колпачковые винты на левом корпусе подшипника должны использоваться для крепления гидромотора.

Освободите режущие блоки от упаковки. Установите и отрегулируйте их в соответствии с инструкциями, приведенными в Руководстве оператора режущего блока.
Снимите защитные заглушки с каждого конца режущего блока.
Смажьте и установите большое уплотнительное кольцо в канавку корпуса подшипника на каждом конце режущего блока (Рисунок 15 и Рисунок 18).

Note: Перед установкой гидромоторов или противовесов режущего блока смажьте консистентной смазкой внутренние шлицы на валах барабанов режущих блоков.
Установите противовес на соответствующий конец каждого режущего блока с помощью прилагаемых колпачковых винтов (Рисунок 15).
Тщательно смажьте подшипники барабанов режущих блоков перед установкой на тяговый блок. Консистентная смазка должна быть видна на уплотнениях барабанов с внутренней стороны; см. порядок смазывания в Руководстве оператора для режущего блока.
Наденьте упорную шайбу на горизонтальный вал поворотного кулака, как показано на Рисунок 16

Вставьте горизонтальный вал поворотного кулака в монтажную трубу несущей рамы (Рисунок 16).
Прикрепите поворотный кулак к несущей раме с помощью упорной шайбы, плоской шайбы и колпачкового винта с фланцевой головкой (Рисунок 16).
Наденьте упорную шайбу на вертикальный вал поворотного кулака (Рисунок 16).
Вставьте вертикальный вал (если он был снят) поворотного кулака в поворотную ступицу подъемного рычага (Рисунок 16). Переместите поворотный кулак на его штатное место между двумя резиновыми центрирующими бамперами в зоне под пластиной рулевого управления подъемного рычага.
Вставьте шплинт с кольцом в поперечное отверстие вала поворотного кулака (Рисунок 16).
Отверните гайку крепления монтажного кронштейна пружины компенсации состояния травяного покрова к проушине стабилизатора режущего блока (Рисунок 17). Установите цепь опрокидывателя на колпачковый винт и закрепите ее ранее снятой гайкой.

Установите двигатель на приводной конец режущего блока и закрепите его 2 колпачковыми винтами (Рисунок 18).

Note: Если требуется неподвижное положение режущего блока, вставьте стопорный штифт рулевого управления в монтажное отверстие поворотного кулака (Рисунок 16).
Зацепите конец пружины за нижнюю часть стопорного штифта рулевого управления (Рисунок 16).
Пружина компенсации травяного покрова переносит вес с переднего валика на задний. Это препятствует образованию на грунте волнообразных неровностей (так называемых «волн» или «трясок»).
Important: Регулировка пружины производится при направленном вперед и опущенном на пол режущем блоке (установленном на тяговом блоке).
Убедитесь, что игольчатый шплинт вставлен в заднее отверстие штока пружины (Рисунок 19).

Затяните шестигранные гайки на переднем конце штока пружины так, чтобы длина сжатой пружины была равна 15,9 см; см. Рисунок 19.
Note: При работе на неровной поверхности уменьшите длину пружины на 12,7 мм. Способность следования рельефу местности будет немного снижена.
Note: При изменении настроек высоты или интенсивности скашивания необходимо вновь выполнить настройку компенсации состояния травяного покрова.
На заводе трактор соответствующим образом настраивается для выполнения большинства видов скашивания фарвеев. В разделе по техническому обслуживанию режущего блока описаны несколько регулировок для точной настройки машины под определенные виды применения:
Регулировка скорости опускания режущего блока
Регулируется скорость, с которой опускаются режущие блоки.
Регулировка высота в поднятом положении наружных передних режущих блоков
Регулируется высота возврата наружных передних режущих блоков, чтобы обеспечить больший дорожный просвет на фарвеях с криволинейным контуром поверхности.
Регулировка рабочего хода передних трех режущих блоков
Регулируется рабочий ход вниз передних трех режущих блоков, чтобы можно было работать на фарвеях с сильной криволинейностью контура поверхности.
Детали, требуемые для этой процедуры:
| Хлорид кальция (приобретается отдельно) | 45 кг |
| Комплект заднего груза № по кат. 104-1478 (приобретается отдельно) | 1 |
Чтобы выполнить требования стандартов EN ISO 5395 и ANSI B71.4-2017, добавьте 45 кг балласта в виде хлорида кальция к задним колесам и установите комплект заднего груза (№ по кат. 104-1478).
Important: Если произойдет прокол шины, заполненной раствором хлорида кальция, как можно скорее отведите машину с зеленой площадки. Чтобы предотвратить возможное повреждение травяного покрова, немедленно залейте пораженную зону водой.
Детали, требуемые для этой процедуры:
| Предупреждающая наклейка | 1 |
| Наклейка CE | 1 |
| Наклейка, указывающая год выпуска | 1 |
На машинах, которые должны соответствовать стандартам ЕС, приклейте наклейку, указывающую год выпуска (№ по кат. 133-5615), рядом с табличкой с серийным номером, наклейку CE (№ по кат. 93-7252) рядом с защелкой капота и предупреждающую наклейку CE (№ по кат. 115-2046) поверх стандартной предупреждающей наклейки (№ по кат. 115-2045).
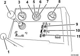
Педаль управления тягой (Рисунок 20) управляет движением вперед и назад. Нажимайте на верхнюю часть педали для движения вперед и на нижнюю – для движения назад. Скорость движения зависит от усилия нажатия на педаль. Для получения максимальной скорости движения полностью нажмите педаль, когда дроссельная заслонка установлена в положение Быстро.
Чтобы остановить машину, ослабьте нажим на педаль тяги и дайте ей вернуться в среднее положение.

Выполните предварительную регулировку ограничителя скорости при движении вперед (Рисунок 20) для ограничения усилия нажатия на педаль тяги при движении вперед, чтобы поддерживать постоянную скорость скашивания.
Красный диагностический световой индикатор (Рисунок 20) расположен на рулевой колонке и предназначен для отображения нескольких различных сообщений оператору. Во время запуска машины этот световой индикатор загорается, когда включены свечи предпускового подогрева.
Если этот индикатор мигает во время работы, это может означать одно из следующих нарушений:
Машина работает на скорости, превышающей максимальное значение, первоначально запрограммированное в ECU (электронном блоке управления).
Обнаружена электрическая неисправность (разрыв или короткое замыкание на выходе).
Обнаружена утечка гидравлической жидкости (только в случае, если на машине установлен детектор утечки Turfdefender)
Обнаружена ошибка обмена данными (только в случае, если на машине установлен детектор утечки Turfdefender)
Ключ замка зажигания (Рисунок 20) имеет три положения: ВЫКЛ, ВКЛ/ПОДОГРЕВ и ПУСК.
Спидометр (Рисунок 20) показывает скорость движения машины.
Для облегчения поворотов, парковки и для улучшения тяги при движении поперек склона две педали тормоза (Рисунок 20) управляют индивидуальными колесными тормозами. Для включения стояночного тормоза и для транспортировки педали соединяются стопорным штифтом.
Ручка на левой стороне пульта включает фиксатор стояночного тормоза (Рисунок 20). Для включения стояночного тормоза соедините педали с помощью стопорного штифта, нажмите на обе педали и вытяните фиксатор стояночного тормоза. Для отпускания стояночного тормоза нажимайте на обе педали до отвода фиксатора стояночного тормоза.
Отрегулируйте винт (Рисунок 20) для ограничения усилия нажатия на педаль тяги при движении в обратном направлении, чтобы ограничить скорость.
Этот рычаг (Рисунок 21) поднимает и опускает режущие блоки, а также запускает и останавливает барабаны, когда они включены в режиме скашивания. Режущие блоки нельзя опустить, когда рычаг скашивания/транспортировки находится в положении транспортировки.
Указатель топлива (Рисунок 21) показывает уровень топлива в баке.
Этот индикатор (Рисунок 21) указывает на опасно низкое давление масла в двигателе.

Переведите рычаг (Рисунок 21) вперед для увеличения частоты вращения двигателя и назад для ее уменьшения.
Этот световой индикатор (Рисунок 21) загорается и двигатель выключается, когда температура охлаждающей жидкости двигателя достигает опасного высокого значения.
Когда этот световой индикатор горит (Рисунок 21), он указывает на то, что включены свечи предпускового подогрева.
Используйте переключатель «Включено/выключено» вместе с рычагом управления режущими блоками (подъем/опускание и скашивание) (Рисунок 21).
Счетчик моточасов (Рисунок 22) показывает полную наработку машины в часах.

Используйте ручки заточки обратным вращением (Рисунок 23) вместе с рычагом управления lower mow/raise (опускание и скашивание/подъем) для заточки режущих блоков методом обратного вращения. См. раздел Заточка режущих блоков обратным вращением.

Рычаг регулировки сиденья (Рисунок 25) позволяет отрегулировать положение сиденья в продольном направлении. Ручка регулировки сиденья (Рисунок 25) регулирует сиденье под массу оператора Чтобы переместить сиденье вперед или назад, потяните наружу рычаг на левой стороне сиденья в сборе. После перемещения сиденья в нужное положение отпустите рычаг, чтобы зафиксировать сиденье. Для регулировки сиденья под массу оператора поверните подпружиненную ручку – по часовой стрелке для увеличения натяжения пружины и против часовой стрелки – для его уменьшения.

Машина оборудована диагностическим световым индикатором, который показывает правильность работы электронного контроллера. Зеленый диагностический световой индикатор (Рисунок 26) расположен под панелью управления рядом с блоком предохранителей. Этот диагностический световой индикатор загорается, если электронный контроллер работает правильно и ключ установлен в положение ON (Вкл.). Если контроллер обнаруживает неисправность в электрической системе, индикатор мигает. Индикатор перестает мигать и автоматически переустанавливается в исходное положение при повороте ключа в положение OFF (Выкл.)

Когда диагностический индикатор контроллера мигает, это означает, что контроллер обнаружил одну из следующих проблем:
Короткое замыкание на одном из выходов.
Разрыв контура на одном из выходов.
Используя диагностический дисплей, определите, какой выход неисправен; см. раздел Проверка блокировочных выключателей.
Если диагностический индикатор не загорается, когда ключ зажигания находится в положении Вкл., это означает, что электронный регулятор не работает. В число возможных причин входит следующее:
Не подсоединен шлейфовый разъем.
Лампочка индикатора перегорела.
Перегорели предохранители.
Нет питания от аккумулятора.
Проверьте электрические соединения, входные предохранители и лампочку диагностического индикатора, чтобы найти неисправность. Убедитесь, что шлейфовый разъем подсоединен к разъему жгута проводов.
Машина оборудована электронным контроллером, который управляет большинством функций машины. Контроллер определяет, какая функция нужна для различных входных переключателей (т.е. переключатель сиденья, ключ замка зажигания и т.п.), и включает выходы для приведения в действие электромагнитов или реле для выполнения запрошенной функции машины.
Чтобы электронный контроллер мог правильно управлять машиной, каждый из входных переключателей, выходных электромагнитов и реле должен быть подсоединен и работать надлежащим образом.
Диагностический дисплей ACE – это инструмент для облегчения проверки исправности электрических функций машины.
Note: Технические характеристики и конструкция могут быть изменены без предупреждения.
| Ширина скашивания | 338 см |
| Габаритная ширина – транспортное положение | 226 см |
| Габаритная ширина – рабочее положение | 279 см |
| Габаритная длина | 305 см |
| Высота при установленной системе защиты при опрокидывании (ROPS) | 213 см |
| Масса* | 1792 кг |
| * С установленными режущими блоками с 5 ножами и полностью заправленными рабочими жидкостями. | |
Для улучшения и расширения возможностей машины можно использовать ряд утвержденных компанией Toro вспомогательных приспособлений и навесного оборудования. Обратитесь в сервисный центр официального дилера или дистрибьютора или посетите сайт www.Toro.com, на котором приведен список всех утвержденных навесных орудий и вспомогательных приспособлений.
Для поддержания оптимальных рабочих характеристик машины и регулярного прохождения сертификации безопасности всегда приобретайте только оригинальные запасные части и приспособления компании Toro. Использование запасных частей и приспособлений, изготовленных другими производителями, может быть опасным и привести к аннулированию гарантии на изделие.
Запрещается допускать к эксплуатации или обслуживанию данной машины детей или неподготовленных людей. Минимальный возраст оператора устанавливается местными правилами и нормами. Владелец несет ответственность за подготовку всех операторов и механиков.
Ознакомьтесь с приемами безопасной эксплуатации оборудования, органами управления и знаками безопасности.
Прежде чем приступать к регулировке, техническому обслуживанию, очистке или размещению машины на хранение, всегда выполняйте следующие действия: заглушите двигатель, извлеките ключ, дождитесь остановки всех движущихся частей и дайте машине остыть.
Освойте порядок экстренной остановки машины и двигателя.
Не допускается эксплуатация машины без установленных на штатных местах всех ограждений и других защитных устройств в надлежащем исправном состоянии.
Перед скашиванием обязательно осмотрите машину, чтобы убедиться в исправном рабочем состоянии режущих блоков.
Осмотрите участок, где будет использоваться машина, и удалите все посторонние предметы, которые могут быть отброшены машиной.
Будьте предельно осторожны при обращении с топливом. Топливо легко воспламеняется, а его пары взрывоопасны.
Потушите все сигареты, сигары, трубки и другие источники возгорания.
Используйте только разрешенную к применению емкость для топлива.
Запрещается снимать крышку топливного бака и доливать топливо в бак во время работы двигателя или когда двигатель нагрет.
Запрещается доливать или сливать топливо в закрытом пространстве.
Запрещается хранить машину или емкость с топливом в местах, где есть открытое пламя, искры или малая горелка, используемая, например, в водонагревателе или другом оборудовании.
В случае разлива топлива не пытайтесь запустить двигатель; пока пары топлива не рассеются, следите, чтобы не возникло возгорания.
| Периодичность технического обслуживания | Порядок технического обслуживания |
|---|---|
| Перед каждым использованием или ежедневно |
|
Каждый день перед запуском автомобиля необходимо выполнять «Процедуру ежедневного обслуживания», описанную в разделе .
Емкость топливного бака:57 литров
Используйте только чистое, свежее дизельное или биодизельное топливо с низким (<500 частей/млн) или сверхнизким (<15 частей/млн) содержанием серы. Минимальное цетановое число – 40. Чтобы топливо всегда было свежим, приобретайте его в количествах, которые могут быть использованы в течение 180 дней.
Используйте летнее дизельное топливо (№ 2-D) при температурах выше 20°F (-7°C) и зимнее (№ 1-D или смесь № 1-D/2-D) при более низких температурах. Применение зимнего топлива при пониженных температурах обеспечивает более низкую температуру вспышки и достаточную текучесть при низких температурах, что облегчает пуск двигателя и уменьшает засорение топливного фильтра.
Применение летнего топлива при температурах выше -7°C способствует увеличению срока службы топливного насоса и обеспечивает повышенную мощность по сравнению с зимним топливом.
Important: Не допускается вместо дизельного топлива использовать керосин или бензин. При несоблюдении этого предупреждения двигатель выйдет из строя.
Готовность к работе на биодизельном топливе
Данная машина может также работать на смеси с биодизельным топливом в пропорции до B20 (20% биодизтоплива, 80% нефтяного дизтоплива). Нефтяное дизтопливо должно иметь низкое или сверхнизкое содержание серы. Соблюдайте следующие меры предосторожности:
Биодизельная часть топлива должна отвечать стандартам ASTM D6751 или EN14214.
Состав смешанного топлива должен отвечать стандартам ASTM D975 или EN590.
Биодизельные смеси могут повредить окрашенные поверхности.
В холодную погоду используйте смеси B5 (содержание биодизельного топлива 5%) или менее.
Проверяйте уплотнения, шланги и прокладки, находящиеся в контакте с топливом, т. к. они со временем изнашиваются.
После перехода на биодизельные смеси со временем можно ожидать засорения топливного фильтра.
Для получения дополнительной информации о биодизельном топливе обратитесь к своему дистрибьютору.
Припаркуйте машину на ровной горизонтальной поверхности, опустите режущие блоки, заглушите двигатель, включите стояночный тормоз и извлеките ключ.
Очистите область вокруг крышки топливного бака чистой ветошью.
Снимите крышку топливного бака (Рисунок 27).

Заполните топливный бак топливом до нижней кромки заливной горловины.
После заправки плотно закрутите крышку топливного бака.
Note: Если возможно, заправляйте топливный бак после каждого использования машины. Это поможет свести к минимуму возможное накапливание конденсата внутри топливного бака.
Владелец или пользователь несет полную ответственность за любые несчастные случаи с людьми, а также за нанесение ущерба имуществу, и должен предпринять все меры для предотвращения таких случаев.
Используйте подходящую одежду, включая защитные очки, длинные брюки, нескользящую прочную обувь и средства защиты органов слуха. Закрепляйте длинные волосы на затылке и не носите свободную одежду и ювелирные украшения.
Запрещается управлять машиной в состоянии болезни, усталости, а также под воздействием алкоголя или сильнодействующих лекарственных препаратов.
Будьте предельно внимательны при работе на данной машине. Во избежание травмирования людей или повреждения имущества не отвлекайтесь во время работы.
Прежде чем запускать двигатель, убедитесь, что все приводы находятся в нейтральном положении, включите стояночный тормоз и займите место оператора.
Не перевозите на машине пассажиров и не допускайте посторонних лиц и животных в рабочую зону работы машины.
Эксплуатируйте машину только в условиях хорошей видимости, чтобы уберечься от ям или скрытых опасностей.
Не скашивайте влажную траву. Пониженная тяга может вызвать проскальзывание.
Следите, чтобы руки и ноги находились на безопасном расстоянии от режущих блоков.
Прежде чем начать движение задним ходом, посмотрите назад и вниз и убедитесь, что путь свободен.
Будьте осторожны, приближаясь к закрытым поворотам, кустарникам, деревьям или к другим объектам, которые могут ухудшать обзор.
Всегда останавливайте режущие блоки, когда не косите.
При выполнении поворотов, а также при пересечении дорог и тротуаров на машине замедляйте ход и будьте внимательны. Всегда уступайте дорогу другим транспортным средствам.
Запрещается включать двигатель в закрытом пространстве, где могут накапливаться выхлопные газы.
Запрещается оставлять работающую машину без присмотра.
Прежде чем покинуть рабочее место оператора (в том числе для опорожнения устройств для подбора травы или очистки режущих блоков), выполните следующие действия:
Установите машину на ровной поверхности.
Выключите режущие блоки и опустите навесное оборудование.
Включите стояночный тормоз.
Выключите двигатель и извлеките ключ из замка зажигания.
Дождитесь остановки всех движущихся частей.
Эксплуатируйте машину только при наличии хорошего обзора и в подходящих погодных условиях. Запрещается работать на машине, если существует вероятность удара молнией.
Не снимайте с машины какие-либо компоненты конструкции ROPS.
Убедитесь, что ремень безопасности застегнут и вы можете быстро отстегнуть его в экстренной ситуации.
Всегда застегивайте ремень безопасности.
Тщательно проверяйте наличие препятствий сверху и не касайтесь их.
Содержите конструкцию ROPS (систему защиты при опрокидывании) в безопасном рабочем состоянии, периодические тщательно осматривая ее на наличие повреждений, и проверяя плотность затяжки креплений.
Заменяйте поврежденные компоненты конструкции ROPS. Ремонт или переделка запрещены.
Основная опасность при работе на склонах — потеря управляемости и опрокидывание машины, которое может привести к травме или гибели. Вы несете ответственность за безопасную работу на склонах. Эксплуатация машины на любых склонах требует максимальной осторожности.
Осмотрите склон и оцените условия на площадке, чтобы определить, безопасно ли работать на данном склоне. При выполнении этого осмотра всегда руководствуйтесь здравым смыслом и правильно оценивайте ситуацию.
Прежде чем начать работу на машине на склоне, ознакомьтесь с инструкциями по эксплуатации машины на склонах, приведенными ниже. Прежде чем работать на машине, оцените условия на площадке, чтобы определить, можно ли будет работать на машине при таких условиях в этот день и на этой рабочей площадке. Режим работы машины на склоне может меняться в зависимости от рельефа местности.
Старайтесь не начинать движение, не останавливаться и не поворачивать на склоне. Не изменяйте резко скорость или направление движения. Выполняйте повороты медленно и плавно.
Не эксплуатируйте машину в условиях, когда имеются сомнения относительно сцепления с грунтом, управляемости или устойчивости машины.
Устраните или пометьте препятствия, такие как канавы, ямы, колеи, впадины, камни или другие скрытые опасности. Высокая трава может скрывать различные препятствия. При движении по неровной поверхности машина может перевернуться.
Помните, что при работе на влажной траве, а также при движении поперек поверхности склонов или вниз по склону машина может потерять сцепление колес с поверхностью.
Будьте предельно осторожны при работе на машине рядом с обрывами, канавами, насыпями, водоемами или другими опасностями. Машина может внезапно опрокинуться в случае обрушения кромки. Поддерживайте установленную безопасную дистанцию между машиной и любой опасностью.
Находясь у основания склона, оцените степень его опасности. Если работа на машине опасна, скашивайте траву на склоне с помощью газонокосилки, управляемой идущим сзади оператором.
Во время работы на склонах старайтесь держать режущие блоки опущенными на землю. Подъем режущих блоков во время работы на склоне может привести к потере устойчивости машины.
Сядьте на сиденье, не ставьте ногу на педаль тяги, чтобы она находилась в положении NEUTRAL (Нейтральное), включите стояночный тормоз, переведите переключатель скорости двигателя в положение SLOW (Медленно) и убедитесь в том, что переключатель Enable/Disable (Включено/выключено) находится в положении DISABLE (Выключено).
Поверните ключ в положение ON/PREHEAT (Вкл./Подогрев). Автоматический таймер управляет предпусковым подогревом, который длится приблизительно 6 секунд.
Когда индикатор прогрева погаснет, поверните ключ в положение Пуск. После запуска двигателя сразу отпустите ключ и дайте ему вернуться в положение РАБОТА. Дайте двигателю прогреться (без нагрузки) и установите регулятор дроссельной заслонки в нужное положение.
Проворачивайте коленчатый вал двигателя стартером в течение не более 15 секунд. Когда двигатель заведется, отпустите ключ. Если требуется дополнительный предпусковой подогрев, поверните ключ в положение OFF (Выкл.), затем снова поверните в положение ON/PEHEAT (Вкл./Подогрев). Повторите эти действия по мере необходимости.
Переведите орган управления дроссельной заслонкой в положение IDLE (Холостой ход), переведите переключатель привода барабана в положение DISENGAGE (Выключено) и поверните ключ в положение OFF (Выкл.).
Note: Извлеките ключ из замка зажигания для предотвращения случайного запуска.
Important: После работы при полной нагрузке дайте двигателю перед отключением поработать 5 минут на холостом ходу. При невыполнении этого требования турбонагнетатель может выйти из строя.
Note: Опустите режущие блоки на землю. При этом давление стравливается из контура подъема и исключается возможность случайного опускания режущих блоков на землю.
Припаркуйте машину на ровной горизонтальной поверхности, опустите режущие блоки, заглушите двигатель, включите стояночный тормоз и извлеките ключ.
Убедитесь, что топливный бак заполнен по меньшей мере наполовину.
Расфиксируйте и поднимите капот.
Откройте вентиляционную пробку топливного фильтра / водоотделителя (Рисунок 28)

Поверните ключ в положение ON (Вкл.). Электрический топливный насос начнет работать и будет вытеснять воздух через зазор вокруг вентиляционной пробки. Держите ключ в положении ON (Вкл.) до тех пор, пока через пробку не пойдет сплошной поток топлива. Затяните пробку и поверните ключ в положение OFF (Выкл.)
Выверните продувочный винт из топливного насоса (Рисунок 29).

Поверните ключ в положение ON (Вкл.). Электрический топливный насос начнет работать, вытесняя воздух через продувочный винт. Держите ключ в положении Вкл. до тех пор, пока через винт не пойдет сплошной поток топлива. Затяните винт и поверните ключ в положение Выкл.
Note: Обычно после выполнения вышеуказанной процедуры двигатель должен запуститься. Если двигатель все равно не запускается, возможно, между насосом для впрыска топлива и инжекторами остался воздух; см. Стравливание воздуха из инжекторов.
Блокировочные выключатели предназначены для предотвращения прокручивания или запуска двигателя во всех случаях за исключением ситуации, когда педаль тяги находится в нейтральном положении, переключатель «Включено/выключено» находится в положении Выключено, а рычаг управления режущими блоками (подъем/опускание и скашивание) находится в нейтральном положении. Кроме того, двигатель должен остановиться при нажатии педали тяги, когда вы не находитесь на сиденье или когда включен стояночный тормоз.
В случае отсоединения или повреждения защитных блокировочных выключателей возможно непредвиденное срабатывание машины, которое может привести к получению травм.
Не вмешивайтесь в работу блокировочных выключателей.
Ежедневно проверяйте работу блокировочных выключателей и заменяйте все поврежденные выключатели перед эксплуатацией машины.
| Периодичность технического обслуживания | Порядок технического обслуживания |
|---|---|
| Перед каждым использованием или ежедневно |
|
Припаркуйте машину на ровной горизонтальной поверхности, опустите режущие блоки, заглушите двигатель, включите стояночный тормоз и извлеките ключ.
Откройте крышку панели управления. Найдите жгут проводов и шлейфовый разъем. Осторожно отсоедините шлейфовый разъем от разъема жгута проводов (Рисунок 30).

Подсоедините разъем диагностического дисплея ACE к соединителю жгута проводов (Рисунок 31). Убедитесь в том, что на диагностическом дисплее ACE установлена надлежащая накладка.

Поверните ключ в положение ON (Вкл.), но не запускайте машину.
Note: Красный текст на наклейке обозначает входные переключатели, зеленый — выходы.
Должен гореть светодиод inputs displayed (показаны входы) в нижнем правом столбце диагностического дисплея ACE. Если горит светодиод outputs displayed (показаны выходы), нажмите и отпустите кнопку переключения на диагностическом дисплее ACE, чтобы загорелся светодиод inputs displayed (показаны входы). Не удерживайте кнопку нажатой.
На диагностическом дисплее ACE будет загораться светодиод, связанный с каждым из входов, при замыкании соответствующего входного переключателя.
Выполните переключение каждого переключателя из разомкнутого в замкнутое положение по отдельности (т.е. займите место на сиденье, задействуйте педаль тяги и т.п.), при этом следите за тем, чтобы соответствующий светодиод на диагностическом дисплее ACE включался и выключался при замыкании соответствующего переключателя. Выполните эти действия с каждым переключателем, который можно переключить вручную.
Если переключатель замкнут, а соответствующий светодиод не загорается, проверьте всю проводку и соединения до этого переключателя и/или проверьте переключатели с помощью омметра. Замените любые поврежденные переключатели и отремонтируйте любую неисправную электропроводку.
У диагностического дисплея АСЕ также есть возможность определения, какие выходные электромагниты или реле включены. Этот способ позволяет быстро определить, является ли неисправность машины электрической или гидравлической.
Припаркуйте машину на ровной горизонтальной поверхности, опустите режущие блоки, заглушите двигатель, включите стояночный тормоз и извлеките ключ.
Откройте крышку панели управления. Найдите жгут проводов и разъемы рядом с регулятором. Осторожно отсоедините шлейфовый разъем от соединителя жгута проводов.
Подсоедините разъем диагностического дисплея ACE к разъему жгута проводов. Убедитесь в том, что на диагностическом дисплее ACE установлена требуемая накладка.
Поверните ключ в положение ON (Вкл.), но не запускайте машину.
Note: Красный текст на наклейке обозначает входные переключатели, зеленый — выходы.
В нижнем правом столбце диагностического дисплея ACE должен гореть светодиод «показаны выходы». Если горит светодиод inputs displayed (показаны входы), нажмите кнопку переключения на диагностическом дисплее ACE, чтобы загорелся светодиод outputs displayed (показаны выходы).
Note: Возможно, потребуется несколько раз переключиться между светодиодами «показаны входы» и «показаны выходы», чтобы выполнить следующее действие. Для переключения назад и вперед однократно нажмите кнопку переключения. Это можно делать столько раз, сколько потребуется. Не удерживайте кнопку нажатой.
Займите место на сиденье и попробуйте привести в действие нужную функцию машины. Соответствующие выходные светодиоды должны загореться, показывая, что электронный блок управления (ECU) включил эту функцию. (Для определения назначения определенных выходных светодиодов см. раздел Функции электромагнита гидравлического клапана.)
Note: Если какой-либо выходной светодиод мигает, это указывает на проблему с электрической частью для этого ВЫХОДА. Незамедлительно отремонтируйте или замените неисправные электрические компоненты. Чтобы сбросить мигающий светодиод, поверните ключ в положение Off (Выкл.) и затем обратно в положение On (Вкл.), а также очистите память ошибок контроллера; см. раздел Память ошибок и извлечение данных из памяти.
Если выходные светодиоды не мигают и надлежащие выходные светодиоды не загораются, убедитесь в том, что соответствующие входные переключатели установлены в требуемые положения, чтобы данная функция могла сработать. Проверьте правильность работы функции переключателя.
Если выходные светодиоды загораются правильно, но машина не работает надлежащим образом, это указывает на проблему, не связанную с электрической частью. При необходимости произведите ремонт.
Note: Из-за ограничений электрической системы выходные светодиоды функций Start (Запуск), Preheat (Предпусковой подогрев) и ETR/ALT (Подача питания на включение / генератор) могут не мигать даже при наличии электрических неисправностей этих функций. Если очевидно, что неисправность машины связана с одной из этих функций, проверьте соответствующий электрический контур с помощью вольт/омметра, чтобы убедиться в отсутствии неисправностей в этих функциях, связанных с электрической системой.
Если каждый входной переключатель находится в правильном положении и работает правильно, но выходные светодиоды не загораются надлежащим образом, это указывает на неисправность ECU. Если это произойдет, свяжитесь с официальным дистрибьютором компании Toro для получения помощи.
Если контроллер обнаруживает неисправность на одном из выходных электромагнитов, он включает мигание диагностического индикатора (диагностического индикатора барабана на консоли или зеленого диагностического индикатора под консолью) и сохраняет информацию о неисправности в памяти контроллера (ECU). После этого сведения о неисправности можно в любое время извлечь из памяти и просмотреть с помощью переносного диагностического инструмента ACE или портативного/настольного компьютера. Контроллер хранит сведения об одной неисправности за раз и не будет сохранять в памяти другую неисправность, пока первая неисправность не будет устранена.
Извлечение сохраненной информации о неисправностях (оператор не должен находиться на сиденье)
Поверните ключ в положение Выкл.
Подсоедините переносной диагностический инструмент к нужному шлейфовому разъему контроллера (используйте надлежащую накладку).
Переведите рычаг управления lower mow/raise (опускание и скашивание/подъем) в положение RAISE (Подъем) и удерживайте его в этом положении.
Поверните ключ в положение ON (Вкл.) и продолжайте удерживать рычаг управления lower mow/raise (опускание и скашивание/подъем) в положении RAISE (Подъем) до тех пор, пока не загорится верхний левый световой индикатор диагностического инструмента (приблизительно 2 секунды).
Отпустите рычаг управления lower mow/raise (опускание и скашивание/подъем) в среднее положение.
Переносной инструмент теперь воспроизведет неисправность, сохраненную в памяти контроллера.
Important: На дисплее будет отображено восемь (8) отдельных записей, при этом сообщение о неисправности будет отображено в 8-й записи. Каждая запись будет отображаться в течение 10 секунд. Убедитесь в том, что диагностический инструмент настроен на отображение «выходов», чтобы посмотреть неисправность. Будет мигать контур, в котором обнаружена проблема. Записи будут повторяться до тех пор, пока ключ не будет повернут в положение off (выкл.) Машина не запустится в этом режиме.
Очистка памяти неисправности (диагностический инструмент не требуется)
Поверните ключ в положение OFF (Выкл.)
Переведите переключатель заточки обратным вращением в положение Front or Rear Backlap (Обратное вращение для заточки передних или задних режущих блоков).
Переведите переключатель управления барабанами в положение Enable (Включено).
Переведите рычаг управления lower mow/raise (опускание и скашивание/подъем) в положение Raise (Подъем) и удерживайте его в этом положении.
Поверните ключ в положение On (Вкл.) и продолжайте удерживать рычаг управления lower mow/raise (опускание и скашивание/подъем) в положении RAISE (Подъем) до тех пор, пока не начнет мигать контрольный индикатор барабана (приблизительно 2 секунды).
Отпустите рычаг управления lower mow/raise (опускание и скашивание/подъем) и поверните ключ в положение OFF (Выкл.) Теперь память очищена.
Поверните переключатель заточки обратным вращением в положение OFF (Выкл.) и переключатель включения в положение DISABLE (Выключено).
Important: Дисплей диагностического прибора АСЕ нельзя оставлять подсоединенным к машине. Он не рассчитан на эксплуатацию в режиме ежедневного использования машины. После использования отсоедините диагностический дисплей АСЕ от машины и подсоедините шлейфовый разъем к соединителю жгута проводов. Машина не будет работать, если шлейфовый разъем не подсоединен к жгуту проводов. Храните диагностический дисплей ACE в сухом безопасном месте в помещении, но не на машине.
Перед скашиванием травы попрактикуйтесь в работе с машиной на открытой местности. Запустите и остановите двигатель. Двигайтесь на машине передним и задним ходом. Опускайте и поднимайте режущие блоки, включайте и выключайте барабаны. Когда вы почувствуете, что хорошо освоили машину, потренируйтесь работать вниз и вверх по склонам на разных скоростях.
Если во время работы загорится предупреждающий сигнал, немедленно прекратите работу на машине и устраните неисправность, прежде чем продолжать работу. Если вы будете управлять машиной, имеющей неисправность, это может привести к серьезному повреждению.
Important: Красный диагностический световой индикатор на рулевой колонке показывает, когда включены свечи предпускового подогрева. Не запускайте двигатель, пока не будет завершен цикл предпускового подогрева.
Запустите двигатель и переведите регулятор дроссельной заслонки в положение FAST (Быстро), чтобы двигатель работал с максимальной частотой вращения. Переведите переключатель Enable/Disable (Включено/выключено) в положение Enable (Включено) и используйте рычаг управления lower mow/raise (опускание и скашивание/подъем) для управления режущими блоками (передние режущие блоки отрегулированы по времени таким образом, что они опускаются раньше, чем задние). Для движения вперед и скашивания травы нажмите педаль управления тягой вперед. Поддерживайте такую скорость, при которой не загорается красный контрольный световой индикатор. Плавно увеличивайте или уменьшайте скорость тяги, чтобы сохранять надлежащее качество среза.
Переведите переключатель Enable/Disable (Включено/выключено) в положение Disable (Выключено) (среднее положение), соедините педали тормоза друг с другом фиксатором и поднимите режущие блоки в положение транспортировки. При проезде между объектами будьте внимательны, чтобы случайно не повредить машину или режущие блоки. Управляя машиной на склонах, будьте предельно осторожны. Во избежание опрокидывания двигайтесь медленно и старайтесь не делать резких поворотов на склонах. Для рулевого управления опустите режущие блоки при движении вниз по склону.
Прежде чем покинуть рабочее место оператора, заглушите двигатель, извлеките ключ и дождитесь остановки всех движущихся частей машины. Дайте машине остыть перед регулировкой, техническим обслуживанием, очисткой или помещением на хранение.
Для предотвращения опасности возгорания очистите от травы и мусора режущие блоки, приводы, глушители, сетки охладителей и двигательный отсек. Удалите следы утечек масла или топлива.
Перекрывайте подачу топлива при хранении или транспортировке машины.
Отключайте привод навесного оборудования при транспортировке или когда машина не используется.
Обслуживайте и очищайте ремень (ремни) безопасности по мере необходимости.
Запрещается хранить машину или емкость с топливом в местах, где есть открытое пламя, искры или малая горелка, используемая, например, в водонагревателе или другом оборудовании.
При погрузке машины на прицеп или грузовик используйте широкий наклонный въезд.
Надежно привяжите машину в точках крепления.
В экстренной ситуации машину можно перемещать толканием или буксировкой, предварительно активировав перепускной клапан в гидравлическом насосе переменного объема.
Important: Во избежание выхода из строя трансмиссии запрещено перемещать машину толканием или буксировкой со скоростью свыше 3–4,8 км/ч. При толкании или буксировке машины всегда должен быть открыт перепускной клапан.
Перепускной клапан расположен на верхней части гидравлического насоса переменного объема (Рисунок 34). Чтобы открыть клапан и обеспечить внутренний перепуск масла, поверните клапан на 90° в любом направлении.
Note: После этого машину можно будет медленно перемещать без риска повреждения трансмиссии.

Перед пуском двигателя закройте перепускной клапан.
Important: Работа двигателя при открытом перепускном клапане может привести к перегреву трансмиссии.
Note: При закрывании клапана не превышайте крутящий момент 7–11 Н∙м.
Используйте список ниже, чтобы найти расположение и описание различных функций электромагнитов в гидравлическом коллекторе. Чтобы функция смогла сработать, на соответствующий электромагнит должно быть подано питание.
| Электромагнит | Функция |
|---|---|
| MSV1 | Контур переднего барабана |
| MSV2 | Контур заднего барабана |
| SV4 | Подъем передних режущих блоков крыльев |
| SV3 | Подъем переднего среднего режущего блока |
| SV5 | Подъем задних режущих блоков |
| SV1 | Подача давления в гидравлический контур подъема/опускания |
| SV2 | Направление: ON (ВКЛ.) = подъем, OFF (ВЫКЛ.) = опускание |
| SV6 | Левый задний режущий блок крыла |
| SV7 | Правый задний режущий блок крыла |
| SV8 | Удерживание нагрузки |
Note: Определите левую и правую стороны машины относительно места оператора.
Прежде чем начать регулировку, очистку, техобслуживание или покинуть машину, выполните следующее:
Установите машину на ровной поверхности.
Переведите переключатель дроссельной заслонки в положение «Малые обороты холостого хода».
Выключите режущие блоки.
Опустите режущие блоки.
Убедитесь, что педаль управления тягой находится в нейтральном положении.
Включите стояночный тормоз.
Выключите двигатель и извлеките ключ из замка зажигания.
Дождитесь остановки всех движущихся частей.
Прежде чем выполнять техническое обслуживание, дайте компонентам машины остыть.
По возможности не выполняйте техническое обслуживание на машине с работающим двигателем. Держитесь на безопасном расстоянии от движущихся частей.
При необходимости используйте подъемные опоры для поддержки машины и компонентов.
Осторожно сбрасывайте давление из компонентов с накопленной энергией.
Следите, чтобы все компоненты машины были в исправном состоянии, а все крепежные детали были затянуты.
Заменяйте изношенные или поврежденные наклейки.
Для обеспечения безопасной работы и поддержания оптимальных эксплуатационных характеристик машины используйте только оригинальные запасные части компании Toro. Использование запасных частей, изготовленных другими производителями, может быть опасным и привести к аннулированию гарантии на данное изделие.
| Периодичность технического обслуживания | Порядок технического обслуживания |
|---|---|
| Через первые 8 часа |
|
| Через первые 50 часа |
|
| Через первые 200 часа |
|
| Перед каждым использованием или ежедневно |
|
| Через каждые 25 часов |
|
| Через каждые 50 часов |
|
| Через каждые 100 часов |
|
| Через каждые 150 часов |
|
| Через каждые 200 часов |
|
| Через каждые 400 часов |
|
| Через каждые 800 часов |
|
| Через каждые 1000 часов |
|
| Через каждые 2000 часов |
|
| Через каждые 2 года |
|
Скопируйте эту страницу для повседневного использования.
| Позиция проверки при техобслуживании | Дни недели: | ||||||
|---|---|---|---|---|---|---|---|
| Пн. | Вт. | Ср. | Чт. | Пт. | Сб. | Вс. | |
| Проверьте работу защитных блокировок. | |||||||
| Проверьте работу тормозов. | |||||||
| Проверьте уровень моторного масла и топлива. | |||||||
| Опорожните водоотделитель для топлива. | |||||||
| Проверьте индикатор засорения воздушного фильтра. | |||||||
| Проверьте радиатор и решетку на наличие мусора. | |||||||
| Убедитесь в отсутствии необычных шумов двигателя.1 | |||||||
| Проверьте, нет ли необычных шумов при работе. | |||||||
| Проверьте уровень гидравлической жидкости. | |||||||
| Проверьте индикатор гидравлического фильтра. 2 | |||||||
| Проверьте гидравлические шланги на отсутствие повреждений. | |||||||
| Проверьте систему на наличие утечек жидкостей. | |||||||
| Проверьте давление воздуха в шинах. | |||||||
| Проверьте работу приборов. | |||||||
| Проверьте регулировку контакта барабана с неподвижным ножом. | |||||||
| Проверьте регулировку высоты скашивания. | |||||||
| Проверьте наличие консистентной смазки во всех масленках. 3 | |||||||
| Восстановите поврежденное лакокрасочное покрытие. | |||||||
|
1. В случае затрудненного пуска, чрезмерного дымления или неровной работы двигателя проверьте запальную свечу и сопла инжектора. 2. Производите проверку при работающем двигателе и рабочей температуре масла.. 3. Незамедлительно после каждой мойки, независимо от указанного интервала. |
|||||||
| Проверил: | ||
| Позиция | Дата | Информация |
| 1 | ||
| 2 | ||
| 3 | ||
| 4 | ||
| 5 | ||
| 6 | ||
| 7 | ||
| 8 | ||
Important: См. руководство владельца двигателя для получения информации о дополнительном техническом обслуживании.
Note: Чтобы получить электрическую или гидравлическую схему для вашей машины, посетите веб-сайт www.Toro.com.
| Периодичность технического обслуживания | Порядок технического обслуживания |
|---|---|
| Через каждые 50 часов |
|
Заправьте все масленки подшипников и втулок консистентной смазкой № 2 на литиевой основе.
Местонахождение и количество масленок:
Несущая рама и ось поворота режущего блока (2 шт.) (Рисунок 35)

Тяги заднего моста (2 шт.) (Рисунок 36)
Шаровые опоры гидроцилиндра рулевого управления (2 шт.) (Рисунок 36)
Втулки поворотных шкворней (2 шт.) (Рисунок 36) – верхнюю масленку на поворотном шкворне следует смазывать только раз в год (2 качания смазочного шприца).

Передние цилиндры подъема (3 шт.) (Рисунок 37 и Рисунок 38)


Ось поворота заднего цилиндра подъема (2 шт.) (Рисунок 39)

Ось поворота подъемного рычага (3 шт.) (Рисунок 40)

Ось поворота заднего моста (Рисунок 41)

Оси поворота задних подъемных рычагов (2 шт.) (Рисунок 42)

Вал педали тормоза (1 шт.) (Рисунок 43)

Перед проверкой уровня масла или добавлением масла в картер выключите двигатель.
Не изменяйте настройку регулятора оборотов двигателя и не превышайте допустимую частоту вращения двигателя.
| Периодичность технического обслуживания | Порядок технического обслуживания |
|---|---|
| Через каждые 400 часов |
|
Проверьте корпус воздухоочистителя на наличие повреждений, которые могут вызвать утечку воздуха. Замените его в случае повреждения. Проверьте всю систему подачи воздуха на наличие утечек, повреждений, или ослабления хомутов для крепления шлангов.
Фильтр воздухоочистителя следует обслуживать только при соответствующих показаниях индикатора необходимости технического обслуживания (Рисунок 44). Замена воздушного фильтра без необходимости ведет лишь к повышению вероятности попадания грязи в двигатель при извлечении фильтра.

Important: Убедитесь, что крышка установлена правильно и уплотняется корпусом воздухоочистителя.
Оттяните защелку наружу и поверните крышку воздухоочистителя против часовой стрелки (Рисунок 45).

Снимите крышку с корпуса воздухоочистителя. Перед снятием фильтра удалите значительные скопления мусора, откладывающиеся между наружной стороной фильтра грубой очистки и корпусом, с помощью сжатого воздуха низкого давления (275 кПа, чистый и сухой). Избегайте пользоваться сжатым воздухом под большим давлением, который может занести грязь из фильтра в воздухозаборный тракт.
Описанный процесс очистки предотвращает проникновение мусора в воздухозабор при снятии фильтра грубой очистки.
Снимите и замените фильтр грубой очистки(Рисунок 46).
Очищать использованный элемент не рекомендуется из-за возможности повреждения фильтрующей среды. Проверьте новый фильтр на отсутствие повреждений при транспортировке, осмотрев уплотнительный конец фильтра и корпус. Не используйте поврежденный фильтрующий элемент. Вставьте новый фильтр, нажимая на наружный обод элемента, чтобы посадить его в корпус. Не давите на упругую середину фильтра.

Important: Никогда не пытайтесь очистить контрольный фильтр (Рисунок 47). Заменяйте контрольный фильтр новым после каждых трех обслуживаний фильтра грубой очистки.

Очистите канал для выброса грязи, расположенный в съемной крышке. Извлеките из крышки резиновый выпускной клапан, очистите полость и поставьте выпускной клапан на место.
Установите ориентирующий крышку резиновый выпускной клапан в обращенное книзу положение - примерно между 5:00 и 7:00 часами, если смотреть с торца.
Сбросьте индикатор (Рисунок 44), если он стал красным.
| Периодичность технического обслуживания | Порядок технического обслуживания |
|---|---|
| Перед каждым использованием или ежедневно |
|
Двигатель поставляется с залитым в картер маслом, однако до и после первого пуска двигателя проверьте уровень масла.
Используйте высококачественное моторное масло, удовлетворяющее следующим требованиям:
Требуемый уровень по классификации API: CH-4, CI-4 или выше.
Предпочтительный тип масла: SAE 15W-40 при температуре свыше -18 °C
Возможный вариант масла: SAE 10W-30 или 5W-30 (при любой температуре)
Note: Масло двигателя Toro Premium с вязкостью 15W-40 или 10W-30 можно приобрести у местного дистрибьютора. Номера масла см. в Каталоге запчастей..
Note: Лучше всего проверять уровень масла на холодном двигателе, перед его первым запуском в этот день. Если он уже поработал, перед проверкой дайте маслу стечь в поддон (не менее 10 минут). Если уровень масла на щупе находится на метке Add (Добавить) или ниже, долейте масло так, чтобы его уровень доходил до отметки Full (Полный). Не переполняйте двигатель маслом. Если уровень масла находится между метками Full (Полный) и Add (Добавить), то доливать масло не требуется.
Припаркуйте машину на ровной горизонтальной поверхности, опустите режущие блоки, заглушите двигатель, включите стояночный тормоз и извлеките ключ.
Освободите защелку капота и откройте капот (Рисунок 48).

Извлеките масломерный щуп (Рисунок 49), дочиста протрите его, вставьте щуп в трубку и снова вытяните.
Проверьте уровень масла по щупу; уровень масла должен быть у отметки Full (Полный) на щупе.

Если масло ниже допустимого уровня, снимите крышку маслозаливной горловины (Рисунок 50) и добавляйте масло до тех пор, пока его уровень не достигнет отметки Full (Полный).
Important: Не переполняйте двигатель маслом.

Поставьте на место крышку маслозаливной горловины и масломерный щуп.
Закройте капот и зафиксируйте его защелками.
| Периодичность технического обслуживания | Порядок технического обслуживания |
|---|---|
| Через первые 50 часа |
|
| Через каждые 150 часов |
|
Емкость: 7,0 л с фильтром
Выполните первую замену масла и фильтра после первых 50 часов работы, а затем заменяйте масло и фильтр через каждые 150 часов.
Снимите пробку сливного отверстия (Рисунок 51) и дайте маслу вытечь в сливной поддон. Когда масло стечет, поставьте пробку сливного отверстия на место.

Снимите масляный фильтр (Рисунок 52). Перед установкой нового фильтра нанесите на его уплотнение тонкий слой чистого масла. Не допускайте чрезмерной затяжки фильтра.

Добавьте масло в картер.
Установите рычаг дроссельной заслонки вперед так, чтобы он был прижат к пазу основания сиденья.
Ослабьте соединитель тросика дроссельной заслонки на плече рычага инжекторного насоса (Рисунок 53).

Удерживайте плечо рычага инжекторного насоса прижатым к упору высокой частоты холостого хода и затяните соединитель тросика.
Note: После затягивания соединитель тросика должен свободно поворачиваться.
Затяните контргайку, используемую для установки фрикционного устройства на рычаге дроссельной заслонки, с моментом 4-6 Н∙м. Максимальное усилие, необходимое для перемещения рычага дроссельной заслонки, должно составлять 80 Н.
| Периодичность технического обслуживания | Порядок технического обслуживания |
|---|---|
| Через каждые 2 года |
|
Установите машину на ровной поверхности, опустите режущие блоки, включите стояночный тормоз, выключите двигатель и извлеките ключ.
Сливайте топливо и очищайте топливный бак раз в 2 года. Также слейте топливо и очистите бак, если топливная система загрязнена, или перед длительным хранением машины. Для промывки бака используйте чистое топливо.

| Периодичность технического обслуживания | Порядок технического обслуживания |
|---|---|
| Через каждые 400 часов |
|
Проверьте топливные трубопроводы и соединения на износ, наличие повреждений или ослабление соединений.
| Периодичность технического обслуживания | Порядок технического обслуживания |
|---|---|
| Перед каждым использованием или ежедневно |
|
| Через каждые 400 часов |
|
Установите машину на ровной поверхности, опустите режущие блоки, включите стояночный тормоз, выключите двигатель и извлеките ключ.
Подставьте под топливный фильтр чистую емкость.
Ослабьте затяжку пробки сливного отверстия в нижней части корпуса топливного фильтра и откройте вентиляционное отверстие в верхней части крепления корпуса.

Очистите область вокруг крепления корпуса фильтра.
Снимите корпус фильтра и очистите монтажную поверхность.
Смажьте прокладку на корпусе фильтра чистым маслом.
Заворачивайте корпус фильтра вручную до контакта прокладки с монтажной поверхностью; затем поверните корпус еще на 1/2 оборота.
Затяните пробку сливного отверстия в нижней части корпуса топливного фильтра и закройте вентиляционное отверстие в верхней части крепления корпуса.
Note: Эту процедуру следует выполнять только в случае, если воздух был удален из топливной системы с помощью обычных процедур прокачки, но двигатель не запускается; см. Удаление воздуха из топливной системы.
Ослабьте соединение трубки к соплу № 1 и держателю в сборе.

Установите регулятор дроссельной заслонки в положение Быстро.
Поверните ключ в положение RUN (Работа) и наблюдайте за потоком топлива вокруг соединителя. Как только вы увидите стабильное вытекание топлива сплошным потоком, поверните ключ в положение OFF (Выкл.)
Надежно затяните соединитель трубы.
Повторите действия, описанные в пунктах 1–4, для остальных сопел.
Note: Для облегчения очистки можно снять кожух вентилятора с машины.
Установите заднюю решетку и закрепите ее защелками.
Important: Не допускается использовать воду для очистки двигателя, так как это приводит к повреждению двигателя.
Прежде чем приступать к ремонту машины, отсоедините аккумулятор. Сначала отсоедините отрицательную клемму, затем положительную. При повторном подключении аккумулятора сначала подсоедините положительную, затем отрицательную клемму.
Заряжайте аккумулятор в открытом, хорошо проветриваемом месте, вдали от искр и открытого огня. Отсоединяйте зарядное устройство перед подсоединением или отсоединением аккумулятора. Используйте защитную одежду и электроизолированный инструмент.
| Периодичность технического обслуживания | Порядок технического обслуживания |
|---|---|
| Через каждые 25 часов |
|
Необходимо поддерживать требуемый уровень электролита и содержать верхнюю поверхность аккумулятора в чистоте. Если машина хранится при экстремально высокой температуре, то аккумулятор будет разряжаться гораздо быстрее, чем при хранении машины в прохладном месте.
Электролит аккумулятора содержит серную кислоту, которая является смертельно опасным ядом и вызывает тяжелые ожоги.
Не пейте электролит и не допускайте его попадания на кожу, в глаза или на одежду. Используйте очки для защиты глаз и резиновые перчатки для защиты рук.
Заливайте электролит в аккумулятор в том месте, где всегда имеется чистая вода для промывки кожи.
Заряжайте аккумулятор в хорошо проветриваемом месте, чтобы газы, образующиеся при зарядке, могли рассеиваться.
Так как эти газы взрывоопасны, не допускайте появления открытого пламени или искр поблизости от аккумулятора; не курите.
Вдыхание газов может привести к появлению приступов тошноты.
Отсоедините зарядное устройство от электрической розетки перед подсоединением проводов зарядного устройства к штырям аккумулятора или их отсоединении.
Для поддержания уровня электролита в элементах аккумулятора используйте дистиллированную или деминерализованную воду. Не заполняйте элементы выше нижнего края разрезного кольца внутри каждого элемента. Установите колпачки заливных отверстий так, чтобы вентиляционные отверстия были направлены назад (в сторону топливного бака).
Поддерживайте чистоту верхней части аккумулятора, для чего периодически промывайте его кистью, смоченной в растворе аммиака или бикарбоната натрия. После очистки промойте верхнюю поверхность водой. При очистке не снимайте колпачки заливных отверстий.
Кабели аккумулятора должны быть затянуты на клеммах для достижения хорошего электрического контакта.
Если на клеммах появляется коррозия, отсоедините кабели (сначала отрицательный [–] кабель) и зачистите по отдельности зажимы и клеммы. Подсоедините кабели (сначала положительный (+) кабель) и покройте клеммы техническим вазелином.
| Периодичность технического обслуживания | Порядок технического обслуживания |
|---|---|
| Перед каждым использованием или ежедневно |
|
При поставке давление в шинах повышено. Поэтому стравите немного воздуха, чтобы снизить давление. Давление в передних и задних шинах должно составлять от 103 до 138 кПа.
Низкое давление в шинах снижает устойчивость машины на склонах холмов. При этом может произойти опрокидывание, которое может стать причиной несчастного случая или гибели.
Не допускайте недостаточной накачки шин.
| Периодичность технического обслуживания | Порядок технического обслуживания |
|---|---|
| Через первые 8 часа |
|
| Через каждые 200 часов |
|
Затяните колесные гайки и болты с моментом от 115 до 135 Н∙м.
Несоблюдение требования по поддержанию правильного момента затяжки колесных гаек и болтов может стать причиной травмы.
Поддерживайте правильный момент затяжки колесных гаек и болтов.
| Периодичность технического обслуживания | Порядок технического обслуживания |
|---|---|
| Через каждые 400 часов |
|
Проверяйте уровень масла через каждые 400 часов работы. Для замены используйте высококачественное трансмиссионное масло SAE 85W-140.
Установите машину на ровной горизонтальной поверхности и расположите колесо так, чтобы одна пробка контрольного отверстия (Рисунок 59) находилась в положении «12 часов», а другая — в положении «3 часа».

Снимите пробку в положении «3 часа» (Рисунок 59). Уровень масла должен располагаться у низа контрольного отверстия.
Если уровень масла низкий, снимите пробку, находящуюся в положении «12 часов», и добавляйте масло до тех пор, пока оно не начнет вытекать из отверстия, находящегося в положении «3 часа».
Поставьте обе пробки на место.
Повторите пункты 1 – 4 на противоположном узле планетарной передачи.
| Периодичность технического обслуживания | Порядок технического обслуживания |
|---|---|
| Через первые 200 часа |
|
| Через каждые 800 часов |
|
Первоначально замените масло после 200 часов работы. Затем заменяйте масло через каждые 800 часов работы. Для замены используйте высококачественное трансмиссионное масло SAE 85W-140.
Установите машину на ровной горизонтальной поверхности и расположите колесо так, чтобы одна из пробок контрольных/сливных отверстий находилась в самом нижнем положении («6 часов») (Рисунок 60).

Подставьте поддон под ступицу планетарной передачи, снимите пробку и дайте маслу стечь.
Подставьте поддон под корпус тормоза, снимите пробку сливного отверстия и дайте маслу стечь (Рисунок 61).

Когда все масло из обоих отверстий будет слито, установите пробку в корпус тормоза.
Поворачивайте колесо до тех пор, пока открытое отверстие в планетарной передаче не займет положение «12 часов».
Поставьте пробку на место.
Повторите данную процедуру на противоположном узле планетарной передачи/тормоза.
| Периодичность технического обслуживания | Порядок технического обслуживания |
|---|---|
| Через каждые 400 часов |
|
Задний мост отгружается с завода с залитым трансмиссионным маслом SAE 85W-140. Проверьте уровень масла перед первым пуском двигателя, а затем проверяйте через каждые 400 часов работы. Емкость: 2,3 л Ежедневно визуально проверяйте машину на наличие утечек.
Припаркуйте машину на ровной горизонтальной поверхности, опустите режущие блоки, заглушите двигатель, включите стояночный тормоз и извлеките ключ.
Снимите пробку контрольного отверстия (Рисунок 62) с одного конца моста и убедитесь в том, что смазочное масло доходит до низа отверстия. Если уровень низкий, снимите пробку заливного отверстия (Рисунок 62) и добавьте такое количество масла, чтобы довести его уровень до низа контрольных отверстий.

| Периодичность технического обслуживания | Порядок технического обслуживания |
|---|---|
| Через первые 200 часа |
|
| Через каждые 800 часов |
|
Замените масло сначала после первых 200 часов работы, а затем через каждые 800 часов работы.
Припаркуйте машину на ровной горизонтальной поверхности, опустите режущие блоки, заглушите двигатель, включите стояночный тормоз и извлеките ключ.
Очистите область вокруг 3 пробок сливных отверстий: по одной на каждом конце и одной в центре (Рисунок 63).

Для облегчения слива масла снимите 3 пробки контроля уровня масла и вентиляционный колпак ведущего моста.
Снимите пробки сливных отверстий и дайте маслу стечь в поддоны.
Поставьте пробки на место.
Снимите пробку контрольного отверстия и залейте в мост приблизительно 2,3 л трансмиссионного масла 85W-140 или такой объем, чтобы масло доходило до низа отверстия.
Установите контрольную пробку на место.
| Периодичность технического обслуживания | Порядок технического обслуживания |
|---|---|
| Через каждые 800 часов |
|
Через каждые 800 часов работы или ежегодно проверьте схождение задних колес.
Измерьте межцентровое расстояние (на высоте моста) на передней и задней стороне рулевых колес. Результат переднего измерения должен быть на 3 мм меньше, чем результат заднего измерения.
Для регулировки расстояния снимите шплинт и гайку с какой-либо шаровой опоры поперечной тяги. Извлеките шаровую опору поперечной тяги из опоры на корпусе моста (Рисунок 64).
Ослабьте зажимы на обоих концах поперечных тяг (Рисунок 64).

Поверните расцепленную шаровую опору внутрь или наружу на 1 (один) полный оборот. Затяните зажим на ослабленном конце поперечной тяги.
Поверните весь узел поперечной тяги в том же направлении (внутрь или наружу) на 1 (один) полный оборот. Затяните зажим на подсоединенном конце поперечной тяги.
Установите шаровую опору в кронштейн на корпусе моста и пальцами затяните гайку. Измерьте схождение.
При необходимости повторите эту процедуру.
Если регулировка выполнена правильно, затяните гайку и вставьте новый шплинт.
Когда педаль тяги отпущена, машина не должна «ползти». Если она самопроизвольно перемещается, требуется регулировка.
Припаркуйте машину на ровной горизонтальной поверхности, опустите режущие блоки, заглушите двигатель, нажмите только правую педаль тормоза и включите стояночный тормоз.
Поднимите домкратом левую сторону машины так, чтобы переднее и заднее колеса оторвались от пола мастерской. Установите машину на подъемные опоры для предотвращения ее случайного падения.
Запустите двигатель и переведите его на малую частоту холостого хода.
Отрегулируйте контргайки на торце штока насоса, переместив трубку управления насосом вперед, чтобы предотвратить самопроизвольное медленное перемещение вперед, или назад, чтобы предотвратить самопроизвольное медленное перемещение назад (Рисунок 65).

После прекращения вращения колеса затяните контргайки, чтобы зафиксировать настройку.
Выключите двигатель и отпустите правый тормоз. Удалите подъемные опоры и опустите машину на пол мастерской. Выполните пробную поездку на машине, чтобы убедиться, что она не «ползет» на холостых оборотах.
Проглатывание охлаждающей жидкости двигателя может вызвать отравление. Храните ее в месте, недоступном для детей и домашних животных.
Выброс под давлением горячей охлаждающей жидкости или прикосновение к горячему радиатору и расположенным рядом деталям могут привести к тяжелым ожогам.
Прежде чем снимать крышку радиатора, подождите не менее 15 минут, чтобы двигатель остыл.
При открывании крышки радиатора используйте ветошь; открывайте крышку медленно, чтобы выпустить пар.
| Периодичность технического обслуживания | Порядок технического обслуживания |
|---|---|
| Перед каждым использованием или ежедневно |
|
Ежедневно удаляйте мусор с задней решетки, маслоохладителя и радиатора (в условиях повышенного загрязнения производите очистку чаще).
Important: Запрещается распылять воду на горячий двигатель, так как это приводит к повреждению двигателя.
Припаркуйте машину на ровной горизонтальной поверхности, опустите режущие блоки, заглушите двигатель, включите стояночный тормоз и извлеките ключ.
Откройте капот.
Тщательно очистите область двигателя от всего мусора.
Закройте капот.
Откройте защелки и снимите заднюю решетку (Рисунок 66).

Тщательно очистите решетку.
Отверните ручки и отведите маслоохладитель назад (Рисунок 67).

Тщательно очистите сжатым воздухом обе стороны области радиатора/маслоохладителя. Не используйте воду.
Откройте капот и сдувайте мусор сжатым воздухом в направлении задней части машины.
Верните маслоохладитель в исходное положение и затяните ручки.
| Периодичность технического обслуживания | Порядок технического обслуживания |
|---|---|
| Перед каждым использованием или ежедневно |
|
Вместимость системы охлаждения составляет 9.4 л.
Ежедневно (или чаще в чрезвычайно пыльных и загрязненных условиях) очищайте от мусора решетку, маслоохладитель и переднюю часть радиатора; см. раздел Удаление мусора.
Система охлаждения заправляется раствором воды и стабильного этиленгликолевого антифриза в соотношении 50/50. В начале каждого дня перед запуском двигателя проверяйте уровень охлаждающей жидкости в радиаторе и расширительном бачке.
Осторожно снимите крышку радиатора и крышку расширительного бачка (Рисунок 68).
Проверьте уровень охлаждающей жидкости в радиаторе и расширительном бачке (Рисунок 68).
Радиатор должен быть заполнен до верха шейки заливной горловины, а расширительный бачок до отметки Full (Полный).

Долейте жидкость в расширительный бачок до отметки Full (Полный), а в радиатор – до верха заливной горловины. Не переполняйте расширительный бачок.
Note: Если воздух попал в систему, отверните пробку вентиляционного отверстия (Рисунок 69) с верхней части бака на стороне радиатора для удаления попавшего внутрь воздуха. Установите пробку вентиляционного отверстия, используя тефлоновый уплотнитель для резьбы.

Установите крышку радиатора и крышку расширительного бачка.
Закройте капот и зафиксируйте защелками.
| Периодичность технического обслуживания | Порядок технического обслуживания |
|---|---|
| Через каждые 100 часов |
|
| Через каждые 2 года |
|
Емкость: 9,4 л
Защитите систему охлаждения, залив в нее раствор воды и стабильного этиленгликолевого антифриза в соотношении 50/50. Не допускается использовать только воду в системе охлаждения.
Через каждые 100 часов работы проверяйте и затягивайте все шланговые соединения. Замените все шланги, имеющие ухудшение качества.
Через каждые 2 года сливайте и промывайте систему охлаждения. Добавляйте антифриз; см. раздел Проверка системы охлаждения.
Отрегулируйте рабочие тормоза, когда свободный ход педали тормоза превысит 50 мм или когда тормоза перестанут эффективно работать. Свободный ход — это расстояние перемещения педали тормоза до ощущения тормозного сопротивления.
Отсоедините стопорный штифт от педалей тормоза, чтобы обе педали работали независимо друг от друга.
Чтобы уменьшить свободный ход педалей тормоза, затяните тормоза, ослабив переднюю гайку на резьбовом конце тросика тормоза (Рисунок 70). Затем затяните заднюю гайку, чтобы тросик сдвигался назад, пока свободный ход педали тормоза не составит от 1,2 до 1,9 см. После того, как тормоза будут правильно отрегулированы, затяните передние гайки.

| Периодичность технического обслуживания | Порядок технического обслуживания |
|---|---|
| Через каждые 100 часов |
|
Проверяйте состояние и натяжение ремня генератора через каждые 100 часов работы (Рисунок 71). При необходимости замените ремень. Проверьте натяжение следующим образом:
Откройте капот.
Проверьте натяжение, надавив на ремень посередине между шкивами генератора и коленчатого вала с усилием 97 Н. Отклонение ремня должно составлять 1,1 см. Если отклонение неправильное, перейдите к пункту 3. Если правильное, продолжайте работу.

Ослабьте болт крепления скобы к двигателю и болт крепления генератора к скобе.
Вставьте монтировку между генератором и двигателем и переместите генератор, действуя монтировкой как рычагом.
По достижении требуемого натяжения ремня затяните болты генератора и скобы, чтобы зафиксировать полученное натяжение.
Затяните контргайку для фиксации выполненной регулировки.
При попадании жидкости под кожу немедленно обратитесь к врачу. Если жидкость оказалась впрыснута под кожу, необходимо, чтобы врач удалил ее хирургическим путем в течение нескольких часов.
Перед подачей давления в гидравлическую систему убедитесь, что все гидравлические шланги и трубопроводы исправны, а все гидравлические соединения и штуцеры герметичны.
Не приближайтесь к местам точечных утечек или штуцерам, из которых под высоким давлением выбрасывается гидравлическая жидкость.
Для обнаружения гидравлических утечек используйте картон или бумагу.
Перед выполнением любых работ на гидравлической системе безопасно стравите все давление в гидравлической системе.
| Периодичность технического обслуживания | Порядок технического обслуживания |
|---|---|
| Перед каждым использованием или ежедневно |
|
Припаркуйте машину на ровной горизонтальной поверхности, опустите режущие блоки, заглушите двигатель, включите стояночный тормоз и извлеките ключ.
Очистите зону вокруг заливной горловины и крышки гидравлического бака (Рисунок 72). Снимите крышку заливной горловины.

Извлеките масломерный щуп из заливной горловины и протрите его чистой ветошью. Вставьте щуп в заливную горловину; затем извлеките его и проверьте уровень жидкости. Уровень жидкости должен находиться в пределах 6 мм от отметки на щупе.
Если уровень низкий, добавьте соответствующую жидкость до метки Full (Полный).
Вставьте масломерный щуп и установите крышку на заливную горловину.
Бак гидросистемы заполняется на заводе высококачественной гидравлической жидкостью. Проверьте уровень гидравлической жидкости перед первым запуском двигателя и в дальнейшем проверяйте его ежедневно; см. раздел Проверка гидравлической жидкости.
Рекомендуемая гидравлическая жидкость: гидравлическая жидкость Toro PX Extended Life (выпускается в 19-литровых емкостях или 208-литровых бочках).
Note: На машине, в которой используется рекомендуемая для замены жидкость, требуются менее частые замены жидкости и фильтра.
Другие варианты гидравлических жидкостей: при отсутствии гидравлической жидкости Toro PX Extended Life допускается использование других стандартных гидравлических жидкостей на нефтяной основе, при условии, что они соответствуют всем указанным далее характеристикам материала и требованиям отраслевых стандартов. Не используйте синтетическую жидкость. Для определения подходящего продукта проконсультируйтесь у местного дистрибьютора смазочных материалов.
Note: Компания Toro не несет ответственности за повреждения, вызванные применением несоответствующей рабочей жидкости, поэтому используйте продукты только признанных изготовителей, рекомендациям которых можно доверять.
| Свойства материалов: | ||
| Вязкость, ASTM D445 | сСт при 40 °C: от 44 до 48 | |
| Индекс вязкости по ASTM D2270 | 140 или выше | |
| Температура текучести, ASTM D97 | от -37°C до -45°C | |
| Отраслевые ТУ: | Eaton Vickers 694 (I-286-S, M-2950-S/35VQ25 или M-2952-S) | |
Note: Многие гидравлические жидкости почти бесцветны, что затрудняет обнаружение точечных утечек. Красный краситель для добавки в гидравлическую жидкость поставляется во флаконах емкостью 20 мл. Одного флакона достаточно для 15–22 л гидравлической жидкости. № по каталогу 44-2500 для заказа у местного официального дистрибьютора компании Toro.
Important: Синтетическая биоразлагаемая гидравлическая жидкость Toro Premium является единственной синтетической биоразлагаемой рабочей жидкостью, одобренной компанией Toro. Эта жидкость совместима с используемыми в гидравлических системах TORO эластомерами и пригодна для широкого диапазона температур. Эта жидкость совместима с традиционными минеральными маслами, но для максимальной биоразлагаемости и высоких эксплуатационных характеристик гидравлическую систему необходимо тщательно промыть стандартной рабочей жидкостью. Масло поставляется официальным дистрибьютором компании Toro в 19-л канистрах или 208-л бочках.
32 л; см. раздел Характеристики гидравлической жидкости
| Периодичность технического обслуживания | Порядок технического обслуживания |
|---|---|
| Через каждые 800 часов |
|
| Через каждые 2000 часов |
|
В случае загрязнения рабочей жидкости обратитесь к дистрибьютору компании Toro, чтобы промыть гидравлическую систему. Загрязненная гидравлическая жидкость выглядит мутной или черной по сравнению с чистой жидкостью.
Припаркуйте машину на ровной горизонтальной поверхности, опустите режущие блоки, заглушите двигатель, включите стояночный тормоз и извлеките ключ.
Откройте капот.
Снимите пробку сливного отверстия с нижней части бака (Рисунок 73) и дайте гидравлической жидкости стечь в сливной поддон.

Когда гидравлическая жидкость перестанет вытекать, установите на место и затяните пробку.
Залейте гидравлическую жидкость в бак; см. разделы Характеристики гидравлической жидкости и Емкость гидравлической системы.
Important: Используйте только указанные гидравлические жидкости. Другие жидкости могут вызвать повреждение системы.
Поставьте крышку резервуара на место. Запустите двигатель и поработайте всеми органами управления гидравлической системы, чтобы распределить гидравлическую жидкость по всей системе.
Проверьте машину на наличие утечек.
Выключите двигатель.
Проверьте уровень гидравлической жидкости и при необходимости доведите ее уровень до метки Full (Полный) на измерительном щупе.
Important: Не переполняйте бак.
| Периодичность технического обслуживания | Порядок технического обслуживания |
|---|---|
| Через каждые 800 часов |
|
| Через каждые 1000 часов |
|
На головке фильтра гидравлической системы установлен индикатор интервала технического обслуживания. При работающем двигателе посмотрите на индикатор – он должен находиться в зеленой зоне. Если индикатор находится в красной зоне, замените элемент фильтра.
Используйте сменный фильтр Toro (№ по кат. 94-2621).
Important: Использование любого другого фильтра может привести к аннулированию гарантии на некоторые компоненты.
Припаркуйте машину на ровной горизонтальной поверхности, опустите режущие блоки, заглушите двигатель, включите стояночный тормоз и извлеките ключ.
Очистите область вокруг места крепления фильтра. Поместите сливной поддон под фильтр, а затем снимите фильтр (Рисунок 74).

Смажьте новую прокладку фильтра и заполните фильтр гидравлической жидкостью.
Убедитесь в том, что монтажная поверхность фильтра чистая, заверните фильтр до контакта прокладки с монтажной пластиной; после этого затяните фильтр еще на ½ оборота.
Запустите двигатель и дайте ему поработать примерно две минуты для удаления воздуха из системы.
Заглушите двигатель и извлеките ключ, проверьте на наличие утечек.
| Периодичность технического обслуживания | Порядок технического обслуживания |
|---|---|
| Перед каждым использованием или ежедневно |
|
Проверьте гидравлические трубопроводы и шланги на наличие утечек, перекрученных труб, незакрепленных опор, износа, незатянутой арматуры, атмосферной и химической коррозии. Устраните все неисправности перед началом эксплуатации.
Контрольные отверстия используются для проверки давления в гидравлических контурах. За помощью обращайтесь к местному официальному дистрибьютору компании Toro.
Контрольное отверстие А (Рисунок 75) используется для облегчения поиска и устранения неисправностей гидравлического контура цилиндров подъема.

Контрольное отверстие B (Рисунок 76) используется для облегчения поиска и устранения неисправностей гидравлического контура передних режущих блоков.
Контрольное отверстие C (Рисунок 76) используется для облегчения поиска и устранения неисправностей гидравлического контура задних режущих блоков.

Контрольное отверстие D расположено в нижней части гидростатической трансмиссии (Рисунок 77) и используется для измерения давления подпитки трансмиссии.
Контрольное отверстие E используется для измерения давления тягового привода движения вперед (Рисунок 77).
Контрольное отверстие F используется для измерения давления тягового привода движения в обратном направлении (Рисунок 77).
Контрольное отверстие G используется для измерения давления в контуре рулевого управления (Рисунок 77).

Износ или повреждение ножей барабанов или неподвижного ножа может привести к его разрушению и выбросу фрагментов в направлении оператора или находящихся поблизости людей, что может стать причиной серьезной травмы, в том числе с летальным исходом.
Периодически проверяйте режущие блоки на наличие чрезмерного износа или повреждений.
Соблюдайте осторожность при проверке режущих блоков. При техническом обслуживании барабанов и неподвижных ножей оберните ножи тканью или используйте перчатки и соблюдайте меры предосторожности. Выполняйте только замену или заточку барабанов и неподвижных ножей; запрещается их выпрямлять или сваривать.
При использовании машин с несколькими режущими блоками соблюдайте осторожность при проворачивании барабана, поскольку это может вызвать вращение барабанов в других режущих блоках.
| Периодичность технического обслуживания | Порядок технического обслуживания |
|---|---|
| Перед каждым использованием или ежедневно |
|
Проверьте контакт барабана с неподвижным ножом, даже если качество среза было ранее приемлемым. Должен быть легкий контакт полностью по всей длине барабана и неподвижного ножа, см. раздел «Регулировка положения барабана относительно неподвижного ножа» в Руководстве по эксплуатации режущего блока.
Note: Во время заточки обратным вращением передние режущие блоки работают все вместе, и задние режущие блоки работают вместе.
Припаркуйте машину на ровной горизонтальной поверхности, опустите режущие блоки, заглушите двигатель, включите стояночный тормоз и переведите переключатель Enable/Disable (Включено/выключено) в положение Disable (Выключено).
Разблокируйте и поднимите сиденье, чтобы получить доступ к органам управления.
Найдите ручки выбора скорости барабана и ручки заточки обратным вращением (Рисунок 78). Поверните нужные ручки заточки обратным вращением в положение заточки и нужные ручки выбора скорости барабана в положение 1.

Note: Скорость заточки обратным вращением можно увеличить, переместив ручку выбора скорости барабана в направлении 13. Каждое положение увеличивает частоту вращения приблизительно на 100 об/мин. После изменения положения ручек выбора подождите 30 секунд, чтобы система стабилизировалась на новой скорости вращения.
Выполните первоначальные регулировки контакта барабана с неподвижным ножом, подходящие для заточки обратным вращением всех режущих блоков, которые требуется заточить обратным вращением.
Запустите двигатель и переведите его на частоту холостого хода.
Выберите переднюю, заднюю или обе ручки заточки обратным вращением, чтобы определить, заточку каких барабанов необходимо произвести.
Переведите переключатель Enable/Disable (Включено/выключено) в положение Enable (Включено). Переведите рычаг управления режущими блоками (подъем/опускание и скашивание) вперед для начала заточки обратным вращением выбранных барабанов.
Нанесите притирочную пасту щеткой с длинной ручкой (№ по кат. Toro 29-9100). Никогда не используйте щетку с короткой ручкой.
Если барабаны останавливаются или работают неустойчиво во время заточки обратным вращением, остановите заточку, передвинув рычаг управления lower mow/lift (опускание и скашивание/подъем) назад. После остановки барабанов переместите нужные ручки выбора скорости барабана на одно положение ближе к 13. Возобновите заточку обратным вращением, переместив рычаг управления lower mow/lift (опускание и скашивание/подъем) вперед.
Чтобы выполнить регулировку режущих блоков во время заточки обратным вращением, остановите режущие блоки, переместив рычаг управления lower mow/raise (опускание и скашивание/подъем) назад, установите переключатель Enable/Disable (Включено/выключено) в положение Disable (Выключено) и заглушите двигатель. После завершения регулировок повторите действия, указанные в пунктах 5 – 9.
После надлежащей заточки режущего блока на передней кромке ножа образуются заусенцы. Осторожно удалите эти заусенцы напильником, не затупив режущую кромку.
Повторите эту процедуру для всех режущих блоков, которые необходимо заточить обратным вращением.
После завершения заточки обратным вращением верните ручки заточки обратным вращением в положение прямого потока, опустите сиденье и смойте всю притирочную пасту с режущих блоков. При необходимости отрегулируйте контакт барабана с неподвижным ножом.
Note: Если после заточки обратным вращением не вернуть ручки заточки обратным вращением в положение прямого потока, режущие блоки не поднимутся или не будут работать должным образом.
На заводе машина настраивается для выполнения большинства видов скашивания фарвеев.
Для точной настройки машины в зависимости от области применения допускается выполнение следующих регулировок:
Контуры подъема режущего блока оборудованы регулируемыми клапанами, чтобы обеспечить опускание режущих блоков с нужной скоростью. Отрегулируйте их следующим образом:
Дайте машине проработать, пока она не прогреется до рабочей температуры.
Найдите клапаны на коллекторе подъема, чтобы отрегулировать нужные режущие блоки; см. таблицу и Рисунок 79.
| Клапан | Регулируемый режущий блок |
| FC1 | № 1 (передний средний) |
| FC4 | № 4 и № 5 (передние крылья) |
| FC5 | № 2 и № 3 (задний) |
| FC6 | № 6 (задний левый) |
| FC7 | № 7 (задний правый) |

Ослабьте контргайки на клапанах.
Используя шестигранную головку, поверните соответствующий клапан по часовой стрелке для замедления скорости опускания режущих блоков.
Проверьте регулировку скорости подъема, подняв и опустив режущие блоки несколько раз. Отрегулируйте должным образом.
Затяните контргайку для фиксации выполненной регулировки.
Вы можете увеличить высоту возврата передних наружных режущих блоков (№ 4 и № 5) и задних режущих блоков (№ 6 и № 7), чтобы получить увеличенный дорожный просвет на фарвеях с криволинейным контуром поверхности.
Note: При использовании этого способа регулировки высоты возврата настройку времени задержки RM CONFIG необходимо оставить на ее исходном значении 0.
Для увеличения/регулировки высоты возврата режущих блоков выполните следующие действия:
Припаркуйте машину на ровной горизонтальной поверхности, опустите режущие блоки, заглушите двигатель, включите стояночный тормоз и извлеките ключ.
Ослабьте гайку каретного болта, который крепит кронштейн переключателя подъемного рычага к подъемным рычагам № 4, № 6 или № 7 (Рисунок 80).

Переместите кронштейн переключателя подъема вверх в пазу в нужное положение.
Установите расстояние приблизительно 1,6 мм между переключателем подъемного рычага и флажком на подъемном рычаге.
Затяните гайку каретного болта.
При работе на фарвеях с сильной криволинейностью контура поверхности может оказаться предпочтительной регулировка рабочего хода вниз передних 3 режущих блоков. Если любой из 3 режущих блоков поднимается от земли во время пересечения гребня холма, вы можете опустить переднюю несущую раму, отвернув монтажные болты и переставив раму в нижний набор отверстий в главной раме (Рисунок 81). За помощью обращайтесь к местному официальному дистрибьютору компании Toro.
Note: При перемещении несущей рамы вниз уменьшается зазор между режущими блоками и землей в положении возврата и транспортном положении, при этом может потребоваться регулировка длины подъемной цепи режущего блока.

Прежде чем покинуть рабочее место оператора, заглушите двигатель, извлеките ключ и дождитесь остановки всех движущихся частей машины. Дайте машине остыть перед регулировкой, техническим обслуживанием, очисткой или помещением на хранение.
Запрещается хранить машину или емкость с топливом в местах, где есть открытое пламя, искры или малая горелка, используемая, например, в водонагревателе или другом оборудовании.
Установите машину на ровной поверхности, опустите режущие блоки, включите стояночный тормоз, выключите двигатель и извлеките ключ.
Тщательно очистите тяговый блок, режущие блоки и двигатель.
Проверьте давление в шинах, см. Проверка давления воздуха в шинах.
Проверьте весь крепеж на ослабление затяжки; при необходимости подтяните.
Заправьте консистентной смазкой или маслом все масленки и оси поворота. Удалите всю излишнюю смазку.
Слегка зачистите и подкрасьте поцарапанные, сколотые или заржавевшие покрашенные поверхности. Выправите все вмятины в металлическом корпусе.
Выполните техническое обслуживания аккумулятора и кабелей следующим образом; см. раздел Правила техники безопасности при работе с электрической системойID000-448-328:
Снимите клеммы с полюсных штырей аккумулятора.
Очистите аккумулятор, клеммы и полюсные штыри проволочной щеткой и водным раствором пищевой соды.
Для предотвращения коррозии нанесите на кабельные наконечники и на полюсные штыри аккумулятора смазку Grafo 112X (№ по каталогу Toro 505-47) или технический вазелин.
Медленно подзаряжайте аккумуляторную батарею через каждые 60 дней в течение 24 часов для предотвращения сульфатации пластин аккумуляторной батареи.
Слейте моторное масло из поддона картера и установите на место пробку сливного отверстия.
Извлеките и удалите в отходы масляный фильтр. Установите новый масляный фильтр.
Заправьте двигатель моторным маслом указанного типа.
Запустите двигатель и дайте ему поработать на холостом ходу приблизительно две минуты.
Выключите двигатель и извлеките ключ из замка зажигания.
Промойте топливный бак свежим, чистым топливом.
Закрепите все фитинги топливной системы.
Тщательно очистите и обслужите узел воздухоочистителя.
Загерметизируйте впуск воздухоочистителя и выпуск выхлопа водостойкой клейкой лентой.
Проверьте защиту от промерзания и добавьте раствор воды и этиленгликолевого антифриза в соотношении 50/50, если в вашем регионе ожидается низкая температура.