Комплект системы опрыскивания GeoLink™ является навесным оборудованием для опрыскивателя травяного покрова и предназначен для коммерческого применения профессиональными операторами, работающими по найму. Она предназначена главным образом для аэрации ухоженных газонов в парках, на площадках для игры в гольф, спортивных площадках и коммерческих территориях. Использование этого изделия не по прямому назначению может быть опасным для пользователя и находящихся рядом людей.
Внимательно изучите данное руководство, чтобы знать, как правильно использовать и обслуживать машину, не допуская ее повреждения и травмирования персонала. Вы несете ответственность за правильное и безопасное использование машины.
Посетите веб-сайт www.Toro.com для получения информации о технике безопасности при работе с изделием, обучающих материалов по эксплуатации изделия, информации о принадлежностях, а также для получения помощи в поисках дилера или для регистрации вашего изделия.
Для выполнения технического обслуживания, приобретения оригинальных запчастей Toro или получения дополнительной информации обращайтесь в сервисный центр официального дилера или в отдел технического обслуживания компании Toro. Не забудьте при этом указать модель и серийный номер изделия. На Рисунок 1 показано расположение номера модели и серийного номера. Запишите номера в предусмотренном для этого месте.
Important: С помощью мобильного устройства вы можете отсканировать QR-код на табличке с серийным номером (при наличии), чтобы получить информацию по гарантии и запчастям, а также другие сведения об изделии.

В настоящем руководстве приведены потенциальные опасности и рекомендации по их предотвращению, обозначенные символом (Рисунок 2), который предупреждает об опасности серьезного травмирования или гибели в случае несоблюдения пользователем рекомендуемых мер безопасности.

Для выделения информации в данном руководстве используются два слова. Внимание — привлекает внимание к специальной информации, относящейся к механической части машины, и Примечание — выделяет общую информацию, требующую специального внимания.
Химические вещества, используемые в распылительной системе, могут быть опасными и ядовитыми для оператора, находящихся поблизости людей, животных, растений, почвы или другого имущества.
Внимательно прочтите инструкции на предупреждающих табличках в отношении безопасности при работе с химическими веществами и в паспортах безопасности материалов (SDS) по всем используемым химикатам и выполняйте их, и обеспечьте себе защиту в соответствии с рекомендациями изготовителя. Например, используйте соответствующие средства индивидуальной защиты, включая защиту лица и глаз, перчатки или другое оборудование для предотвращения контакта тела с химикатами.
Может использоваться несколько химикатов и в этом случае предоставляется информация о каждом химическом веществе; проанализируйте характеристики каждого химиката.
При отсутствии данной информации не приступайте к работе с опрыскивателем.
Перед началом работы с системой опрыскивания убедитесь в том, что она была три раза промыта и нейтрализована в соответствии с рекомендациями изготовителя (изготовителей) химикатов и все клапаны были приведены в действие на полный рабочий цикл 3 раза.
Убедитесь в наличии достаточного количества чистой воды и мыла вблизи места выполнения работ. Следует немедленно смывать любые химикаты, попавшие на кожу.
Прежде чем покинуть рабочее место оператора, выключите машину, извлеките ключ (при наличии) и дождитесь остановки всех движущихся частей машины. Дайте машине остыть перед регулировкой, техническим обслуживанием, очисткой или помещением на хранение.
Нарушение правил
эксплуатации или
технического обслуживания
машины может привести
к травме. Чтобы
снизить вероятность
травмирования,
выполняйте правила
техники безопасности
и всегда обращайте
внимание на символы,
предупреждающие
об опасности (
, которые
имеют следующее
значение: «Осторожно!»,
«Внимание!» или
«Опасно!» — указания
по обеспечению
личной безопасности.
Несоблюдение данных
инструкций может
стать причиной
травмы или гибели.
![]() |
Предупреждающие наклейки и инструкции по технике безопасности должны быть хорошо видны оператору и установлены во всех местах потенциальной опасности. Если наклейка отсутствует или повреждена, установите новую наклейку. |




Очистите опрыскиватель; см. раздел «Очистка опрыскивателя» в Руководстве оператора для машины.
Important: Перед установкой доводочного комплекта системы опрыскивания GeoLink полностью опорожните бак опрыскивателя.
Для машин, на которых установлен дополнительный комплект для промывки бака, выполните следующие действия:
Закачайте воду из промывочного бака в бак опрыскивателя; см. раздел «Управление комплектом для промывки» в Инструкции по монтажу для комплекта промывки бака.
Слейте воду из бака опрыскивателя; см. раздел «Очистка опрыскивателя» в Руководстве оператора для вашей машины.
Выдвиньте левую и правую секции опрыскивателя в горизонтальное положение.
Припаркуйте машину на ровной поверхности, включите стояночный тормоз, выключите двигатель и извлеките ключ; см. Руководство оператора.
Important: Прежде чем устанавливать комплект GeoLink, припаркуйте машину на ровной поверхности.
Разблокируйте сиденье, нажав назад ручку защелки сиденья (Рисунок 3).

Наклоните сиденье и плиту сиденья вперед так, чтобы конец опорной стойки на кронштейне опорной стойки оказался в нижней части паза кронштейна (Рисунок 3).
Дайте двигателю полностью остыть.
Удалите болт и гайку крепления клеммы отрицательного кабеля аккумуляторной батареи к отрицательному штырю.
Неправильное подключение кабелей к аккумулятору может вызвать искрение, что приведет к повреждению машины и кабелей. Искры могут вызвать взрыв аккумуляторных газов, что приведет к получению травмы.
Всегда отсоединяйте отрицательный (черный) кабель аккумулятора перед отсоединением положительного (красного) кабеля.
Всегда присоединяйте положительный (красный) кабель аккумулятора перед присоединением отрицательного (черного) кабеля.
Клеммы батареи или металлические инструменты могут закоротить на металлические детали, вызвав искрение. Искры могут вызвать взрыв аккумуляторных газов, что приведет к получению травмы.
При демонтаже или установке аккумулятора не допускайте прикосновения его клемм к металлическим частям машины.
Не допускайте короткого замыкания клемм аккумулятора металлическими инструментами на металлические части машины.
Сдвиньте назад изоляционный колпачок и удалите болт и гайку крепления клеммы положительного кабеля аккумуляторной батареи к положительному штырю (Рисунок 4).
Note: Убедитесь, что клеммы кабелей аккумуляторной батареи не касаются штырей.

Отсоедините 2-гнездовой разъем жгута проводов машины, который подключен к разъему переключателя сиденья (Рисунок 5).

Снимите игольчатый шплинт, который крепит опорную стойку к кронштейну в нижней части плиты сиденья (Рисунок 6).

Снимите 2 игольчатых шплинта, с помощью которых крепление оси поворота плиты сиденья присоединяется к кронштейнам ходовой части (Рисунок 7).


Снимите 2 оси поворота, которые крепят сиденье и плиту сиденья к ходовой части (Рисунок 7).
Поднимите сиденье и плиту сиденья вверх и снимите их с машины (Рисунок 8).

Удалите 2 вставных держателя, которые крепят переднее левое крыло к нижнему швеллеру конструкции защиты оператора при опрокидывании машины (ROPS) (Рисунок 10).
Note: Удалите в отходы снятые вставные держатели.

Удалите 3 болта (5/16 x 1 дюйм) с 3 шайбами (5/16 дюйма), которые крепят крыло к раме машины (Рисунок 11).

Снимите крыло с машины.
Note: Удалите в отходы снятые вставные держатели;сохраните крыло, болты и шайбы для последующей установки, описанной в разделе Установка левого и правого передних крыльев.
Удалите 6 вставных держателей и 5 шайб (9/16 x ½ дюйма), которые крепят внутренний кожух крыла к раме машины (Рисунок 12).

Снимите внутренний кожух крыла с машины (Рисунок 13).
Note: Удалите в отходы снятые вставные держатели.

Повторите действия, описанные в пунктах 1 – 5, для крыла и внутреннего кожуха крыла с другой стороны машины.
Отсоедините 2 электрических разъема (2-гнездовых) жгута проводов машины от 2-штыревых разъемов левой и правой фар (Рисунок 14).

Удалите 9 вставных держателей, которые крепят капот к приборной панели и раме машины (Рисунок 15).
Note: Сохраните вставные держатели для последующей установки, описанной в разделе Установка капота.

Снимите капот с машины (Рисунок 15).
Note: Удалите в отходы снятые вставные держатели.
Детали, требуемые для этой процедуры:
| Трубки в сборе – номер 114-9553 по каталогу Toro | 2 |
| Кабельная стяжка | 8 |
На соединительной панели компрессора, предназначенной для комплекта пенного маркера, закрепите кабельную стяжку вокруг прозрачной и синей трубок для правой секции опрыскивателя (Рисунок 16).


Нажмите внутрь запорное кольцо (Рисунок 17).

Вытяните трубку наружу из штуцера (Рисунок 17).
Повторите действия, описанные в пунктах 2 и 3, для остальных 3 трубок секций опрыскивателя.
На соединительной панели компрессора, предназначенной для комплекта пенного маркера, закрепите кабельную стяжку вокруг прозрачной и синей трубок для правой секции опрыскивателя (Рисунок 18).


Ослабьте зажимные гайки двух прозрачных и двух синих трубок, идущих к пенообразующим насадкам в левой и правой секциях опрыскивателя (Рисунок 18).
Снимите 4 трубки с обжимных фитингов секций опрыскивателя (Рисунок 18).
В наружной секции опрыскивателя используйте отрезки клейкой ленты, чтобы отметить левые трубки подачи жидкости и воздуха для левой секции опрыскивателя и правые трубки подачи жидкости и воздуха для правой секции опрыскивателя.
Проведите трубки пенообразующих насадок в левой и правой секциях опрыскивателя назад и через R-образный хомут рядом с шарнирным креплением секции опрыскивателя (Рисунок 19).

Если на машине установлен комплект удлинителя средней секции стрелы, прикрепите, не затягивая, свободные концы трубок подачи жидкости и воздуха к наружной секции опрыскивателя и пропустите действия, описанные в пунктах Подготовка новых трубок в сборе для насадок пенного маркера и Установка новой трубки в сборе.
Снимите кабельные стяжки, которые крепят трубки подачи жидкости и воздуха комплекта пенного маркера к наружной секции опрыскивателя (Рисунок 20).

В месте расположения насадки пенного маркера ослабьте зажимную гайку, которая крепит синюю трубку (вода) к синему обжимному фитингу насадки пенного маркера (Рисунок 21).

Ослабьте зажимную гайку, которая крепит прозрачную трубку (воздух) к белому обжимному фитингу насадки пенного маркера (Рисунок 21).
Снимите трубки подачи жидкости и воздуха с машины.
Открутите зажимные гайки на концах трубок (Рисунок 21).
Note: Сохраните зажимные гайки для последующей установки, как описано в пункте 1 раздела Установка новой трубки в сборе.
Совместите старые трубки подачи жидкости и воздуха (Рисунок 22) с новыми трубками в сборе (номер 114-9553 по каталогу Toro).

С помощью клейкой ленты отметьте длину старых трубок подачи жидкости и воздуха на новых трубках в сборе.
На новых трубках в сборе нанесите вторую отметку, отмерив расстояние 26 см от отметки, сделанной при выполнении пункта 7, и отрежьте трубки по второй (дальней) отметке (Рисунок 22).
Если старые трубки подачи жидкости и воздуха отмечены кабельной стяжкой, отметьте новый узел трубки кабельной стяжкой, в противном случае перейдите к пункту 10.
Note: Старые трубки подачи жидкости и воздуха больше не понадобятся.
Снимите с каждого конца трубок в сборе (Рисунок 22) оболочку на отрезке длиной от 77 до 102 мм.
Повторите действия, описанные в пунктах 1 – 10, для трубок подачи жидкости и воздуха с другой стороны машины.
Наденьте синюю зажимную гайку на конец синей трубки и белую зажимную гайку на конец прозрачной трубки (Рисунок 23).

Совместите конец прозрачной трубки с белой зажимной гайкой на белом фитинге насадки пенного маркера и затяните зажимную гайку от руки (Рисунок 23).
Совместите конец синей трубки с синей зажимной гайкой на синем фитинге насадки пенного маркера и затяните зажимную гайку от руки (Рисунок 23).
Проложите трубку в сборе вдоль задней стороны верхней опорной стойки наружной секции опрыскивателя, как показано на Рисунок 24.
Important: Если трубку в сборе установить на другой стороне верхней опорной стойки, трубки будут зажаты между опорой и наружной секцией опрыскивателя, когда стрелы будут находиться в транспортном положении.

Закрепите трубки в сборе в отверстии опоры сопла при помощи кабельной стяжки, как показано на Рисунок 25.

Прикрепите трубку в сборе к наружной секции опрыскивателя при помощи кабельных стяжек, как показано на Рисунок 24.
Прикрепите, не затягивая, свободный конец трубки в сборе к наружной секции опрыскивателя.
Повторите действия, описанные в пунктах 1 – 6, для трубок в сборе с другой стороны машины.
Отсоедините 3-штыревой разъем жгута проводов комплекта ультразвукового выравнивания стрелы от 3-гнездового разъема жгута проводов машины (Рисунок 26).

Повторите действия, описанные в пункте 1, для 3-штыревого разъема жгута проводов ультразвукового выравнивания стрелы с другой стороны машины.
Удерживая кожух средней секции (с 11 соплами), удалите 4 болта с фланцевыми головками (5/16 x 1¼ дюйма) и два хомута, которые крепят кожух к опорному кронштейну (Рисунок 27).

Снимите кожух средней секции с машины (Рисунок 28).
Note: Сохраните кожух для последующей сборки, а хомуты кожуха и болты с фланцевыми головками – для последующей установки, описанной в пунктах 1 и 2 раздела Установка кожуха средней секции.

Note: Если машина оборудована дополнительным комплектом распылителя, см. Отсоединение трубки датчика давления и шланга подачи
Нажмите на запорное кольцо соединительной муфты трубки в прямоугольном колене клапана правой секции опрыскивателя (Рисунок 30).

Вытяните трубку датчика давления для манометра на приборной панели из соединительной муфты (Рисунок 30).
Note: Не снимайте прямоугольное колено отсечного клапана шланга подачи шлангового барабана с фланца клапана правой секции стрелы.
Отсоедините 3-гнездовые разъемы с маркировками LEFT SPRAY VALVE (клапан левой секции опрыскивателя), CENTER SPRAY VALVE (клапан средней секции опрыскивателя) и RIGHT SPRAY VALVE (клапан правой секции опрыскивателя) жгута проводов машины от 3-штыревых разъемов на 3 приводах клапанов опрыскивателя (Рисунок 31).

Отсоедините 4-гнездовой разъем жгута проводов машины с маркировкой RATE VALVE (клапан интенсивности опрыскивания) от 4-штыревого разъема привода клапана интенсивности опрыскивания (Рисунок 32).

Отсоедините 3-гнездовой разъем жгута проводов машины с маркировкой MASTER SPRAY VALVE (главный клапан опрыскивателя) от 3-штыревого разъема привода главного клапана опрыскивателя (Рисунок 32).
Детали, требуемые для этой процедуры:
| Кабельная стяжка | 1 |
| Заглушка переключателя | 1 |
Удалите 4 винта с фланцевыми головками (¼ x ½ дюйма), которые крепят панель с 3 переключателями к пульту управления (Рисунок 33).

Сожмите вместе фиксирующие выступы переключателя интенсивности опрыскивания и выдавите переключатель из панели с 3 переключателями (Рисунок 34).

Отсоедините 8-гнездовой разъем жгута проводов машины (с маркировкой Rate Switch (переключатель интенсивности опрыскивания)) от 8-штыревого разъема переключателя (Рисунок 33).
Note: Переключатель интенсивности опрыскивания, снятый с машины, больше не нужен.
Проложите ответвление переднего жгута проводов, предназначенное для переключателя интенсивности опрыскивания, через отверстие в панели с 3 переключателями и прикрепите ответвление к соседнему жгуту проводов при помощи кабельной стяжки.
Установите панель с 3 переключателями на пульт управления (Рисунок 34) при помощи 4 винтов с фланцевыми головками (¼ x ½ дюйма), снятых при выполнении пункта 1.
Совместите заглушку переключателя с отверстием в панели с 3 переключателями, откуда был снят переключатель интенсивности опрыскивания (Рисунок 33).
Вставьте заглушку переключателя в панель с 3 переключателями до срабатывания защелки, которая надежно зафиксирует заглушку в панели (Рисунок 33).
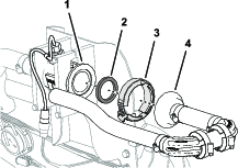
С наружной секции опрыскивателя снимите шланговый хомут, который крепит шланг секции опрыскивателя к тройнику типа «елочка» (Рисунок 35).

Снимите шланг с тройника (Рисунок 35).
Снимите свободный конец шланга с R-образного хомута (Рисунок 35).
Повторите действия, описанные в пунктах 1 – 3, для шланга подачи другой наружной секции опрыскивателя.
Под средней секцией опрыскивателя снимите шланговый хомут, который крепит шланг подачи средней секции опрыскивателя к тройнику типа «елочка» (Рисунок 36).

Снимите держатели, которые крепят быстроразъемные соединители левого, среднего и правого шлангов подачи, с быстроразъемных соединителей клапанов секций опрыскивателя (Рисунок 37).
Note: Сохраните держатели для последующей установки, описанной в разделе Подсоединение шлангов к клапанам сопел с 7 по 10.

Отсоедините шланги подачи левой, средней и правой секций от быстроразъемных соединителей клапанов секций опрыскивателя и снимите эти шланги с машины (Рисунок 37).
Note: Шланги подачи левой, средней и правой секций больше не понадобятся.
Отсоедините шланги от отверстий выдвижения левого и правого подъемных цилиндров (Рисунок 39).


Отсоедините шланги от отверстий C2 и C4 коллектора подъемного цилиндра (Рисунок 39).
Отсоедините шланги от отверстий втягивания левого и правого подъемных цилиндров (Рисунок 39).
Отсоедините шланги от отверстий C1 и C3 коллектора подъемного цилиндра (Рисунок 39).
Note: Эти шланги больше не понадобятся.
Грузоподъемность подъемного оборудования: 91 кг
Note: Если нет иных указаний, сохраняйте все снятые крепежные детали, так как они понадобятся для установки удлинителя средней секции стрелы.
Используйте подъемное оборудование с указанной грузоподъемностью для поддержки наружной секции опрыскивателя.
Удалите шплинт и шплинтуемый штифт, которые крепят конец штока подъемного цилиндра к кронштейну оси поворота (Рисунок 40).
Note: Сохраните шплинт и шплинтуемый штифт для последующей установки, как описано в пункте Установка подъемных цилиндров.

Удалите фланцевую контргайку (5/16 дюйма) и болт с фланцевой головкой (5/16 x ¾ дюйма), которые крепят ось поворота к креплению цилиндра (Рисунок 41).

Снимите ось поворота и подъемный цилиндр с машины (Рисунок 41).
Выполните действия, описанные в разделе Демонтаж наружных секций опрыскивателя.
Грузоподъемность подъемного оборудования: 91 кг
Note: Если машина оборудована дополнительным комплектом закрытой стрелы, оставьте кожухи установленными на наружных секциях опрыскивателя.
Нарушение правил подъема крупногабаритных машин или навесного оборудования может привести к серьезному травмированию, в том числе с летальным исходом.
Для подъема крупногабаритных машин и навесного оборудования используйте подъемное оборудование, такое как цепи и стропы, с номинальной грузоподъемностью, соответствующей массе оборудования.
Note: Если нет иных указаний, сохраняйте все снятые крепежные детали, так как они понадобятся для установки удлинителя средней секции стрелы.
Удалите фланцевый болт (5/16 x 1 дюйм) и фланцевую контргайку (5/16 дюйма), которые крепят ось поворота к кронштейну оси поворота (Рисунок 42).

Снимите ось поворота с кронштейна оси поворота средней секции опрыскивателя и с крепления оси поворота наружной секции опрыскивателя (Рисунок 42).
Note: Сохраните фланцевый болт, фланцевую гайку и ось поворота для последующей установки, как описано в разделе Установка наружных секций опрыскивателя на машину.
Отделите наружную секцию опрыскивателя от средней секции опрыскивателя и снимите наружную секцию с машины (Рисунок 42).
Снимите 2 нейлоновые фланцевые втулки с крепления оси поворота наружной секции опрыскивателя (Рисунок 42).
Note: Удалите в отходы втулки.
Повторите действия, описанные в пунктах 1 – 3 раздела Демонтаж подъемных цилиндров, для наружной секции опрыскивателя с другой стороны машины.
Повторите действия, описанные в пунктах 1 – 4 данного раздела, для наружной секции опрыскивателя с другой стороны машины.
Снимите коллектор подъема секции с крепления цилиндра следующим образом:
Для машин без дополнительного комплекта ультразвукового выравнивания стрелы: удалите 2 фланцевые контргайки (5/16 дюйма) и 2 болта с фланцевыми головками (5/16 x 1 дюйм), которые крепят опорный кронштейн коллектора подъема секции к креплению цилиндра, и отделите коллектор и кронштейн от крепления цилиндра (Рисунок 43).

Для машин с дополнительным комплектом ультразвукового выравнивания стрелы: удалите 2 фланцевые контргайки (5/16 дюйма) и 2 болта с фланцевыми головками (5/16 x 1 дюйм), которые крепят опорный кронштейн коллектора подъема секции и кронштейн контроллера TEC к креплению цилиндра, и отделите коллектор и кронштейн от крепления цилиндра (Рисунок 44).

Закрепите коллектор подъема секции, привязав его к монтажному кронштейну клапана веревкой.
Note: Сохраните опорный кронштейн, коллектор подъема, болты и гайки для последующей установки, описанной в разделе Установка коллектора подъемного цилиндра на крепление цилиндра.
Грузоподъемность подъемного оборудования: 41 кг
Если машина оборудована дополнительным комплектом закрытой стрелы, снимите кожухи со средних секций опрыскивателя.
Поддерживайте среднюю секцию опрыскивателя при помощи подъемного оборудования с указанной грузоподъемностью (Рисунок 45).

С помощью отрезка клейкой ленты отметьте отверстия, в которые вставляются 4 болта с фланцевыми головками (½ x 1¼ дюйма) и 4 фланцевые контргайки (½ дюйма), крепящие опорные кронштейны средней секции опрыскивателя к монтажной плите машины (Рисунок 46).

Удалите 4 болта с фланцевыми головками (½ x 1¼ дюйма) и 4 фланцевые контргайки (½ дюйма), которые крепят опорные кронштейны средней секции опрыскивателя к монтажной плите на раме машины, и снимите среднюю секцию опрыскивателя с машины (Рисунок 47).
Note: Сохраните болты и контргайки для последующей установки новой средней секции опрыскивателя.

Детали, требуемые для этой процедуры:
| Болт с фланцевой головкой (⅜ x 1 дюйм) | 2 |
| Фланцевые контргайки (⅜ дюйма) | 2 |
| Удлинитель средней секции стрелы | 1 |
| Крепление цилиндра (широкое) | 1 |
| Соединительная пластина (широкая) | 1 |
| Каретный болт (½ x 1¼ дюйма) | 4 |
| Фланцевая контргайка (½ дюйма) | 4 |
В средней секции опрыскивателя выверните фланцевую контргайку, которая крепит распылительное сопло к креплению сопла (Рисунок 48 и Рисунок 49).
Note: Сохраните контргайку для последующей установки, как описано в пункте 6 раздела Установка распылительных сопел и шлангов на среднюю секцию опрыскивателя.


Отверните винт из нержавеющей стали (№ 12 x 1¼ дюйма), который крепит верхнюю половину зажима и хвостовик двухстороннего или одностороннего шлангового штуцера типа «елочка» (¾ дюйма) к корпусу распылительного сопла, и отделите хвостовик шлангового штуцера типа «елочка» и шланг от сопла (Рисунок 50).
Note: При открывании зажима, от его верхней половины отделится болт с шестигранной головкой (5/16 x ¾ дюйма, нержавеющая сталь); сохраните этот болт для последующей установки.

Снимите сопло со средней секции опрыскивателя (Рисунок 48 и Рисунок 49).
Повторите действия, описанные в пунктах 1 и 2, для двух других распылительных сопел.
Note: Сохраните распылительные сопла, винты из нержавеющей стали и болты с шестигранной головкой для последующей установки, описанной в пунктах 6 и 7 раздела Установка распылительных сопел и шлангов на среднюю секцию опрыскивателя.
Снимите шланги (с внутренним диаметром ¾ дюйма), хвостовики шланговых штуцеров типа «елочка», хомуты и тройник типа «елочка» со средней секции опрыскивателя (Рисунок 48).
Note: Шланг, хвостовики шланговых штуцеров, зажимы и тройник больше не нужны.
Грузоподъемность подъемного оборудования: 41 кг
Поддерживайте среднюю секцию опрыскивателя с помощью подъемного оборудования с указанной грузоподъемностью.
Отверните 2 болта с фланцевыми головками (⅜ x 1 дюйм) и 2 фланцевые контргайки (⅜ дюйма), которые крепят опорный кронштейн к средней секции опрыскивателя, и снимите кронштейн (Рисунок 51).

Отверните 2 болта с фланцевыми головками (⅜ x 1 дюйм) и 2 фланцевые контргайки (⅜ дюйма), которые крепят другой опорный кронштейн к средней секции опрыскивателя, и снимите кронштейн (Рисунок 51).
Note: Сохраните опорные кронштейны, болты и контргайки для последующей установки, описанной в пунктах 3 и 4 раздела Установка опорных кронштейнов на среднюю секцию опрыскивателя.
Удалите два болта с фланцевыми головками (⅜ x 1 дюйм) и две контргайки (⅜ дюйма), которые крепят вертикальные фланцы левой и правой ферменных рам (Рисунок 52).

Удалите два каретных болта (½ x 1¼ дюйма) и две контргайки (½ дюйма), которые крепят узкое крепление цилиндра, левую и правую ферменные рамы и узкую соединительную пластину (Рисунок 53).

Note: Сохраните болты с фланцевыми головками, каретные болты и контргайки для последующей установки, описанной в пунктах 2 и 7 раздела Установка удлинителя средней секции стрелы. Узкое крепление цилиндра и узкая соединительная пластина больше не понадобятся.
Отделите друг от друга левую и правую ферменные рамы.
Совместите отверстия в вертикальных фланцах удлинителя средней секции стрелы с отверстиями в ферменной раме (Рисунок 54).

Установите, не затягивая, удлинитель средней секции стрелы на ферменную раму (Рисунок 54) при помощи двух болтов с фланцевыми головками (⅜ x 1 дюйм) и двух фланцевых контргаек (⅜ дюйма), снятых при выполнении пункта 1 раздела Разделение ферм средней секции опрыскивателя.
Совместите отверстия в вертикальных фланцах удлинителя средней секции стрелы с отверстиями в другой ферменной раме (Рисунок 54).
Установите, не затягивая, удлинитель средней секции стрелы на другую ферменную раму (Рисунок 54) при помощи двух болтов с фланцевыми головками (⅜ x 1 дюйм) и двух фланцевых контргаек (⅜ дюйма) из доводочного комплекта системы опрыскивания GeoLink (Рисунок 54).
Совместите отверстия в креплении цилиндра с отверстиями на осевой линии ферменной рамы и удлинителе средней секции стрелы (Рисунок 55).

Вставьте соединительную пластину в ферменную раму и удлинитель средней секции стрелы и совместите отверстие в соединительной пластине с отверстиями на осевой линии ферменных рам и удлинителя стрелы (Рисунок 55).
Зафиксируйте крепление цилиндра, фермы, удлинитель средней секции стрелы и соединительную пластину при помощи двух каретных болтов (½ x 1¼ дюйма) и двух фланцевых контргаек (½ дюйма), снятых при выполнении пункта 2 раздела Разделение ферм средней секции опрыскивателя, и 4 каретных болтов (½ x 1¼ дюйма) с 4 фланцевыми контргайками (½ дюйма) из доводочного комплекта системы опрыскивания GeoLink (Рисунок 55).
Затяните болты с фланцевыми головками на ⅜ дюйма и фланцевые контргайки с моментом от 37 до 45 Н∙м.
Затяните контргайки на ½ дюйма с моментом от 91 до 113 Н∙м.
Детали, требуемые для этой процедуры:
| Распылительное сопло | 2 |
| Шланг в сборе (клапан опрыскивателя 5 или 6) | 2 |
| Фланцевая контргайка (5/16 дюйма) | 2 |
Грузоподъемность подъемного оборудования: 55 кг
Поддерживайте среднюю секцию опрыскивателя с помощью подъемного оборудования с указанной грузоподъемностью.
Совместите отверстия в правом опорном кронштейне с отверстиями в правой ферменной раме, как показано на Рисунок 56.

Установите правый опорный кронштейн на правую ферменную раму (Рисунок 56) при помощи двух болтов с фланцевыми головками (⅜ x 1 дюйм) и двух фланцевых контргаек (⅜ дюйма), снятых при выполнении пунктов 2 и 3 раздела Демонтаж опорных кронштейнов со средней секции опрыскивателя.
Повторите действия, описанные в пунктах 2 и 3, для левого опорного кронштейна на левой ферменной раме (Рисунок 56).
Затяните болты с фланцевыми головками и фланцевые гайки с моментом от 37 до 45 Н∙м.
Используя подъемное оборудование, поднимите новую среднюю секцию опрыскивателя на удобную для работы высоту.
Выполняя действия с двумя распылительными соплами из доводочного комплекта системы опрыскивания GeoLink, выверните винт из нержавеющей стали, который крепит верхнюю половину зажима к опоре (Рисунок 57).

Найдите отверстие в боковой части хвостовика одностороннего шлангового штуцера типа «елочка», установленного в конце шланга длиной 25 см, входящего в состав шлангового узла (клапан опрыскивателя 5 или 6), для средней секции опрыскивателя (Рисунок 57 и Рисунок 58).

Совместите трубу для перекачивания в опоре распылительного сопла (Рисунок 57) с отверстием в боковой части хвостовика одностороннего шлангового штуцера типа «елочка» (½ дюйма).
Установите верхнюю половину зажима поверх хвостовика штуцера типа «елочка» и закрепите половину зажима и корпус распылительного сопла (Рисунок 57) с помощью винта из нержавеющей стали (№ 12 x 1¼ дюйма); затяните винт из нержавеющей стали с моментом от 14 до 18 Н∙м.
Important: Не затягивайте винт из нержавеющей стали с моментом больше, чем указано в пункте 5.
Note: При закрывании зажима убедитесь, что в углублении верхней половины зажима установлен болт с шестигранной головкой (5/16 x ¾ дюйма).
Используя распылительное сопло, болт с шестигранной головкой и винт из нержавеющей стали, снятые при выполнении пунктов 1 и 2 раздела Демонтаж распылительных сопел, повторите действия, описанные в пунктах с 3 по 5, для хвостовика одностороннего шлангового штуцера типа «елочка» (Рисунок 57 и Рисунок 58), находящегося в конце другого шланга длиной 25 см (10 дюймов).
Используя два распылительных сопла, снятых при выполнении пункта 4 раздела Демонтаж распылительных сопел, повторите пункты с 3 по 5 для хвостовиков односторонних штуцеров типа «елочка» другого узла шланга (клапан опрыскивателя 5 или 6) в средней секции стрелы (Рисунок 57 и Рисунок 58).
Проложите шланг диаметром 13 мм (10 дюймов) и сопла в сборе между скобами наружных ферм (Рисунок 59).

Проложите шланг и сопло над скобой фермы и наружу к наружному креплению сопла (Рисунок 59).
Вставьте болт с шестигранной головкой (5/16 x ¾ дюйма) распылительного сопла в отверстие крепления сопла и установите, не затягивая, сопло на крепление с помощью фланцевой контргайки (5/16 дюйма) из доводочного комплекта системы опрыскивания GeoLink (Рисунок 60).

Проложите другой шланг диаметром 13 мм (10 дюймов) и сопло в сборе между скобами наружных ферм (Рисунок 59).
Проложите шланг и сопло над скобой фермы и внутрь к внутреннему креплению сопла (Рисунок 59).
Вставьте болт с шестигранной головкой (5/16 x ¾ дюйма) распылительного сопла в отверстие крепления сопла (Рисунок 60) и установите, не затягивая, сопло на крепление при помощи фланцевой контргайки (5/16 дюйма), снятой при выполнении пунктов 1 и 4 раздела Демонтаж распылительных сопел.
Затяните фланцевую контргайку с моментом от 1978 до 2542 Н∙см.
Проложите шланг и соединитель типа «елочка» 13 x 810 мм (½ x 32 дюйма) к боковой части средней секции опрыскивателя при помощи левого и правого опорных кронштейнов (Рисунок 59).
Повторите действия, описанные в пунктах 1 – 8, для другого шланга подачи в сборе с соплом на другой наружной ферме (Рисунок 59 и Рисунок 60).
Детали, требуемые для этой процедуры:
| Крышка (быстроразъемный соединитель) | 3 |
| Держатель | 3 |
Снимите верхнюю часть перепускного шланга следующим образом:
На машинах без дополнительного комплекта ручного распылителя или дополнительного комплекта электрического шлангового барабана снимите малый держатель, который крепит быстроразъемный штуцер перепускного шланга к быстроразъемному штуцеру перепускного клапана правой секции (Рисунок 61).

Для машин с дополнительным комплектом ручного распылителя или дополнительным комплектом электрического шлангового барабана выполните следующие действия:
Снимите держатель, который крепит быстроразъемный штуцер отсечного клапана к быстроразъемному гнезду перепускного клапана правой секции, и отделите клапан от гнезда (Рисунок 62).

Снимите держатель, который крепит штуцер быстрого соединения отсечного клапана к быстроразъемному гнезду прямоугольного штуцера типа «елочка», и отделите клапан от гнезда (Рисунок 62).
Note: Сохраните отсечной клапан и держатели для последующей установки, описанной в разделе Установка отсечного клапана на перепускной шланг.
Снимите большой держатель, который крепит прямоугольный штуцер типа «елочка» на нижнем конце перепускного шланга к переходному штуцеру на баке опрыскивателя (Рисунок 63).
Note: Сохраните большой держатель для последующей установки, описанной в разделе Подсоединение перепускных шлангов к баку.

Снимите перепускной шланг с машины.
Note: Перепускной шланг и малый держатель больше не потребуются.
Снимите 3 держателя, которые крепят 3 привода клапанов к клапанам левой, средней и правой секций (Рисунок 64).

Снимите приводы клапанов с клапанов левой, средней и правой секций (Рисунок 64).
Снимите держатель, который крепит крышку к быстроразъемному штуцеру перепускного клапана, и снимите крышку (Рисунок 65).
Note: Эта крышка больше не понадобится.

Снимите 3 держателя, которые крепят 3 перепускных клапана к клапанам левой, средней и правой секций (Рисунок 66).

Поднимите перепускные клапаны с клапанов секций (Рисунок 66).
Поверните перепускные клапаны на 180° и установите их на быстроразъемные штуцеры клапанов секций (Рисунок 66).
Закрепите 3 перепускных клапана на клапанах секций с помощью 3 держателей, снятых при выполнении пункта 4 (Рисунок 66).
Установите заглушку в гнездо быстроразъемного соединителя перепускного клапана (Рисунок 67).

Закрепите заглушку на гнезде быстроразъемного соединителя с помощью держателя, снятого при выполнении пункта 3 (Рисунок 67).
Установите 3 привода клапанов на клапаны левой, средней и правой секций (Рисунок 64) с помощью держателей, снятых при выполнении пункта 1.
Note: Клапаны секций добавляются к клапанам для системы опрыскивания GeoLink с 10 клапанами, как описано в разделе Установка 3 клапанов секций на опору крепления клапанов.
Удалите два болта с фланцевыми головками (¼ x ¾ дюйма) и две контргайки (¼ дюйма), которые крепят клапан левой секции стрелы к креплению коллектора (Рисунок 68).
Note: 2 болта с фланцевыми головками и контргайки больше не потребуются.

Удалите два болта с фланцевыми головками (¼ x ¾ дюйма) и две контргайки (¼ дюйма), которые крепят клапан правой секции стрелы к креплению коллектора (Рисунок 68).
Снимите фланцевый хомут на 40–64 мм и прокладку 25 x 35 мм, которые крепят фланец клапана левой секции к переходнику (Рисунок 68).
Note: Сохраните 2 болта с фланцевыми головками, 2 контргайки, фланцевый хомут и прокладку для последующей установки, описанной в разделе Установка 3 клапанов секций на опору крепления клапанов.

Снимите 3 клапана секций с машины (Рисунок 69).
Удалите наклейки с приводов 3 клапанов секций (Рисунок 70).

Снимите фланцевый хомут на 51 мм и прокладку на 38 мм, которые крепят фланец переходника к фланцу расходомера (Рисунок 71).
Note: Сохраните фланцевый хомут и прокладку для последующей установки, описанной в разделе Установка коллектора на расходомер.

Детали, требуемые для этой процедуры:
| Крепление расходомера | 1 |
| Половина опорного зажима | 4 |
| Болт (¼ x 4½ дюйма) | 4 |
| Фланцевые контргайки (¼ дюйма) | 4 |
Отсоедините 3-гнездовой разъем жгута проводов машины с маркировкой FLOW METER (расходомер) от 3-штыревого разъема на расходомере (Рисунок 72).

Снимите 2 вставных держателя жгута проводов машины с нижнего фланца кронштейна клапана секции (Рисунок 72).
Удалите 4 винта с фланцевыми головками (5/16 x ¾ дюйма), которые крепят кронштейн клапана секции, из опоры крепления клапана и снимите кронштейн клапана с машины (Рисунок 73).
Note: Сохраните 4 винта с фланцевыми головками для последующей установки, описанной в разделе Установка крепления и зажимов расходомера; кронштейн клапана секции больше не потребуется.

Совместите отверстия в кронштейне расходомера с отверстиями в опоре крепления клапана (Рисунок 74).

Установите кронштейн расходомера на опору крепления клапана с помощью 4 винтов с фланцевыми головками, снятых при выполнении пункта 3 в разделе Снятие кронштейна клапана секции, и затяните винты с моментом от 1978 до 2542 Н∙см.
Вставьте 2 половины опорного зажима между расходомером и кронштейном расходомера и совместите отверстия в половинах зажима с отверстиями в кронштейне (Рисунок 75).

Совместите половину опорного зажима на задней стороне расходомера с одной из половин зажима, собранного при выполнении пункта 3 (Рисунок 75).
Подсоедините пару половин зажима к кронштейну расходомера (Рисунок 75) с помощью 2 болтов (¼ x 4½ дюйма) и 2 фланцевых контргаек (¼ дюйма).
Повторите действия, описанные в пунктах 4 и 5, на другой половине зажима, установленного при выполнении пункта 3.
Затяните болты и гайки с моментом от 1017 до 1243 Н∙см.
Детали, требуемые для этой процедуры:
| Задний жгут проводов | 1 |
| Кабельная стяжка | 7 |


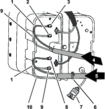
Найдите ответвления жгута проводов длиной 84 см, 60 см и 66 см из комплекта (Рисунок 76 и Рисунок 77).
Проложите ответвления жгута проводов длиной 84 см, 60 см и 66 см из комплекта к левой стороне машины вдоль жгута проводов машины (Рисунок 78 и Рисунок 79).


Проложите ответвления жгута проводов длиной 84 см, 60 см и 66 см из комплекта вперед и вдоль левого швеллера рамы (Рисунок 81 и Рисунок 82).



Проложите ответвления жгута проводов длиной 84 см, 60 см и 66 см из комплекта вдоль жгута проводов машины и наружу от стояночного тормоза в сборе (Рисунок 83).

Проложите ответвления жгута проводов длиной 84 см, 60 см и 66 см из комплекта поперек опорной трубы амортизатора, как показано на Рисунок 84.

Прикрепите жгут проводов из комплекта к жгуту проводов машины, как показано на Рисунок 82, Рисунок 83 и Рисунок 84.
В задней части машины проложите ответвление жгута проводов длиной 89 см впереди подъемного коллектора и справа от расходомера, как показано на Рисунок 85.

Проложите ответвление длиной 102 см жгута проводов позади подъемного коллектора и направо, как показано на Рисунок 85.
Подсоедините 3-штыревой разъем ответвления жгута проводов длиной 89 см с маркировкой LEFT SPRAY (левая секция опрыскивателя) к 3-гнездовому разъему жгута проводов машины с маркировкой LEFT SPRAY VALVE (клапан левой секции опрыскивателя) (Рисунок 86).

Подсоедините 3-штыревой разъем жгута проводов из комплекта с маркировкой CENTER SPRAY (средняя секция опрыскивателя) к 3-гнездовому разъему жгута проводов машины с маркировкой CENTER SPRAY VALVE (клапан средней секции опрыскивателя) (Рисунок 86).
Подсоедините 3-штыревой разъем жгута проводов из комплекта с маркировкой RIGHT SPRAY (правая секция опрыскивателя) к 3-гнездовому разъему жгута проводов машины с маркировкой RIGHT SPRAY VALVE (клапан правой секции опрыскивателя) (Рисунок 86)..
Вставьте вставной держатель жгута проводов из комплекта в отверстие фланца кронштейна расходомера (Рисунок 86).
Подсоедините 3-гнездовой электрический разъем ответвления жгута проводов длиной 89 см с маркировкой FLOW METER (расходомер) к 3-штыревому разъему расходомера (Рисунок 87).

Подсоедините 3-штыревой разъем ответвления жгута проводов длиной 89 см из комплекта с маркировкой MASTER VALVE (главный клапан) к 3-гнездовому разъему жгута проводов машины с маркировкой MASTER SPRAY VALVE (главный клапан опрыскивателя) (Рисунок 88).

Подсоедините 3-штыревой разъем привода главного клапана опрыскивателя к 3-гнездовому разъему ответвления жгута проводов длиной 89 см из комплекта с маркировкой MASTER VALVE (главный клапан) (Рисунок 88).
Подсоедините 4-штыревой разъем привода клапана интенсивности опрыскивания к 4-гнездовому разъему ответвления жгута проводов длиной 89 см из комплекта с маркировкой RATE VALVE (клапан интенсивности опрыскивания) (Рисунок 89).

Детали, требуемые для этой процедуры:
| Прямой шланговый штуцер типа «елочка» (1 x 2 дюйма) | 1 |
| Шланговый хомут (от ¾ до 1½ дюйма) | 3 |
| Шланг (1 x 5¾ дюйма) | 1 |
| Коллектор | 1 |
| Шланг (1 x 16 дюймов) | 1 |
Подсоедините шланг (1 x 5¾ дюйма) к прямому шланговому штуцеру типа «елочка» (1 x 2 дюйма) с помощью шлангового хомута (от ¾ до 1½ дюйма) и затяните хомут от руки (Рисунок 90).

Подсоедините другой конец шланга (1 x 5¾ дюйма) к штуцеру типа «елочка» коллектора с помощью шлангового хомута, как показано на Рисунок 90, и затяните шланговый хомут от руки.
Подсоедините шланг (1 x 16 дюймов) к другому штуцеру типа «елочка» коллектора с помощью шлангового хомута и затяните хомут от руки (Рисунок 90).
Подсоедините прямой шланговый штуцер типа «елочка» (1 x 2 дюйма) к фланцу расходомера, используя прокладку 38 мм и фланцевый хомут 51 мм, снятые при выполнении пункта 6 в разделе Демонтаж клапанов секций с крепления коллектора.

Затяните фланцевый хомут от руки (Рисунок 91).
Детали, требуемые для этой процедуры:
| Перепускной шланг в сборе | 1 |
| Отсечной клапан | 1 |
Как показано на Рисунок 92, снимите держатель с прямоугольного быстроразъемного штуцера.

Установите отсечной клапан на гнездо быстроразъемного штуцера (Рисунок 92).
Прикрепите клапан к штуцеру с помощью держателя, снятого при выполнении пункта 1.
Подсоедините отсечной клапан и держатель, снятые при выполнении пункта 1 в разделе Демонтаж перепускного шланга секции, к другому быстроразъемному гнездовому штуцеру (Рисунок 92).
Совместите узел перепускного шланга с баком опрыскивателя (Рисунок 93).


Присоедините прямоугольный штуцер типа «елочка» к переходному штуцеру бака опрыскивателя и закрепите штуцеры с помощью держателя, снятого при выполнении пункта 2 в разделе Демонтаж перепускного шланга секции.
Грузоподъемность подъемного оборудования: 55 кг
Используя подъемное оборудование с указанной грузоподъемностью, поднимите среднюю секцию опрыскивателя и совместите отверстия в опорном кронштейне секции опрыскивателя (Рисунок 94) с отверстиями в монтажной плите рамы машины, отмеченные при выполнении пункта 3 в разделе Демонтаж средней секции опрыскивателя.

Установите среднюю секцию опрыскивателя на монтажные швеллеры (Рисунок 94) при помощи 4 болтов с фланцевыми головками (½ x 1¼ дюйма) и 4 фланцевых контргаек (½ дюйма), снятых при выполнении пункта 4 в разделе Демонтаж средней секции опрыскивателя.
Затяните гайки и болты с моментом от 91 до 113 Н•м.
Отвяжите коллектор подъема от кронштейна крепления клапана.
Установите коллектор подъема секции на крепление цилиндра следующим образом:
Для машин без дополнительного комплекта ультразвукового выравнивания стрелы:
Совместите отверстия в опорном кронштейне коллектора подъема секции с отверстиями в креплении цилиндра (Рисунок 95).

Установите опорный кронштейн на крепление цилиндра (Рисунок 95) при помощи 2 болтов с фланцевыми головками (5/16 x 1 дюйм) и фланцевых контргаек (5/16 дюйма), снятых при выполнении пункта 1 раздела Демонтаж коллектора подъема секции со средней секции опрыскивателя.
Для машин с дополнительным комплектом ультразвукового выравнивания стрелы:
Совместите отверстия в опорном кронштейне коллектора подъема секции и кронштейне контроллера TEC с отверстиями в креплении цилиндра.

Установите опорный кронштейн и кронштейн контроллера TEC на крепление цилиндра (Рисунок 96) при помощи 2 болтов с фланцевыми головками (5/16 x 1 дюйм) и фланцевых контргаек (5/16 дюйма), снятых при выполнении пункта 1 раздела Демонтаж коллектора подъема секции со средней секции опрыскивателя.
Затяните болты и гайки с моментом от 1978 до 2542 Н∙см.
Детали, требуемые для этой процедуры:
| Опора крепления клапанов и клапанная сборка опрыскивателя | 1 |
| Болт (4 x 10 мм) | 3 |
| Контроллер опрыскивателя ASC 10 | 1 |
| Фланцевая контргайка (4 мм) | 3 |
| Крышка (быстроразъемный штуцер) | 2 |
| Болты с фланцевыми головками (5/16 x ¾ дюйма) | 8 |
| Фланцевые контргайки (5/16 дюйма) | 8 |
| Шланговый хомут | 1 |
| Вставной держатель (кабельная стяжка) | 1 |
| Вставной держатель (фиксатор соединителя) | 3 |
Установите контроллер опрыскивателя ASC 10 на передней стороне опоры крепления клапанов так, чтобы 4-штыревой разъем был направлен наружу (Рисунок 97).

Установите контроллер опрыскивателя на опору крепления клапанов (Рисунок 97) с помощью 3 болтов (4 x 10 мм) и 3 фланцевых контргаек (4 мм).
Note: Не используйте верхнее наружное отверстие в контроллере опрыскивателя ASC 10.
Затяните болты и гайки с моментом от 234 до 286 Н∙см.
Снимите держатели, которые крепят приводы клапанов к клапанам сопел с 1 по 7 (Рисунок 98).

Снимите приводы клапанов с клапанов сопел с 1 по 7 (Рисунок 98).
Снимите держатели, которые крепят заглушки в гнездах быстроразъемных штуцеров на клапане сопла 5 и клапане сопла 6, и снимите заглушки (Рисунок 99).
Note: Заглушки больше не потребуются; сохраните держатели для последующей установки, описанной в разделе Установка перепускных шлангов секций на машины с дополнительным комплектом ручного распылителя или дополнительным комплектом электрического шлангового барабана.

Снимите держатели, которые крепят перепускные клапаны к клапанам сопел с 1 по 7 (Рисунок 100).

Поднимите перепускные клапаны с клапанов сопел с 1 по 5 (Рисунок 100).
Переверните перепускные клапаны на 180° и установите их на быстроразъемные штуцеры клапанов секций (Рисунок 101).

Закрепите перепускные клапаны на клапанах секций с помощью держателей (Рисунок 101), снятых при выполнении пункта 4.
Повторите действия, описанные в пунктах с 5 по 7, для перепускных клапанов клапана сопла 6 и клапана сопла 7 (Рисунок 102).

Установите крышки на быстроразъемные штуцеры перепускных клапанов клапана сопла 5 и клапана сопла 6 с помощью держателей, поставляемых в комплекте с крышками (Рисунок 101).

Установите приводы клапанов на клапаны сопел с 1 по 7 (Рисунок 98) с помощью держателей, снятых при выполнении пункта 1.
Установите 3 клапана секций (Рисунок 104), снятых при выполнении пункта 8 в разделе Демонтаж клапанов секций с крепления коллектора, на фланец клапана 7 узла клапана опрыскивателя с помощью фланцевого хомута и прокладки, снятых при выполнении пункта 4 в разделе Демонтаж клапанов секций с крепления коллектора.
Important: Клапаны левой, средней и правой секций определяются в системе опрыскивания GeoLink следующим образом: клапан левой секции – клапан сопла 8, клапан средней секции – клапан сопла 9, клапан правой секции – клапан сопла 10.

Прикрепите гнездо быстроразъемного соединителя перепускного клапана на клапане сопла 8 к быстроразъемному соединителю перепускного клапана на клапане сопла 7 с помощью держателя, снятого при выполнении действий, описанных в пункте 8 раздела Демонтаж клапанов секций с крепления коллектора.

Установите клапан сопла 10 на опору крепления клапанов (Рисунок 106 или Рисунок 107) при помощи 2 болтов с фланцевыми головками (¼ x ¾ дюйма) и 2 контргаек (¼ дюйма), снятых при выполнении пункта 2 раздела Демонтаж клапанов секций с крепления коллектора.


Затяните болты с фланцевыми головками и контргайки с моментом от 1017 до 1243 Н∙м.
Грузоподъемность подъемного оборудования: 23 кг
Используя подъемное оборудование с указанной грузоподъемностью, поднимите опору крепления клапанов и клапаны в сборе опрыскивателя и выровняйте их над средней секцией опрыскивателя (Рисунок 108).

Совместите отверстия в монтажном кронштейне опоры крепления клапанов с отверстиями в ферменной раме средней секции опрыскивателя (Рисунок 109).

Установите опору крепления клапанов на ферменную раму (Рисунок 109 и Рисунок 110) при помощи 4 болтов (5/16 x ¾ дюйма) и 4 фланцевых контргаек (5/16 дюйма).

Повторите действия, описанные в пунктах с 2 по 3, для другого монтажного кронштейна опоры крепления клапанов на другой ферменной раме.
Затяните болты с фланцевыми головками и фланцевые контргайки с моментом от 1978 до 2542 Н∙м.
Установите шланг (1 x 16 дюймов) на прямоугольный фланцевый штуцер (1 дюйм), как показано на Рисунок 111.

Закрепите шланг на фланцевом штуцере шланговым хомутом (Рисунок 111).
Вставьте кабельную стяжку / вставной держатель в отверстие в верхней части опоры крепления клапанов, как показано на Рисунок 111.
Закрепите кабельную стяжку / вставной держатель (Рисунок 111) вокруг шланга (1 x 16 дюймов).
Снимите держатели с гнезд быстроразъемных штуцеров.
Подсоедините быстроразъемный штуцер перепускного шланга к быстроразъемному штуцеру перепускного клапана на клапане сопла 10 (Рисунок 112).

Закрепите быстроразъемные штуцеры перепускного шланга и перепускного клапана с помощью держателя (Рисунок 112).
Повторите действия, описанные в пунктах с 1 по 3, для быстроразъемных штуцеров на клапане сопла 1.
Установите быстроразъемный штуцер отсечного перепускного клапана с быстроразъемным штуцером (гнездом) перепускного клапана (Рисунок 113).

Закрепите быстроразъемные штуцеры перепускного отсечного клапана и перепускного клапана с помощью держателя (Рисунок 113), снятого при выполнении пункта 3 в разделе Изменение положения перепускных клапанов – машины без дополнительного комплекта ручного распылителя или дополнительного комплекта электрического шлангового барабана.
Повторите действия, описанные в пунктах 1 и 2, для перепускного отсечного клапана и перепускного клапана с другой стороны машины.
Вставьте вставные держатели разъемов с фиксаторами в отверстия опоры крепления клапанов (Рисунок 114).


Подсоедините 3-гнездовой разъем (Рисунок 115) ответвления жгута проводов длиной 89 см из комплекта с маркировкой NOZZLE VALVE 1 (клапан сопла 1) к 3-штыревому разъему самого левого привода клапана (положение 1).
Note: Положения приводов клапанов с 1 по 10 распределены слева направо, если стоять позади машины.
Подсоедините 3-гнездовой разъем (Рисунок 115) ответвления жгута проводов длиной 89 см из комплекта с маркировкой NOZZLE VALVE 2 (клапан сопла 2) к 3-штыревому разъему привода клапана (положение 2).
Подсоедините остальные 3-гнездовые разъемы ответвления жгута проводов длиной 89 см из комплекта к 3-штыревым разъемам приводов клапанов (Рисунок 115).
Note: Убедитесь, что 3-гнездовые разъемы подсоединены к приводам клапанов в соответствующих положениях.
Детали, требуемые для этой процедуры:
| Гидравлический шланг (¼ x 24¾ дюйма) | 4 |
Совместите неподвижный конец подъемного цилиндра, снятого при выполнении пункта 3 раздела Демонтаж подъемных цилиндров, с отверстием диаметром 16 мм (⅝ дюйма) в креплении цилиндра (Рисунок 116).
Note: Убедитесь, что отверстия выдвижения и втягивания цилиндра совмещены надлежащим образом.

Установите цилиндр на крепление цилиндра при помощи оси поворота, болта с фланцевой головкой и фланцевой гайки (Рисунок 116).
Затяните болт и гайку с моментом от 1978 до 2542 Н∙см.
Повторите действия, описанные в пунктах с 1 по 3, для другого подъемного цилиндра с другой стороны крепления цилиндра.
Установите, не затягивая, новый гидравлический шланг (¼ x 24¾ дюйма) между отверстием выдвижения подъемного цилиндра левой секции стрелы и отверстием C3 коллектора подъема стрелы (Рисунок 117).

Установите, не затягивая, новый гидравлический шланг (¼ x 24¾ дюйма) между отверстием втягивания подъемного цилиндра левой секции стрелы и отверстием C4 коллектора подъема стрелы (Рисунок 117).
Установите, не затягивая, новый гидравлический шланг (¼ x 24¾ дюйма) между отверстием выдвижения подъемного цилиндра правой секции стрелы и отверстием C1 коллектора подъема стрелы (Рисунок 118).

Установите, не затягивая, новый гидравлический шланг (¼ x 24¾ дюйма) между отверстием втягивания подъемного цилиндра правой секции стрелы и отверстием C2 коллектора подъема стрелы (Рисунок 118).
Затяните штуцеры шлангов в отверстиях выдвижения и втягивания подъемных цилиндров (Рисунок 117 и Рисунок 118) с моментом от 21 до 26 Н∙м.
Затяните накидные гайки шлангов, подсоединенных к коллектору подъема стрелы (Рисунок 117 и Рисунок 118), с моментом от 24 до 30 Н∙м.
Детали, требуемые для этой процедуры:
| Нейлоновая фланцевая втулка | 4 |
| Кабельная стяжка | 1 |
| Шланг подачи в сборе длиной 188 см | 1 |
| Шланг подачи в сборе длиной 234 см | 1 |
| Шланг подачи в сборе длиной 279 см | 1 |
Перережьте шланг между двумя распылительными соплами (Рисунок 119).

Отверните фланцевую контргайку (5/16 дюйма), которая крепит распылительное сопло к опоре сопла (Рисунок 119).
Повторите действия, описанные в пунктах 2 и 1, для остальных трех сопел.
Note: Сохраните фланцевые контргайки и распылительные сопла для последующей установки, описанной в разделе Установка распылительных сопел на наружные секции опрыскивателя.
Note: Удалите в отходы шланги, хомуты и тройник, снятые с машины.
Повторите действия, описанные в пунктах 2 – 3, для другой наружной секции опрыскивателя.
У 8 распылительных сопел, снятых при выполнении пункта 1, отверните винты из нержавеющей стали (№ 12 x 1¼ дюйма), которые крепят верхние половины зажимов и хвостовики двухсторонних или односторонних шланговых штуцеров типа «елочка» (¾ дюйма) к корпусу каждого распылительного сопла, и снимите хвостовики штуцеров типа «елочка» (Рисунок 120).
Note: При открывании зажима от его верхней половины отделится болт с шестигранной головкой (5/16 x ¾ дюйма, нержавеющая сталь); сохраните этот болт для последующей установки.

Грузоподъемность подъемного оборудования: 91 кг
Используя подъемное оборудование с указанной грузоподъемностью, поднимите наружную стрелу.
Вставьте нейлоновые фланцевые втулки в отверстия диаметром 31,8 мм (1¼ дюйма) с каждой стороны крепления оси поворота (Рисунок 121).

Совместите втулки в креплениях оси поворота с отверстиями во фланцах кронштейна оси поворота в конце средней секции опрыскивателя (Рисунок 122).

Установите крепление оси поворота в кронштейн оси поворота, используя ось поворота, фланцевый болт (5/16 x 1 дюйм) и фланцевую контргайку (5/16 дюйма), снятые при выполнении пункта 2 в разделе Демонтаж наружных секций опрыскивателя.
Затяните болт и гайку с моментом от 1978 до 2542 Н∙см.
Совместите конец штока подъемного цилиндра с отверстием диаметром 25 мм (1 дюйм) в выступе крепления оси поворота (Рисунок 123).

Прикрепите подъемный цилиндр к креплению оси поворота при помощи шплинтуемого штифта и шплинта (Рисунок 123), снятых при выполнении пункта 2 раздела Демонтаж подъемных цилиндров.
Повторите действия, описанные в пунктах 1 – 7, на наружной секции опрыскивателя с другой стороны машины.
Детали, требуемые для этой процедуры:
| Шланг подачи длиной 279 см | 2 |
| Шланг подачи длиной 234 см | 2 |
| Шланг подачи длиной 188 см | 4 |
| Шланг подачи длиной 81 см | 2 |
Определите расположение шлангов подачи по их длине (Рисунок 124) для каждого из мест расположения распылительных сопел, как описано ниже:
| Положения распылительных сопл – левая секция опрыскивателя | Положения распылительных сопл – средняя секция опрыскивателя | Положения распылительных сопл – правая секция опрыскивателя |
|---|---|---|
| Распылительное сопло 1 (клапан сопла 1) – шланг подачи длиной 279 см | Распылительные сопла 5 и 6 (клапан сопла 5) – шланг подачи длиной 81 см с двумя отводными шлангами | Распылительное сопло 9 (клапан сопла 7) – шланг подачи длиной 188 см |
| Распылительное сопло 2 (клапан сопла 2) – шланг подачи длиной 234 см | Распылительные сопла 7 и 8 (клапан сопла 6) – шланг подачи длиной 81 см с двумя отводными шлангами | Распылительное сопло 10 (клапан сопла 8) – шланг подачи длиной 188 см |
| Распылительное сопло 3 (клапан сопла 3) – шланг подачи длиной 188 см | Распылительное сопло 11 (клапан сопла 9) – шланг подачи длиной 234 см | |
| Распылительное сопло 4 (клапан сопла 4) – шланг подачи длиной 188 см | Распылительное сопло 12 (клапан сопла 10) – шланг подачи длиной 279 см |
Note: Расположения клапанов сопел см. на Рисунок 125 в разделе Подсоединение шлангов к клапанам сопел с 1 по 4, на Рисунок 126 в разделе Подсоединение шлангов к клапанам сопел 5 и 6 и на Рисунок 127 в разделе Подсоединение шлангов к клапанам сопел с 7 по 10.

Установите прямой штуцер типа «елочка» шланга подачи длиной 279 см на соединительную муфту клапана сопла 1 (Рисунок 125).
Note: Убедитесь, что штуцер типа «елочка» полностью установлен на соединительную муфту.

Прикрепите штуцер типа «елочка» к соединительной муфте с помощью держателя (Рисунок 125).
Установите прямой штуцер типа «елочка» шланга подачи длиной 234 см на соединительную муфту клапана сопла 2 (Рисунок 125).
Note: Убедитесь, что штуцер типа «елочка» полностью установлен на соединительную муфту.
Прикрепите штуцер типа «елочка» к соединительной муфте с помощью держателя (Рисунок 125).
Установите прямой штуцер типа «елочка» шланга подачи длиной 188 см на соединительную муфту клапана сопла 3 (Рисунок 125).
Note: Убедитесь, что штуцер типа «елочка» полностью установлен на соединительную муфту.
Прикрепите штуцер типа «елочка» к соединительной муфте с помощью держателя (Рисунок 125).
Установите прямой штуцер типа «елочка» шланга подачи длиной 188 см на соединительную муфту клапана сопла 4 (Рисунок 125).
Note: Убедитесь, что штуцер типа «елочка» полностью установлен на соединительную муфту.
Прикрепите штуцер типа «елочка» к соединительной муфте с помощью держателя (Рисунок 125).
Note: У шланга подачи в сборе длиной 81 см имеется тройник с двумя отводными шлангами и двумя хвостовиками односторонних штуцеров типа «елочка».
Установите прямой штуцер типа «елочка» шланга подачи длиной 81 см на соединительную муфту клапана сопла 5 (Рисунок 126).
Note: Убедитесь, что штуцер типа «елочка» полностью установлен на соединительную муфту.

Прикрепите штуцер типа «елочка» к соединительной муфте с помощью держателя (Рисунок 126).
Установите прямой штуцер типа «елочка» шланга подачи длиной 81 см на соединительную муфту клапана сопла 6 (Рисунок 126).
Note: Убедитесь, что штуцер типа «елочка» полностью установлен на соединительную муфту.
Прикрепите штуцер типа «елочка» к соединительной муфте с помощью держателя (Рисунок 126).
Установите прямой штуцер типа «елочка» шланга подачи длиной 188 см на соединительную муфту клапана сопла 7 (Рисунок 127).
Note: Убедитесь, что штуцер типа «елочка» полностью установлен на соединительную муфту.

Прикрепите штуцер типа «елочка» к соединительной муфте с помощью держателя (Рисунок 127).
Установите прямой штуцер типа «елочка» шланга подачи длиной 188 см на соединительную муфту клапана сопла 8 (Рисунок 127).
Note: Убедитесь, что штуцер типа «елочка» полностью установлен на соединительную муфту.
Прикрепите штуцер типа «елочка» к соединительной муфте с помощью держателя (Рисунок 127).
Установите прямой штуцер типа «елочка» шланга подачи длиной 234 см на соединительную муфту клапана сопла 9 (Рисунок 127).
Note: Убедитесь, что штуцер типа «елочка» полностью установлен на соединительную муфту.
Прикрепите штуцер типа «елочка» к соединительной муфте с помощью держателя (Рисунок 127).
Установите прямой штуцер типа «елочка» шланга подачи длиной 279 см на соединительную муфту клапана сопла 10 (Рисунок 127).
Note: Убедитесь, что штуцер типа «елочка» полностью установлен на соединительную муфту.
Прикрепите штуцер типа «елочка» к соединительной муфте с помощью держателя (Рисунок 127).
Проложите шланги распылительных сопел 1, 2, 3 и 4 через R-образный зажим в левом наружном конце средней секции опрыскивателя (Рисунок 128 и Рисунок 129).


Проложите шланги подачи распылительных сопел 7, 8, 9 и 10 через R-образный зажим в правом наружном конце средней секции опрыскивателя (Рисунок 128 и Рисунок 129).
Проложите шланги подачи длиной 279 см и хвостовики шланговых штуцеров типа «елочка» (¾ дюйма) вдоль секции опрыскивателя к распылительным соплам 1 и 10, как показано на Рисунок 128 и Рисунок 129.
Проложите шланги подачи длиной 234 см и хвостовики шланговых штуцеров типа «елочка» (¾ дюйма) вдоль секции опрыскивателя к распылительным соплам 2 и 9, как показано на Рисунок 128 и Рисунок 129.
Проложите шланги подачи длиной 188 см и хвостовики шланговых штуцеров типа «елочка» (¾ дюйма) вдоль секции опрыскивателя к распылительным соплам 3 и 8, как показано на Рисунок 128 и Рисунок 129.
Note: Проложите шланги сквозь нижние задние втулки в кронштейнах трубчатой рамы.
Проложите шланги подачи длиной 188 см и хвостовики шланговых штуцеров типа «елочка» (¾ дюйма) вдоль секции опрыскивателя к распылительным соплам 4 и 7, как показано на Рисунок 128 и Рисунок 129.
Note: Проложите шланги сквозь нижние задние втулки в кронштейнах трубчатой рамы.
Соедините 4 шланга распылительных сопел в пучок с помощью кабельной стяжки, как показано на Рисунок 129.
Совместите трубу для перекачивания в опоре распылительного сопла (Рисунок 130) с отверстием в боковой части хвостовика одностороннего шлангового штуцера типа «елочка» (½ дюйма).

Установите верхнюю половину зажима поверх хвостовика штуцера типа «елочка» и закрепите половину зажима и корпус распылительного сопла (Рисунок 130) с помощью винта из нержавеющей стали (№ 12 x 1¼ дюйма); затяните винт из нержавеющей стали с моментом от 14 до 18 Н∙м.
Note: При закрывании зажима убедитесь в том, что в углублении верхней половины зажима установлен болт с шестигранной головкой (5/16 x ¾ дюйма).
Установите распылительные сопла на наружные секции опрыскивателя следующим образом:
В положениях сопел 1 и 4 установите распылительное сопло на крепление сопла (вид A на Рисунок 131) при помощи фланцевой контргайки (5/16 дюйма), снятой при выполнении пункта 2 раздела Демонтаж распылительных сопел с наружных секций опрыскивателя.
В положениях сопел 2 и 3 установите распылительное сопло на крепление сопла (вид A и B на Рисунок 131) при помощи фланцевой контргайки (5/16 дюйма), снятой при выполнении пункта 2 раздела Демонтаж распылительных сопел с наружных секций опрыскивателя.

Затяните фланцевую контргайку с моментом от 1978 до 2542 Н∙см.
Повторите действия, описанные в пунктах с 1 по 4, для других распылительных сопел секции опрыскивателя.
Повторите действия, описанные в пунктах 1 – 5, на наружной секции опрыскивателя с другой стороны машины.
Подсоедините 3-гнездовой разъем ответвления жгута проводов длиной 61 см из комплекта с маркировкой PRESSURE TRANSDUCER GREEN WEDGE (зеленый треугольник датчика давления) к 3-штыревому разъему датчика давления (Рисунок 132).

Вставьте 40-гнездовой разъем ответвления жгута проводов длиной 102 см из комплекта в 40-штыревой разъем контроллера опрыскивателя ASC 10 (Рисунок 133).

Заверните винт с рифленой головкой 40-гнездового разъема в разъем ASC 10 от руки (Рисунок 133).
Вставьте 4-гнездовой разъем с маркировкой TO ASC 10 (к ASC 10) в 4-штыревой разъем контроллера опрыскивателя ASC 10 (Рисунок 134).

Установите прямоугольный штуцер отсечного клапана дополнительного комплекта ручного распылителя или комплекта электрического шлангового барабана на фланец клапана сопла 10 с помощью фланцевого хомута и прокладки и затяните хомут от руки (Рисунок 136).

Подсоедините конец трубки датчика давления (пластиковой) для манометра на приборной панели к запорному кольцу соединительной муфты трубки на прямоугольном штуцере отсечного клапана комплекта ручного распылителя или электрического шлангового барабана (Рисунок 137).

Вставьте трубку датчика давления в запорное кольцо до полной посадки трубки (Рисунок 137).
Детали, требуемые для этой процедуры:
| Кабельная стяжка | 6 |
Проведите трубки пенообразующих насадок в левой и правой секциях опрыскивателя внутрь и через R-образный хомут рядом с шарнирным креплением каждой наружной секции опрыскивателя (Рисунок 139).


Проложите трубки вперед, вдоль левой стороны бака опрыскивателя (Рисунок 139).
Прикрепите трубки левой и правой насадок пенного маркера к шлангам опрыскивателя с помощью 4 кабельных стяжек, как показано на Рисунок 139.
Прикрепите трубки левой и правой насадок пенного маркера к трубкам перемешивания с помощью 2 кабельных стяжек, как показано на Рисунок 139.
Проложите пенные трубки для правой стрелы, как показано на Рисунок 140.


Вставьте прозрачную трубку в штуцер для воздуха на боковой пластине компрессора (Рисунок 140 и Рисунок 141).

Вставьте синюю трубку в штуцер для жидкости на боковой пластине компрессора (Рисунок 140 и Рисунок 141).
Проложите пенные трубки для левой стрелы, как показано на Рисунок 140.
Вставьте прозрачную трубку в штуцер для воздуха на боковой пластине компрессора (Рисунок 140 и Рисунок 141).
Вставьте синюю трубку в штуцер для жидкости на боковой пластине компрессора (Рисунок 140 и Рисунок 141).
Закрепите трубки при помощи кабельной стяжки, подготовленной при выполнении пункта 9 раздела Подготовка новых трубок в сборе для насадок пенного маркера, надев синюю трубку правой секции опрыскивателя на обжимной фитинг водяного контура правой секции опрыскивателя (Рисунок 142).

Наденьте зажимную гайку трубки на фитинг и затяните гайку от руки (Рисунок 142).
Подсоедините прозрачную трубку правой секции опрыскивателя к обжимному штуцеру воздушного контура правой секции опрыскивателя (Рисунок 142).
Наденьте зажимную гайку трубки на фитинг и затяните гайку от руки (Рисунок 142).
Подсоедините немаркированную (без кабельной стяжки) трубку, надев синюю трубку левой секции опрыскивателя на обжимной фитинг водяного контура левой секции опрыскивателя (Рисунок 143).

Наденьте зажимную гайку трубки на фитинг и затяните гайку от руки (Рисунок 143).
Подсоедините прозрачную трубку левой секции опрыскивателя к обжимному фитингу воздушного контура левой секции опрыскивателя (Рисунок 143).
Наденьте зажимную гайку трубки на фитинг и затяните гайку от руки (Рисунок 143).
Закрепите трубку пенного маркера на шлангах распылительных сопел двумя кабельными стяжками (Рисунок 139).
Подсоедините 3-гнездовой разъем жгута проводов комплекта ультразвукового выравнивания стрелы к 3-штыревому разъему кабеля правого ультразвукового датчика (вид А на Рисунок 144).

Подсоедините 3-гнездовой разъем жгута проводов комплекта ультразвукового выравнивания стрелы к 3-штыревому разъему кабеля левого ультразвукового датчика (вид В на Рисунок 144).
Детали, требуемые для этой процедуры:
| Удлинитель кожуха в сборе (12-сопел – номер 120-0621 по каталогу Toro) | 1 |
| Закладная заклепка (номер 114439 по каталогу Toro) | 22 |
| Опорный кронштейн (кожух средней секции – номер 131-3703-03 по каталогу Toro) | 4 |
| Гайка с зажимом (номер 94-2413 по каталогу Toro) | 4 |
| Болты с фланцевыми головками (⅜ x 1¼ дюйма – номер 110-5050 по каталогу Toro) | 16 |
| Фланцевые контргайки (⅜ дюйма – номер 104-8301 по каталогу Toro) | 16 |
| Хомут кожуха (номер 120-0629 по каталогу Toro) | 2 |
| Болты с фланцевыми головками (5/16 x 1¼ дюйма – номер 323-36 по каталогу Toro) | 4 |
Используя дрель со сверлом 5 мм (3/16 дюйма), высверлите 11 закладных заклепок (Рисунок 145), которые крепят усиливающую пластину (с одним рядом заклепок) и резиновый кожух к концу кожуха секции с 11 соплами для средней секции опрыскивателя, снятого при выполнении пункта 2 раздела Демонтаж кожуха средней секции (с 11 соплами) дополнительного комплекта закрытой стрелы.


Снимите усиливающую пластину, 11 шайб (3/16 дюйма) и резиновый кожух с кожуха стрелы с 11 соплами (Рисунок 145).
Note: Сохраните усиливающую пластину, шайбы и резиновый кожух для последующей установки, описанной в пунктах 5 и 6.
Совместите отверстия в усиливающей пластине (двойной ряд) удлинителя кожуха с отверстиями в конце кожуха стрелы с 11 соплами (Рисунок 146).

Прикрепите удлинитель кожуха к кожуху секции с 11 соплами (Рисунок 147) при помощи 11 закладных заклепок (номер 114439 по каталогу Toro)

Совместите отверстия в резиновом кожухе и усиливающей пластине (один ряд), снятыми при выполнении пункта 2, с отверстиями в конце удлинителя кожуха (Рисунок 148).

Прикрепите усиливающую пластину и резиновый кожух к удлинителю кожуха при помощи 11 закладных заклепок (номер 114439 по каталогу Toro) и 11 шайб (3/16 дюйма), снятых при выполнении пункта 5.
Note: Выровняйте шайбы (3/16 дюйма) по внутренней поверхности удлинителя кожуха.
Установите 4 гайки с зажимами (номер 94-2413 по каталогу Toro) на два опорных кронштейна кожуха средней секции (номер 131-3703–03 по каталогу Toro), как показано на Рисунок 149.

В месте расположения удлинителя средней секции опрыскивателя найдите 2 пары отверстий в вертикальной лицевой поверхности ферменной рамы с расстоянием по 25 мм между отверстиями (Рисунок 150).


Совместите отверстия в опорном кронштейне (номер 131-3703-03 по каталогу Toro) с отверстиями в удлинителе средней секции опрыскивателя, месторасположение которых было определено согласно пункту 2, так, чтобы широкий фланец кронштейна был слева; см. Рисунок 150.
Установите опорный кронштейн на ферменную раму (Рисунок 150) с помощью 4 болтов с фланцевыми головками (⅜ x 1¼ дюйма – номер 110-5050 по каталогу Toro) и 4 фланцевых контргаек (⅜ дюйма – номер 104-8301 по каталогу Toro).
Повторите действия, описанные в пунктах с 2 по 4, для других 2 пар отверстий удлинителя для средней секции опрыскивателя и другого опорного кронштейна, используя болты с фланцевыми головками и фланцевые контргайки.
Затяните гайки и болты с моментом от 37 до 45 Н•м.
Совместите отверстия в кожухе средней секции с отверстиями в опорных кронштейнах для кожуха средней секции (Рисунок 151).

Совместите отверстия в двух хомутах кожуха, снятых при выполнении пункта 1 раздела Демонтаж кожуха средней секции (с 11 соплами) дополнительного комплекта закрытой стрелы, со шлангом в кожухе и двумя опорными кронштейнами (Рисунок 151).
Установите хомуты кожуха и кожух на опорные кронштейны при помощи 4 болтов с фланцевыми головками (5/16 x 1¼ дюйма), снятых при выполнении пункта 1 раздела Демонтаж кожуха средней секции (с 11 соплами) дополнительного комплекта закрытой стрелы.
Совместите отверстия в 2 хомутах кожуха (номер 120-0629 по каталогу Toro) с 4 оставшимися отверстиями в кожухе и 4 оставшимися отверстиями в опорных кронштейнах (Рисунок 151).
Установите хомуты кожуха и кожух на опорные кронштейны (Рисунок 151) при помощи 4 болтов с фланцевыми головками (5/16 x 1¼ дюйма – номер 323-36 по каталогу Toro).
Затяните болты с моментом от 1978 до 2542 Н∙м.
Детали, требуемые для этой процедуры:
| Установочная пластина | 1 |
| Проставка (⅜ x 1 дюйм) | 1 |
| Крепление приемника | 1 |
| Болт (⅜ x 3¼ дюйма) | 1 |
| Стопорная шайба (⅜ дюйма) | 1 |
| Шайба (⅜ x 13/16 дюйма) | 1 |
| Фланцевая контргайка (⅜ дюйма) | 1 |
| Болт с фланцем (5/16 x ¾ дюйма) | 1 |
| Фланцевая контргайка (5/16 дюйма) | 1 |
| Болт с фланцевой головкой (⅜ x 1½ дюйма) | 2 |
| Проставка (⅜ x 7/16 дюйма) | 2 |
| Навигационный приемник – комплект системы точного опрыскивания X25 GeoLink, база, WAAS (модель 41630) | 1 |
| Болт с шестигранной головкой (5 x 16 мм) | 3 |
| Шайба (5 мм) | 3 |
| Переходник перегородки (дополнительный комплект CDMA-модема для коррекции RTK или GSM-модема для коррекции RTK) | 1 |
| Антенна сотовой связи (дополнительный комплект CDMA-модема для коррекции RTK или GSM-модема для коррекции RTK) | 1 |
| Коаксиальный кабель (дополнительный комплект CDMA-модема для коррекции RTK или GSM-модема для коррекции RTK) | 1 |
Совместите отверстия в пластине навигационного приемника, проставке (⅜ x 1 дюйм) и креплении приемника (Рисунок 152).

Установите пластину приемника и проставку на крепление с помощью болта (⅜ x 3¼ дюйма), стопорной шайбы (⅜ дюйма), шайбы (⅜ x 13/16 дюйма) и фланцевой контргайки (⅜ дюйма), как показано на Рисунок 152.
Проденьте болт с фланцевой головкой (5/16 x ¾ дюйма) через малое отверстие в креплении приемника и паз в пластине приемника и зафиксируйте его фланцевой контргайкой (5/16 дюйма) (Рисунок 152).
Затяните болты и гайки так, чтобы можно было поворачивать пластину приемника с небольшим сопротивлением.
Установите крепление приемника и проставку (⅜ x 7/16 дюйма) на защитную дугу с помощью болта с фланцевой головкой (⅜ x 1½ дюйма), как показано на Рисунок 153.

Затяните болты так, чтобы можно было поворачивать пластину приемника с небольшим сопротивлением.
Выровняйте пластину приемника по горизонтали слева направо (Рисунок 154).

Затяните болт с фланцевой головкой (5/16 x ¾ дюйма) и фланцевую контргайку (5/16 дюйма) с моментом от 1978 до 2542 Н∙см.
Выровняйте пластину приемника по горизонтали в продольном направлении (Рисунок 154).
Затяните болт (⅜ x 3¼ дюйма) и контргайку (⅜ дюйма) с моментом от 37 до 45 Н∙м.
Совместите три резьбовых отверстия в основании навигационного приемника с тремя отверстиями в креплении приемника (Рисунок 155).

Установите приемник на крепление (Рисунок 155) при помощи трех болтов с шестигранными головками (5 x 16 мм) и трех шайб (5 мм).
Затяните 3 болта с моментом от 576 до 712 Н∙см.
Note: Установите антенну RTK, если ваша машина оборудована модемом CDMA или GSM для коррекции RTK.
Проденьте коаксиальный разъем через отверстие фланца антенны RTK так, чтобы проходная резьба разъема была направлена вниз (Рисунок 156).
Note: Поверните коаксиальный разъем так, чтобы плоская часть проходной резьбы была совмещена с плоской частью отверстия во фланце антенны RTK.

Установите коаксиальный разъем во фланец пластины приемника при помощи стопорной шайбы и контргайки и затяните контргайку от руки (Рисунок 156).
Подсоедините антенну RTK к верхнему фитингу коаксиального разъема и затяните рифленую гайку на антенне от руки (Рисунок 157).

Подсоедините, не затягивая, кабель антенны к нижнему фитингу коаксиального разъема (Рисунок 157).
Проложите кабель вокруг задней части навигационного приемника к коаксиальному разъему сотового модема CDMA или GSM (Рисунок 157).
Подсоедините кабель антенны к коаксиальному разъему сотового модема CDMA или GSM (Рисунок 157).
Затяните от руки рифленые гайки антенного кабеля.
Детали, требуемые для этой процедуры:
| Крепление монитора | 1 |
| Болт с фланцевой головкой (6 x 12 мм) | 3 |
| U-образный болт (5/16 дюйма) | 2 |
| Фланцевая контргайка (5/16 дюйма) | 8 |
| Шаровое крепление | 1 |
| Болт с фланцевой головкой (5/16 x ¾ дюйма) | 4 |
| Монитор – комплект системы точного опрыскивания X25 GeoLink, база, WAAS (модель 41630) | 1 |
| Стойка монитора – комплект системы точного опрыскивания X25 GeoLink, база, WAAS (модель 41630) | 1 |
Установите крепление монитора на машину, как показано на Рисунок 159.

Установите крепление монитора на корпус клапана рулевого управления (Рисунок 160) с помощью 3 болтов с фланцевыми головками (6 x 12 мм).

Установите пластину крепления монитора на опорную трубу ходовой части машины (Рисунок 161) с помощью 2 U-образных болтов и 4 фланцевых контргаек (5/16 дюйма).

Затяните 3 болта с фланцевыми головками (6 x 12 мм) на клапане рулевого управления с моментом от 972 до 1198 Н∙см; на опорной трубе затяните фланцевые контргайки с моментом от 1978 до 2542 Н∙см.
Совместите отметку липкой лентой на рулевом колесе с отметкой липкой лентой на корпусе клапана рулевого управления (Рисунок 162).

Установите рулевое колесо на вал клапана рулевого управления (Рисунок 162) с помощью шайбы (⅝ дюйма) и гайки (⅝ дюйма), снятых при выполнении пункта 3 в разделе Демонтаж рулевого колеса.
Затяните гайку с моментом от 206 до 254 Н∙м.
Установите крышку, снятую при выполнении пункта 2 в разделе Демонтаж рулевого колеса, на рулевое колесо (Рисунок 168).
Установите шаровую опору на кронштейн крепления монитора (Рисунок 163) с помощью 4 болтов с фланцевыми головками (5/16 x ¾ дюйма) и 4 фланцевых контргаек (5/16 дюйма).

Затяните болты и гайки с моментом от 1978 до 2542 Н∙см.
Подсоедините шаровый соединитель монитора и шаровое крепление на машине к стойке монитора (Рисунок 164).

Отрегулируйте монитор таким образом, чтобы его можно было видеть с рабочего места оператора, и затяните ручку на стойке монитора от руки (Рисунок 164).
Отсоедините 2-гнездовой разъем жгута проводов машины (с маркировкой SPRAY PUMP COIL (обмотка насоса опрыскивателя)) от 2-штыревого разъема генератора (Рисунок 165).

Подсоедините 2-штыревой разъем ответвления жгута проводов длиной 84 см из комплекта с маркировкой PUMP CLUTCH (муфта насоса) к 2-гнездовому разъему жгута проводов машины с маркировкой SPRAY PUMP COIL (обмотка насоса опрыскивателя) (Рисунок 166).

Подсоедините 2-гнездовой разъем жгута проводов из комплекта с маркировкой PUMP CLUTCH (муфта насоса) к 2-штыревому разъему генератора (Рисунок 166).
Проложите ответвление жгута проводов длиной 84 см, закрепив на двигателе и насосе опрыскивателя так, чтобы жгут проводов был расположен на достаточном расстоянии от ремня генератора (Рисунок 167).

Детали, требуемые для этой процедуры:
| Кронштейн аккумуляторной батареи | 1 |
| Болт (5/16 x 1¾ дюйма) | 1 |
| Шайба (5/16 дюйма) | 1 |
| Аккумуляторная батарея (540 А) | 1 |
| Держатель аккумуляторной батареи | 1 |
| Фланцевая контргайка (5/16 дюйма) | 1 |
| Кронштейн генератора | 1 |
| Ведущий шкив 279 мм | 1 |
| Болт (¼ x 2¼ дюйма) | 4 |
| Стопорная шайба (¼ дюйма) | 4 |
| Генератор (60 А) | 1 |
| Болт с фланцевой головкой (8 x 25 мм) | 1 |
| Болт с фланцевой головкой (⅜ x 1½ дюйма) | 1 |
| Клиновой ремень | 1 |
Выверните 2 фланцевые контргайки и снимите прижимной стержень с 2 крючковых болтов, которые крепят аккумуляторную батарею к кронштейну аккумуляторной батареи машины (Рисунок 168).

Снимите аккумулятор с машины (Рисунок 168).
Note: Фланцевые гайки, прижимной стержень и аккумуляторная батарея (300 А) больше не потребуется.
Удалите болты (10-24 x ¾ дюйма) и гайки (10-24), которые крепят блоки предохранителей к кронштейну аккумуляторной батареи (Рисунок 169).
Note: Сохраните болты (10-24 x ¾ дюйма) и гайки (10-24) для последующей установки, описанной в разделе Установка кронштейна аккумуляторной батареи и аккумуляторной батареи (540 А).

Отверните 2 болта с фланцевыми головками (⅜ x ¾ дюйма), которые крепят кронштейн аккумулятора к трубе опоры амортизатора машины (Рисунок 169).
Note: Сохраните болт с фланцевой головкой (⅜ x ¾ дюйма) для последующей установки, описанной в разделе Установка кронштейна аккумуляторной батареи и аккумуляторной батареи (540 А).
Удалите 2 крючковых болта и снимите поддон аккумуляторной батареи с кронштейна аккумулятора (Рисунок 170).

Снимите кронштейн аккумуляторной батареи с машины (Рисунок 171).
Note: Крючковые болты, поддон аккумуляторной батареи и кронштейн аккумуляторной батареи больше не потребуется.

Совместите новый кронштейн аккумуляторной батареи с опорной трубой амортизатора машины и блоком предохранителей (Рисунок 172).

Установите кронштейн аккумуляторной батареи на опорную трубу амортизатора (Рисунок 173) с помощью двух болтов с фланцевыми головками (⅜ x ¾ дюйма), сохраненных после выполнения пункта 4 в разделе Демонтаж аккумуляторной батареи (300 А) и кронштейна аккумуляторной батареи..

Затяните болты с фланцевыми головками с моментом от 37 до 45 Н∙м.
Прикрепите блоки предохранителей к кронштейну аккумуляторной батареи (Рисунок 173) с помощью болта (10-24 x ¾ дюйма) и гаек (10-24), снятых при выполнении пункта 3 в разделе Демонтаж аккумуляторной батареи (300 А) и кронштейна аккумуляторной батареи..
Установите аккумуляторную батарею на кронштейн аккумуляторной батареи, закрепив с помощью болта (5/16 x 1¾ дюйма), шайбы (5/16 дюйма), держателя аккумуляторной батареи и фланцевой контргайки (5/16 дюйма), как показано на Рисунок 174.

Затяните болт и гайку с моментом от 1978 до 2542 Н∙см.
На головке насоса, находящейся в положении «на 11 часов», ослабьте 2 болта, как показано на Рисунок 175, чтобы получить зазор от 7 до 10 мм между головками болтов и насосом.
Note: Нет необходимости снимать болты с насоса опрыскивателя.

Установите кронштейн генератора между болтами, ослабленными при выполнении пункта 1, и головкой насоса Рисунок 176.

Затяните болты с моментом от 61 до 75 Н∙м.
Ослабьте гайку крепления натяжного шкива (Рисунок 177).
Note: Убедитесь в отсутствии натяжения ремня.

Поверните болт натяжения ремня, чтобы снять натяжение ремня насоса опрыскивателя (Рисунок 177).
Отверните 4 болта (¼ x 1 дюйм) и снимите 4 стопорные шайбы (¼ дюйма), которые крепят шкив к насосу опрыскивателя (Рисунок 178).
Important: Не снимайте шкив.
Note: Болты и стопорные шайбы больше не понадобятся.

Совместите отверстия в шкиве генератора (из комплекта) с отверстиями в шкиве насоса опрыскивателя (Рисунок 179).

Установите шкив генератора на шкив насоса опрыскивателя и насос опрыскивателя с помощью 4 болтов (¼ x 2¼ дюйма) и 4 стопорных шайб (¼ дюйма).
Затяните болты с моментом от 1017 до 1243 Н∙м.
Поворачивайте болт натяжения ремня до тех пор, пока отклонение ремня не составит 9,5 мм при воздействии усилия 4,5 кг посередине между звездочками двигателя и насоса опрыскивателя.

Закрепите гайку вала натяжного шкива с моментом от 37 до 44 Н∙м.
Установите генератор (60 A) на резьбовой прилив кронштейна генератора (Рисунок 181) с помощью болта с фланцевой головкой (⅜ x 1½ дюйма).

Установите резьбовой фланец генератора на фланец с пазом кронштейна генератора (Рисунок 181) с помощью болта с фланцевой головкой (8 x 25 мм).
Установите клиновой ремень на ведущий шкив 279 мм и шкив генератора (Рисунок 182).

Поворачивайте генератор (Рисунок 183) вверх для увеличения натяжения ремня до тех пор, пока отклонение ремня не составит 9,5 мм при воздействии усилия 4,5 кг посередине между шкивом генератора и ведущим шкивом 279 мм.

Затяните болт с фланцевой головкой (8 x 25 мм) с моментом от 23 до 29 Н∙м.
Затяните болт с фланцевой головкой (⅜ x 1½ дюйма) с моментом от 37 до 45 Н∙м.
Детали, требуемые для этой процедуры:
| Реле | 1 |
| Вставной держатель | 1 |
| Предохранитель (15 A) | 1 |
| Предохранитель (50 A) | 1 |
Подсоедините 2-гнездовой разъем в конце розового провода длиной 57 см из комплекта жгута проводов (Рисунок 184) к 2-штыревому разъему генератора (50 А).

Проложите розовый провод датчика на достаточном расстоянии от ремней генератора и закрепите провод кабельной стяжкой.
Выверните гайку от контактного штыря (Рисунок 185) генератора (50 А).

Подсоедините красный провод генератора калибра 6 к контактному штырю генератора (50 А) с помощью гайки (Рисунок 185).
Проложите красный провод генератора в сторону штырей аккумуляторной батареи и на достаточном расстоянии от шкива и ремня генератора.
Затяните гайку с моментом от 47 до 57 Н∙м.
Наденьте изоляционный колпачок на контактный штырь генератора (Рисунок 185).
Подсоедините 5-штыревой разъем реле к 5-гнездовому разъему (Рисунок 186) жгута проводов из комплекта с маркировкой ASC 10 ENABLE RELAY (реле разрешения ASC 10).

Совместите отверстие в монтажном выступе реле с отверстием в опорной трубе амортизатора и прикрепите реле к трубе с помощью вставного держателя (Рисунок 186).
Настройте мультиметр на прозвонку цепи.
В месте расположения блока предохранителей 3 вставьте датчик мультиметра в контакт 4 (правый вертикальный ряд) гнезда предохранителя 2, как показано на Рисунок 187.

В передней части блоков предохранителей с помощью другого датчика мультиметра найдите плоский разъем в конце красного провода калибра 10, который подсоединен к гнезду предохранителя 2 – контакту 4.

Используйте отрезок клейкой ленты, чтобы отметить разъем и провод, месторасположение которых определено при выполнении пункта 3 (Рисунок 188).
Вставьте плоский разъем, отмеченный при выполнении пункта 4, в гнездовой разъем в конце розового провода 51 мм жгута проводов из комплекта (Рисунок 189).

Вставьте предохранитель (15 А) в гнездо предохранителя 2 блока предохранителей 3 до полной посадки предохранителя (Рисунок 190).

Вставьте предохранитель (50 А) во встроенный блок предохранителей до полной посадки предохранителя (Рисунок 191).

Детали, требуемые для этой процедуры:
| Жгут проводов передачи данных (навигационная система) – комплект системы точного опрыскивания GeoLink (модель 41630) | 1 |
| Жгут проводов аккумуляторной батареи (навигационная система) – комплект системы точного опрыскивания GeoLink (модель 41630) | 1 |
| Кабельная стяжка | 8 |
| Быстроразъемный зажим (красная ручка) | 1 |
| Быстроразъемный зажим (черная ручка) | 1 |

Important: Некоторые разъемы жгута проводов передачи данных не используются. Убедитесь в надежности крепления крышек и заглушек неиспользуемых разъемов.
Подсоедините 3-гнездовой разъем (интерфейс электропитания) жгута электропроводов для навигации к 3-штыревому разъему (интерфейс электропитания) жгута проводов передачи данных (Рисунок 192).


Проложите ответвление жгута проводов передачи данных длиной 390 см вдоль задней стороны левой вертикальной трубы защитной дуги.

Проложите ответвление жгута проводов передачи данных длиной 390 см вдоль правой трубы конструкции ROPS так, чтобы 12-гнездовой разъем (серый) и 12-гнездовой разъем (черный) были направлены вверх, в сторону навигационного приемника (Рисунок 196).

Совместите два выступа для совмещения на длинной лицевой стороне черно-серого 12-гнездового разъема жгута проводов передачи данных с двумя ответными пазами в нижней горизонтальной стенке левого (серого) 12-штыревого разъема навигационного приемника (Рисунок 197).
Note: Будьте внимательны при подсоединении жгута проводов к навигационному приемнику; выступы для совмещения разъемов жгута проводов подходят только к ответным пазам штыревых разъемов навигационного приемника.

Соедините черно-серый 12-гнездовой разъем жгута проводов передачи данных с левым (серым) 12-штыревым разъемом навигационного приемника так, чтобы разъемы надежно зафиксировались со щелчком (Рисунок 197).
Совместите два выступа для совмещения на короткой стороне черного 12-гнездового разъема жгута проводов передачи данных с двумя ответными пазами в левой вертикальной стенке правого (черного) 12-штыревого разъема навигационного приемника (Рисунок 197).
Note: Будьте внимательны при подсоединении жгута проводов к навигационному приемнику; выступы для совмещения разъемов жгута проводов подходят только к ответным пазам штыревых разъемов навигационного приемника.
Соедините чисто черный 12-гнездовой разъем жгута проводов передачи данных с левым (черным) 12-штыревым разъемом навигационного приемника так, чтобы разъемы надежно зафиксировались со щелчком (Рисунок 197).
Прикрепите ответвление жгута проводов передачи данных длиной 390 см к правой трубе конструкции ROPS с помощью двух кабельных стяжек, как показано на Рисунок 196.
Note: Обеспечьте провисание кабеля между 12-гнездовыми разъемами и кабельной стяжкой.


Проложите жгут проводов передачи данных и жгут проводов аккумуляторной батареи вниз по задней части левой вертикальной защитной дуги к поперечине опоры сиденья (Рисунок 200).

Прикрепите ответвление жгута проводов передачи данных для навигационного приемника длиной 390 см к защитной дуге, как показано на Рисунок 200.
Подсоедините 1-штыревой разъем жгута проводов аккумуляторной батареи с маркировкой ***IMPORTANT*** ONLY CONNECT THIS WIRE TO SWITCHED 12V POWER SOURCE [***Важная информация!*** Подсоединяйте этот провод только к коммутируемому источнику питания на 12 В] к 1-гнездовому разъему ответвления жгута проводов длиной 66 см из комплекта (Рисунок 201) с маркировкой SW’D PWR FOR GEN 2 TOPCON (коммутируемое питание для верх. соед. 2 генератора).

Подсоедините 4-штыревой разъем ответвления жгута проводов длиной 66 см из комплекта с маркировкой ASC 10 PWR & CAN FROM X30 (питание ASC 10 и CAN от X30) к 4-гнездовому разъему ответвления жгута проводов передачи данных с маркировкой CAN 2/ASC 10 BUS [шина CAN 2/ASC10] (Рисунок 201).
Проложите жгут проводов передачи данных и жгут проводов аккумуляторной батареи через поперечину опоры сиденья и прикрепите ответвление жгута проводов передачи данных длиной 390 см к поперечине с помощью двух кабельных стяжек (Рисунок 200 и Рисунок 202).

Ответвление жгута проводов аккумуляторной батареи вдоль правой верхней трубы рамы (Рисунок 202) длиной 220 см.
Ответвление жгута проводов аккумуляторной батареи длиной 220 см через опорную трубу амортизатора по направлению к аккумуляторной батарее (Рисунок 202).
Note: Убедитесь, что ответвление промежуточного электрического соединения длиной 100 см (коммутируемое питание) остается проложенным вдоль правой верхней трубы рамы.
Проложите ответвление жгута проводов передачи данных (жгута проводов с 26-гнездовым разъемом) длиной 220 см под пультом управления и в направлении приборной панели (Рисунок 202).

Проложите ответвление жгута проводов передачи данных (жгута проводов с 26-гнездовым разъемом) длиной 220 см вперед и под приборной панелью (Рисунок 204).

Проложите ответвление жгута проводов передачи данных длиной 220 см вдоль опорной трубы монитора (Рисунок 204)..
Совместите 26-гнездовой разъем жгута проводов передачи данных с 26-штыревым разъемом монитора опрыскивателя и вставьте гнездовой разъем в штыревой разъем с нажатием до срабатывания защелки разъема, которая надежно зафиксирует соединение (Рисунок 205).

Ответвление жгута проводов передачи данных длиной 220 см должно провисать так, чтобы оператор опрыскивателя смог отрегулировать положение монитора и прикрепить жгут проводов к опорной трубе монитора с помощью кабельных стяжек, как показано на Рисунок 204.
Удалите шестигранные гайки с шайбами с быстроразъемных зажимов с черной и красной ручками (Рисунок 206).

Откройте ручку защелки быстроразъемного зажима с черной ручкой (Рисунок 207).

Установите быстроразъемный зажим на отрицательный штырь аккумуляторной батареи так, чтобы резьбовой штырь зажима был направлен в центр аккумуляторной батареи, как показано на Рисунок 206.
Закройте ручку защелки быстроразъемного зажима (Рисунок 207).
Note: Чтобы отрегулировать силу прижатия быстроразъемного зажима, откройте ручку, поверните рифленую гайку для увеличения или уменьшения силы прижатия и закройте ручку зажима.
Повторите действия, описанные в пунктах с 2 по 4, для быстроразъемного зажима с красной ручкой на положительном штыре аккумуляторной батареи.
Неправильное подключение кабелей к аккумулятору может вызвать искрение, что приведет к повреждению машины и кабелей. Искры могут вызвать взрыв аккумуляторных газов, что приведет к получению травмы.
Всегда отсоединяйте отрицательный (черный) кабель аккумулятора перед отсоединением положительного (красного) кабеля.
Всегда присоединяйте положительный (красный) кабель аккумулятора перед присоединением отрицательного (черного) кабеля.
Клеммы батареи или металлические инструменты могут закоротить на металлические детали, вызвав искрение. Искры могут вызвать взрыв аккумуляторных газов, что приведет к получению травмы.
При демонтаже или установке аккумулятора не допускайте прикосновения его клемм к металлическим частям машины.
Не допускайте короткого замыкания клемм аккумулятора металлическими инструментами на металлические части машины.

Сделайте надрез в изоляционном колпачке положительного кабеля аккумуляторной батареи, идущего к стартеру, как показано на Рисунок 209.

Установите клеммы проводов и кабелей на резьбовой штырь положительного вывода аккумуляторной батареи (Рисунок 210) в следующем порядке:
Note: Убедитесь, что клемма (положительная) кабеля аккумуляторной батареи, идущего к стартеру двигателя, расположена поверх остальных клемм на резьбовом штыре.
Круглая клемма – ответвление жгута проводов машины длиной 22 см с маркировкой BATTERY (+) [(+) аккумуляторная батарея]
Круглая клемма – ответвление жгута проводов аккумуляторной батареи длиной 220 см с маркировкой ***IMPORTANT*** CONNECT THIS WIRE TO POSITIVE ON BATTERY (***Важная информация!*** Подсоединяйте этот провод к положительному штырю на аккумуляторной батарее)
Круглая клемма – ответвление жгута проводов длиной 60 см из комплекта с маркировкой TO BATTERY POSITIVE (к положительной клемме аккумуляторной батареи)
Клемма кабеля аккумуляторной батареи (положительная) – к генератору (50 A)
Клемма кабеля аккумуляторной батареи (положительная) – к стартеру двигателя

Установите шестигранную гайку (¼ дюйма) и шайбу (¼ дюйма) на резьбовой штырь и затяните гайку с моментом от 1017 до 1234 Н∙см.
Наденьте изоляционный колпачок положительного кабеля аккумуляторной батареи, идущего к стартеру, на резьбовой штырь (Рисунок 210).
Установите клеммы провода и кабеля на резьбовой штырь отрицательного вывода аккумуляторной батареи (Рисунок 211) в следующем порядке:
Note: Убедитесь, что клемма (отрицательная) кабеля аккумуляторной батареи, идущего к заземлению двигателя и ходовой части, расположена поверх остальных клемм на резьбовом штыре.
Круглая клемма – ответвление жгута проводов аккумуляторной батареи длиной 220 см с маркировкой (***IMPORTANT*** CONNECT THIS WIRE TO – VE TERMINAL OF BATTERY WHICH IS CONNECTED TO TRACTOR FRAME) [***Важная информация!*** Подсоединяйте этот провод к отрицательному выводу на аккумуляторной батарее, заземленному на раму машины])
Круглая клемма – ответвление жгута проводов длиной 60 см из комплекта – отрицательная клемма аккумуляторной батареи
Клемма кабеля аккумуляторной батареи (отрицательная) – к заземлению двигателя и ходовой части

Соберите излишнюю длину жгута проводов передачи данных, прикрепив его к правой верхней трубе рамы (Рисунок 212).

Выровняйте жгут проводов передачи данных относительно опорной трубы амортизатора и прикрепите его к трубе с помощью кабельной стяжки (Рисунок 212).
Выровняйте жгут проводов передачи данных относительно правой верхней трубы рамы и прикрепите связку жгута проводов к трубе рамы с помощью кабельной стяжки (Рисунок 212).
Убедитесь в наличии достаточного зазора между шкивами и ремнями и жгутом проводов передачи данных, жгутом проводов аккумуляторной батареи, жгутом проводов из комплекта и кабелями аккумуляторной батареи.
Прикрепите жгут проводов и кабели с помощью кабельных стяжек, если необходимо обеспечить достаточное расстояние от ремней и шкивов.
Детали, требуемые для этой процедуры:
| Вставной держатель | 13 |
Совместите отверстия в капоте с отверстиями в приборной панели и раме машины (Рисунок 213).

Прикрепите капот к приборной панели и раме с помощью 9 вставных держателей (Рисунок 213).
Подсоедините 2 электрических разъема (2-гнездовых) жгута проводов машины к 2-штыревым разъемам левой и правой фар (Рисунок 214).

Совместите внутренний кожух крыла с левой верхней и левой нижней трубами рамы (Рисунок 214).

Прикрепите внутренний кожух крыла к трубам рамы с помощью 6 вставных держателей (Рисунок 215).
Совместите отверстия в крыле с отверстиями в раме машины, как показано на Рисунок 215.

Установите, не затягивая, крыло на раму (Рисунок 216) при помощи трех болтов (5/16 x 1 дюйм) и трех шайб (5/16 дюйма), снятых при выполнении пункта 2 раздела Демонтаж левого и правого передних крыльев.
Прикрепите крыло к швеллеру рамы с помощью двух вставных держателей (Рисунок 217).

Затяните болт (5/16 x 1 дюйм) с моментом от 1978 до 2542 Н∙см.
Повторите действия, описанные в пунктах 1 – 6, для внутреннего кожуха крыла и крыла с другой стороны машины.
Совместите сиденье и плиту сиденья с ходовой частью машины (Рисунок 219).

Совместите отверстия в креплениях осей поворота чаши сиденья с отверстиями в кронштейне ходовой части (Рисунок 220).


Установите чашу сиденья на кронштейны ходовой части с помощью двух осей поворота (Рисунок 220).
Прикрепите оси поворота к машине с помощью двух игольчатых шплинтов (Рисунок 220).
Установите опорную стойку на кронштейн сиденья с помощью шайбы и игольчатого шплинта (Рисунок 221).

Вставьте 2-гнездовой разъем жгута проводов машины в разъем переключателя сиденья до срабатывания защелки, которая надежно зафиксирует соединение (Рисунок 222).

Слегка наклоните сиденье вперед, уберите опорную стойку из паза с фиксацией, опустите сиденье вниз до срабатывания защелки, которая надежно зафиксирует его.
Вставьте ключ в замок зажигания и поверните его в положение Вкл.
На дисплее инфо-центра появится экран-заставка, и на короткое время загорится световой индикатор (Рисунок 223).
Note: Не запускайте двигатель.

На главном экране (Home) нажмите среднюю кнопку на инфо-центре, чтобы перейти к странице навигации (Рисунок 224).

Нажмите среднюю кнопку на инфо-центре, чтобы перейти к главному меню (Main Menu) (Рисунок 224).
На странице Главного меню (MAIN MENU) нажмите среднюю кнопку, чтобы перейти к позиции SETTING (Настройка) и нажмите правую кнопку, чтобы выбрать эту позицию (Рисунок 225).

На странице SETTING (Настройка) нажмите среднюю кнопку, чтобы перейти к позиции PROTECTED SETTINGS (Защищенные настройки) и нажмите правую кнопку, чтобы выбрать эту позицию.

Введите ПИН-код следующим образом:
Нажмите среднюю кнопку как требуется, чтобы ввести цифру ПИН-кода для левой позиции (Рисунок 227).

После этого нажмите правую кнопку, чтобы перейти к следующей позиции цифры ПИН-кода (Рисунок 227).
Повторите действия, описанные в пунктах 1 и 2, для 3 оставшихся позиций номеров ПИН-кода.
После того как будут введены все цифры ПИН-кода, нажмите правую кнопку (Рисунок 227) а затем нажмите среднюю кнопку, чтобы ввести ПИН-код в память (Рисунок 228).
На короткое время загорится световой индикатор.

Нажмите среднюю кнопку, чтобы перейти к позиции GEOLINK, а затем нажмите правую кнопку, чтобы настроить эту позицию (Рисунок 229).

На дисплее инфо-центра появится страница подтверждения GeoLink (Рисунок 230).

Поверните выключатель зажигания в положение Выкл., а затем в положение Вкл.
После поворота выключателя зажигания в положение Вкл. сначала появляется всплывающая страница GEOLINK.

Поверните ключ зажигания в положение RUN (Работа) (у машин с бензиновым двигателем) или в положение PREHEAT/RUN (прогрев/работа) (у машин с дизельным двигателем).
Проверьте следующие компоненты, чтобы убедиться в подаче питания на каждый из них:
Поверните ключ в замке зажигания в положение Выкл..
Убедитесь в том, что питание следующих компонентов выключено:
Управляющая консоль
Спутниковый приемник
Автоматический контроллер секций
Поверните ключ зажигания в положение Работа (у машин с бензиновым двигателем) или в положение Прогрев/работа (у машин с дизельным двигателем).
Нажмите значок ABOUT (О машине) (Toro) в верхнем левом углу управляющей консоли (Рисунок 235).

Сравните номера версий программного обеспечения в следующих местах:
Титульная страница (если она используется) Руководства по программному обеспечению для вашей системы GeoLink.
Отображение на управляющей консоли
Note: Если версии программного обеспечения различаются, обратитесь в отдел обслуживания клиентов компании Toro NSN по телефону 1-844-GEOLINK (1-844-436-5465) или адресу электронной почты NSNTech@toro.com.
Выберите единицы измерения; см. Руководство оператора или Руководство по программному обеспечению для вашей системы GeoLink.
Создайте новое поле; см. Руководство оператора или Руководство по программному обеспечению для вашей системы GeoLink.
Создайте новый материал и норму его внесения; см. Руководство оператора или Руководство по программному обеспечению для вашей системы GeoLink.
Отбалансируйте клапаны сопл, выполнив следующие действия:
Выбор распылительного сопла – подготовка к балансировке клапанов сопл; см. Руководство оператора или Руководство по программному обеспечению для вашей системы GeoLink.
Выбор распылительного сопла – мастер балансировки клапанов – пункты с 1 по 3, см. Руководство оператора или Руководство по программному обеспечению для вашей системы GeoLink.
Выбор распылительного сопла – мастер балансировки клапанов – пункты с 4 по 6, см. Руководство оператора или Руководство по программному обеспечению для вашей системы GeoLink.
Нажмите значок меню рабочего задания и затем значок CREATE NEW JOB (Создание нового рабочего задания) (Рисунок 236).

Используйте клавиатуру на экране, чтобы набрать название типового рабочего задания, и нажмите значок подтверждения (Рисунок 236).
В диалоговом окне нового рабочего задания нажмите значок NOZZLE (Сопло) (Рисунок 237).

В списке выбора сопл нажмите любой значок сопла и значок подтверждения (Рисунок 237).
В диалоговом окне нового рабочего задания нажмите значок подтверждения (Рисунок 238).

Включите стояночный тормоз.
Долейте 200 литров воды в бак опрыскивателя см. Руководство оператора для вашей машины.
Запустите двигатель и установите регулятор частоты вращения двигателя в положение fast (быстро).
На управляющей консоли GeoLink нажмите значок SPRAY RATE CONTROLLER (Контроллер интенсивности опрыскивания) (Рисунок 239).

В диалоговом окне контроллера интенсивности опрыскивания нажимайте значок RATE CONTROL MODE (Режим управления интенсивностью опрыскивания), пока не будет отображен ручной режим (Рисунок 239).
Используйте значок пошагового уменьшения (-) или пошагового увеличения (+), чтобы отрегулировать давление в системе опрыскивания (Рисунок 239) на 13,75 бар (200 фунтов на кв. дюйм).
На машине установите главный выключатель секций в положение ON (Вкл.) (Рисунок 240).

На управляющей консоли GeoLink нажмите значок MASTER SWITCH (Главный выключатель) (Рисунок 241), чтобы установить его в положение ON (Вкл.) (зеленый).

Проверьте все штуцеры и компоненты опрыскивателя на наличие утечек.
Note: Если вы обнаружите какие-либо утечки, заглушите двигатель и отремонтируйте соответствующий штуцер или компонент.
Включите стояночный тормоз и запустите двигатель.
Note: Дайте двигателю и гидравлической системе прогреться в течение 10 минут.
Убедитесь в том, что главный выключатель секций находится в положении OFF (Выкл.).
Установите выключатель насоса для опрыскивания и переключатель перемешивания в баке в положения ON (Вкл.).
Переведите выключатели левой, средней и правой секций в положения ON (Вкл.).
Установите регулятор частоты вращения двигателя в положение fast (быстро).
На управляющей консоли GeoLink нажмите значок SPRAY RATE CONTROLLER (Контроллер интенсивности опрыскивания).
В диалоговом окне контроллера интенсивности опрыскивания нажимайте значок RATE CONTROL MODE (Режим управления интенсивностью опрыскивания), пока не будет отображен ручной режим (Рисунок 242).

Нажимайте значок пошагового уменьшения (-) или пошагового увеличения (+), чтобы отрегулировать давление в системе опрыскивания (Рисунок 242) на 6,9 бар (100 фунтов на кв. дюйм).
На машине установите переключатель перемешивания в баке в положение OFF (Выкл.).
Посмотрите на указатель давления в системе опрыскивания. Если давление в системе опрыскивания составляет 6,9 бар (100 фунтов на кв. дюйм), клапан перемешивания отрегулирован правильно.
Если давление в системе опрыскивания изменилось, отрегулируйте клапан перемешивания; см. раздел Регулировка клапана перепуска перемешивания.
Установив переключатель перемешивания в баке в положение OFF (Выкл.), перейдите к задней части машины и найдите клапан перепуска перемешивания.

Отрегулируйте клапан перепуска перемешивания (Рисунок 243) так, чтобы показание давления в системе опрыскивателя стало равно 689 кПа (100 фунтов на кв. дюйм).
Установите переключатель перемешивания в баке в положение Off (Вкл.) и посмотрите на указатель давления в системе опрыскивания.
Note: Если указатель давления в системе опрыскивания показывает значение больше или меньше 6,9 бар (100 фунтов на кв. дюйм), повторите действия, описанные в пунктах 1 и 2.
Установите переключатель перемешивания в баке в положение Off (Выкл.) и посмотрите на указатель давления в системе опрыскивания.
Note: Если указатель давления в системе опрыскивания показывает значение больше или меньше 6,9 бар (100 фунтов на кв. дюйм), повторите действия, описанные в пунктах 1 и 2.
Выполните калибровку расходомера; см. Руководство оператора или Руководство по программному обеспечению для вашей системы GeoLink.
Выведите машину на улицу, на достаточное расстояние от зданий и линий электропередачи.
Включите стояночный тормоз.
На управляющей консоли GeoLink нажмите на значок информации о GPS (Рисунок 244).

Нажмите на значок CELL DIAGNOSTIC (ДИАГНОСТИКА СОТОВОЙ СВЯЗИ) и проверьте, чтобы поле состояния сотовой связи показывало N-TRIP CONNECTED RECEIVING DATA (N-TRIP подсоединено, идет прием данных) (Рисунок 245).
Note: Если в поле состояния сотовой связи отображено какое-либо сообщение, отличное от сообщения N-TRIP CONNECTED RECEIVING DATA (N-TRIP подсоединено, идет прием данных), обратитесь в отдел обслуживания клиентов компании Toro NSN по телефону 1-844-GEOLINK (1-844-436-5465) или адресу электронной почты NSNTech@toro.com.

Нажмите на значок подтверждения, чтобы закрыть диалоговое окно.
Выполните калибровку компаса у дистрибьютора; см. раздел «Калибровка компаса» в Руководстве оператора или Руководстве по программному обеспечению для вашей системы GeoLink.
Important: Вам необходимо стереть энергонезависимую оперативную память в месте расположения заказчика.
Обратитесь в отдел обслуживания клиентов компании Toro NSN по телефону 1-844-GEOLINK (1-844-436-5465) или по адресу электронной почты NSNTech@toro.com, чтобы получить пароль уровня доступа дилера.
Поверните ключ зажигания в положение ON (Вкл.).
Нажмите на значок SETUP (Настройка) на главном экране (Рисунок 246).

На экране настройки нажмите на значок USER (Пользователь) и затем на значок ACCESS LEVEL (Уровень доступа) (Рисунок 247).

Нажмите значок PASSWORD (Пароль) (Рисунок 247).
С помощью клавиатуры на экране наберите пароль, полученный при выполнении пункта 1, и нажмите на значок подтверждения (Рисунок 248).

Note: На экране уровня доступа пользователя появится значок DEALER (Дилер) (Рисунок 249).

На экране настройки нажмите значок SYSTEM (Система), значок GPS и значок ADVANCED CONFIGURATION (Расширенная настройка конфигурации) (Рисунок 250).

На экране расширенной настройки конфигурации GPS нажмите значок RESET NVRAM (Сброс энергонезависимой оперативной памяти) (Рисунок 250).
В диалоговом окне с предупреждением о приеме сигнала GPS нажмите на значок YES (Да) (Рисунок 250).
Note: Кратковременно появится предупреждающее сообщение об отсоединении приемника (Рисунок 251).

Подождите 2 минуты для запуска спутникового приемника и модема.
Нажмите на значок EXIT SETUP (Выход из настроек)

Поверните выключатель зажигания в положение OFF (Выкл.).
Выполните калибровку компаса в месте расположения заказчика; см. раздел «Калибровка компаса» в Руководстве оператора или Руководстве по программному обеспечению для вашей системы GeoLink.